Home - Rasfoiesc.com
Educatie Sanatate Inginerie Business Familie Hobby Legal
Meseria se fura, ingineria se invata.Telecomunicatii, comunicatiile la distanta, Retele de, telefonie, VOIP, TV, satelit




Aeronautica Comunicatii Constructii Electronica Navigatie Pompieri
Tehnica mecanica

Tehnica mecanica


Index » inginerie » Tehnica mecanica
» TEHNOLOGIA PRODUSELOR STRATIFICATE - Tehnologia furnirelor (uscate si umede)


TEHNOLOGIA PRODUSELOR STRATIFICATE - Tehnologia furnirelor (uscate si umede)


UNIVERSITATEA DIN ORADEA

FACULTATEA DE PROTECTIA MEDIULUI

SILVICULTURA - PRELUCRAREA LEMNULUI

CURS

TEHNOLOGIA PRODUSELOR STRATIFICATE



1. Cerintele actuale ale valorificarii integrale a biomasei lemnoase

- Eficienta prelucrarii integrale a masei lemnoase

- 1 mc masa lemnoasa 100% - 3,2% coaja

- 96,72% produse de industrializare

Prin valorificarea produselor de industrializare:

- placi aglomerate 6,4 ori fata de valorificarea lemnelor de foc

- 1 mc inglobat in mobila 20,51 ori fata de vanzarea 1 mc busteni brut

- 1 mc ca atare 2,31 ori fata de vanzarea ca atare 1 mc busteni brut

- placi din fibre 2,96 ori fata de valorificarea lemnului de foc

- 1 mc inglobat in mobila 8,02 ori fata de pretul 1mc de busteni brad

- 1 mc ca atare 3,39 ori vanzare 1 mc placi fata de pretul 1 mc busteni

brad

- cherestea

- 1 mc inglobat in mobila 6,84 ori fata de pretul de 1 mc busteni brut

- 1 mc ca atare 2,46 fata de pretul 1 mc busteni brad

- placaj

- 1 mc inglobat in mobila 11,78 comp. cu pretul 1 mc de busteni brad

- 1 mc ca atare 2,4 val. bust. 1 mc

- furniruiri estetice

1 mc inglobat in mobila 9,08 comp. cu pretul de busteni brut

1 mc ca atare 3,4 val. bust. 1 mc

- 1 mc placaj inlocuieste 4 mc de cherestea

Indici de consum specifici exprimati in mc de busteni consumati pentru 1 mc de produse stratificate, placaj.

SUA, Germania - 1,9 m3 busteni/m3 placaj

Franta - 3,1 m3/m3;

Romania - 2,350 m3/m3;

cel mai bun indice de valorificare furnir 2,2 m3/m3;

indice de valorificare in placi aglom. PAL 2,3 m3/t placi;

Romania, Belgia, Germania, Finlanda, Italia, Austria

2. Tendintele actuale ale pietei mondiale a produselor stratificate, utilizari noi si potentiale

- productia mondiala - a) productia mondiala de placaj 75 mil. m3 placaj

- b) productia mondiala de furnire 95 mil. m3 furnire

- c) productia mondiala de placi aglomerate PAL - 200 m3/an

81% mil.

placi de fibre - 30 mil m3/an

20%

- sortimentatia produselor stratificate

- placaje si produse mixte placaj si miez din aschii aglomerate

- furnire - tehnice

- estetice

- panele, panouri de masiv reconstituit

- lemn lamelat densificat LSD, lemn stratificat LS

- diversificarea productiei de placaje

- placaje grupa

a) placaje pentru structuri de constructii industriale si case prefabricate,

ambarcatiuni sport, constructii navale, containere

caracteristici - grosime 8-30 mm - rezistente fizico-mecanice sporite

- proprietati antiseptice, ignifuge

- rezistenta la apa

b) placaje decorative naturale sau innobilate prin imprimare,texturare,

pulverizarea materialelor protective si decorative, periere abraziva,

cu renuri, caneluri etc.

c) placaje innobilate ca suport pentru microfurnire, furnire estetice, folii

si filme sintetice sau metalice, fibra de sticla simple si impregnate,

hartie simpla sau decorativa, filme melaminate, teflon, policarbonati

(fibre carbon) sunt de importanta majora - netezimea si duritatea

suprafetei, uniformizarea grosimii

d) placaje speciale pentru constructii industriale, lemn si materiale

sintetice (combinatii); placaj combinat cu inlocuitori de placaj (placaj

de 4-12 mm cu miez din aschii), placaje mulate, ondulatie; placaje

mixte cu miez de aschii (prin folosirea integrala a bustenilor de

calitate inferioara), cu presarea continua cu furnire de 0,3-1,2 mm

grosime.

- furnire - tehnice - de rulare

- estetice - taiere plana - radiala, semiradiala, tangentiala

- microfurnire

- revolutionarea tehnicilor de ambalare, livrarea sub forma de

semifabricate

-panele - mobila de lux, lambriuri estetice de mare valoare

-lemn masiv reconstituit

-lemn stratificat dursificat LSD si lemn stratificat LS

LSD - electrotehnica

- lagare, axe, pinioane

LS - constructii - binale - tamplarie termopan

- un stratificat in dimensiunile uzuale ale cherestelei obtinut prin

incheierea paralela cu fibra a furnirelor derulate sau taiate plan cu grosimea de

2,5-12 mm din busteni cu diametrul de 25-40 mm.

3. Tehnologii noi de fabricare a produselor stratificate, prezentare generala a tehnologiei; randamente economice; consumuri specifice

Tehnologia de baza ramane in esenta aceeasi.

Mecanizarea si automatizarea diferitelor faze.

Imbunatatirea calitatii (procedee de plastificare, influenta caracteristicilor lemnului, asupra procesului de taiere, conditionarea furnirului).

Important - procesul de retehnologizare - factorii de influenta.

- factorii de influenta - dificultati de aprovizionare (calitatea si diametrul

bustenilor);

- aparitia pe piata a placilor subtiri din aschii si fibre care inlocuiesc placajele;

- solutia de viitor - linii automate de prelucrare a bustenilor care dispun de

echipamente specializate adaptate materiei prime.

DE CE ESTE COMPETITIV LEMNUL:

Cota de calitate a lemnului: raportul dintre coeficientul de rezistenta si greutatea specifica este mai bun decat la majoritatea metalelor, materialelor plastice, altor materiale de constructii.

- indice de rezistenta, kgf/cm3

- densitatea la umiditate 15%

la intindere

la compresiune

Lemn de brad

Lemn de frasin

Otel carbon

Otel aliat

Fonta

Aluminiu

Materia prima pentru fabricarea furnirelor

1). Influenta caracteristicilor materiei prime asupra aptitudinii pentru debitarea furnirelor

- furnire de calitate superioara - fara defecte

- lemnul sa prezinte anumite proprietati de

prelucrabilitate

a). proprietati de prelucrabilitate estetice, influentati de structura atomica si compozitia chimica si care prezinta:

- rezistenta specifica la taiere redusa;

- plasticitate naturala mare;

- plastifierea usoara prin tratamente ieftine si simple;

- uscarea fara fisurare excesiva;

- imbinarea rezistenta prin incleiere.

structura atomica

- fibrele si traheidele (rezistenta mecanica scazuta, pete la incleiere)

- razele medulare care au valoarea estetica ("oglinzi") rezistenta mecanica

scazuta;

- inele anuale (diferenta intre lemnul tarziu si timpuriu);

- noduri, fibra creata - frasin cret, inflorat, nuc mazarat, paltin- ochi de pasare

- alburn si duramen - sortare atenta - apar diferente de culoare

- canale medulare si pungi de rasina - au loc depuneri de rasina pe cutite,

degajare de uleiuri volatile.

Compozitia chimica - continutul de oxidanti silicati (saruri minerale);

- rezistenta specifica la taiere mare, uzura sculelor

b) estetice - diferente intre lemnul timpuriu si cel tarziu;

- existenta razelor medulare constituite din tesuturi parenchimoase;

- existenta nodurilor concrescute,a fibrei crete;

- culoarea naturala - cerinta mare pe piata

2). Specii de lemn utilizate la fabricarea furnirelor tehnice si estetice.

a). tehnice - specii de lemn omogen (fara diferente intre lemnul tarziu si timpuriu)

- cu vase mici uniform repartizate in cuprinsul inelului anual;

- densitate mica;

- rezistente mecanice si biologice mari;

- cantitati insemnate de masa lemnoasa.

Specia

Ponderea din total mondial %

Zone geografice

Brad Douglas

SUA, Canada

Mesteacan

Rusia, Finlanda, Tarile Baltice

Lauan

Japonia, Australia

Fag

Europa (Romania, Franta, Germania)

Okume

Europa de Vest, Africa

Alte specii

STAS pentru busteni

Din Romania: - fag, plop, tei, anin, salcie, mesteacan, paltin, frasin, ulm, artar, carpen, jugastru, brad si molid;

fag 95% (35,8% din suprafata impadurita, 52% din masa lemnoasa exploatabila);

specii repede crescatoare - plop, salcie, rasinoase.

Din tari exotice - ocume, obeche, mahon african, aco, macore, fume -Africa

mahon american, baboen - America

cheruing, meranti rosu si alb, ramin, eucalipt, laman - Asia

b) f. estetice - indigene - anin, brad, cires, fag, frasin, jugastru, mesteacan, molid,

paltin, par, pin, salcam, salcie, stejar, tei, ulm.

STAS 122-80

exotice - grupa A - specii exotice rosii - tip mahon american, sapeli, sipo, cosipo, tiama, cotibe

tip par - macore, moabi, muculungu

STAS 10248-80

grupa B - specii tip nuc - dibetu, mausonia, mutenie,

ovengcol, nuc negru

grupa C - diverse specii - aformosia, avodire, bubinga,

limba, tramire, zingana.

4. Depozitarea si pregatirea materiei prime

Depozitul este necesar pentru:

receptia materiei prime;

stocarea;

conservarea;

pregatirea materiei prime in vederea debitarii furnirelor.

a). Receptia materiei prime - se admit pentru prelucrare numai busteni de diametrul si lungimea corespunzatoare standardelor precum si analizarea defectelor existente; analiza corespunzatoare se face pentru a urmari consumurile specifice a bustenilor.

b). Stocarea - stoc tampon. de minim 40 zile.

c). Conservarea - mentinerea lemnului in conditii de umiditate nefavorabila dezvoltarii ciupercilor si aparitiei crapaturilor.

- ciupercile aerobe se dezvolta in mediu prielnic - 15-200C, umiditate 40-60%.

- crapaturile -apar la reducerea rapida a umiditatii.

Reducerea lenta a umiditatii sub 40%, existenta unui mediu fara aer (in bazine,

imersie totala in apa, albiile unor rauri, lacuri cu o panta cu inclinatia de 30-400).

Procedeul de stocare:

- pana la 3 luni - imersia si stropirea cu apa;

- aplicarea de paste protectoare la capetele bustenilor;

- uscarea lenta a bustenilor.

-se face in bazine din radiere de beton armat, cu rosturi etansate cu franghii gudronate cu bitum topit: latimea 26 m, lungimea 60-80 m.

- transportul si manevrarea bustenilor - macarale portal, pod rulant,

automacarale.

- deasupra bazinului umplut strans cu busteni se stivuiesc busteni la 3-8 m inaltime - in interiorul bazinului se conserva bustenii prin imersie, deasupra bazinului bustenii se conserva prin stropire.

- consumul de apa - 15 mai-15 sept. , va tine cont de evaporarea naturala a

apei.

- este necesar schimbul periodic al apei din bazin pentru evitarea infectarii

lemnului.

Volumul de busteni - capacitatea de depozitare V

unde:

V1 si V2 - volumele spatiilor ocupate de busteni

coeficient de stivuire a bustenilor in bazin

- coeficient de stivuire a bustenilor deasupra bazinului.

Tratamente

Foioase - fag - stropirea la , pentru busteni proaspat recoltati

pentru bustenii uscati tratamentul nu se recomanda, apar pierderi

stropiri dese 10-15 min la interval de 2 ore ziua, doua stropiri in noptile calde, sub forma de particule fine, resiunea apei este de 2-4 bar.

se tine cont de vant si vremea calduroasa.

Consum specific de apa: 30-35 l/hm3 busteni (5%lemn, 15% umezeala aerului, 15% umezeala terenului, 65% se scurge prin rigole, in bazine de decantare - apoi se recicleaza).

Foioase moi - proaspat recoltati - aplicarea pastelor la capete.

Foioase tari si rasinoase - stivuirea stransa si uscarea lenta.

d). Pregatirea materiei prime

- detectarea incluziunilor metalice;

- sectionarea;

- fasonarea in cazul furnirelor estetice;

- plastifierea;

- cojirea.

1. Detectarea incluziunilor - se executa cu un detector de metale care analizeaza perturbarea campului magnetic in cazul existentei particulelor feromagnetice. Este instalat intre transportorul de busteni - se semnalizeaza optic si acustic in cazul existentei metalelor sau se comanda descarcarea automata a bustenilor pe o rampa speciala -apoi reintrodusi dupa eliminarea incluziunilor metalice.

2. Sectionarea bustenilor - indepartarea capetelor olarite, crapate.

Obtinerea lungimii corespunzatoare standardelor (vezi lab.) si produsului finit - placajul; lungimea butucilor se calculeaza insumand dimensiunea finala a furnirelor ce alcatuiesc placajul in lungul fibrelor cu supradimensiunea acordata pentru formatizare 35-50 mm la fiecare cantitate si la fiecare supradimensiune acordata pentru abaterea suprafetelor sectionate de la perpendicularitatea pe axul busteanului 35-50 mm la fiecare capat - supradimensiunea totala este de 140-200 mm.

Pentru butucii scurti pentru placaje de 1250-2000 mm - precizia de lucru este mai mare, supradimensiunea acordata este de 150 mm.

La busteni lungi - supradimensiunea este de 200 mm.

Plusurile lungimii -au o pondere ridicata in consumul specific de lemn.

reducerea consumurilor specifice are in vedere marirea preciziei de sectionare (fierastrau cu lant).

aplicarea imediat dupa derulare a unei benzi de hartie pe marginea

furnirului impiedica craparea canturilor, ruperea prin manipulare si

uscare.

in cazul furnirelor estetice - lungimea butucilor rezultati prin sectionare trebuie sa depaseasca cu 10% lungimea minima a furnirelor de clasa I.

sectionarea butucilor - defectele sa nu aiba continuitate in ambii butuci, rezultati dupa sectionare.

- sa se evite forma de busteni curbati in 2 plane sau curburile de sens opus

- sageata de curbura sa fie cat mai mica

- planul sectiunii sa fie perpendicular pe axa bustenilor.

utilaje - fierastraie circulare basculante (pierderile mari la butucii de diametrul mare).

o       - fierastraie coada de vulpe

o       - fierastraie cu lant, mecanice, electrice

o       - sistem semiautomatizat - 2 fierastraie electrice cu lant unul fix si unul mobil - se deplaseaza in functie de lungimea butucului ce urmeaza a se obtine.

o       - automatizarea completa a instalatiilor de sectionat busteni - trei grupe de utilaje - prima grupa un sistem de palpatoare in actiune continua care inregistreaza lungimea, diametrul, defectele de forma - curburi, labartari. A doua grupa - procesul care primeste si prelucreaza informatiile si decide varianta optima de sectionare, a treia grupa de executie - un ferastrau cu lant cu programare automata.

3). Cojirea bustenilor - inainte sau dupa tratarea termica a bustenilor

- uzura sculelor taietoare - coaja are un continut ridicat de substante minerale si impuritati dure (nisip, pietris).

- cojirea precede tratarea termica - creste capacitatea de productie a bazinelor prin reducerea duratei de tratare - utilizarea optima a volumului util al bazinelor, reducerea timpilor de curatire a bazinelor.

- cojirea usoara - mai-iunie - arbori proaspat recoltati.

- dupa tratarea butucilor - forta de cojire se reduce - cresterea umiditatii si fragilitatii zonei cambiale.

- utilaje - cojirea prin dezintegrarea cojii (frezare, cu inel rotitor, hidraulice, cu

jet de rumegus).

- cojirea fara dezintegrarea cojii ( cu inel rotitor si cutite cu lama vibratoare, cu cutit tractat de troliu)

- utilaje sunt dimensionate in functie de: capacitatea de productie necesara si destinatia cojii.

- fabrici de placaj de capacitate mica - masini de copt prin frezare - 5-10 coaja provenientele

- fabricile de placaj de capacitate mare au masini de cojit hidraulice -

presiunea apei - 75-100 bar; consum apa - 2-7 m3/min.; energie - 20-50 Wh/ster.

4. Plastifierea lemnului

a). Comportarea speciilor lemnoase in procesul de plastifiere

- foioasele moi mai plastice decat foioasele tari si rasinoase.

- lemnul tanar mai plastic decat cel batran

- lemnul din alburn mai plastic decat cel din duramen

- lemnul incalzit mai plastic decat cel rece.

b). Explicatia fenomenului - plastifierea prin efectul combinat al umiditatii, tempe-

raturii,a substantelor alcaline.

- se rup puntile lignocelulozice si are loc depolimerizarea fractiunilor de lignina nelegate cu hidrati de carbon, se reduc fortele de coeziune si este posibil fenomenul lunecarii fibrelor.

Lemnul umed - umiditatea slabeste legaturile intermoleculare dintre verigile lanturilor celulozice - marind astfel flexibilitatea elementelor structurale ale lemnului.

c). Deformarile aparute in timpul taierii:

Ecuatia fibrei deformate:

unde:

M - momentul incovoietor

E1 - modulul de elasticitate transversala

I - modulul de inertie al sectiunii transversale.

; Explicitand momentul incovoietor din formula Navier, avem

unde:

S - grosimea furnirului

E1 - modulul de elasticitate - cat mai mic

- diametrul busteanului - raza de curbura

duce la ruperea furnirului.

d). Tratamentele - tratament higrotermic direct;

- tratament higrotermic indirect;

- tratament higrotermic

Acestea fiind tratamente umede.

Tratamente uscate:

tratament uscat - cu ajutorul curentului electric de frecventa industriala si inalta

tratament uscat - cu ajutorul curentului de inalta frecventa.

e). Parametrii

- regimul de tratare higro si hidrotermica depind de temperatura si durata.

- la derularea furnirelor - temperatura creste, plasticitatea creste si se reduce

rezistenta la taiere, se intensifica culoarea.

- se obtin furnire fara fisurari, crapaturi sau smulgeri de fibre.

-umiditatea ajuta la inmuierea furnirelor - inmuierea stratului interparietal,

microfibrele se scamoseaza, rugozitatea furnirelor creste, are loc deformarea

furnirelor datorita actiunilor barei de presare care poate fi remanenta ( au loc abateri

de la grosimea standard).

- la taierea plana a furnirelor - cutitul parcurge la o cursa de taiere zona

marginala si zona centrala - temperatura trebuie sa fie repartizata uniform in volumul

busteanului.

- la derularea busteanului - temperatura este mai scazuta in interior.

- temperatura rolei dupa derulare:

fag 300C;

mesteacan 200C;

larice 250C;

pin 150C;

plop 100C;

stejar 400C;

frasin 500C;

rasinoase 300C;

- temperatura depinde de densitatea lemnului si umiditatea lemnului:

- specii cu raze medulare numeroase si groase -au conductivitate termica mare, rezistenta mecanica mai mica.

temperatura de tratare 10-20 0C

fagul - presiuni interne mari - echilibrarea brusca a tensiunilor pe baza fisurilor si crapaturilor favorizate de inmuiere duc la reducerea capacitatii adezive a substantelor interparietale sub actiunea temperaturii ridicate.

- marirea temperaturii mediului de tratare cu 50C pentru fiecare mm de grosime, la furnire mai groase de 1,5 mm.

- regimuri de tratare - fag 600C si stejar 800C iar durata este de 8-20 ore.

- trei faze: -     - durata de incalzire a mediului - 12 ore

- durata de incalzire propriu-zisa - 56 ore

- durata de omogenizare - 40 ore

-la tratarea bustenilor in autoclava, la presiune mare, duce la reducerea substantiala a duratei tratarii termice .

5. Tehnologia furnirelor

Proprietatile furnirelor depind de:

structura anatomica ;

caracteristicile fizico-mecanice ale lemnului;

tehnologia de fabricare

Proprietatile furnirelor sunt:

Proprietati fizice:

umiditatea de echilibru higroscopic;

contragerea si umflarea;

gradul de fisurare;

rugozitatea;

uniformitatea grosimii;

penetrabilitatea.

Proprietati mecanice

rezistenta la tractiune paralel si perpendicular pe fibre;

rezistenta la poansoane;

raza minima de curbare.

a). umiditatea de echilibru higroscopic - intre 10 si 15%

b). densitatea - depinde de grosime si procesul de debitare

Furnirele mai groase au densitate mai redusa datorita detensionarii lemnului.

La furnirurile subtiri detensionarea este mai accentuata decat la cele derulate.

c). contragerea furnirelor

exemplu: brad si fag - intre 8,6 ÷ 4,7 la furnire tangentiale

2,7 ÷ 4,3 la furnire radiale

Umiditatea furnirelor

d). rugozitatea furnirelor derulate

derulare grosiera Rmax=200-315 (microni)

derulare semifina Rmax=100-200

derulare fina Rmax=60-100

e). uniformitatea grosimii:

- grosimea furnirelor tehnice cuprinsa intre 0,50 si 3,10 mm.

- abaterea la grosime <0,7 mm0,05 mm, foarte subtiri

abaterile la grosime >0,7 mm0,10 mm, foarte groase

Grosimea furnirelor estetice este intre 0,55 si 1,2 mm in functie de specie.

Specii:

cu structura omogena si densitate mare: nuc, par, mahon, macore, bulinga, avodire, grosimea 0,55 mm.

cu structura omogena si densitate medie: anin, salcie, fag, paltin, cires, salcam, grosimea

moi si poroase cu densitate redusa: tei, plop cu penetrabilitate mare grosimea

specii cu vase mari, grupate inelar: stejar, ulm, frasin, cu porozitate mare si penetrabilitate, grosimea

specii de rasinoase, grosimea 1 mm

cu defecte naturale sau din radacina, grosime 0,6 mm la nuc, grosimea 1 mm la plop.

Abateri limita: 4% din grosime pentru specii exotice

0,05 m pentru furnirele din nuc si radacini de plop

0,06 mm pentru furnirele din celelalte foioase si rasin.

f). penetrabilitate

- furnirele radiale - suprafata este mai neteda, cu aspect densificat

- furnirele tangentiale - suprafata este mai scamosata - sunt penetrabile.

g). rezistenta la tractiune paralel si perpendicular pe fibre

- depinde de grosime: la grosimi de 1 mm; 1,5 mm sunt la maximum


Grosimea furnirului, mm

h). rezistenta la poansonare - la grosimi de 1,5 mm, umiditatea 60-70% si diametrul poansonului de 5 mm sunt intre , in functie de specie (MN/m2)

2. Tehnologia furnirelor estetice

Definitia furnirelor estetice: furnirele cu grosimea cuprinsa intre 0,4 si 1 mm obtinute

prin taiere plana, derulare sau ferastruire.

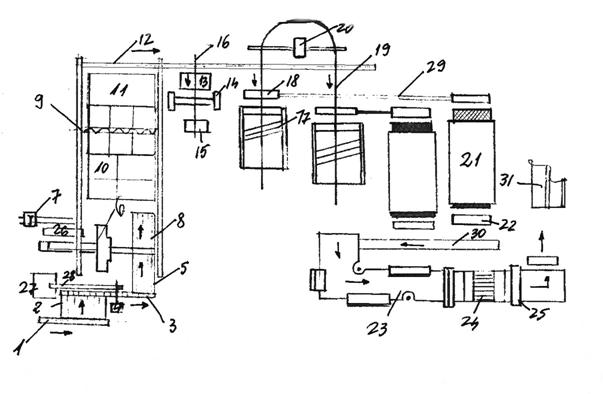
Descrierea fluxului tehnologic

Din depozitele de conservare bustenii sunt adusi cu transportoarele 1, 2 si 3 la statia centrala 4.

Dupa selectionare, bustenii sunt fasonati la fierastraul panglica orizontal 6.

Piesele de cherestea sunt depuse pe rampa 26, iar prismele de pe transportorul transversal 8 sunt preluate de podul rulant 9 si introduse in unitatile de tratare termica 10.

Dupa tratarea termica, pe rampa 11, se inlatura coaja cu dispozitivele de cojit portative sau se poate monta pe flux o masina de cojit busteni.

Dupa cojire, transportorul 12 conduce bustenii pentru alimentarea derulorului 14 si prismele pentru alimentarea masinilor de taiat plan 17. Furnirele rezultate sunt stivuite pe platforma 18 care este adusa pe transportorul cu role 29 in fata instalatiilor de uscare cu banda 21.

Dupa uscare, furnirele sunt dirijate in pachete de 12 sau 24 foi la linia de croire 23.

Pe fluxul tehnologiei este necesara mentinerea ordinii debitarii furnirelor.

Dupa impachetare, furnirele estetice se depoziteaza in stive pe palete, in incaperi cu atmosfera conditionata.

a). Fasonarea butucilor, principii, utilaje

Pentru debitarea furnirelor prin taiere plana, este necesara realizarea unei suprafete a lemnului de la care sa se inceapa operatia de debitare pentru obtinere unor furnire cu latime corespunzatoare utilizarilor.

Suprafata trebuie astfel orientata in raport cu razele medulare incat sa permita obtinerea unui procent maxim de furnire radiale de latime medie maxima.

Suprafata de sprijin paralela cu suprafata de taiere se obtine prin operatia de fasonare prin ferastruire longitudinala.

Schemele de fasonare trebuie sa asigure obtinerea unui volum maxi de furnire prin pierderi de lemn minime.

Principalele scheme de fasonare si domeniile de utilizare

Este necesara o examinare amanuntita a butonului in functie de urmatoarele criterii:

forma si defecte

sortimentele de furnire urmarite a se abtine.

Rezulta: pe unul dintre capete se deseneaza planul fasonarie care trebuie sa tina seama de urmatoarele defecte:

ovalitate

sageata curburii pronuntata

Zonele cu defecte trebuie sa afecteze un anumit numar de foi de furnir.

Utilajele folosite pentru fasonare: gatere orizontale, ferastraie cu lant, ferastraie panglica orizontale -sunt cele mai utilizate datorita:

o       utilizarii vitezelor mari de avans

o       utilizarii grosimii mici a panzei

o       calitatii superioare a suprafetei prelucrate.

Dispozitive - utilajul trebuie sa aiba un sistem de prindere a bustenilor, un sistem de rotire in paralel cu miscarea in plan vertical al bustenilor.

6. Debitarea furnirelor estetice prin taiere plana

Utilaje - masini de taiat plan orizontale

- masini de taiat plan verticale

Principiul de functionare - procesul taierii plane este similar taierii elementare, scopul taierii fiind calitatea furnirului si obtinerii principalului produs: ASCHIA.

Mecanismul esential - sistemul cutit/bara de presiune - forma optima de ascutire a cutitului pentru furnirele subtiri este un unghi de ascutire de 750, cu muchia de presare rotunjita dupa o raza de 0,5 mm, montata cu un unghi de asezare de 150.

Scopul utilizarii barei de presare

1). Pentru a evita despicarea lemnului in fata cutitului, dupa planuri de minima rezistenta.

2). Pentru a evita fragmentarea furnirului prin forfecare sub actiunea unor componente ale fortelor den taiere.

In timpul prelucrarii se formeaza o stare de tensiune in zona de taiere care mareste fortele de taiere, dar impiedica despicarea lemnului (smulgeri de fibre) si fragmentarea aschiei (furniruirea).

Bara de presare comprima furnirul si prin aceasta constituie un sprijin pentru muchia taietoare a cutitului reducand vibratiile acestuia.

Daca valoarea maxima a presiunii este orientata pe o directie ce trece prin fata muchiei taietoare a cutitului, presarea barei nu-si are rostul.

Valoarea maxima a presiunii este orientata pe o directie ce trece prin spatele muchiei taietoare a cutitului, in zona de taiere are loc despicarea lemnului si fragmentarea aschiei, iar cutitul este solicitat suplimentar si se rupe.

Cutitele placate cu oteluri aliate cu grosimea de 15-18 mm, latimea 250 mm si lungimea in functie de deschiderea masinii.

- unghiul de ascutire a cutitului -

- unghiul de asezare - influenteaza calitatea furnirului si consumul energetic la taiere.

- valori prea mari - cutitul nu se sprijina bine pe lemn

vibreaza

patrunde in lemn mai mult sau mai putin decat grosimea furnirului.

produsul obtinut - furnirul este de grosime neuniforma: cu smulgerii de fibre si fisuri.

- valori prea mici - cutitul freaca pe lemn

cutitul este deviat din planul de taiere cu forta de interactiune

cu lemnul, rezultand furnire de grosime neuniforma, obtinute cu un consum mare de energie.

- optim - utilizarea cutitelor cu fateta dubla.

1). Debitarea furnirelor prin taiere plana la masini orizontale

Principiul - se caracterizeaza prin faptul ca miscarea de taiere este efectuata de cutit intr-un plan cvasiorizontal, iar miscarea de avans este egala cu o grosime de furnir la fiecare cursa dubla a cutitului si este realizata de prisma de lemn in plan vertical.

Descrierea utilajului - masinile constau dintr-un batiu cu doua ghidaje longitudinale, pe care gliseaza suportul portcutit si al barei de presare, antrenate in miscarea rectilinie alternativa prin mecanism bila - manivela ; intre ghidaje, este amplasata masa de sustinere a prismelor prevazuta cu grife pentru fixarea prismei si mecanisme de avans constand din 4 suruburi de miscare verticale care primesc miscarea prin sistemul de angrenaje conice si cama prin sistemul biela - manivela cu clichet si roata de clichet; prin sistemul angrenaj melcata miscarea se transmite rapid axului care asigura miscarea suportului portcutit.

De ce utilizam sistemul cama si biela manivela - obtinem sincronizarea miscarii de avans a materialului in plan vertical si miscarea orizontala a sistemului de taiere.

Masa de suport a materialului este prevazuta cu un sistem hidraulic de compensare a fortelor, datorita supunerii sistemului la forte mari.

Amplasarea mesei suport cu materialul - prisma de lemn nu este perpendiculara pe ghidaje ci sub un unghi de pentru ca in timpul taierii, cutitul sa intre treptat in lemn (de la un colt).

Fixarea grifelor in material se fac pneumatic in sistem automat.

Miscarea de taiere este realizata prin actionarea de catre un electromotor, a unui sistem de roti dintate, care angreneaza cu coroana danturata a volantilor, care angreneaza bielele montate pe volanti, ce transforma miscarea de rotatie in miscare rectilinie:

- echilibrarea consumului de energie la cursa activa si pasiva se face prin contragreutati sau prin montarea in plan inclinat a ghidajelor.

- franarea si accelerarea miscarilor se face prin cuplaj electropneumatic cu discuri de frictiune care blocheaza miscarea.

- suportul portcutit si bara de presare au o constructie chesonata astfel incat sa asigure rigiditatea mare la o masa relativ mica.

- evitarea condensului de la aburirea prismei - se face prin introducerea de ulei incalzit printr-un rezistor in interiorul barei de presare.

- furnirele rezultate sunt presate cu jet de aer care le scoate printre cele doua traverse pentru a fi preluate manual sau mecanic.

2). Debitarea furnirelor prin taiere plana la masini verticale

Principiul de functionare - miscare de taiere rectilinie alternativa este imprimata prismei de lemn si este in plan vertical, iar suportul portcutit si bara de presare executa miscarea de avans in plan orizontal.

Descrierea utilajului - fixarea prismei de face pe o sanie cu ajutorul grilajelor. Deplasarea saniei are loc pe ghidaje care formeaza un unghi de 200 cu verticala. Antrenarea se face prin sistem biela-manivela de la un electromotor de curent continuu. Din acelasi lant cinematic sunt antrenate, la cursa pasiva a prismei, avansul sculelor care printr-un sistem de rotire permite evitarea frecarii cu lemnul la cursa pasiva si montarea si reglarea sculelor.

Avantajelor utilizarii masinilor verticale sunt:

masele in miscare sunt mai mici ca urmare si solicitarile masinii sunt mici;

lungimea cursei prismei este mai mica ceea ce permite o frecventa mai mare de taiere;

consumul de energie este mai bine echilibrat la cele doua curse ale prismei;

permite reglarea unghiului de asezare a cutitului;

datorita prinderii prismei cu grife bilaterale restul de cutit este mai mic;

evacuarea furnirelor se face mai rapid;

suprafata industriala ocupata este mai mica.

Dezavantajele - dimensiunile prismelor sunt mai mici;

imposibilitatea prelucrarii simultane a mai multor prisme;

supravegherea suprafetei prismei in timpul taierii este dificila;

puterea instalata este mai mare.

In cazul prelucrarii materiei cu diametre medii mici se recomanda utilizarea masinilor verticale, iar pentru diametre mari - masinile orizontale.

Debitarea furnirelor estetice prin derulare

derulare - 1) centrica;

2)excentrica (sau semiderulare);

3) conica

Rezulta

1). Bustenii care prezinta lemn valoros la periferia trunchiului (specii cu crestere mazarata sau ondulari radiale de crestere) sunt prelucrati rin derulare conica.

2). Derulare excentrica - fixarea lemnului se face astfel incat taierea sa aiba loc dupa o raza cat mai mare (textura apropiata de cea a furnirelor taiate plan); prin derularea excentrica, obtinem o textura preponderent semiradiala - grosimea furnirelor este neuniforma datorita vibratiilor.

3). Axa de rotatie a bustenilor este concurenta cu muchia taietoare a cutitului; iar furnirul rezultat sub forma de spirala este utilizat pentru mobilier de serie mica , avansul este realizat de bustean , care primeste miscarea de la un mecanism de avans cu surub.

7. Uscarea furnirelor estetice. Linii de taiere plana

Dupa debitarea furnirelor estetice, acestea au o umiditate de 50-80% , pentru conservare si utilizare este necesara o umiditate de 10-15%.

Furnirele obtinute din lemn cu defecte naturale si/sau radacina, acestea trebuie sa aiba o umiditate de 15% pentru a deveni casante.

In timpul uscarii - prin evaporarea apei din cauza contragerii lemnului apar tensiuni si foaia de furnir se deformeaza pe directii diferite datorita structurii anizotrope a lemnului si anume:

variatia directiei orientarii fibrelor;

sectionarea in diverse planuri a inelelor anuale.

Pentru a reduce deformarea furnirelor se tine seama de proprietatile plastice si de relaxare a lemnului si rezulta ca furnirele trebuie mentinute in stare plana.

In cazul uscarii naturale a furnirelor nepresate, deformatiile sunt maxime.

Procedee

uscarea naturala - rastele intr-o incapere ventilata, 4-5 foi, 6-24 h dupa uscare furnirele se leaga strans pentru indreptare.

uscare artificiala - uscarea cu aer cald sau cu gaze de ardere ; uscare cu radiatii infrarosii.

Regim de uscare

a). temperatura

b). viteza

c). umiditate relativa a aerului

a). Temperatura de uscare mai mare, durata de uscare se reduce, creste capacitatea de productie a instalatiei de uscare.

Scade marimea contragerii furnirelor - temperatura industriala utilizata in mod frecvent 160-1800C, la specii foioase 2050C (Oregon, SUA)

Variatia temperaturii pe lungimea instalatiei de uscare.

1). O crestere brusca a temperaturii in primele tronsoane ale instalatiei de uscare are ca rezultat scaderea brusca a umiditatii, de unde rezulta un furnir cu variatii mari de umiditate pe suprafata si cementarea straturilor superficiale ale furnirului, ingreunand eliminarea apei, dupa uscare furnirul apare ondulat si este fragil.

2). Crestere lenta a temperaturii de uscare in lungul instalatiei- se obtin furnire cu umiditatea finala uniform distribuita pe suprafata, fara ondulatii, consumuri mai mici de energie termica, mentinerea constanta a timpului de uscare.

b). Viteza si directia de circulatie a aerului influenteaza intensitatea evaporarii apei la suprafata foilor de furnir si durata procesului de uscare.

1). Viteza aerului 8-10m/s;

2). Directia circulatiei aerului - paralel cu furnirele - sufla furnirele afara

- perpendicular pe suprafata furnirelor -

reducerea duratei de uscare, distrugand stratul limita de vapori de apa de la suprafata

furnirelor, facilitand un schimb mai intens de caldura si indepartarea umiditatii -

repartizarea uniforma a aerului si caldurii de pe suprafata furnirului o uscare uniforma

permite realizarea unor viteze mari de circulatie a aerului. Instalatii - aerul cald este

dirijat prin cutii cu duze.

c). Umiditatea relativa a aerului influenteaza asupra:

- vitezei de evaporare a apei

- calitatii furnirului

In cazul unei umiditati relative a aerului reduse, are loc uscarea rapida si excesiva a canturilor furnirelor, contragerea si craparea lor, ondularea furnirelor.

Model de instalatii de uscare - cu banda si duze

Instalatiile moderne de uscare - sunt dotate cu aparatura automata de masurare a umiditatii furnirelor si de reglare a vitezei de avans, corelarea parametrilor regimului de uscare efectuandu-se printr-un procesor.

Distingem:

Zona S - zona de incalzire

Zona C - zona de uscare

Zona c - zona de conditionare

Zona D - zona de racire

Instalatia este prevazuta cu cosuri de evacuare a aerului, umed cu ventilatoare pentru zona de racire cu clapete cu inchidere/deschidere automata pentru admisia aerului exterior in functie de umiditatea relativa a aerului (daca e prea scazuta umiditatea se inchid automat).

Masurarea automata a temperaturilor se face cu termocuple.

Masurarea automata a umiditatii se face cu adaptoare - semnalul cules este semnalul de reactie pentru un regulator unificator de semnal care compara semnalul cu o umiditate relativa corespunzatoare.

Semnalul electric este convertit in semnalul pneumatic in convertorul electropneumatic; semnalul pneumatic inchide sau deschide clapetele de acces ale aerului din exterior cu o umiditate relativa corespunzatoare.

Linii de taiere plana - uscarea - mecanizarea lucrarilor de preluare a furnirelor - transport, alimentarea uscatorului, evacuarea din uscator.

a). de la masinile de taiat plan orizontal - furnirele sunt preluate de un transportor vacunmatic - care consta din mai mule hote, in care se face o depresiune cu ajutorul ventilatoarelor, la partea inferioara horele au o fanta dreptunghiulara inchisa de un transportor cu banda perforata.

Absorbind aerul prin orificiile benzii, ventilatorul realizeaza o forta de aspiratie care sustin furnirele la partea exterioara a transportorului, cand fanta hotei se inchide, forta de sustinere dispare si furnirul este preluat de un transportor cu benzi inguste pentru urmatoarea faza, cea a uscarii.

Dupa uscare, furnirele sunt preluate intre doua transportoare de accelerare si conduse la instalatia de numararea foilor si formarea pachetelor de furnir pentru sectionare.

Liniile de preluare si uscare la liniile de taiat plan verticale - preluarea furnirelor se face cu transportoare cu benzi inguste de lungime variabila.

In cazul intreruperilor tehnologice - liniile prevazute trebuie sa stagneze sau sa fie servite manual.

Solutia optima - liniile cu stoc intermediar de furnire - principiul de functionare - sistem de depozitare tip bobina - o data cu suportul se infasoara in bobina si furnirele - la desfasurarea bobinei furnirele sunt transportate pe transportorul instalatiei de uscare - desfasurarea benzii se face prin frecare, datorita greutatii proprii a bobine.

8. Prelucrarea furnirelor estetice dupa uscare

Dupa uscare furnirele se stivuiesc in pachete de cate 12 sau 24 de foi in ordinea debitarii urmarind suprapunerea texturii.

Pachetele astfel formate sunt sectionate pentru eliminarea defectelor neadmise de standarde si pentru realizarea canturilor rectilinii si paralele.

Utilaje - sectionarea pachetelor de furnir se face cu foarfeca ghilotina pentru furnire estetice pentru canturilor longitudinale si pentru cele transversale.

Principiul de functionare - pe ghidajele de pe montantii batiului gliseaza traversa portcutit, antrenata prin sistemul biela manivela de la un electromotor cu frana prin intermediul unui cuplaj magnetic cu comanda prin pedala.

Pentru o mai buna vizibilitate, pe masa masinii se proiecteaza un fascicul luminos. De asemenea utilajul este prevazut cu un sistem de siguranta pentru pornirea suportului portcutit actionat concomitent cu dubele mainii sau alte sisteme de siguranta.

Consumul specific de materie prima la fabricarea furnirelor

Reflecta - calitatea procesarii lemnului - corectitudinea tehnologiei de fabricare, calificarea materiei prime.

Reducerea consumului specific se face prin:

1). Reducerea grosimii furnirelor fabricate - mm prin perfectionarea

utilajelor de furniruire si finisare

2). Perfectionarea tehnologiei de fabricare - evitarea craparii butucilor

- alegerea optima a planurilor de

fasonare

3). Perfectionarea utilajelor - introducerea caruciorului la ferastraul panglica

orizontal

- sistemul vacumnatic de fixare a prismei, reducerea restului de

cutit.

- perfectionarea dispozitivelor care sa permita sectionarea

paralela a costurilor.

4). Cresterea gradului de calificare a personalului - croirea furnirelor,

cunoasterea defectelor admise de standardele in vigoare, a schemelor

optime de croire.

5). Formatizarea sumara a furnirelor, livrarea in bulzi

6). Fabricarea se semifabricate la producator, in formatele necesare

beneficiarului.

7). Furnirele reconstituite din resturile furnirelor umede si uscate

Tehnologia furnirelor reconstituite - lamelin sau finelin.

Principiul - dupa aplicarea adezivului, se formeaza pachete cu diverse structuri, care se preseaza la rece.

Material - furnire de mici dimensiuni, din specii cu valoare relativ redusa.

- adeziv cu priza la rece, hidrorezistent cu pelicula relativ dura (sa nu uzeze sculele si sa nu afecteze culoarea finala).

Mod de fabricare - pachetul de furnire presate este plastificat apoi prelucrat in furnire la masinile de taiat plan furnire

in functie de prisma avem:- lamelin liniar

- lamelin tangential

Avantaje - furnirele lamelin reduc la minim fortele de contragere si umflare.

Tehnologia microfurnirelor

Definitia - microfurnirul este o foaie subtire de lemn cu grosimea mm

aplicata prin incheiere pe hartie sau pe suport textil.

Deosebim - microfurnirul derulat mm si este aplicat pe hartie

- microfurnirul taiat plan mm si este aplicat pe suport textil

Materia prima - mesteacan, fag, anin, paltin, carpen

- specii exotice

Regimul de lucru - plastifierea suficienta si o mare precizie de taiere.

Dupa fabricarea microfurnirului, dupa debitare furnirele sunt infasurate in bobine si depozitele pe termen scurt, in casete ermetice pentru ca furnirul sa nu fie casant.

Aplicarea furnirului pe suport prin caserare, in instalatii specifice - cu adezivi vinilici cu patru tamburi de uscare, unde temperatura creste progresiv de la 300C la primul tambur pana la 70-800C la al patrulea. Rolele de presare, la primii doi tamburi sunt cauciucate, iar la ultimii doi sunt metalice, asigurand o forta de apasare reglabila intre 2 si 6 daN/cm2.

La final microfurnirul este formatizat pe canturi si se infasoara cu furnirul la exterior.

Pe suprafata microfurnirului se aplica o folie de polietilena obtinuta prin extrudare.

Instalatia de aplicare a foliei de plastic este de 20-50 m/min.

Consumul de polimer intre 50 si 100 g/cm2, temperatura de aplicare 180-2000C.

Umiditatea microfurnirului 15%.

Caracteristicile microfurnirului:

- rezultatul la tractiunea transversala

- cu ghidarea peliculei de polimer rezultatul creste la

In final aplicarea furnirului pe panou se face prin incheiere cu rasini sintetice consum specific 170-210 g/m2, presat la 0,6-1,0 MN/m2 timp de 6-12 min.

Dupa presare - racirea in presa pina la 70-800C.

- conditionarea in stare stivuita, de minim 24 H.

9. Tehnologia furnirelor tehnice

Definitia furnirelor tehnice - furnirelor tehnice sunt obtinute prin derulare centrica si cu grosimea cuprinsa:

intre mm pentru straturile de acoperire (furnir de fata)

peste 1,5 mm pentru straturile intermediare la fabricarea placajelor (furnire de miez), a panelului (blind)

Destinatia furnirelor tehnice - la fabricarea produselor stratificate.

- ca elemente constructive pentru fabricarea chibriturilor, ambalajelor, jaluzelelor din lemn etc.

Fluxul tehnologic tine cont de: - capacitatea de productie

- tehnologie

- utilaje adaptate

Observatii

1. Fluxul tehnologic prezentat pentru obtinerea unui randament mare are o constructie simetrica.

2. Valorifica integral resturile prin tocare.

3. Manopera mare.

De pe transportorul cu lant 1, butucii sunt transferati mecanic pe transportorul transversal 2 care alimenteaza instalatia de centrare si alimentare 3, a derulorului 4.

Furnirele inutilizabile rezultate la primele faze ale procesului de derulare, sunt colectate si evacuate cu ajutorul transportorului cu banda 11, care alimenteaza tocatorul 12.

Banda continua de furnir este infasurata pe bobina in instalatia 5 apoi transportata pe calea de rulare 6, in depozitul de bobine 8, care alimenteaza instalatia de uscare cu banda si duze 14, dupa uscare banda continua de furnir este sectionata la foarfeca 16, iar formatele rezultate sunt sortate pe transportorul 17.

Deseurile de furnire uscate rezultate in urma prelucrarii la foarfeca 16, sunt colectate de transportorul cu banda 21, care alimenteaza tocatorul 22.

Rolele ramase dupa derulare sunt colectate de transportorul cu lant 9, care alimenteaza tocatorul 10.

Fasiile de furnir inmagazinate pe transportorul 18, sunt sectionate la furnir inmagazinate pe transportorul cu lant 9, care alimenteaza tocatorul 10. Fasiile de furnir inmagazinate pe transportorul 18, sunt sectionate la foarfeca 19, apoi sunt uscate in instalatia de uscare cu role si duze 26 si sortate pe transportorul 27. Cele care necesita o noua sectionare sunt transportate la foarfecele 28 si apoi la masinile de frezat pe cant 30.

Dupa frezare, fasiile sunt sortate pe transportorul 31, cele subtiri sunt dirijate la masinile de imbinat cu avans longitudinal 33, iar cele groase, la masinile de imbinat cu avans transversal 34.

Furnirele cu defecte de suprafata sunt dirijate la masinile de stantat si aplicat petice29.

Fasiile de furnir subdimensionate longitudinal, care urmeaza a fi .. Pentru formarea foilor mari sunt dirijate la masina de frezat 35, pentru tesirea canturilor, apoi sunt .. In presele 37 si taiate la format cu foarfeca 38.

Organizarea fluxului tehnologic permite crearea unor stocuri mari de furnire umede, infasurate pe bobine in magazia 11 sau stivuite pe palete pe transportoarele 24 si 25, fapt ce permite functionarea in trei schimburi la prelucrarea furnirelor, iar la activitatea din depozit si la derulare se desfasoara numai in doua schimburi.

Centrarea butucilor

Principiu - centrarea butucilor consta in identificarea axului cilindrului cu diametru maxim ce poate fi inscris in butuc.

Axa de rotatie a rozetelor axa cilindrului.

Daca nu coincid rezulta un procent mai mare de furnire de mic dimensiuni, inutilizabile la fabricarea produselor stratificate, rezulta randament scazut - cu atat mai accelerat cu cat abaterea de la coaxialitate este mai pronuntata furnirele au rezistente mecanice mici, rugozitate si penetrabilitate mare, creste ponderea elementelor anatomice sectionate.

Centrarea butucilor - vizual cu ochiul liber - prin manevrarea electropalului

dispozitive manuale - prin operator - centrul cercului circumscris busteanului

instalatii de centrare si alimentare - pe principiul centrarii optice sau mecanice.

Citirea optica - pentru centrare butucul este preluat de furcile de centrare 3 activate simultan sau individual cu cilindri hidraulici 8 astfel ca in sectiunile frontale sa poata fi inscrise cercuri cu diametre maxime proiectate de dispozitive optice 4 plasate perpendicular pe axa de rotatie a busteanului.

Operatorul manevreaza busteanul astfel incat axa de rotatie a proiectoarelor optice sa coincida cu axa economica a busteanului.

Prin translatarea printr-o cursa fiica pe calea de rulare rigida 9 axa economica coaxiala cu axa de rotatie a rozetelor masinii de derulat se pastreaza.

Procedeul se utilizeaza pentru bustenii cu diametre mari sau cu abateri mari de la forma cilindrica.

1-2 - transportatoare transversale

3 - furca de centrare

4 - cercuri concentrice proiectate de dispozitivele optice

5 - dispozitiv pentru fixarea butucilor

6 - rozetele masinii de derulat

7 si 8 - cilindri hidraulici

9 - cale de rulare

10 - masina de derulat.

Centrarea mecanica.

Principiul - sprijinirea bustenilor in trei sau patru puncte, manevrarea prin rotirea busteanului pana cand axele geometrice si de rotire coincid

Erori mari - la busteni cu abateri de la forma cilindrica (elipsoidal)

Se utilizeaza numai in cazul sectiunilor circulare.

Centrarea mecanica se face prin cilindri hidraulici si sisteme de transmisii cu lanturi, cabluri si scripeti.

Pentru marirea preciziei de centrare, este necesara eliminarea in prealabil a defectelor mari de forma (noduri, labartari etc.)

Centrarea optima - permite - obtinerea unui randament sporit de foi intregi si o dimensiune corespunzatoare a procentului de fasii, in conditiile maririi coeficientului de utilizare a masinilor de derulat.

Deci - foi de furnir continue

- coeficient ridicat de utilizare a masinilor de derulat.

10. Debitarea furnirelor tehnice prin derulare

Principiu - derularea centrica a furnirului consta in taierea de pe suprafata butucului, ce se roteste in jurul axei rozetelor intre care este fixat, a unei foi continue de furnir, de grosime uniforma, cu ajutorul unui cutit a carui fateta este situata in plan secant la butuc, avand muchia taietoare paralela cu axa de rotatie si care se deplaseaza continuu spre centrul butucului, cu o distanta egala cu grosimea furnirului la fiecare rotatie a butucului.

Procesul de taiere a furnirelor prin derulare

Este influentat de:

tipul si pozitia cutitului

tipul si pozitia barei de presare

rigiditatea sistemului masina-scula.

viteza de taiere

1). Influenta parametrilor cutitului asupra procesului de derulare

Pozitia cutitului este definita de parametri unghiulari ai taierii

pozitia muchiei taietoare in raport cu plan orizontal ce trece prin axa de rotatie a butucului

a). valoarea unghiului de ascutire

- lemn omogen, de densitate medie

- lemn neomogen, densitate mare

- pentru furnire groase

b). valoarea unghiului de asezare - mare - cutitul se sprijina pe lemn, vibreaza, muchia taietoare patrunde in interiorul lemnului mai mult sau mai putin decat permite avansul suportului cutit.

Furnirele rezultate au smulgeri de fibre, rugozitate mare si neuniforme a grosimii atat pe lungimea cat si pe latimea benzii de furnir - mic intre fateta cutitului si lemn apare o presiune care deterioreaza suprafata lemnului, deformeaza butucul sui duce la obtinerea furnirelor cu grosimea neuniforma; datorita fortei de frecare care apare creste consumul de energie la derulare.

In procesul derularii, unghiul de asezare variaza pe masura reducerii diametrului busteanului, unghiul de asezare se reduce pe masura reducerii diametrului pana la diametre mici cand pentru o mai buna stabilitate, unghiul de asezare trebuie iar sa creasca.

In practica - unghiul de asezare nu se poate masura in cazul reglarii ci unghiul unghiul de pozitie a cutitului cuprins intre fateta cutitului si plan vertical (valori optime ale unghiului se vor studia la laborator).

Pentru imbunatatirea conditiilor de taiere, se pot utiliza cutite oscilante care au o miscare de oscilatie coplanara, cu o frecventa de 1,3-2 Hz si o amplitudine de circa 25 mm. Cu cat viteza de amplasare coplanara a cutitului este mai mare, se reduce valoarea cinematica a unghiului de taiere si marimea fortelor de taiere.

2). Influenta parametrilor barei de presare asupra procesului de derulare

Rolul barei de presare - creeaza o stare de presiune (tensiune) in zona de taiere, anihiland efectul de pana al cutitului.

o       constituie un sprijin, prin intermediul furnirului, pentru muchia taietoare, reducand vibratiile

o       prin comprimare se reduce grosimea furnirului si se realizeaza o uniformizare a tensiunilor pe sectiunea transversala a furnirului care reduce efectul tensiunilor normale transversale in momentul curbarii furnirelor.

o       in functie de marirea gradului de presare si de umiditatea lemnului, are loc eliminarea apei prin stoarcere, umiditatea scazand cu 5-10%.

o       gradul de presare are o mare importanta la derularea furnirelor groase

Influenta pozitiei reciproce dintre bara de presare si cutit.

Influenta tipului de ascutire al barelor de presare plane, rezulta cu muchie de apasare rotunjita, foarte subtire, cu fateta de apasare foarte joase.

Bara de presare cilindrica - permite evacuarea aschiilor pe masura aparitiei lor fara a afecta calitatea furnirului si functionarea optima a derulorului.

Bara de presare cilindrica rotativa poate fi simpla sau dubla.

Barele de presare se rostogolesc pe suprafata busteanului, fiind antrenate de grupuri de antrenare cu turatie variabila astfel incat viteza periferica a barei sa fie egala cu viteza de derulare.

Barele de presare cilindrice, rotative sunt indicate pentru furnire groase de peste 1 mm (furnire de rasioanse).

3). Influenta rigiditatii sistemului masina-scula-lemn asupra procesului de derulare

Abaterile de la grosime a furnirelor se datoresc deformatiei statice a axului rozetelor, a butucului multiplicate cu un coeficient dinamic stabilit experimental.

Pentru marirea preciziei de lucru exista urmatoarele solutii:

marirea rigiditatii masinii (axelor rozetelor de fixare a butucului, suportului portcutit, cutit etc.)

marirea rigiditatii butucului (la diametru mic, lungime mare)

reducerea coeficientului dinamic prin aplicarea unei forte stabilizatoare

Din ultimele doua rezulta dispozitive de sprijinire a butucului in timpul taierii - saboti sau role dispuse pe o grinda in lungul butucului, actionate hidraulic care odata cu reducerea diametrului butucului, sunt presate pe butuc.

4). Influenta vitezei de taiere asupra procesului de derulare

Viteza de taiere - calitatea furnirului

o       consumul de energie

o       capacitatea de productie a masinii de derulat

Viteza mare de taiere - calitatea superioara a taierii

Viteza de taiere <30/min - furnire cu suprafata rugoasa si grosime neuniforma

cutitul este deviat de la pozitia normala, supus unor vibratii determinate de structura anizotropica a lemnului.

Viteza de taiere>30/min - prin cresterea turatiei, creste stabilitatea butucului sub actiunea fortelor giroscopice, se mareste precizia de taiere

- la viteze mari se reduce influenta speciei asupra consumului de putere.

Masinile moderne de derulat - 120-200 m/min - 300 m/min.

La micsorarea diametrului butucului in timpul derularii - viteza de taiere variaza sensibil. Pentru mentinerea unei viteze constante se utilizeaza cutii de viteze sau cuplaje cu frictiune care permit marirea turatiei si mentinerea vitezei de taiere in limite stranse - de asemenea se utilizeaza si grupuri de antrenare cu motoare de curent continuu.

Cursul 10

11. Constructia masinilor de derulat

Descriere - masinile pentru derulare se compun din:

batiul

suportul traversei portcutit si traversei barei de presare

mecanismul de fixare si rotire a butucului

mecanisme de antrenare si transmisie

dispozitive de comanda

organe de lucru

Masinile moderne de derulat au partial comenzi automatizate in timpul derularii, rozetele exterioare se retrag cand se apropie cutitul, pentru oprirea avansului si retragerea suportului portcutit cand cutitul ajunge la nivelul rozetei interioare, pentru schimbarea treptei de viteza in functie de diametru se folosesc sisteme mecanice prin sistem placuta montate pe batiu cu microcontracte montate pe traversa portcutit sau prin procedee electropneumatice actionate printr-un microprocesor care culege datele prin traductoare numerice.

Montarea si reglarea sculelor masinilor de derulat

Mai intai se curata si se greseaza locasurile.

Se monteaza bara de presare astfel incat sa poata glisa intre placa de fixare si traversa.

Pentru reglarea rectilinitatii muchiei de apasare a barei de presare se monteaza cutitul cu 1-2 cm mai sus decat muchia barei de presare si se strang piulitele de fixare pana ce spatele cutitului vine in contact cu suprafata plana a traversei portcutit.

In acest fel spatele cutitului este plan si constituie planul de referinta pentru reglarea rectilinitatii barei.

Cu ajutorul unor suruburi de reglare, bara de presiune este adusa cu muchia de apasare in planul spatelui cutitului pe toata lungimea.

Verificarea operatiei se poate face cu o sursa de lumina sau lamele calibrate introduse pe spatele cutitului.

Reglarea unghiului de pozitie a cutitului se face cu un dispozitiv special prezentat la laborator.

Reglarea variatiei unghiului de pozitie a cutitului.

Reglarea pozitiei relative dintre muchia taietoare si muchia de apasare in functie de grosimea furnirului.

Reglarea pasajului minim de trece a furnirelor se face prin lamelele calibrate, se aplica pe dosul cutitului si se apropie incet bara de presare pana ce lamela gliseaza uniform, fara joc, in lungul cutitului.

Masinile de derulat sunt dotate cu dispozitive de masurare a distantei minime de trecere a furnirelor, cu afisare numerica. Cand muchia barei de presare este coliniara cu cea a cutitului, dipozitivul de masurare se aduce la zero, urmand ca in continuare distanta sa fie citita direct pe dispozitiv.

Capacitatea de productie a masinilor de derulat

Capacitatea de productie se determina pe baza duratei ciclului de derulare a unui butuc t.

Determinarea lui consta din insumarea timpilor necesari fiecarei operatii, determinanti prin cronometrarea sau prin calcule bazate pe cinematica masinii.

Volumul si calitatea furnirelor obtinute prin derulare

La debitarea furnirelor prin derulare rezulta in ordine urmatoarele sortimente:

fasii de furnire inutilizabile ca atare, sub forma bucatilor inguste avand lungimea mai mica decat a butonului (fabricarea aschiilor pentru PAL, PFI)

fasii de furnire utilizabile la fabricarea produselor stratificate in urma unor prelucrarii suplimentare (imbinari, ..)

banda continua de furnir

rola, restul butucului ce nu mai poate fi derulat - debitare aschii pentru PAL.

12. Tehnologia prelucrarii furnirelor umede

Transportul si inmagazinarea furnirelor umede

Principiu - in timpul procesului de derulare diferitelor categorii de semifabricate rezultate trebuie indepartate rapid din spatiul din spatele masinii.

- pentru a nu se deteriora semifabricatele

- pentru a nu reduce capacitatea de productie a derulatorului.

De aici rezulta, masinile de derulat sunt montate la 12 mm inaltime deasupra podelei.

1). Fasiile de furnir inutilizabile sunt preluate de transportorul cu benzi inguste montat articulat pe traversa portcutit apoi transportorul basculant care le conduce la transportorul de evacuare.

2). Fasiile de furnir utilizabile, prin intermediul altor transportoare ajung la instalatia de stocare a furnirelor umede.

3). Banda continua de furnir, ajunge la instalatia de infasurare, pe bobina, urmand sa fie depozitata in magazia de bobine.

Pentru evitarea craparii si ruperii furnirelor in timpul . purtarii si uscarii, pe marginea benzii continue de furnir se pot aplica benzi de hartie gumata cu latimea de mm.

Evacuarea rolei se face printr-un dispozitiv de rabatare a dispozitivului care sustine rola permitand retragerea rozetelor.

Inmagazinarea furnirelor este necesara pentru a crea un stoc tampon, care sa asigure legatura tehnologica continua intre derulor (masina cu functionare discontinua) si instalatiile de uscare sau de croire care lucreaza continuu.

Inmagazinarea furnirelor:

prin infasurarea pe bobine

fara infasurare, pe transportorul cu benzi inguste

a). Infasurarea pe bobine - trebuie asigurat dispozitivul de desfasurarea bobinei in vederea uscarii

b). Inmagazinarea furnirelor fara infasurare - pentru furnire cu grosime mare si rezistenta redusa, butuci cu diametre mici.

Instalatiile de desfasurare a furnirelor sunt prevazute cu foarfeci pentru sectionarea si de transportoare de evacuare a deseurilor.

In cazul prelucrarii furnirelor cu grosime mica din busteni cu diametru, este necesara marirea capacitatii de inmagazinare atat pentru fasii - se realizeaza prin mecanizarea si automatizarea operatiilor cum ar fi corelarea incercarii tronsoanelor cu furnir cu traductori cu celule fotoelectrice.

Variante de inmagazinare, uscare si croire a furnirelor

A. Inmagazinare - banda continua - croire - uscare - croire

- fasii - croire - uscare - croire

Avantaje - zonele de furnir cu defecte ce nu pot fi reparate nu sunt introduse in instalatia de uscare, nu se consuma energie pentru uscarea lor.

Dezavantaje - prin manipularea si uscare apar ruperi de furnir, deci este necesara croirea si dupa uscare ceea ce duce la pierderi de furnire majoritatea cu circa 3%.

B. Inmagazinare - banda - uscare - croire

- fasii - croire - uscare - croire

Avantaje - alimentarea uscatorului cu banda continua de furnir se preteaza mai usor mecanizarii.

- croirea se face o singura data - se economiseste manopera, utilaje, pierderile de lemn sunt mai mici.

Dezavantaje - furnirele avand canturile subtire si neregulata fenomenele de infundare frecventa ci instalatiei de uscare, determina croirea fasiilor si inainte de uscare.

Sectionarea furnirelor

In vederea obtinerii formatelor de furnir necesare fabricarii produselor stratificate, sectionarea benzii de furnir se face la lungimea necesara, iar furnirele fasii inguste sectionate la lungime, prin imbinare ulterioara dau formatul necesar.

Lungimea la care trebuie sectionat furnirul tine cont de supradimensiunea acordata placajului mm.

La sectionare se tine seama si de defectele furnirelor

Avem doua tendinte

Eliminarea tuturor defectelor si obtinerea unui procent mare de fasii, dar de calitate superioara.

Eliminarea numai a defectelor majore si obtinerea unui procent de foi intregi chiar cu defecte

Se alege tehnologia potrivita in functie de destinatia furnirelor si placajelor

Sectionarea furnirelor paralel cu fibrele se face numai foaie cu foaie - iar sectionare transversala pe fibre se executa in pachete cu ajutorul ghilotinei.

Uscarea furnirelor tehnice

Furnirele rezultate prin derulare au umiditatea cuprinsa intre 60 si 120% in functie de specie si tratamentele de plastificare aplicate.

Umiditatea de utilizare a furnirelor la fabricarea produselor stratificate trebuie sa fie 6-8% - pentru adezivi solubili in apa si de 10-12% pentru adezivi sub forma de film.

Tehnologia de uscare a furnirelor tehnice este similara tehnologiei de uscare a furnirelor estetice.

Rezulta - instalatii de uscare cu transport cu role care prezinta un avantaj.

uscarea se face prin convectie si control

rolele au un efect de netezire

ocupa gabarit mai mic

Descrierea tehnologiei - foile de furnir se introduc in instalatie cu fibrele perpendiculare pe axele rolelor si cu capetele anterioare suprapuse pe o distanta de 20-100 mm peste capetele posterioare ale furnirelor precedente, astfel incat sa se evite infasurarea lor pe role.

Automatizarea procesului de fabricatie - uscatoriile moderne sunt prevazute cu un calculator de proces, care controleaza continuu parametrii de uscare, regland automat viteza de avans a furnirului.

Umiditatea furnirului este masurata de un detector electronic la iesirea din uscator, cu ajutorul a 18 traductori senzori aflati in contact permanent cu furnirul, un procesor, un explorator optic si un regulator digital.

Principiul de functionare - proprietatile materialelor higroscopice (furnirul) de a-si schimba conductibilitatea electrica in functie de umiditate. Detectorul masoara permanent umiditatea furnirului uscat si marcheaza foile prea uscate sau prea umede cu o abatere de fata de umiditatea stabilita.

Simultan, detectorul transmite valorile masurate calculatorului care prin comparatie cu o valoarea standard regleaza viteaza de avans.

Calculatorul mai indica viteza de avans, umiditatea finala a furnirului, cantitatile de furnir uscate, suprafata cumulata a furnirului cu umiditate prea mare.

13. Tehnologia prelucrarii furnirelor uscate

Sectionarea si sortarea furnirelor uscate

Prin manipulari repetate, in timpul procesului de uscare furnirelor se fisureaza sau se rup - pentru eliminarea acestor defecte, este necesara o noua sectionare in stare uscata.

Utilajul foarfecii electromagnetice, actionate prin sistem biela-manivela; in urma sectionarii, furnirele se sorteaza dupa:

o       Specie

o       Grosime

o       Format

foi intregi    fasii

sensul fibrei

longitudinal transversal

calitate

cu defecte fara defecte

se repara nu se repara

aspect

Cu desene remarcabile fara desene remarcabile

culoare

culori inchise culori deschise

latime

inguste foarte inguste

Liniile de sortare mecanice sau vacumnatice sunt pentru evitarea deteriorarilor in timpul manipularilor

Prelucrarea furnirelor cu defecte

Procesul de prelucrare a furnirelor (foi intregi si fasii) cu defecte consta in urmatoarele operatii.

repararea furnirelor care prezinta crapaturi pe margini

repararea furnirelor care cuprind defecte pe suprafata (noduri, urme de tapina etc.) care a suprafata mica si nu au fost eliminate prin sectionare

Furnirele care cuprind defecte de suprafata se repara prin stantarea defectului si inlocuirea sa cu un petic decupat din furnirul fara defecte.

Prelucrarea furnirelor subdimensionate

Tehnologii - imbinarea fasiilor pe canturile longitudinale

- imbinarea fasiilor pe canturile transversale .....

Indregitarea canturilor - se realizeaza cu masini de frezat furnire in pachete, foarfeci ghilotina sau masini de frezat furnire foaie cu foaie.

Imbinarea furnirelor pe cantul longitudinal - fir fuzibil

- adeziv pe cant - incheierea directa a canturilor - adezivi vinilici (Avacet)

Innadirea furnirelor - pentru realizarea furnirelor subdimensionate longitudinal

Pentru pregatirea furnirelor in vederea asamblarii - este necesara presarea lor in prese cu platane inguste, cu latimea de 80-100 mm.

Sortimente de furnir obtinute dupa uscare

Foi intregi 40% - foi ce nu necesita reparatii 25%

foi ce necesita reparatii cu pene 50%

foi ce necesita reparatii la masina de scos noduri 20%

foi ce necesita reparatii prin stantare manuala 5%

Furnir uscat 100%

Fasii 60% - fasii ce se taie la foarfeci, apoi se frezeaza pe cant 80%

- fasii ce se frezeaza pe cant fara sa se taie la foarfeci 20%

14. Proprietatile placajelor, principii de rezistenta

Scopul urmarit - omogenizarea rezistentei lemnului, in diferite directii pentru a mari gama utilizarilor sale prin imbinarea artificiala a straturilor subtiri de lemn se obtine un material care poseda proprietatile superioare lemnului natural.

Principiul de baza la alcatuirea placajului este cel al simetriei.

De fiecare parte a planului central al simetriei trebuie sa existe acelasi numar de straturi dispuse cu fibrele in aceeasi directie si echidistant, astfel ca planul central de simetrie sa coincida cu planul de simetrie al furnirului din mijloc, rezulta un numar impar de straturi.

Daca axa centrala se simetrie este intre foi, atunci fetele vor avea fibrele in diferite directii iar in planului incheierii vor exista tensiuni tangentiale maxime.

Straturile trebuie sa fie simetrice, fabricate din lemn de aceeasi grosime, umiditate, directie a fibrelor, debitate prin acelasi procedeu.

Proprietatile placajelor

Factori de influenta specia si grosimea furnirelor componente

numarul straturilor de furnir

unghiul dintre directia fibrelor stratificate suprapuse

calitatea si natura adezivului

parametrii regimului de presare

1). Densitatea placajelor

- este mai mare decat a lemnului masiv

- determinata - de specia lemnului

- structura placajului

- gradul de comprimare

2). Higroscopicitatea placajului

Este putin inferioara lemnului masiv datorita prezentei adezivilor

Umiditatea de echilibru higroscopic al placajului depinde de umiditatea relativa si temperatura aerului, umiditatea maxima a placajului la livrare este de 12%.

Absorbtia de apa a placajului scade odata cu cresterea numarului de straturi la aceeasi grosime a placajului.

Exemplu: - furnirul imersat in apa 200 ore absoarbe 130%

- placajul 3 straturi absoarbe 92%

placajul 5 straturi la aceeasi grosime absoarbe 67%

Capacitatea de absorbtie a apei este un indice important pentru materialele de constructii depinde de alegerea optima a grosimii furnirelor, a adezivilor si a regimurilor de incheiere.

3). Contragerea si umflarea placajelor - este cauza aparitiei fisurilor si deformatiilor si se datoreaza proprietatilor fibrelor de lemn de a-si schimba neuniform dimensiunile in sensul longitudinal si transversal sub actiunea umiditatii.

Contragerea totala a placajelor este cuprinsa intre 0,2 si1% in lungul fibrelor si transversal pe fibre intre 0,3 si 1,2%.

In comparatie cu volumul lemnului masiv, contragerea longitudinala este de doua ori mai mare, iar cea transversala este de 10 ori mai mica.

4). Proprietatile termice - caldura specifica - apropiate

- conductivitatea termica de cele ale lemnului masiv.

Explicatie - comprimarea si umplerea fisurilor cu adeziv mareste coeficientul de transmisie a caldurii.

In comparatie cu lemnul masiv placajul ofera conditii mai bune de izolare termica; prezinta o stabilitate dimensionala mai mare la variatia umiditatii si temperaturii si reducerea numarului de imbinari.

Exemplu - in cazul unei case construita din placaj - se economiseste 30% din energia termica fata de construirea aceleasi case, dar din cherestea.

5). Proprietati acustice - capacitatea de izolare si absorbtie fonica sunt superioare lemnului masiv.

Placajul este materialul ideal pentru izolarea peretilor - sunetul incident il face sa vibreze ca o membrana - de aceea placajul se monteaza pe sipci departate de perete - placajul subtire intra mai repede in rezonanta, diminueaza mai repede energia sonora. Formatele mici de placaj absorb mai bine energia sonora decat formatele mari.

6). Rezistenta placajelor la tractiune - depinde de unghiul dintre directia fortei si a fibrei straturilor de fata.

In cazul maririi numarului de straturi placajul devine izotrop din punct de vedere al rezistentei la tractiune.

Raportul dintre rezistenta la tractiune si densitatea materialului - are valori superioare otelului si aliajelor de aluminiu.

De aceea produsele stratificate sunt ideale in constructia avioanelor usoare, a planoarelor.

7. Rezistenta placajelor la incovoiere - depinde de directia fibrelor si se uniformizeaza odata cu marirea numarului de straturi.

Pentru lemnul masiv raportul dintre rigiditatea placajului in sens longitudinal si transversal este de 24 iar pe masura maririi numarului de straturi raportul rigiditatii finale catre unu.

8). Rezistenta placajelor la compresiune - este mai mica decat a lemnului masiv.

9). Rezistenta la smulgerea cuielor - perpendicular pe suprafata are o valoare medie de 45-50 daN/cm2, iar la smulgerea suruburilor de 13-15 daN/cm2.

Tipuri de placaje

Placaje pentru lucrari de interior

- placaje fag patru clase de calitate A, B, C, D

Formate de placaje 2000x1250

- placaje rasinoase - trei clase de calitate I, II, III

Placaje pentru lucrari de exterior

tipul A - fetele acoperite cu rasini .....

tipul B - fetele acoperite cu alte pelicule de protectie (hidrofuge, fungicide, ingnifuge etc.)

Placaje pentru vagoane de marfa acoperite

doua clase de calitate I si II, fete protejate cu hartie impregnate cu rasini fenolice (Tegotex)

grosimi 15, 25 mm

constituite din 9 respectiv 15 straturi.

15. Sortarea, controlul si asamblarea furnirelor inainte de incheiere

Sortarea si controlul furnirelor, asamblarea furnirelor

Dupa destinatie, furnirele se sorteaza in trei categorii:

furnire de fata

furnire pentru dosul placajului

furnire de miez

Pentru fabricarea unei anumite clase de placaj, se aleg straturile exterioare si se aseaza pereche in stive

Separat se stivuiesc straturile de miez corespunzatoare clasei de placaj ce urmeaza a se fabrica

La sortare se controleaza defectele de structura (noduri, putregai etc.) si defectele de prelucrare.

Conditii de calitate pentru furnir:

sa fie neted

fara smulgeri de fibre

fara crapaturi deschise

grosimea si umiditatea uniforma

umiditatea prescrisa in stare uscata in concordanta cu adezivul folosit

foile imbinate, compuse din fasii de aceeasi grosime, culoare, aceleasi defecte, umiditate

respectarea latimii fasiilor in functie de calitate.

Elaborarea monogramelor pentru determinarea grosimii furnirului uscat.

In practica, pentru simplificarea tehnologiei, grosimile furnirelor uscate se aleg in functie de grosimea placajului dupa tabele.

Incheierea furnirelor

Asamblarea foilor de furnir pentru fabricarea placajului se face cu adezivi corespunzatori.

Rezistenta incheierii este conditionata de doi factori:

coeziune - rezistenta peliculei de adeziv sau a furnirului.

adeziune - rezistenta legaturilor dintre adeziv si furnir

Materialele de incheiere sunt: - adezivi

o       intaritori

o       ingrediente

Adezivii - naturali - cazeina, albunina, proteine vegetale, mat. Tanante

- sintetici - rasini, termoreactive (rezoli) care dupa intarire formeaza molecule tridimensionale, ireversibile (rasini ureoformaldehidice, fenolformaldehidice, poliesterice, epoxidice).

- micsti - dialdehida cu amidon si proteine din sange.

Dupa starea de agregare adezivii pot fi in: - solutie

- sub forma de film

- pulverulenti

Cei mai utilizati adezivi sunt - rasinile ureoformaldehidice

o       rasinile fenolformaldehidice

Tipul rasinii se alege in functie de domeniul de utilizare al placajelor (tipul de incheiere respectiv).

Rasinile sintetice pot fi utilizate si in amestec; pentru marirea stabilitatii termice se adauga rasini epoxidice - pentru marirea rezistentei mecanice si imbunatatirea comportarii in mediu umed se folosesc amestecuri de rasini melaminice si fenolice

Incheieri de interior - adezivi ureoformaldehidici, urelit C si P

Incheieri de exterior - rasini fenolice - in solutie (FENOPLAC)

- film (TEGOTEX)

Film TEGOTEX - Tegofilmul - film adeziv realizat prin impregnarea cu rasina fenolica a unei fartii sulfat, cu cenusa putina si capacitate mare de absorbtie - greutatea specifica 70-75 g/m2 in care 50 g/m2 este rasina fenolica in stadiul rezol-rezitol.

- Tegotex - un film similar, greutatea specifica 350 g/m2; din care 180 g/m2 este rasina fenolica.

Avantajele utilizarii adezive:

- realizarea unor incheieri cu rezistente mecanice superioare cu consum minim de rasina.

- evitarea penetratiei adezivului prin furnirele fata

- simplificarea tehnologiei.

Intaritorii - catalizatori pe baza de saruri acide - reduc durata de formare a adezivului

- faciliteaza formarea moleculelor tridimensionale

- reactioneaza cu formaldehida libera din adeziv si cu cea eliberata in cursul reactiei de condensare finala.

Ingredientii - subs. de umplere si plastifiere

pentru rasinele ureoformaldehidice - faina de cereale

o       praf de creta, faina de lemn etc.

Solutia adeziva - se pregateste in malaxor - la temperatura apei de 400C.

Intai se amesteca faina si apa si separat intaritorul si apa apoi se adauga adezivul, se continua malaxare, apoi se adauga intaritorul gata dizolvat iar dupa o noua malaxare se poate utiliza solutia adeziva.

16. Aplicarea adezivilor, parametri de incleiere

Caracteristicile solutiilor adezive si ale furnirelor influenteaza asupra rezistentei incleierii dupa cum urmeaza:

1). Continutul de rasina uscata - influenteaza direct proportional asupra rezistentei incleierii la forfecare

2). Consumul de solutie adeziva - marirea rezistentei incleierii pana la o valoare optima - in functie de timpul adezivului si calitatea suprafetei dupa care odata cu cresterea consumului de adeziv rezistenta scade.

Cu cresterea consumului de adeziv creste si grosimea peliculei rezistenta incleierii cu adezivi fenolformadehidice este afectata intr-o masura mai mica decat incleierea cu adezivi ureoformaldehidice.

Explicatie - peliculele din rasini ureoformaldehidice sufera contractii mai mari, tensiunile aparute determina fisurarea peliculei sau desprinderea de lemn, adica ruperi de coeziune si ruperi de adeziune.

Corelarea consumului de solutie adeziva si calitatea furnirelor

- daca furnirele sunt: - fisurate

- cu grosime de fibre

- cu grosime neuniforma

- cu rugozitate mare.

Este necesar un consum mai mare de adeziv.

Chiar daca consumurile sunt mai mari rezistentele sunt mai mici decat in conditiile unui consum mic de adeziv si furnire de calitate superioara.

Consumul specific - rasini ureo-formaldehidice - g/m3

- rasini fenolice - g/m3.

Vascozitatea solutiei adezive - influenteaza asupta uniformitatii aplicarii pe suprafata furnirului (uniformitatea rezistentei incleierii).

Solutiile vascoase conduc la marirea rezistentei incleierii insa se aplica neuniform.

Solutiile cu fluiditate mare - moleculele de rasina difuzeaza in lemn parasind stratul de incleiere si rezistenta scade; adezivul poate penetra prin furnirele fata, cauzand patarea acestora.

4). Proportia intaritorului si ingredientilor in solutia adeziva influenteaza diferit asupra rezistentei incleierii.

5). Umiditatea lemnului - influenteaza in mare masura rezistenta incleierii.

Valorile maxime ale rezistentei - umiditatea furnirelor 4-6%.

Prin aplicarea solutiei adezive furnirelor isi maresc umiditatea proportional cu continutul de apa al amestecului adeziv.

Corelatia dintre umiditatea initiala si proportia de apa a solutiei adezive se stabileste prin monograme ca rezultat al unor experimente.

Umiditatile admise pentru furnire:

- pentru solutii adezive ureo-formaldehidice:

- furnire de miez 6%

- furnire de fata 8%

- pentru adezivi sub forma de film umiditatea furnirelor este de 10-12%.

6). Durabilitatea imbinarii - depinde de tipul adezivului si de temperatura de intarire.

Aplicarea adezivului - solutiile adezive se pot aplica cu masini cu cilindri, prin turnare, extindere sau pulverizare.

1). La masinile de aplicat adezivi cu cilindri, acestia au caneluri de diferite dimensiuni.

Reglarea nivelului adezivului se face prin sisteme automate de reglare.

2). Masinile de turnat adezivi pot lucra cu solutii avand vascozitatea cuprinsa intre 500 si 10.000 Cp.

3). Masinile de aplicat adezivi prin extindere - se aplica pe o singura fata a furnirului, iar directia fibrelor poate fi paralela sau perpendiculara.

4). Filmele adeziv pot fi aplicate manual sau mecanic.

Schema hidraulica a masinii    Aplicarea adezivului prin extindere

de aplicat adeziv prin turnare

1 - rezervor cu solutie adeziva 1 - cap de extrudare

2 - filtru 2 - duze

3 - pompa 3 - benzi de adeziv

4 - electromotor    4 - furnir

5 - ventile si filtru    5 - transportor

6 - cap de turnare

7 - jgheab colector

17. Presarea furnirelor pentru placaje

Parametrii de presare

Presarea poate fi: - la rece

- la cald

1). Presarea la rece - -8-200C

Durata de presare nu este in functie de grosimea pachetului de furnire, depinde de caracteristicile adezivului.

Umiditatea placajului depinde de:

umiditatea initiala a furnirului

concentratia solutiei adezive

Particularitati - de multe ori concentratia este mai mare decat cea admisa, necesitand o uscare suplimentara a placajului dupa o depozitare de cateva saptamani.

- dezavantaje - productivitatea scazuta.

2). Presarea la cald - cu furnire uscate sau umede

a). furnire uscate - presate la cald - se obtin placaje de calitate superioara - cu indici de rezistenta a incleierii maxime.

b). furnire umede - avantaje - eliminarea unor operatii energo intensive din tehnologia placajelor (uscarea furnirelor).

- dezavantaje - placajele presate prezinta tensiuni mari, datorita contragerii furnirelor in stare incleiata.

- pierderile prin comprimare sunt maxime.

Anihilarea dezavantajelor - acoperirea fetelor placajului cu hartie impregnata

- costuri ridicate ale adezivului

Regimul de presare al furnirelor pentru placaje

temperatura

durata de presare

presiunea dintre platane

1). Temperatura de presare

- in functie de natura adezivului folosit

- adezivi ureoformaldehidici - temperatura de 110-1200C

- depasirea temperaturilor - pelicula devine spongioasa cu coeziune redusa.

- adezivi fenolformaldehidici - temperatura de 130-1600C

- depasirea temperaturii - creste rezistenta incleierii la forfecare

Diferentele optime de temperatura dintre platan si pachetul de furnire se stabileste experimental - prin tabele si nomograme.

2). Durata de presare - in functie de - timpul necesar ca in stratul de adeziv cel mai indepartat de platan sa se atinga temperatura necesara policondensarii

unde:

- temperatura de policondensare a solutiilor adezive la temperatura de presare

- temperatura de incalzire a placilor de protectie din aluminiu

Timpul de incalzire se mai poate calcula in functie de:

grosimea pachetului supus presarii

coeficientul de difuzibilitate termica transversala

temperatura pe care dorim sa o obtinem in stratul adeziv

temperatura platanului

temperatura initiala a pachetului de furnire

distanta dintre stratul cercetat si planul de simetrie al pachetului

Timpul de policondensare - depinde de tipul rasinii

Procesul intaririi rasinilor adezive poate fi divizat in trei etape

Etapa I - marirea gradului de condensare fara a se forma legaturi adezive

Etapa II - rasina trece in stadiul rezitol si rezit si se formeaza legaturi adezive.

Etapa III - stabilizarea legaturilor

Durata etapelor depinde de :

caracteristicile adezivului

dozajul intaritorului

timpul scurs de la pregatirea solutiilor

temperatura la care are loc procesul

Pentru reducerea duratei de presare se actioneaza pe urmatoarele directii:

utilizarea unor adezivi cu reactivitate marita

alegerea unui intaritor rapid

reducerea materialului de diluare si umplutura

marirea temperaturii de presare

preincalzirea furnirelor

presarea la rece a pachetelor de furnir

alegerea unor structuri optime ale placajelor

3). Presiunea - necesara pentru apropierea suprafetelor de incleiere la distante la care se manifesta fortele de legatura depinde de:

- specia lemnului

- densitatea lemnului

- tipul adezivului

Odata cu marirea presiunii, proprietatile mecanice ale placajelor se imbunatatesc, insa creste densitatea si pierderea in volum prin comprimare.

Comprimarea depinde de:

presiune

umiditatea lemnului

temperatura lemnului

manifestarea deformatiilor remanente prin presare

Marimea presiunii si viteza ei de aplicare si reducere se coreleaza cu:

temperatura si viteza de incalzire a platanelor si a materialului presat

timpul de policondensare

structura placajului

Marirea brusca a presiunii in conditiile vitezei reduse de incalzire determina deplasarea adezivului din stratul de incleiere si faciliteaza patrunderea sa prin furnirele de fata, rezultand incleiere slaba, penetrarea adezivului in furnir.

Presiunea de regim trebuie atinsa inainte de policondensarea adezivului.

La expirarea duratei de presare - presiunea se reduce brusc umiditatea existenta in pachetul de furnire sub forma de apa supraincalzita (presiune si temperaturi mari) se transforma brusc in vapori, determinand dezlipirea furnirelor, umflaturi si chiar ruperi de furnir.

Fenomenul este mai vizibil la placajele cu multe straturi cu un continut mare de apa.

Evitarea fenomenului - reducerea presiunii sa se faca in trepte.

Presarea - in practica - se face dupa nomograme si tabele.


In prima etapa de reducere a presiunii de la presiunea de regim pr la presiunea ps a carei valoare este putin mai mare decat presiunea apei supraincalzite, corespunzatoare temperaturii de presare, presiune ce se reduce in timp scurt

Apoi pana la valoarea presiunii atmosferice, reducerea trebuie sa se faca lent, in perioada pentru a permite evacuarea treptata a vaporilor formati.

Timpul de evacuare a vaporilor este mai lent decat timpul de reducere a presiunii.

18. Instalatii pentru formarea si presarea pachetelor de furnir pentru placaje

I. Formarea parchetelor de furnire

- se face cu grade diferite de mecanizare - pe pozitie

- sau pe transportor

Se asigura - principiul de simetrie

- asezarea foilor sa fie precisa

- consum minim de manopera

- productivitate mare

Pentru alimentarea manuala a preselor multietajata - formarea pachetelor se face intre placi de protectie din aluminiu care asigura rigiditatea necesara si nu permite deplasarea relativa a furnirelor in timpul manipularii.

Dezavantajele utilizarii placilor de protectie:

consum suplimentar de energie pentru incalzirea si racirea lor

instalatie speciala pentru racirea placilor

consum suplimentar de manopera pentru manipularea

prelungirea duratei de presare.

Formarea mecanizata a pachetelor de furnire - instalatii

Din stiva de furnire, furnirele de miez trec prin masina de aplicat adeziv cu cilindri, sincronizat cu deplasarea furnirelor de miez sunt deplasate furnirele de fata si dos din stivele aferente, rezultand suprapunerea furnirelor care este realizata cu un transportor dublu care le transfera in presa cu banda.

Formarea pachetelor de furnire cu transportoare vacumnatice.

Formarea pachetelor de furnire cu aplicarea adezivului prin extrudare cu capul de extrudare mobil, de aici rezulta faptul ca se pot realiza 250 pachete pe ora pentru placaje din trei straturi cu dimensiunile 1525x1525x4 mm.

II. Instalatii pentru presarea pachetelor de furnire

Pentru presarea placajelor - prese cu functionare - discontinua

- continua

Prese multietajate cu cadru - 15 si 30 de etaje

- 70 de etaje

Pentru incalzirea platanelor - apa supraincalzita.

Pentru reducerea pierderilor prin comprimare la presarea placajelor este necesara utilizarea preselor cu platane elastice, care sa se muleze pe suprafata furnirului cu grosime neuniforma, realizand o distributie uniforma a presiunii indiferent de grosime.

Presiunea necesara apropierii furnirelor - 0,4 - 0,5 MN/m2 in loc de 1,8 - 2,2 MN/m2.

Ca urmare comprimarea scade de la 8-10% la 3-5%.

Principiul de functionare - presa se inchide cu ajutorul unui cilindru hidraulic, apoi se blocheaza cu penele actionate de niste cilindri. Presiunea necesara se realizeaza prin introducerea apei supraincalzite in platanele cu diafragma numai dupa inchiderea presei. Concomitent incepe procesul incalzirii pachetului presat.

Se realizeaza - economii de energie, presiunea apei supraincalzite se va utiliza numai pentru presarea furnirelor.

19. Linii pentru formarea si presarea placajelor

Alcatuirea liniilor de formare si presare a placajelor se poate rezolva prin diverse variante, in functie de tehnologia si utilajele adoptate.

Presarea placajelor fara table de protectie din aluminiu

Alimentarea preselor se face cu sistem tablet - formarea pachetelor de furnire se face pe un transportor de unde pachetul de furnire este impins intr-un cos de alimentare, de unde de pe polita cosului de alimentare pachetele trec pe platanele presei de unde prin traversele solidare cu placa de fund sunt impinse in cosul de evacuare.

Din cosul de evacuare, placajele sunt preluate de dispozitive de transport si de stivuire cu role pe liftul care le transporta mai departe.

Presele utilizate trebuie sa aiba distanta dintre platforma majorata, iar alimentarea si inchiderea presei se face astfel incat se sa evite deplasarea furnirelor.

Pentru marirea capacitatii de productie a presei calde - tehnologia de presare prealabila la rece a pachetelor de furnir astfel incat acestea se consolideaza si se rigidizeaza permitand deplasarea cu viteze mari, alimentarea mai usoara si reducerea timpului de inchidere a presei.

Presarea prealabila la rece:

Timpul de aplicare a adezivului pe furnire pana la presarea la rece intre 6-12 min. adezivi vreo 5-25 min. pentru adezivi fenol.

Scurtarea timpului - determina eliminarea adezivului din planul incleierii in momentul aplicarii presiunii.

Timpul de presare la rece - 8-10 min. adezivi ureo.

- 15 min. adezivi fenol

Timpul dintre presarea la rece si presarea la cald - intre 5-60 min.

Valoarea presiunii aplicata la presarea la rece, in functie de grosimea furnirelor este intre 1,0 si 1,4 MN/m2.

Pentru aplicarea presarii la rece sunt necesare urmatoarele conditii:

- umiditatea furnirelor 6-8%

- vascozitatea solutiei adezive 2000-6000 CP

Pentru adezivi ureo.

Iar pentru adezivi fenol:

umiditatea furnirelor 3-5%

vascozitatea solutiei adezive 11000 CP.

Durata presarii la rece este de doua ori mai mare decat ciclul de presare la cald, numarul pachetelor de furnir presate simultan la rece este egal cu dublul numarului de etaje al presei calde.

20. Finisarea placajelor. Tehnologia placajelor speciale

I. Finisarea placajelor

In urma presarii la cald - placajele acumuleaza o cantitate de caldura care contribuie la marirea gradului de policondensare a rasinii si marirea rezistentei imbinarii mai ales in mediul umed.

- reducerea accentuata si neuniforma a umiditatii furnirelor.

Pentru uniformizarea umiditatii furnirelor - si atenuarea tensiunilor interne este necesara stivuirea stransa a placajelor si conditionarea prin racire, lenta timp de 8-24 ore.

1). Conditionarea placajelor poate avea loc si pe conveiere verticale sau orizontale, cu conditia sa fie mentinute in stare plana.

2). Formatizarea placajelor - indreptarea canturilor

- masinile de formatizat trebuie sa asigure o calitate superioara a taierii (fara smulgeri sau arderi)

- sa asigure rectilinitatea si perpendicularitatea canturilor.

Utilaje - masini de formatizat cu trei sau patru discuri, care lucreaza prin trecere sau pe pozitie.

Scule - panze circulare cu placute dure.

- panze circulare acoperite cu teflon - reduce costurile de energie cu 20-30% si mareste durata dintre doua ascutiri cu 50%.

3). Reparatii - defectele se repara prin operatii ca: raschetari, frezari, chituiri etc.

4). Slefuirea - masini de slefuit cu cilindri sau cu banda lata.

- cilindri de slefuire au o miscare compusa, rezultata din miscarea in jurul axei de rotatie si o miscare axiala pentru evitarea rizurilor.

- granulatii - primul cilindru - granulatia de 30

- - al doilea cilindru - granulatia de 60

- ultimul cilindru - granulatia 80-100

- calitatea suprafetei - variaza in functie de - turatia cilindrica

- de granulatia hartiei

- de viteza de avans m/min.

Fluxul tehnologic la slefuire - doua masini de slefuit, una cu cilindri la partea superioara, cealalta cu cilindri la partea inferioara.

Pentru marirea capacitatii de slefuire si imbunatatirea calitatii se utilizeaza masini de slefuit cu banda lata cu contact de jos si de sus, cu viteza de avans cuprinsa intre m/min.

- linii tehnologice - de formatizare, slefuire si sortare

- liniile de sotare pot fi automatizate, incluzand instalatii pentru radiografiere incheierii placajelor pentru detectarea incheierilor deficitare pungilor de aer.

II. Tehnologia placajelor speciale

Placaje pentru structuri de constructii industriale si case prefabricate, ambarcatiuni si constructii navale (8-30 mm) - protectie ignifuga, la umiditate.

Placaje decorative naturale sau innobilate prin imprimare, texturare, pulverizare, sablare, stampare, lacuire - aspect estetic.

Placaje innobilate - folosite ca suport pentru aplicare de microfurnire, furnire estetice, folii si filme sintetice, folii metalice, tesaturi textile sau fibra de sticla, rasini sintetice - starea suprafetei, rugozitate, duritatea, unifor. grosi.

Placaje cu structuri combinate din lemn si alte materiale - miez cu fibre de sticla, azbest, folii metalice, aschii din lemn, constructii civile si industriale.

Placaje mulate - presate in matrite si patrite - modulul de rezistenta mare si sunt utilizate la fabricarea: referelor de mobila sau in constructii ca element de rezistenta.

Diversificarea - armonizarea - cerinte

materii prime

investitiile necesare asimilarii.

Definitia - tehnica placajelor speciale - regimul de aplicare a unor operatii si tratamente suplimentare.

Ignifugarea placajelor - metoda impregnarii furnirelor prin imersie in solutii de fosfat de amoniu si compusi ai borului sau prin vopsire cu vopsele ignifuge cu silicati sau paste superfosfatice - substante ignifuge - saruri solubile in apa - placajul ignifugat trebuie ferit de umiditate.

Antiseptizarea placajelor - tratamente de aplicare prin ungere sau pulverizare a unor solutii pe baza de fluorura de sodiu, sulfat de cupru.

Colorarea placajelor - impregnarea sub presiune a furnirelor de fata sa prin vopsire cu coloranti azoici sau pe baza de anilina.

Pentru acoperirea cu filme de hartie impregnate cu rasini sintetice, se utilizeaza numai placaje de calitate superioara (A/B si B/C), pentru melaminare, placajele sunt acoperite cu filme decorative si de protectie pe o fata si cu filme de echilibrare pe cealalta.

Presarea se face intre matrita cu suprafata polizata, la temperaturi de 130-1350C si presiunea de MN/m2, iar pentru detensionare, racirea pana la 1500C are loc in presa.

Emailarea - placaje superioare de calitate bine slefuite pe ambele fete. Grundurile si emailurile se aplica in instalatiile de grunduit, pulverizat si uscat, consumul de grund si email - 500 g/m2.

- la producerea placajelor decorative cu o fata acoperita cu un furnir estetic este necesara aplicarea, pe cealalta fata a unui furnir de echilibrare.

Placajul combinat cu miez de aschii

- valorifica superior resturile de lemn masiv si furnire, obtinandu-se un randament de 75%

- grosimea furnirelor utilizate nu trebuie sa depaseasca 1/8 din grosimea placii deoarece rezistenta la incovoiere a placii mixte nu creste sensibil odata cu cresterea grosimii furnirului

Descrierea tehnologiei - presarea aschiilor incheiate se face peste furnirul de dos caruia i s-a aplicat adeziv pe suprafata interioara si apoi acoperirea cu furnirul de fata la care s-a aplicat adeziv de asemenea pe suprafata interioara, presarea efectuandu-se simultan.

- cheltuielile de fabricatie nu depasesc 70% din cele pentru producerea placajului.

21. Panelul

Proprietati caracteristice, domenii de utilizare.

Pregatirea si uscarea, parametri de uscare

Definitie - panelele sunt placi din lemn formate dintr-un miez de sipci sau miez bloc, acoperite pe ambele fete cu cate un strat de furnir de baza incleiat asezat cu fibrele perpendicular pe directia fibrelor miezului.

Obiectiv - necesitatea obtinerii unor placi de lemn de dimensiuni mari, solide plane si cu forma stabila, necesare confectionarii diferitelor elemente de mobila care inlocuiesc elementele fabricate de scanduri masive mari supuse deformarilor.

Avantajele utilizarii panelelor:

obtinerea unor suprafete mari, continue, in constructia mobilei;

simplificarea tehnologiei de fabricatie, cu posibilitatea mecanizarii operatiei;

reducerea greutatii produselor;

economie de material lemnos valoros;

utilizarea deseurilor de cherestea in constructia mobilei.

Standardizarea panelelor

a). calitatea defectelor furnirelor de baza

Fata panelului    A A B

Dosul panelului A B C

b). specia lemnului straturilor exterioare tei, plop, amin, fag.

c). Directia fibrelor straturilor exterioare - panele longitudinale

- panele transversale

Notarea panelului - se face prin indicarea speciei, clasei placilor, grosimii si formatului; la indicarea formatului se trece intai dimensiunea masurata in directia fibrelor straturilor exterioare.

Panelele au forma paralelipipedica cu urmatoarele dimensiuni:

60x1700, 1000x1500, 1000x2000, 1250x2000.

Panelele vor avea canturile tivite drept, cu taiere neteda.

La cerere panelele vor fi livrate neslefuite sau slefuite numai pe o singura fata cu conditia de a fi reparate.

Miezul - panelelor va fi format din sipci de lemn de rasinoase sau de foioase moi.

- la aceeasi placa de panel, miezul va fi construit din sipci provenite dintr-o singura specie de lemn.

- sipcile vor avea latimea de maximum 25 mm si muchiile drepte pentru a permite alaturarea stransa a acestora atat in latime cat si in lungimea miezului.

- furnirele de baza vor fi de aceeasi specie si vor avea aceeasi grosime pentru fata si dosul panelului

- abaterea limita la grosimea panelului va fi ; grosimile furnirului 3-4 mm.

- pentru incheierea panelului se vor folosi numai adezivi sintetici.

- miezul panelului va fi executat din sipci neincleiate intre ele pe suprafetele lor de control, ori din sipci partial sau total incleiate intre ele pe suprafetele lor de control.

- in toate cazurile, sipcile miezului trebuie sa fie alaturate strans una de alta, fetele de contact fiind ..

- sipcile vor fi astfel asezate, incat conturul inelelor anuale sa faca un unghi de 45-900 cu planul straturilor exterioare.

- imbinarea sipcilor cap la cap este admisa cu conditia ca planurile de imbinare al sipcilor sa fie amplasate alternativ, la o distanta de minim 250 mm; la marginea placii, imbinarea sipcilor cap la cap se face numai in lamba si uluc.

- straturile exterioare de furnir de baza trebuie executate din foi intregi.

- furnirele de baza vor fi bine incleiate pe intreaga suprafata a miezului, nu se admit pungi de aer provocate de lipsa cleiului sau de un regim de incleiere necorespunzator.

- rezistenta incleierii de desprindere prin forfecare minimum 10 daN/cm2.

- umiditatea panelului in momentul livrarii < 10%.

Constructia panelului

Pentru stabilitatea dimensionala a panelului - sensul fibrelor unui strat de lemn fata de celalalt sa fie perpendicular, iar grosimea straturilor de furnir si grosimea miezului sa se gaseasca intr-un anumit raport.

- grosimea furnirelor de 0,3-0,4, grosimea miezului de 0,7-0,6, din grosimea totala a panelului sunt cele mai stabile si au rezistentele cele mai apropiate la incovoierea paralela si perpendiculara pe directia fibrelor straturilor exterioare.

- stabilitatea si uniformitatea proprietatilor, rezulta fetele si miezurile care sunt confectionate din aceeasi specie.

Conditii de fabricare - fetele panelului se executa din furnire de aceeasi grosime, umiditate si debitate prin acelasi procedee, astfel rezultand deformari, contrageri si umflari neuniforme; apar eforturi de forfecare in planul de incleiere.

- miezul panelului va fi executat din sipci avand umiditatea uniforma mai mica de 10%.

- sipcile de miez sa fie cat mai inguste si astfel asezate, incat orientarea inelelor anuale ale acestora sa reduca la minimum deformatiile neegale ale lemnului in sens radial si tangential, obtinandu-se un panou drept si cu suprafata neteda - latimea sipcilor maximum 25 mm.

- fabricarea furnirelor pentru panele - blindul: tei, plop, anin, fag.

- specii moi, cu lemn uniform si contrageri mici.

- la debitarea furnirelor - regim de tratare termica

- parametri taierii, acestea trebuind sa fie respectate strict.

- furnirul fiind gros 3-4 mm - apar defecte ca: furnir aspru si cu multe crapaturi.

Fabricarea miezurilor

1). Pregatirea si uscarea, parametri de uscare

- materia prima - rasinoase si foioase moi

- molid, brad, pin

- plop negru, tei, mesteacan, salcie, anin.

- panele stabile si plane - miez - lemn de calitatea superioara

- lemn de calitate inferioara cu eliminarea defectelor.

- uscarea - materialul sectionat - se usuca in aer la o umiditate de pana la 18-22%.

- apoi in camere de uscare cu circulatie fortata a aerului - umiditatea finala - 8-10%.

- uscarea uniforma a materialului sectionat.

2). Sectionarea materialului

-la o lungime corespunzatoare a materialului sectionat placilor produse dar nu mai mici de 1 m

- supradimensiune de 70 mm cu toleranta de mm.

22. Rindeluirea cherestelei, debitarea cherestelei

Procedee de fabricare a panourilor, sortarea si alcatuirea pachetelor, presarea pachetelor

Dupa uscare, scandurile pentru sipci sunt transportate la masinile de rindeluit pe doua fete, unde se executa rindeluirea acestora la grosimea necesara miezurilor cu o toleranta de mm.

Scandurile sunt transportate la masinile de debitat sipci (ferastrau circular polidisc) prevazute cu pana la 20 de panze geluitoare cu dinti marunti care asigura o taiere fina a sipcilor.

Panzele acestor circulare sunt asezate echidistant, separate cu inele calibrate, la intervale corespunzand riguros grosimii miezului.

La stabilirea acestei distante se iau in considerare: specia furnirului de baza, gradul de compresibilitate a acestuia, presiunea specifica aplicata si toleranta admisa.

Masinile de debitat sipci pot lucra cuplate cu masini de rindeluit pe una sau doua fete.

Dupa debitare are loc sortarea:

sipci intregi fara defecte

sipci cu defecte sau sipci scurte

Sipcile intregi fara defecte sunt preluate direct de la masa de sortare, iar sipcile cu defecte sau scurte sunt preluate pentru a se elimina defectele prin sortare si eventual .. pe lung.

Sectionarea sipcilor cu defecte se executa la un ferestrau circular cu diametrul panzei redus.

Asamblarea sipcilor pentru miezuri

Sipcile pentru miezuri de panul se asambleaza inainte de aplicarea furnirelor, astfel:

miez de sipci neincleiate asamblate manual cu sipci sau cu banda de

miez de sipci neincleiate asamblate mecanic cu sfoara

miez de sipci neincleiate asamblate manual cu sfoara

miez de sipci neincleiate asamblate mecanic cu agrafe

miez de sipci incleiate total sau punctiform asamblate mecanic.

Punctele 1 si 3 - procedeul mestesugaresc de confectionare a miezurilor din panel

inele anuale sa fie asezate vertical

sipcile intregi la marginea miezului

sipcile asezate cap la cap sa fie plasate alternativ la o distanta de minim 250 mm.

miezul este strans lateral cu un dispozitiv cu excentrie, se reteaza apoi sipcile de depasesc lungimea miezului, dupa care capetele miezului se fixeaza cu 2-3 cuie o sipca de lemn sau cu o banda de placaj.

- pentru constructia fixata cu sfoara se executa un uluc pentru prinderea sforii.

Mecanizarea asamblarii - formarea unui miez-continuu pe o masa cu lungime mai mare dupa care se sectioneaza la lungimea dorita Asamblarea mecanica cu sfoara la masini speciale, in care se introduc transversal sipcile pentru asamblare, fiind presate lateral de dispozitivul de alimentare.

Se executa ulucul pentru sfoara cu un circular static. Sfoara consolideaza asamblarea.

Miezul continuu se intrerupe la latimea dorita, sipcile care depasesc lungimea miezului sunt sectionate in timpul avansului.

Masinile de asamblat prin incleiere executa operatia in mod continuu sau cadentat in functie de mecanismul de avans.

- componenta masinii de asamblat prin incleiere:

- batiu

- mecanismul de avans

- instalatia de presare si incalzire

- circularul de sectionare

Aceeasi tehnologie se utilizeaza si la fabricarea panourilor de masiv reconstituit.

Alimentarea masinii se face manual sau mecanic, din caseta de alimentare.

Viteza de avans (cadenta impingatorului ) se poate regla direct de la motorul electric cu poli comutabili al mecanismului.

Bara impingatorului este incalzita electric, iar zona de priza a cleiului este incalzita cu abur sau in CIF (la utilajele moderne).

La capatul masinii se gaseste circularul se sectionat care debiteaza automat miezurule in panouri de lungime dorita.

La alte masini, alimentarea se face prin incarcarea manuala a unui tambur rotitor, care introduce succesiv sipcile intre rolele de avans ale masinii, executand concomitent si incleierea punctiforma a sipcilor la distante de 15-18 mm.

Productivitatea - 2500 mm deschidere - sipci de 20 mm latime, cadenta mijlocie a mecanismului de avans este de 50 m2/h.

Rasinile utilizate sintetice cu incleiere la cald.

Masinile de asamblat prin incleiere in (CIF) camp de inalta frecventa.

discontinuu - placa cu placa - .. se monteaza, in timp ce alta se preseaza

continuu - alimentarea se face cu un mecanism cu lanturi articulate, care introduce materialul in CIF, sub un electrod superior, distantat de material.

- durata incleierii este de 20-30 s.

- productivitatea - de 50 m3 de miezuri pe zi fata de masina cu functionare discontinua 7 m3/zi.

Presiunea superioara a materialului se executa cu un cilindru de apasare, iar presarea laterala este pneumatica.

In general, masinile de asamblat care folosesc CIF pot fi utilizate la asamblarea oricarui fel de panou sau rama de orice format.

Masinile sunt prevazute cu un generator IF 5-10 KW.

Asamblarea miezurilor bloc - masiv reconstituit

Elimina operatiile si utilajele necesare debitarii sipcilor si asamblarii acestora.

Cheresteaua destinata confectionarii miezurilor-bloc se usuca pana la umiditatea de 10% si se rindeluieste pe ambele fete sau chiar pe 4 fete cu o toleranta la grosime de mm.

Scandurile rindeluite se sorteaza dupa latimi, grupand categoriile de latimi care insumate sa reprezinte latimea totala a blocului (500 mm).

Scandurile inguste vor fi . lateral la prese revolver sau la prese pneumatice cu incalzire in CIF.

.. in prelungire a scandurilor scurte se face prin>

cepuri multiple neincleiate

prin simpla alipire pe muchia nedet dreapta sau tesita.

Pentru asezarea inelelor anuale pe sectiunea panelului in vederea reducerii deformatiilor panourile fiecarui rand se stivuiesc separat, prima stiva fiind alcatuita din scanduri cu partea spre alburu in jos, iar a doua stiva, cu partea spre alburu in sus.

Scandurile din stiva sunt incleiate pe ambele fete, la o masina de intins clei.

Scandurile din a doua stiva nu sunt incleiate.

In final, sunt asamblate alternativ cate o placa din fiecare stiva.

Se alcatuieste blocul paralelipipedic cu dimensiunile de aproximativ 600-500 mm iar lungimea variabila in functie de lungimea maxima a presei sau a formatului panelului.

Presarea se face la rece cu urelit la rece in amestec cu intaritori si material de umplutura ieftini.

Dupa introducerea vagonetilor are loc presarea la presiunea dorita si se folosesc si tiranti care mentin presarea materialului si dupa deschiderea presei.

Blocurile sunt mentinute in stare stransa timp de h.

Debitarea blocurilor in panouri - perpendicular pe suprafata scandurilor.

Debitarea panourilor se face cu ajutorul utilajelor tip gater sau a fierastraielor panglica pentru busteni.

taierea la gater - productivitate mare, pierderi de rumegus.

fierastraul panglica - taiere riguroasa, fina, fara pierderi, productivitate scazuta.

Panourile debitate din blocuri, dupa uscare, sunt rindeluite pe ambele fete, la grosimea dorita, cu o precizie de mm.

Prin incleiere se introduce o cantitate suplimentara de umezeala, care se indeparteaza prin reuscarea panourilor debitate din blocuri pana la umiditatea de 8-10%, stivuirea se face pe sipci, cu intervale mari, uscarea se face in camere sau tuneluri de uscare, la un regim mai bland decat al cherestelei fara aburire initiala si la tempetaruri care nu depasesc 40-500C

Panourile sunt apoi rindeluite si reparate prin chituire.

Prin 2-3 panouri de sipci alaturate se obtine un miez de panel de latime dorita sau panou de masiv reconstituit.

Asamblarea si debitarea miezurilor bloc din scanduri imperecheate din care se debiteaza sipci duble de lungime egala - cresterea productiei la asamblarea la masina de asamblat miezuri - permite utilizarea scandurilor scurte si inguste fara pierderi, precum si separarea lor prealabila.

Asemanator procedeului "bloc" este si modul de confectionare a miezurilor din furnire groase (stratificate), rezultand incleierea catorva straturi de furnire groase, 3+-6 mm in panouri de 18-20 mm grosime. Din aceste blocuri lamelate se debiteaza sipci care se asambleaza in miezuri dupa procedeele descrise anterior sau servesc la alcatuirea unui "bloc" de scanduri.

Incleierea furnirelor se face la cald sau la rece. Presiunea 14 daN/cm2, temperatura de 90-1050C, durata 18 min.

La rece - presiunea 8-10 daN/cm2, inaltimea bloc 500-600 mm, durata 4-8 h.

Uscarea panourilor stratificate - umiditate 8-10%

- temperaturi 40-500

Panourile lamelat, uscate, sunt debitate in sipci, scanduri de 500 latime, care servesc la alcatuirea blocului.

Incleierea si presarea panelelor

Masini cu valturi de intins uleiul.

Dupa aplicarea adezivului pe miezuri sau pe furnirul de baza se procedeaza la formarea pachetelor de furnire si miezuri intre placi de protectie de aluminiu.

Presarea panelelor se executa in prese asemanatoare presarii placajelor, alimentarea si descarcarea se face ca la placaje.

Regimul de presare variaza in functie de: grosimea placilor, natura adezivului, specia furnirului si a miezului.

Finisarea panelelor

Panelele dupa presare se descarca si se stivuiesc pe sipci in cedarea racirii.

Sipcile intermediare trebuie sa fie riguros egale la grosime, suficient de late si dispuse la maximum 500 mm una de alta, paralele cu fibrele straturilor exterioare, șipcile trebuie sa se suprapuna pe verticala si sa depaseasca usor marginile placilor.

Durata de racire minim 8 h.

Dupa conditionare - placile sunt tivite la ferastraiele circulare de tivit, la formatul comandat sau standardizat.

- viteza de taiere 40-60 m/s, viteza de avans 8-18 m/min.

- panele dupa tivire sunt slefuite - in orice directie in raport cu fibrele lemnului

- chituirea si repararea - dupa caz

- placile slefuite sunt sortate, ambalate si marcate

Pentru masiv reconstituit - se elimina operatiile de furniruire si se slefuiesc la masini de slefuit de productie mare cu banda lata de diferite granulatii de la grosier la slefuire fina.

Proprietatile panelelor

Obtinerea unor panele nedeformabile - materiale cu umiditate corespunzatoare mediului in care vor fi utilizate. 8+- 11,5 %

- panel - greutatea de 1 m2

densitatea aparuta - depinde de - specia lemnului

- furnirele de baza

natura adezivului

- straturile de acoperire pot determina modificari ale greutatii panelelor

- umflarea si contragerea panelelor - panelul se comporta mult mai bine decat lemnul masiv - prin modul de formare a miezului si a furnirului de fata.

- densitatea aparenta - penel cu miez si fete de mesteacan, 20 mm grosime, umiditate 8-10 % este de 620 kg/m3, iar greutatea pe 1m2 este de 13kg/m2

- panelele au rezistente mecanice dupa directia fibrelor sipcilor din miezuri.

- in general, rezistentele ale panelului sunt cu 8-13% mai mici decat cele ale scandurile si dulapurilor de rasinoase de dimensiuni identice.

23. Utilajul si tehnologia fabricarii placilor celulare

Placile celulare din lemn sunt panouri compuse dintr-un miez cu goluri de forme geometrice, acoperit pe ambele fete cu cate un strat de furnir, placaj sau placa fibrolemnoasa.

Scop - obtinerea placilor din lemn de dimensiuni mari, plane stabile si usoare dupa:    

- structura miezului:

- placi cu miez din sipci de lemn

- placi cu miez din elemente sinusoidale, formand un sistem alveolar

- placi cu miez din elemente drepte formand o retea de dreptunghiuri sau romburi

- dupa straturile exterioare

- placi celulare simple

- placi celulare furniruite

- placi celulare cu placaj sau placa lemnoasa

dupa directia fibrelor straturilor exterioare

- placi longitudinale

- placi transversale

Executia ramei - montanti si traverse imbinate rezistent prin incleiere

- elementele ramei se pot executa si lamelat prin presare la cald

Executia umpluturii - furnire spiralate

- sipci subtiri, uscarea

Uscarea elementelor umpluturii cu raze infrarosii in tuneluri.

Asamblarea placilor celulare - linii de asamblare mecanizate

Presarea placilor celulare - prese cu 10 etaje

temperaturi de 107-1150C

durata 15 min.

Conditionarea si finisarea placilor celulare

- camere de racire, stivuire atenta ca la panele

durata - min. 24 ore.

- formatizarea

slefuirea

finisarea - lacuri transparente si lacuri opace.

24. Tehnologia fabricarii lemnului stratificat

Lemnul stratificat este un semifabricat superior, ameliorat prin stratificare, impregnare, incleiere si presare.

Inlocuitor al unor materiale deficitare - materiale neferoase

Sortiment - lemn stratificat LS

- lemn stratificat LSD

densificat

Sortimente dupa directia fibrelor

A.    - fibrele lemnului la toate straturile de furnir sunt asezate pe directia paralela;

B.     - grupe de 5 sau 10 straturi pe directii paralele, alternand cu un strat cu directia fibrelor perpendiculara;

C.     - straturile alaturate cu fibrele orientate pe directii perpendiculare;

D.    - directia fibrelor straturilor alaturate formeaza unghiuri de 450

Sortimente dupa continutul de rasina

lemn stratificat impregnat , cu un continut de rasina uscata de 20-50%;

lemn stratificat incleiat, cu un continut redus de rasina uscata max. 20%.

Materia prima pentru fabricarea lemnului stratificat - furnire tehnice, specii omogene: fag, carpen, mesteacan - grosimea 0,35-0,6 mm.

Tehnologia: pregatirea furnirului, aplicarea adezivului pe furnire, uscarea furnirului, formarea pachetelor de furnir, presarea si conditionarea produsului.

Adezivi: rasini fenolice sub forma de fileu, solutie alcoolica sau groasa.

Adezivul poate fi aplicat numai la suprafata furnirului sau poate fi impregnat in acesta.

impregnarea - prin imersie - bai calde sau bai reci

prin vid si presiune in autoclave.

Uscarea furnirelor impregnate - durata in functie de:

continutul de rasina

parametrii aerului

grosimea furnirului

umiditatea finala a furnirului

Uscarea se face in instalatii speciale, avand ventilatoarele si bateriile de incalzire montate in afara camerei.

Asamblarea pachetelor de furnire - pentru furnire scurte

o       pentru furnire lungi

Presarea pachetelor de furnire - regimuri de presare

durata - 8 min.

presiuni - 30-200 daN - cm2

Tehnologia fabricarii produselor stratificate mulate

Piesele mulate - obtinute prin asamblarea de furnire sau lamele din lemn debitate special in acest scop.

Operatia de incleiere si mulare se efectueaza pe matrite, in dispozitive de strangere sau prese, in care furnirele sau lamelele in forma corespunzatoare.

Utilizarea rationala - intocmirea unei scheme de asezare a furnirelor sau lamelelor in pachetul de formare.

Dupa formare, pachetele sunt introduse in dispozitivele de presare sau prese, de unde, dupa uscare, sunt trecute la prelucrarea mecanica si asamblare.

Furnirul utilizat - este folosit in mai multe grosimi (grosimea conditioneaza raza de curbura a elementului care se preseaza).

Adezivi sintetici - cu priza la rece sau la cald.

Tehnologia

- sortarea furnirelor

aplicarea adezivului

formarea pachetului

presarea - timpul de priza - in functie de tipul adezivului

o       nr. de furnire din pachetul de mulare

presare la rece

presare la cald - in CIF

Furnirele pentru suprafetele exterioare - furnire estetice, taiat plan, din fag sau alte foioase, calitatea I sau a II-a de 0,7 mm.

Furnirele pentru straturile de mijloc - furnire tehnice derulate de fag, calitatea a III-a si deseuri de 1-1,2 mm.

Grosime pentru elemente cu raze mici de curbura (20-40 mm) si cu grosimi de 1,6-3 mm pentru elemente care prezinta raze de curbura mai mari (50-100 mm).

Fabricatia de serie - presele ca mijloc de presare

adezivii cu priza la cald.





Politica de confidentialitate





Copyright © 2025 - Toate drepturile rezervate