![]() | Aeronautica | Comunicatii | Constructii | Electronica | Navigatie | Pompieri |
| Tehnica mecanica |
POMPE DE INJECTIE. TIPURI. ROL. DESCRIERE.
Pompa de injectie este organul care da combustibilului presiunea ridicata de care are nevoie pentru a patrunde cu viteza mare in camera de ardere, a cilindrului motorului.
Conditiile tehnice pentru pompele de injectie sunt urmatoarele:
- cantitatea de combustibil injectata in
fiecare cilindru sa fie
- unghiul de avans la injectie sa nu varieze in timp, pentru aceeasi turatie, si sa fie reglabil, crescind cu cresterea turatiei;
- presiunea de injectie sa fie cit mai
- debitul sa fie usor reglabil, iar, pentru aceeasi pozitie a reglajului, cantitatea de combustibil injectata la fiecare cursa a elementului de pompare sa nu varieze cu turatia pompei;
- consumul de putere pentru antrenarea pompei de injectie sa fie cit mai mic.
Conditiile enumerate au determinat ca, in practica, realizarea pompelor de injectie sa se faca folosind sisteme si solutii foarte diferite (dupa uzina constructoare).
Sistemele de injectie se pot clasifica in doua grupe:
- sistemul de injectie prin impuls, la care presiunea necesara pulverizarii combustibilului si introducerii lui in camera de ardere este produsa numai in momentul injectiei si dureaza atit cit dureaza si injectia;
- sistemul de injectie cu acumulare
de presiune, la care pompa de injectie mentine presiunea necesara pulverizarii,
la o valoare
Rolul functional
Pompele de injectie care intra in componenta echipamentelor de injectie au un rol complex si variat. In primul rand, pentru obtinerea unor caracteristici optime ale jetului de combustibil injectat in cilindrul motorului, pompele de injectie trebuie sa dezvolte presiuni de refulare (injectie) foarte mari (300.1100 bar si uneori mai mari - de exemplu, la pompele-injector). In al doilea rand, pompele de injectie trebuie sa permita dozarea cantitatii de combustibil pe ciclu in concordanta cu regimul de functionare, asigurand totodata si uniformitatea dozei de combustibil la toti cilindrii motoarelor policilindrice. In al treilea rand, pompele de injectie trebuie sa asigure avansul la injectie optim, limitarea duratei injectiei si caracteristica de injectie optima. De asemenea, pompele de injectie trebuie sa fie fiabile, durabile, sa aiba constructie simpla, cost scazut si o exploatare cat mai simpla.
Problema esentiala a pompelor de injectie o constituie realizarea presiunilor mari de injectie, solicitate de necesitatea pulverizarii fine a combustibilului. Aceste presiuni pot fi asigurate numai de catre pompele cu piston. Pentru aceste valori ale presiunii de injectie (sute de bar), apar insa probleme deosebite in legatura cu precizia de executie a pistonului si cilindrului pompei, precum si cu etansarea acestui cuplu de piese fata de mediul exterior. Singura modalitate de etansare eficienta o constituie reducerea jocului dintre pistonul si cilindrul pompei la valori de 1,5.3 mm si practicarea unei executii cu lungimea pistonului sporita in raport cu diametrul sau. Aceasta presupune operatii de rectificare fina, cu abateri de forma (de la calitatea prelucrarii suprafetelor si de la pozitia lor reciproca) extrem de stranse, precum si operatii de rodare si de "imperechere" a pistonului cu cilindrul, care devin astfel cu regim interzis de interschimbabilitate.
Principiul de functionare
Schema de principiu a unei pompe de injectie cu piston este prezentata in figura 79. de mai jos. Elementul de pompare se compune din cilindrul 1 si pistonul 2. Combustibilul este aspirat, prin supapa de aspiratie 3, in spatiul C, in momentul in care pistonul se deplaseaza in cursa de aspiratie sub actiunea arcului 4. Deplasarea pistonului in cursa de refulare are loc sub actiunea camei 5 si a tachetului 6. Combustibilul din spatiul C este comprimat si refulat la presiuni de sute de bari catre spatiul R, prin supapa de refulare 7.
Se constata deci ca, pentru realizarea procesului de injectie, pistonul pompei efectueaza o cursa de aspiratie si una de refulare. Antrenarea pistonului in cursa de refulare se face rigid, prin cama profilata. Aceasta prezinta ca avantaj principal posibilitatea alegerii legii de miscare a pistonului, astfel incat sa se asigure caracteristica de injectie optima si sa fie satisfacute conditiile unei bune pulverizari a combustibilului. Din acest motiv, antrenarea pistonului cu cama profilata are, in prezent, o raspandire aproape generala. Antrenarea pistonului in cursa de refulare se poate face si elastic, prin arc. La antrenarea elastica insa, legea de deplasare a pistonului nu poate fi controlata; in schimb, procesul de injectie este scos de sub influenta turatiei, ceea ce favorizeaza si uniformitatea dozelor de combustibil injectat la turatii reduse.
Marimea dozei refulate se stabileste in concordanta cu necesitatile regimului de functionare
al motorului, prin fractionarea cursei de refulare a pistonului intr-o cursa utila su, variabila (fig. 80), si, cel mai des, in doua curse moarte sm1 si sm2, una fixa si cealalta variabila sau ambele variabile. Cursa utila su se plaseaza, de obicei, in portiunea de viteza maxima a pistonului (fig. 80).
Fig. 79. Fig. 80.
In forma prezentata in figura. 79, pompa de injectie cu piston refuleaza in spatiul R intreaga cantitate de combustibil aspirata in spatiul C. Pentru corelarea dozei de combustibil refulata cu regimul de functionare al motorului, fie se comanda din exterior sectiunea de curgere a, fie se utilizeaza o cama cu profil variabil deplasabila axial.
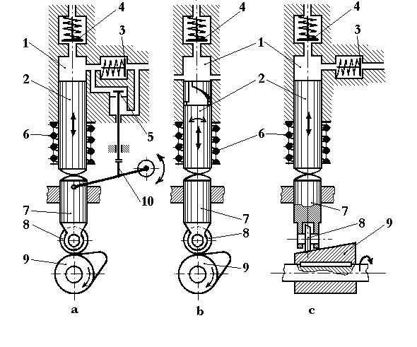
Clasificarea pompelor de injectie
Din punct de vedere constructiv, pompele de injectie se impart in doua grupe: a) cu cursa constanta si b) cu cursa variabila. La randul lor, pompele de injectie cu cursa constanta a pistonului pot fi: 1) cu supape si 2) cu piston sertar.
In figura 81. a de mai jos este prezentata schema pompei cu supape, avand cursa pistonului constanta. In figura 81. b este prezentata schema pompei de injectie tot cu cursa pistonului constanta, insa aceasta este cu piston sertar de tip rotitor. Pompa de injectie avand cursa pistonului reglabila este prezentata in figura 81. c. de mai jos.
Fig. 81.
Componenta si functionarea pompelor de injectie mentionate este urmatoarea: prin rotirea camei 9 se actioneaza rola 8 si tachetul 7, care determina deplasarea pistonului 2 si presarea combustibilului din cilindrul 1. Prin supapa de refulare 4, combustibilul presat la nivelul presiunii de injectie este trimis catre injector. In cazul pompei de injectie din figura 81. a, refularea se intrerupe in momentul in care se deschide supapa de refulare 5, actionata prin dispozitivul de reglare 10. Datorita energiei potentiale de deformatie a arcului 6, pistonul 2 efectueaza cursa de umplere; combustibilul patrunde in cilindrul pompei prin supapa de aspiratie 3 (fig. 81. a si c). La pompa cu piston-sertar (fig. 81. b), lipseste supapa de aspiratie 3, iar reglarea cantitatii de combustibil refulat se face prin rotirea pistonului 2. La pompa din figura 81. c, reglarea se face prin deplasarea axiala a camei 9.
In cazul pompelor de injectie din figura 81. a si b, se refuleaza numai o fractiune din cantitatea de combustibil aspirata in cilindrul 1. Acestea sunt pompe cu aspiratie invariabila si descarcare partiala. Ele prezinta ca principal avantaj refularea combustibilului la viteze mari ale pistonului. In acest sens, cursa utila su (fig. 81. b) se plaseaza intre cursele moarte sm1 si sm2, unde vitezele sunt reduse.
Pompa din figura 81. c este de tipul cu aspiratie variabila si descarcare totala. Dupa acest principiu de reglare este construita si pompa cu element unic de refulare si distribuitor rotativ, raspandita in prezent la MAC-urile cu turatii inalte, utilizate in tractiunea rutiera. La aceste pompe, doza de combustibil corespunzatoare fiecarui regim de functionare a motorului se aspira integral in spatiul de aspiratie, dupa care este refulata in totalitate catre injector.
O clasificare completa a pompelor de injectie este prezentata in tabelul de mai jos:
Clasificarea pompelor de injectie cu piston:
|
Criteriul de clasificare |
Posibilitati de realizare |
Exemple constructive |
|
|
1. Metoda de reglare a dozei de combustibil |
1.1. Prin aspiratie invariabila si refulare partiala |
1.1.1. Prin supa-pa comandata |
a. Pompe cu supapa care comanda sfarsitul injectiei (Dekkel) |
|
1.1.2. Prin lami-nare |
b. Pompe cu supapa de by-pass-are a refularii (fara aplicatie |
||
|
1.1.3. Prin ser-tar |
c. Pompe cu piston sertar si supapa de aspiratie |
||
|
d. Pompe cu piston sertar fara supapa de aspiratie* |
|||
|
1.2. Prin aspiratie variabila si refulare totala |
1.2.1. Prin vari-atia cursei pisto-nului |
e. Pompe cu cama cu profil variabil |
|
|
f. Pompe cu cama cu profil constant si culbutor cu punct de oscilatie variabil |
|||
|
1.2.2. Prin lami-narea variabila a aspiratiei |
g. Pompe cu distribuitor rotativ* |
||
|
2. Modul de plasare a camelor de injectie |
2.1. Pe arborele cu came propriu |
h. Pompe in linie* |
|
|
i. Pompe cu distribuitor rotativ |
|||
|
2.2. Pe arborele de distributie al motorului |
j. Pompe individuale* |
||
|
k. Pompe injector |
|||
|
3. Modul de de-servire a cilindri-lor motorului |
3.1. Fiecare cilindru este deservit de cate un element de refulare |
l. Pompe individuale |
|
|
m. Pompe in linie |
|||
|
n. Pompe injector |
|||
|
3.2. Toti cilindrii motorului sunt deserviti de acelasi element de refulare |
o. Pompe cu distribuitor rotativ |
||
*Au raspandirea cea mai mare (pompele in linie, individuale si pompele-injector sunt pompe cu piston-sertar).
Cele mai raspandite sunt pompele cu piston-sertar, cu sau fara arbore cu came propriu. Pompele din prima categorie sunt formate dintr-un numar de elemente de refulare, egal cu numarul de cilindri ai motorului, unite intr-un bloc unic; actionarea elementelor de refulare se efectueaza prin intermediul unui arbore cu came comun, cuprins in corpul pompei. Dispunerea elementelor de refulare in lungul arborelui cu came a consacrat acestor pompe denumirea de pompe de injectie in linie sau pompe de injectie monobloc.
Pompele din categoria a doua sunt constituite, in general, din cate un element de refulare destinat fiecarui cilindru al motorului. Elementul de refulare este realizat deci sub forma unei pompe de injectie individuale si este actionat prin intermediul unei came de injectie plasata, de regula, pe arborele de distributie al motorului. Exista si constructii de pompe fara arbore cu came propriu (pentru unele MAC-uri racite cu aer, de cilindree mica si turatie ridicata) la care doua, trei si, mai rar, patru elemente de refulare sunt unite intr-un bloc unic.
In categoria pompelor individuale intra si pompele-injector, constructii care unesc in acelasi ansamblu si pompa de injectie si injectorul, eliminandu-se astfel conducta de inalta presiune - sursa permanenta de fenomene care perturba desfasurarea normala a procesului de injectie.
A. SISTEMUL DE INJECTIE PRIN IMPULS.
Presiunea de injectie este produsa in fiecare element de pompa de catre un pistonas, care are o miscare liniara alternativa. Schema cea mai simpla a acestui sistem de injectie este reprezentata in figura 82 de mai jos. Arborele (axul) cu came al pompei se roteste cu o turatie egala cu aceea a motorului, la motoarele in doi timpi, si cu o turatie pe jumatate cit a motorului, la motoarele in patru timpi. La fiecare rotatie pragul camei 1 impinge in sus, prin intermediul rolei 2, pistonasul 3 al elementului de pompa. Camera 4 a elementului de pompa este plina cu motorina. Pistonasul, rotit in cilindru, nu permite scapari de combustibil. Miscindu-se in sus, pistonasul ridica presiunea combustibilului in cilindrul elementului de pompa. Din aceasta cauza, supapa de refulare 5 se deschide, combustibilul patrunde cu presiune in conducta de injectie, invinge rezistenta arcului injectorului si combustibilul este pulverizat in cilindrul motorului. Cind rola pistonasului a trecut pragul camei 1, arcul 6 readuce pistonasul in pozitia initiala. In cursa descendenta, pistonasul creeaza o depresiune in camera 4, inchizind supapa 5 si deschizind supapa 7, iar combustibilul patrunde in camera elementului de pompa, pentru injectia urmatoare.
In cazul unui motor policilindric, elementele de pompa pot fi grupate intr-un corp comun sau pot fi asezate separat, in dreptul fiecarui cilindru de motor.
Spre injector spre
injector
5
4
2
7
3 4
6
1
2
3
1
Fig. 82. - Schema sistemului de Fig. 83. - Comanda cu arc a pistonasului
injectie prin impuls pompei de injectie
Comanda pistonasului. Comanda pistonasului pompei de injectie se face, in schema descrisa, prin actiunea directa a camei in cursa de debitare, arcul avind rolul de a readuce pistonasul pistonasul in pozitia initiala.
Exista in constructia pompelor de injectie si dispozitia inversa a acestei comenzi. In figura 83, de mai sus se poate observa cum bratul pirghiei 1 este deplasat in jos de cama de rotatie 2. Arcul elicoidal puternic 3 este comprimat progresiv, iar pistonasul 4, care coboara, permite admisia combustibilului in cilindru, prin supapa. In momentul in care marginea pirghiei 1 scapa peste pragul camei, arcul elicoidal 3 se destinde brusc, dind nastere unui puternic impuls (crestere de presiune) in teava de injectie.
Primul sistem, este utilizat in majoritatea constructiilor de pompe de injectie cu impuls.
In prezentarea diverselor pompe utilizate in constructiile moderne de motoare Diesel, se vor arata avantajele si dezavantajele celor doua sisteme.
Reglarea combustibilului injectat. Pompele de injectie din figurile de mai sus au lungimea cursei pistonasului determinata, in primul caz, de inaltimea camei care comanda pistonasul, iar in al doilea caz, de lungimea pe care este lasat sa se destinda arcul elicoidal 3.
Pistonul deplaseaza o cantitate
de combustibil egala cu volumul format prin miscarea lui. La o turatie
Puterea ceruta unui motor Diesel, in special la cele rapide, utilizate mai mult in tractiune, este in permanenta variabila. S-a aratat ca puterea data de motor, la o anumita turatie, este legata de cantitatea de combustibil injectata pe fiecare ciclu. Pentru a regla puterea motorului in functie de sarcina, deci pentru a-l impiedice sa se ambaleze cind sarcina scade sau a nu-l lasa sa se opreasca atunci cind sarcina creste, este necesar controlul automat al cantitatii de combustibil injectat. Aceasta cantitate poate fi variata, fie schimbind cursa pistonasului elementului de pompa de injectie, fie descarcind o parte din combustibilul deplasat de pistonas.
Sistemele de injectie prin impuls utilizeaza aceste doua posibilitati de reglare a combustibilului injectat de pompa si, deci, pompele de injectie pot fi, din acest punct de vedere, de doua tipuri: cu cursa variabila sau cu cursa constanta a pistonasului.
a. POMPE DE INJECTIE AVIND CURSA PISTONASULUI VARIABILA.
Aceste pompe utilizeaza diverse dispozitive pentru a regla mecanic cursa pistonaselor elementelor de pompa.
Sistemul in care, cama, care comanda pistonasul, are profil variabil de-a lungul axei sale, este reprezentat in figura 84. a. Pentru a obtine o variatie a cursei, arborele cu came este deplasat axial, iar pistonasul este atacat de un alt profil al camei, decit cel initial.
Inconvenientul acestui mecanism consta in faptul ca rola are o suprafata foarte mica de contact cu cama, din care cauza rezulta o apasare specifica ridicate, care are ca urmare o uzura rapida a rolei si a camei. Suprafata mica de contact se datoreste latimii foarte reduse a rolei.
La dispozitivul reprezentat in figura 84. b., comanda pistonasului de catre cama se face prin intermediul unei pirghii cu rola, 1, pirghie articulata in punctul A. Pe aceasta se poate misca o alta rola, 2, a unei tije intermediare a pistonasului. Tija intermediara poate fi inclinata in timpul functionarii motorului, cu ajutorul barei de comanda 3, care se afla sub actiunea regulatorului de turatie. Cu cit rola 2 este mai aproape de punctul A de articulatie, cu atit drumul parcurs de punctul de contact intre rola si pirghie este mai mic si deci cursa pistonasului este mai mica.
Un alt procedeu de a varia cursa pistonasului este reprezentat in figura 84. c. Se vede ca intre rola pistonasului si cama de comanda s-a interpus o pana, 1, care poate fi comandata de regulator prin tija 2. Pana poseda o rola proprie, 3 care calca pe cama de comanda. Cind rola intermediara se afla pe axa pistonasului, cursa pe care o imprima penei si pistonasului este maxima.
Cind rola se deplaseaza intr-o pozitie laterala, deplasarea ei pe verticala este mai mica, deci si cursa pistonasului se micsoreaza in aceeasi masura.
3 2
A
1
3 2
1
a. b. c.
Fig. 84.
b.
POMPE DE INJECTIE CARE AU CURSA PISTONASULUI
Pompele care au cursa
pistonasului
O astfel de constructie este reprezentata schematic in figura 85 a. de mai jos. Pompa de injectie utilizeaza pentru descarcare un canal conic, care formeaza o trecere inelara, a carei deschidere este reglata de un ac cu sectiune variabila. In timpul cursei de debitare, o parte din combustibilul refulat de pistonas se scurge inapoi prin canal, pe linga ac. Cantitatea descarcata poate fi marita sau micsorata prin variatia deschiderii canalului; aceasta variatie se realizeaza prin retragerea sau inaintarea acului in canalul conic. Corpul acului fiind filetat, miscarea acestuia este comandata fie manual, fie automat, atunci cind bratul acului este in legatura cu pirghia regulatorului de turatie al motorului. Dezavantajele acestui sistem sunt: uzura rapida a filetului de pe ac si frecarea care are loc intre filetul tijei acului si garnitura de etansare prin care trece. Aceasta frecare produce neajunsuri, ducind uneori la functionarea defectuoasa a reglajului.
La sistemul reprezentat in figura 85 b., descarcarea surplusului de combustibil in rezervor se face chiar prin supapa de aspiratie a pompei. Supapa de aspiratie este comandata de tija pistonasului prin intermediul barei 1 si al excentricului 2. Cind pistonasul pompei de injectie isi incepe cursa de debitare, supapa este impinsa de presiunea lichidului pe scaunul sau, fiind insa impiedicata sa se inchida de actiunea barei 1 si, astfel o parte din combustibil se descarca. Din clipa in care supapa se asaza pe scaunul ei, combustibilul nu se mai descarca in rezervor, ci este impins spre injector. Excentricul 2, care regleaza actiunea tijei 1, poate fi comandat manual sau automat, in care caz este legat de regulatorul de turatie al motorului. Prin excentric se regleaza momentul in care supapa de aspiratie cade pe scaunul ei.
Cu cit aceasta inchidere se face mai devreme, cu atit cursa utila a pistonasului se mareste, deci cu atit debitul de combustibil impins spre injector este mai mare.
La alte constructii (figura 85. c.) se prevede o supapa speciala de descarcare 1, comandata de pistonas prin intermediul tijei 2. Solidar cu pistonasul se misca pirghia 3, care oscileaza in jurul punctului 0 de pe excentricul 4. Tamponul de contact 5 actioneaza tija 2 a supapei 1. Prin rotirea manuala sau automata a excentricului 4, tamponul 5 atinge, mai devreme sau mai tirziu, tija si comanda astfel momentul deschiderii supapei 1. Combustibilul se descarca prin canalul desenat cu linii intrerupte in figura.
In general, supapa de aspiratie nu se intrebuinteaza ca supapa de descarcare, din cauza suprafetelor relativ mari, care necesita forte mari pentru deschidere, deci mecanisme puternice. Din aceasta cauza, o supapa de descarcare are, de obicei, o suprafata destul de mica, insa nu atit de mica incit sa nu permita trecerea usoara a combustibilului prin ea. Daca supapa de descarcare ar avea o suprafata prea mica, presiunea de injectie ar scadea prea incet in momentul in care trebuie sa se termine injectia si aceasta ar avea drept urmare o "picurare tirzie" din injector in cilindrul motorului ceea ce constituie un defect serios pentru un sistem de injectie.
Fig. 85.
Ac 1
2
2 5 0
3 4
a). - Schema unei b). - Schema unei pompe c). - Schema unei
pompe de injectie cu cursa de injectie cu cursa
aspiratie comandata de pistonas cu supapa de aspiratie
comandata de pistonas
c. POMPE DE INJECTIE CU PISTONASE ROTATIVE.
(CU PISTONAS SERTAR)
Pompa de injectie cu pistonase
rotative face parte din categoria pompelor cu impuls cu cursa
In prezent, circa 75 % din motoarele Diesel de mare turatie folosesc variante de pompe derivind din acest tip, construite de numeroase fabrici din mai multe tari. Din categoria pompelor cu pistonase rotative fac parte si pompele Bosch si Pall.
Pompa cu pistonase rotative este constituita de obicei din atitea elemente citi cilindri are motorul, fiecare element fiind compus dintr-un pistonas si un cilindru. Elementele de pompa sunt montate intr-un corp unic la constructiile obisnuite ale motoarelor rapide de tractiune. La motoarele cu numar mare de cilindri de exemplu la motoarele cu 12 cilindri, elementele sunt grupate, cite sase intr-un corp iar cele doua corpuri sunt cuplate unul dupa altul, pe acelasi arbore. La alte tipuri, cele doua corpuri sunt montate alaturat. La motoarele cu putere mare pe cilindru, fiecare element este asezat pe blocul motorului in dreptul cilindrului pe care il alimenteaza.
Pompele cu pistonase rotative pot fi antrenate de un arbore (ax) cu came special (de exemplu, pompele Bosch tip PE) sau de insusi arborele (axul) cu came al motorului (de exemplu, pompele Bosch tip PF).
O pompa de injectie cu pistonase rotative, cu arbore cu came propriu, cu elementele montate intr-un corp unic se compune din: corpul pompei, in care se monteaza arborele (axul) cu came; fiecare sectiune a pompei (element), cuprinde tachetul cu rola, talerul inferior, arcul pistonasului, talerul superior, bucsa de reglare, segmentul dintat, cilindrul, pistonasul, supapa de refulare si conducta de injectie (de inalta presiune), cu o piulita olandeza de prindere; in corp este executat canalul de aductiune, care este astupat la un cap de busonul de golire, iar la capatul opus este alimentat de la conducta de alimentare; pe corp este montat surubul de aerisire cu ajutorul caruia se elimina aerul, din canalul de aductiune. Corpul este prevazut cu: urechi de prindere, dop pentru golirea uleiului, racord pentru surplusul de ulei si cu capac lateral de vizitare. Fiecare element este blocat cu cite un surub de blocare, iar reglajul debitului de combustibil este facut prin rotirea pistonasului, comandata de o cremaliera.
Pistonasul elementului (figura 86) are o degajare, terminata la partea superioara cu o muchie elicoidala, servind la reglarea debitului. Degajarea comunica cu partea superioara a pistonasului printr-un canal vertical lateral sau printr-o gaura verticala si una transversala. Pompele tip Bosch si Pall sunt construite cu canal lateral (figura 86. a), sau au comunicatia asigurata printr-un sistem de gauri (figura 86. b).
A

B
a). b).
Fig. 86 - Pistonasele rotative ale pompei de injectie
Fiecare cilindru de pompa este inchis in partea de sus cu o supapa de refulare, de forma speciala, care este apasata cu ajutorul unui arc elicoidal. De la ea pleaca teava de injectie spre injector.
In regiunea superioara a corpului pompei exista o camera de aspiratie, care este in legatura cu sistemul de alimentare si cu cilindrul elementului de pompa, prin doua orificii situate in peretele lui. Cilindrul este inconjurat de un manson care poarta un sector dintat, iar mansonul are la partea de jos o furca care antreneaza pistonasul in rotatie.
O cremaliera poate roti pistonasul in timpul functionarii motorului, prin intermediul sectorului dintat. Prin aceasta se poate varia debitul de combustibil pe care pompa il trimite spre injector.
Datorita avantajelor insemnate pe care le prezinta:
a) asigurarea inceputului si sfarsitului procesului de injectie la viteze mari ale pistonului-sertar (presiuni mari de injectie);
b) posibilitatea reglarii dozei de combustibil injectate prin simpla rotire a pistonului in cilindru;
c) constructie simpla;
d) siguranta sporita in functionare;
e) deservire usoara.
pompele de injectie cu piston-sertar au astazi o raspandire aproape generala.
Pompa de injectie cu piston-sertar functioneaza astfel: cilindrul se umple cu combustibil la sfarsitul cursei descendente, cand pistonul descopera orificiile de alimentare (fig. 87. a si b). La inceputul cursei ascendente, pompa nu refuleaza, deoarece, initial, orificiile de alimentare sunt deschise (fig. 87. c). Dupa ce pistonul a acoperit cu partea sa superioara orificiile de alimentare (cursa h1 - preliminara), pistonul continua sa urce, presand combustibilul (fig. 87. d si e), cursa numindu-se de "comprimare" (cursa h2). Cand presiunea din cilindru invinge tensiunea resortului supapei de refulare, combustibilul este trimis spre injector (fig. 87. f), cursa numindu-se cursa activa (de refulare) h3. Ea dureaza pana in momentul in care marginea elicoidala a pistonului deschide orificiile de alimentare (fig. 87. g) si combustibilul este trimis prin aceste orificii inapoi, in partea de joasa presiune. De acum si pana cand pistonul ajunge in PMI are loc a doua cursa moarta h4.
Reglarea dozei de combustibil injectate se
realizeaza prin rotirea pistonului-sertar in jurul propriei axe. Ca
urmare, daca in plina sarcina, lungimea rampei elicoidale este
maxima si pistonul
Fig. 87
refuleaza doza maxima (fig. 88. a), la rotirea pistonului-sertar, cursa utila a pistonului se micsoreaza datorita reducerii inaltimii rampei elicoidale in dreptul orificiilor de alimentare (fig. 88. b si c). Cursa utila se anuleaza si pompa nu refuleaza atunci cand canalul pistonului-sertar vine in dreptul orificiilor de alimentare, asigurand legatura permanenta dintre cilindrul pompei si aceste orificii.

Referitor la reglarea dozei de
combustibil injectate in cilindrul motorului, trebuie mentionat
Fig. 88
ca acest reglaj poate fi realizat modificand fie momentul sfarsitului injectiei, fie momentul inceputului injectiei, fie ambele momente (reglajul combinat). In primul caz (fig. 89. a), inceputul injectiei (punctul A) ramane constant indiferent de regimul de functionare al motorului. Sfarsitul injectiei (punctele B1, B2, B3) poate fi modificat si, prin aceasta se modifica si cursa de refulare a pompei. Acest procedeu de reglare este folosit, in general, la MAC-uri care functioneaza la turatie constanta (motoare auxiliare sau motoare principale cuplate cu EPR).
In cazul in
care se modifica inceputul injectiei (figura 89. b), injectia va
incepe in A1, A2, sau A3, in timp ce
sfarsitul injectiei (punctul B) ramane constant. Acest procedeu
se utilizeaza, cu precadere, la motoarele principale cuplate direct
cu propulsorul de tip EPF, la care variatia sarcinii

se realizeaza concomitent cu
variatia turatiei.
Fig. 89.
La procedeul de reglaj combinat (fig. 89. c), se modifica atat inceputul injectiei (punctele A1, A2, A3), cat si sfarsitul injectiei (punctele B1, B2, B3). Acest procedeu se aplica la MAC-uri cu domenii mari de variatie atat a turatiei, cat si a puterii.
Procedeul de reglaj utilizat are influenta asupra desfasurarii procesului de ardere si a economicitatii motorului. Astfel, daca nu se modifica sfarsitul injectiei, atunci la turatii reduse, arderea se prelungeste in destindere, marind pierderile termice. Daca se mentine constant inceputul injectiei, atunci la turatii reduse creste durata avansului la injectie, ceea ce duce la cresterea rapida a presiunii fluidului motor, inainte ca pistonul sa ajunga in pmi.
Refularea combustibilului se realizeaza prin intermediul unei supape care intrerupe legatura dintre conducta de inalta presiune si cilindrul pompei de injectie, in intervalul dintre doua curse utile. Cand cursa de refulare inceteaza, supapa se aseaza pe scaun sub actiunea resortului propriu, impiedicand aspiratia combustibilului din conducta de inalta presiune, ceea ce ar face imposibila reluarea injectiei.
Supapa de refulare indeplineste si o a doua functiune: descarca conducta de inalta presiune de presiunile reziduale inalte, dar, in special, asigura intreruperea brusca a injectiei, ameliorand astfel fenomenul de picurare.
Conform tipizarii Bosh, producatoare de echipament de injectie tipizat din anul 1927, pompele de injectie se impart conventional in mai multe marimi, diferentiate prin valoarea cursei de refulare a pistonului-sertar (inaltimea de ridicare pe cama de injectie).
Marimea pompei se identifica printr-un simbol literal, care se include in simbolul general al pompei. De regula, simbolul marimii se plaseaza intre simbolul prin care se identifica numarul sectiunilor de pompare si cel care exprima valoarea diametrului pistonului-sertar. De exemplu, pompa de injectie cu simbolul general PFR 1 K 65 A 33212 este o pompa de injectie de marime K (cursa de refulare a pistonului este de 7 mm), cu o singura sectiune de pompare si cu valoarea diametrului pistonului-sertar de 6,5 mm.
Pompele de injectie de o anumita marime pot fi realizate in mai multe variante constructive, executandu-se pistoane cu diametre diferite, tipizate. In acest fel, se obtine o plaja intinsa de valori pentru debitul de combustibil refulat, reusindu-se, cu aceeasi marime de pompa, sa se deserveasca o gama diversa de motoare.
Marimea pompei de injectie se alege in functie de parametrii constructivi si functionali ai motorului pe care aceasta urmeaza sa-l echipeze, utilizand nomograme oferite de firmele constructoare: Bosch, Bryce-Berger, l'Orange, Friedman-Maier, Yanmar, WZM (Delta), MOTORPAL, MEFIN-Sinaia etc. Pentru utilizarea nomogramelor este necesara si cunoasterea valorii cantitatii de combustibil injectat pe ciclu (teoretic, egala cu doza refulata de elementul de pompare in timpul cursei utile).
Reglarea debitului se face prin rotirea pistonasului, care inchide si deschide, pe timp mai lung sau mai scurt, orificiile de aspiratie. Arcul este comprimat intre doua talere: cel de sus se sprijina de corpul pompei, iar cel de jos, de un prag al tijei pistonasului. Arcul apasa pistonasul in jos, obligindu-l sa urmareasca, prin intermediul unei role, profilul camei care il pune in miscare.
Reglarea debitului are loc in modul urmator: la inceputul cursei de compresie, ambele orificii sunt deschise si cilindrul este plin cu combustibil. In cursa ascendenta, pistonasul impinge combustibilul, eliminindul la inceput in camera de aspiratie a corpului pompei pina cind partea superioara A a pistonasului inchide orificiile. Din acest moment, combustibilul sub presiune deschide supapa de refulare (ventilul de retinere) si trece prin conducta de injectie spre injector. Debitul inceteaza indata ce suprafata elicoidala B a canalului pistonasului incepe sa deschida un orificiu de aspiratie (orificiul din dreapta). In acest moment, spatiul de deasupra pistonasului este pus in legatura cu camera de aspiratie a pompei, prin intermediul canalului vertical. Ca urmare, presiunea scade si supapa de refulare se inchide. In acest caz, cursa efectiva de trimitere a combustibilului sub presiune spre injector este determinata de momentul in care muchia superioara a pistonului inchide celalalt orificiu si de momentul in care taietura elicoidala deschide primul orificiu. Cursa efectiva (portiunea din cursa pistonului in care elementul de pompa debiteaza combustibilul spre injector) este variabila. Pozitia in care canalul vertical se asaza peste primul orificiu, pom02pa nu debiteaza deloc, deoarece legatura intre cilindrul pompei si camera de aspiratie este permanenta.
Rotirea pistonasului se face cu o cremaliera. Cremaliera este in legatura cu pirghia regulatorului si se poate misca la stinga si la dreapta. Sectorul dintat roteste mansonul care antreneaza pistonasul. Aceasta legatura se face prin doua brate (tije) ale pistonasului, care aluneca de-a lungul unor ghidaje frezate in manson. In acest mod, pistonasul poate sa execute si o miscare de rotatie, care este necesara pentru reglarea debitului. Indata ce muchia pistonului deschide primul orificiu (cel din dreapta), presiunea din corpul elementelor de pompa scade si supapa de refulare cade pe scaunul ei, fiind impinsa de arc si de presiunea mai ridicata din teava de injectie (tubulatura de inalta presiune) respectiva. Ea ramine inchisa pina la injectia urmatoare.
S-a aratat ca pentru o inchidere rapida a injectorului este necesar sa se asigure o descarcare a presiunii ridicate din teava de injectie, putin inainte de inchiderea supapei de refulare. Aceasta descarcare se realizeaza prin utilizarea unei supape speciale de refulare, care este de tip conic si are pe tija sa un guler bine ajustat (pasuit) pe ghidajul cilindric al supapei. In timpul refularii combustibilului, acesta trece prin patru canale longitudinale, frezate de-a lungul tijei supapei, si patrunde, pe sub gulerul supapei, spre teava de injectie. Supapa de refulare, in cursa ei descendenta, intrerupe comunicatia intre cilindrul pompei si teava de injectie, atunci cind gulerul tijei supapei patrunde in ghidajul sau. Supapa de refulare continua sa coboare pina cind se asaza pe scaunul conic.
Pirghia de reglare este pirghia cu cremaliera , care executa miscarea de rotire a pistonasului. Ea este comandata de regulatorul motorului. Pentru a nu transmite forte laterale, care ar produce o intepenire intre cremaliera si sectorul dintat, legatura dintre pirghia intermediara si cea de reglare se face printr-o furca.
Pe corpul pompei, o sageata cu indicativul "stop" arata directia in care se impinge pirghia de reglare pentru ca pompa sa nu debiteze combustibil. La capatul opusse afla pozitia de debit maxim. Debitul maxim este necesar numai pentru pornirea motoarelor la care pentru o usoara pornire, trebuie sa existe un exces de combustibil. In mers normal, pompa nu ajunge la debitul sau maxim, pirghia de reglare fiind oprita printr-o siguranta.
Comanda pompei de injectie Bosch de tip PE este realizata de un arbore cu came. Camele sunt facute din aceeasi bucata cu axul si au profil simetric pentru urcarea si coborirea rolei, astfel incit pompa poate fi utilizata atit pentru rotatia spre dreapta, cit si spre stinga.
Pompele de acest tip sunt livrate cu axe cu came, corespunzind ordinii de aprindere a motorului respectiv.
Camele axului pompei ataca pistonasul prin mijlocirea unui tachet cu rola, care aluneca intr-un ghidaj al corpului. Tachetul nu se poate roti in jurul sau, astfel ca axul rolei este totdeauna paralel cu axul cu came.
Pentru a usura cuplarea pompei cu motorul, dupa sensul de rotatie corespunzator, pe carcasa pompei, spre partea cuplajului, sunt trasate doua semne: D, pentru rotatia spre dreapta, si S, pentru rotatia spre stinga (in amindoua cazurile, motorul este privit din fata spre spate, adica de la amortizorul de vibratii spre volant). Semnul corespunzator rotatiei dorite trebuie sa se gaseasca in dreptul semnului marcat pe butucul cuplajului. In acest caz, pistonul cilindrului pompei, cel mai apropiat de cuplaj, se gaseste la inceputul perioadei de injectie. Se aduce motorul cu pistonul care corespunde acestui element de pompa la pozitia inceputului de injectie si se cupleaza motorul cu pompa.
Reglarea avansului la injectie este necesara pentru imbunatatirea functionarii motoarelor care au regimuri de lucru cu turatie variabila. In acest scop, pompele pot fi prevazute cu dispozitive manuale sau automate de reglare a avansului.
Una din constructiile de cuplaj manual, foarte des folosita la pompele cu pistonase rotative permite sa se varieze unghiul de avans la injectie cu 16 - 24 fata de arborele cotit.
Reglarea manuala a avansului nu se poate face cu exactitate. De aceea unele pompe de injectie sunt in prezent echipate cu avans automat.
La constructiile cele mai noi, reglarea automata a avansului la injectie se face centrifugal, folosind ca element activ presiunea uleiului din circuitul motorului.
d. POMPE INJECTOR
O constructie deosebita de pompa de injectie cu impuls, cu reglarea debitului prin pistonase rotative, este pompa-injector. Astfel de pompe se intilnesc la unele motoare de mare turatie.
La aceste pompe s-au asamblat intr-un singur bloc atit pompa de injectie, cit si injectorul, eliminind tevile de injectie. Excluderea conductelor de presiune are ca rezultat inlaturarea undelor de presiune si deci imbunatatirea injectiei, respectiv a arderii, ceea ce face ca aceste pompe sa fie potrivite mai ales la motoarele de mare turatie. Actionarea pompelor injector se face ca si actionarea supapelor, prin tije impingatoare si culbutoari.
Aceasta constructie simplificata este avantajoasa din punctul de vedere al arderii si al constructiei simple, insa prezinta dezavantajul uzurii mai rapide, in special a camei, datorita presiunilor de injectie mari.
Presiunea de injectie a acestei pompe de mare turatie variaza intre 550 at, la 1 000 rot/min si 1 400 at, la 2 000 rot/min.
Pistonasul pompei are o degajere cu muchii profilate, care comunica prin canale cu partea superioara a pistonului. Functionarea si reglarea se realizeaza asemanator cu cazul pompelor cu pistonase rotitoare obisnuite. La aceasta constructie insa, toate muchiile degajarii din pistonas sunt profilate, astfel ca atit inceputul, cit si sfirsitul injectiei este variabil cu unghiul de rotatie.
Aceste pompe sunt utilizate mai frecvent la motoarele de mare turatie.
Copyright © 2025 - Toate drepturile rezervate