Metoda si dispozitiv de control coordonat al
fluxurilor mecanice, energie electrica si termica intr-un
vehicul cu motor
A.scopul inventiei
Aceasta invetie
reprezinta metoda de control coordonat al fluxurilor de mecanica,
energie electrica si termica intr-un autovehicul pentru a
aduce despre starile de functionare optima a
unitatilor in autovehicul, si un
dispozitiv pentru efectuarea metoda. An
optimum operating state (x.sub.opt) for the unit system is determined in a
module which receives as input variables at least the setpoint values provided
by a second module after the variables determined by a third module have been
combined together with additional specified variables in the second module, and
the actual operating state (x) from a fourth module after the measured
variables (y) resulting from the determination of the state of the units of the
unit system have been combined in the fourth module; and after the optimum
operating state (x.sub.opt) for the unit system is determined, the setpoint
operating state (x.sub.setpoint) is determined in a fifth module, based on the
actual operating state (x) and the optimum operating state (x.sub.opt), so that
due to this fifth module, a smooth transition is effected between the
instantaneous operating state (x) and the operating state (x.sub.opt) to be
achieved. O stare de functionare optima (x opt)
pentru sistemul de unitate este determinata intr-un modul care
primeste ca variabile de intrare cel putin setare valorile furnizate
de catre un al doilea modul, dupa variabilele determinate de un modul
de terte au fost combinate, impreuna cu suplimentare
specificate variabile in al doilea modul, si starea de
functionare reale (x) dintr-un modul patra dupa variabilele
masurate (y) care rezulta din determinarea starii de unitati
ale sistemului unitate au fost combinate in modulul de a patra si
dupa stare de functionare optima (x.sub.opt) pentru sistemul de
unitate este determinata, de operare de stat setare (xsetpoint)
este determinata intr-un modul al cincilea, bazate pe starea de
functionare efectiva (x) si stare de functionare
optima ( xopt), astfel ca, datorita acestui modul al
cincilea rand, o tranzitie lina sa fie efectuate
intre starea de functionare instantanee (x) si starea de
functionare (xopt) sa fie atins.
B. Obiectivele inventiei
Obiectivele inventiei sunt :
-coordonarea fluxului mecanic al unui motor
-coordonarea fluxului energetic al unui motor
-coordonarea fluxului termic al unui motor
C. Problema pe care o solutioneaza inventia
Problema care se doreste a fi solutionata cu
ajutorul acestei inventii este cea a disipatiei energiilor, care se doresc a fi
controlate si folosinte pentru diferite intrebuintari in scopul obtinerii unui
consum mai mic de combustibil.
D. Continutul brevetului:



DOMENIUL inventiei
Inventia de fata se
refera la o metoda de control coordonat al fluxurilor de
mecanica, energie electrica si termica intr-un
vehicul cu motor, cum ar fi, de exemplu, puterea conduce la roti, fereastra
din spate de incalzire si climatecontrol interior, pentru
optimizarea consumului , confort, emisiile si raspunsul dinamic al
vehiculului, si, prin urmare, pentru a aduce despre starile de
functionare optima a unitatilor in autovehicul,
inclusiv a sistemelor de stocare, convertizoare, transformatoare si
unitati pentru disipare a energiei; Inventia se refera de
asemenea la un dispozitiv pentru efectuarea metoda de control continuu.
BACKGROUND INFORMATION
Informatii de fond
O serie de metode conventionale a
dispozitivelor pentru efectuarea acestei metode exista pentru controlul
fluxurilor de putere intr-un autovehicul. DE 197 03 863 A1, de exemplu,
descrie o metoda si un dispozitiv prin care o unitate de control se
efectueaza, fluxurile de energie mecanica in unitatea
autovehiculelor sunt supuse controlului (a se vedea, de asemenea, Hotzer, D.:
einer Entwicklung Einen Schaltstrategie blana PKW mit automatischem
Schaltgetriebe (tradus ca 'Dezvoltarea unei strategii Trecerea pentru un
vehicul de pasageri, cu cutie de viteze automata';). Indiferent de modul
in care aceste metode functioneaza, scopul lor este
intotdeauna pentru a minimiza consumul de carburant si a optimiza
raspunsul vehiculului, care poate fi atins prin control coordonat al
motorului cu ardere interna si unitatea vehiculului.
Alte
sisteme de control al fluxurilor de energie termica intr-un vehicul
cu motor, in special pentru sistemele de management termic si de
control al climei, si inca alte sistemul de control al
fluxurilor de energie electrica in sistemul electric de la bord cum
ar fi sistemele de gestionare si de gestionare a electricalenergy
sarcina, asa cum este descris de exemplu, in articol de
Schottle, R. si Schramm, D., Energiebordnetze Zukunftige im Kraftfahrzeug
(tradus ca 'Viitorul bord de retele energetice in autovehicule'),
Fahrzeug-undVerkehrstechnik ('Automotive si Trafic Engineering')
Anuarul, VDI-Verlag, Düsseldorf, 1997.
Cu
toate acestea, metodele conventionale si sistemele de
impartasesc o trasatura comuna ca
acestea sunt in principal in cauza cu o singura
forma de energie in fluxurile energetice mecanice, electrice,
termice sau dintr-un autovehicul si, prin urmare, in
esenta, nu do takeinto seama de legatura fizica provided
in un vehicul cu motor intre aceste forme de energie.
Sumar
Inventia
actuala, prevede o metoda si un dispozitiv de control coordonat
al fluxurilor de mecanica, energie electrica si termica
intr-un vehicul cu motor pentru optimizarea consumului, confort, emisiile
si raspunsul vehicul astfel incat, prin corelarea fizic
sisteme de stocare pentru mecanice, electrice, termice si energia
chimica, convertoare de conversie a energiei intre aceste forme de
energie, convertoare de conversie a energiei, in una din formele special
al energiei, precum si unitati pentru a disipa energie de toate
formele, toate formele de energie prezente intr-un autovehicul sunt luate
in considerare.
Aceste
avantaje sunt realizate printr-o metoda in care o stare optima
de functionare xopt pentru
un sistem de unitate este determinata intr-o determinare 'de
starea de functionare optima' modul care primeste ca
variabile de intrare cel putin valorile de setare providedby o
generatie 'de setare variabilele 'modulul dupa variabilele
determinate de o detectie' cu privire la intentia
conducatorului auto 'modulul au fost combinate, impreuna
cu variabile suplimentare specificate in generatie' de
variabile setare 'modulul, precum si actualoperating stat x
dintr-o' determinare de stat de functionare reale 'modulul
masurata dupa variabilele y rezulta din determinarea
starii de unitati ale sistemului unitate au fost combinate
in determinarea 'de stat de functionare reale' modul;
si dupa optima de operare xopt de stat pentru
sistemul de unitate este determinata, setare xsetpoint stare de
functionare este determinata intr-o determinare 'de starea
de functionare setare' modulul bazat pe starea de functionare
reale x si state xopt de operare optime, astfel
incat o tranzitie lina sa fie efectuate intre
starea de functionare instantanee x si stare de functionare xopt
sa fie atins.
The unit system is
actuated by a vector of manipulated variables u, each actuated unit having an
input for control signals. Sistemul de unitate este actionat de un vector
de variabile manipulate u, fiecare unitate actionat cu o intrare pentru
semnale de control. Thus, ume stands for a
converter of mechanical to electrical energy. Astfel, standuri UME
pentru un convertor de mecanica in energie electrica. Vector of manipulated variables u is determined byan
'actuation of unit system' module in such a way that operating state
x.sub.setpoint is established in the unit system. Vector de variabile
manipulate u este determinata byan 'de actionare a sistemului de
unitate' modul in asa fel incat xsetpoint
stare de functionare este stabilit in sistemul de unitate. The actual control of the units of the unit system may
be achieved in each particular case by a control unit--eg, ME, EDC, orinverter
control. Controlul efectiv de unitati ale sistemului unitate
pot fi obtinute in fiecare caz in special printr-o unitate de
control - de exemplu, ME, ECD, ori invertor de control.
Masurata
in timp ce variabilele y prin care starea de unitati ale
sistemului unitar este detectat sunt determinate direct prin senzori sau,
atunci cand este masurata variabilele y includ derivate
variabile, pot fi determinate de catre unitatile unitate de
control, computationalmodels fizice sunt utilizate pentru a descrie
unitati, iar astfel, sistemul de unitate, atunci cand
combinarea masurate variabilele y si stabilirea starii de
functionare reale x ale sistemului unitar in determinarea 'de
stat de functionare reale' modul.
When the method according
to one embodiment of the present invention is carried out, variables
ascertained by driver-assistance systems, for example by a vehicle-speed
controller or ACC, may be supplied by them as further specified variables tothe
'generation of setpoint variables' module. În cazul
in care metoda in conformitate cu o intruchipare a
inventiei prezent se efectueaza, variabile determinate de sistemele
de asistenta pentru sofer, de exemplu, de catre un operator
vehicul viteza sau ACC, pot fi furnizate de catre acestia ca
variabile se precizeaza iei 'generatie de variabile setare'
modul. However, since the variables detected in
the 'detection of driver intent' module which result from the request
for drive power to the wheels, the request for electrical power which the
onboard electricalsystem must provide for operating electrical consumers such
as headlights, rear window heating and radio, and the request for thermal power
for the interior climate control may also be supplied to the 'generation
of setpoint variables' module as well,these variables are combined,
together with the variables determined by the driver assistance systems, in the
'generation of setpoint variables' module. Cu toate acestea,
deoarece variabilele detectata in detectarea 'cu privire la
intentia conducatorului auto' modul care rezulta din
cererea de energie conduce la roti, cererea de energie electrica care
electricalsystem la bord trebuie sa asigure consumatorilor electrici de
operare, cum ar fi faruri, incalzire fereastra din spate si radio, precum
si cererea de energie termica pentru controlul climatul interior pot
fi furnizate si la 'generatia de variabile setare' modul, de
asemenea, aceste variabile sunt combinate, impreuna cu variabile
determinate de sistemele de asistenta a soferului, in
'generatia de setare variabile 'modul. Setpoint variables for mechanical power
P.sub.m,setpoint, electrical power P.sub.e,setpoint, andthermal power
P.sub.t,setpoint are determined by this 'generation of setpoint
variables' module. variabilele de setare pentru puterea Pm
mecanice, setare, puterea Pe electrice, setare, puterea andthermal Pt,
setare sunt determinate de aceasta generatie 'de variabile
setare' modul.
For determining an optimum
operating state x.sub.opt, information about the type of driver, the driving
conditions and environmental variables also may be provided to the
'determination of optimum operating state' module by a parameter
vector aafter detection by an additional module. Pentru a determina un
optim xopt stare de functionare, informatii despre tipul
de conducator auto, variabile conditiile de conducere si de
mediu, de asemenea, pot fi furnizate pentru determinarea 'de starea de
functionare optima' modulul de un parametru de detectare aafter
vector de un modul suplimentar.
According to a further
embodiment of the present invention, for determining optimum operating state
x.sub.opt in the 'determination of optimum operating state' module,
multiple possible operating states x.sub.k may be determined in real timeduring
vehicle operation, so that the unit system supplies required mechanical power
P.sub.m,setpoint, required electrical power P.sub.e,setpoint, and required
thermal power P.sub.t,setpoint. Potrivit unui intruparea in
continuare a inventiei de fata, pentru determinarea optima
xopt stare de functionare in determinarea 'de starea
de functionare optima' modul, mai multe posibile state de
operare xk pot fi stabilite in functiune reala
timeduring vehicul, astfel incat ca sistemul de unitatea de
livrarile de energie necesare Pm mecanice, setare, cerute de
putere Pe electrice, setare, si a cerut energie termica Pt,
setare. Operating states x.sub.k are selected so
that they satisfythe physical linkages, the limits of the storage systems and
the capacity of the units, a generalized consumption V being determined for
each operating state x.sub.k according to the computing rule: De operare
xk state sunt selectate astfel incat acestea satisfythe
legaturile fizice, limitele de sisteme de stocare si capacitatea de
unitati, un consum generalizate V fiind determinat, pentru fiecare xk
stare de functionare conform regulii de calcul:

De asemenea, pentru fiecare stare de
functionare xk valoarea unei functii de putere Γ is determined according to the computing rules:
este determinata in conformitate cu normele de calcul:
Într-o
intruchipare alternativa, pentru determinarea optima xopt stare
de functionare in determinarea 'de starea de functionare
optima' modulul, o varianta a doua sau un alt pas metoda
poate fi pusa in aplicare, in conformitate cu care, in
optimizationcalculations offline, x stare de functionare optima care
minimizeaza functia de putere Γ is
determined according to the computing rules: este determinata
pentru viteza v fiecare autovehicul si fiecare combinatie necesare
cerute de putere Pm mecanice, setare, cerute de energie
electrica Pe, setare, andrequired putere Pt termice,
setare, fiind efectuate pentru determinarea diferite valori ale parametrului a.
Optimum operating state x.sub.opt is stored in a
multidimensional characteristic map which is implemented in the
'determination of optimum operatingstate' module and which contains
input variables v, P.sub.m,setpoint, P.sub.e,setpoint, P.sub.t,setpoint and a,
the output variable being optimum operating state x.sub.opt. Optime de
stat xopt de operare este depozitat intr-o harta
caracteristica multidimensionale, care este pusa in aplicare
in determinarea 'de operatingstate optime' si care
contine modulul de intrare V variabile, Pm, setare, Pe,
Pt, si o setare, variabila de iesire fiind optime de
stat xopt de operare.
For carrying out the
method for the coordinated control of mechanical, electrical and thermal power
flows in a motor vehicle, the present invention also provides for a device in
which an engine control associated with the internal combustionengine, a
control, preferably in the form of a pulse-controlled inverter, associated with
the electric machine, and a transmission control associated with the automatic
transmission are connected via a CAN system to a vehicle control device in
which themethod according to the present invention is implemented, the position
of the accelerator pedal and thus the driver's request for mechanical power
P.sub.m,setpoint for the drive being derivable using the vehicle control
device. Pentru realizarea metodei de control coordonat al fluxurilor de
mecanica, energie electrica si termica intr-un
vehicul cu motor, prezenta inventie prevede, de asemenea un dispozitiv
in care un control al motorului asociate cu combustionengine interne, un
control, de preferinta sub forma unei invertor puls-controlate,
asociate cu masina electrica, precum si un control de transmisie asociate
cu transmisia automata sunt conectate printr-un sistem CAN la un
dispozitiv de control al vehiculului in care themethod conform
inventiei prezent este pus in aplicare, pozitia pedala de
acceleratie si, astfel, soferului cererea pentru putere Pm
mecanice, setare pentru unitatea fiind decurg utilizarea dispozitivului de
control al vehiculului. The vehicle controldevice
specifies setpoint engine torque M.sub.m,setpoint for the engine control,
setpoint torque M.sub.e,setpoint of the electric machine for the
pulse-controlled inverter, and setpoint gear g.sub.setpoint for the
transmission control. Controldevice vehiculului precizeaza cuplu
motor de setare Mm, setare pentru controlul motorului, setare cuplu
Me, setare a masinii electrice pentru invertor puls-controlate,
si setare gsetpoint unelte pentru transmiterea de control. In addition, byuse of this device, electrical power
requirement P.sub.e,setpoint of the electrical consumers, as well as that of
the pulse-controlled inverter connected to the onboard electrical system and
that of the battery, may be determined by the vehicle controldevice.
În plus, byuse ale acestui aparat, electrice cerinta Pe,
setare a consumatorilor electrici, precum si cea a invertorului puls
controlat conectat la sistemul electric de la bord si ca a bateriei,
poate fi determinata prin vehicul controldevice.
Scurta descriere a desene
FIG. 1 depicts a
system diagram of the units of the unit system of a motor vehicle, and the
physical interconnection of these units, according to one embodiment of the
present invention. 1 prezinta o diagrama sistem de
unitati ale sistemului unitar al unui vehicul cu motor, precum
si interconectarea fizice ale acestor unitati, in
conformitate cu o intruchipare a inventiei de fata.
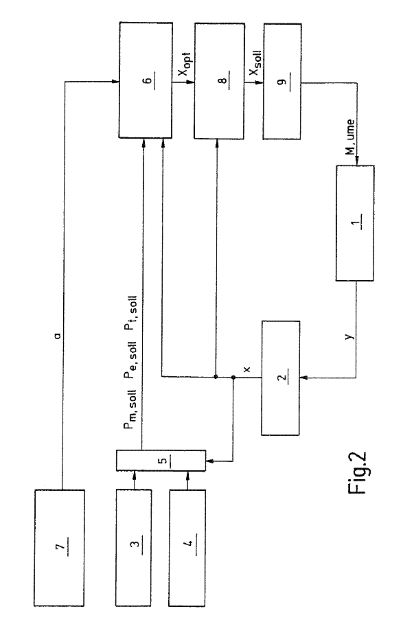
FIG. FIG. 2
depicts a schematic flow diagram of a control system by which the method for
coordinated control of the power flows in a motor vehicle is realized according
to one embodiment of the present invention. 2
infatiseaza un diagrama schematica a unui sistem de
control prin care metoda de control coordonat al fluxurile de energie
intr-un vehicul cu motor este realizat in conformitate cu o
intruchipare a inventiei de fata.
FIG. FIG. 3
depicts a block diagram of the technical implementation of the method for the
drive train of a motor vehicle according to one embodiment of the present
invention. 3 prezinta o diagrama bloc de punere in
aplicare tehnica a metodei de tren de rulare a unui autovehicul in
conformitate cu o intruchipare a inventiei de fata.
FIG. FIG. 4 depicts a schematic flow diagram for determining the
optimum operating state in the 'determination of optimum operating
state' module shown in FIG. 4 prezinta o diagrama
schematica pentru determinarea starea de functionare optima
in determinarea 'de starea de functionare optima'
modul in fig. 2 according to one embodiment
of the present invention. 2 in conformitate cu o
intruchipare a inventiei de fata
DESCRIERE
DETALIATA
Sistemul
de unitati in conformitate cu FIG. 1 provides mechanical power P.sub.m, electrical power
P.sub.e, and thermal power P.sub.t. 1 ofera puterea Pm
mecanica, energie electrica Pe, si de energie
termica Pt. The unit system may
include chemical, mechanical, electrical and thermal storage units whose energy
contents may eachincrease, decrease, or remain constant. Sistemul de
unitate poate include chimice, mecanice, electrice si termice
unitati de stocare a caror energie continutul poate
eachincrease, scaderea sau sa ramana constanta. The energy content of the chemical storage may be
represented by E.sub.c, that of the mechanical storage by E.sub.m, that of the
electrical storage by E.sub.e, and that of the thermal storage by E.sub.t.
Continut de energie de stocare chimice pot fi reprezentate de Ec,
ca de stocare mecanice prin Em, ca de stocare electrice
prin Ee, si ca de stocare termice de catre Et.
The rateof change of the energy content of the
chemical storage is dE.sub.c/dt, that of the mechanical storage dE.sub.m/dt,
that of the electrical storage dE.sub.e/dt, and that of the thermal storage
dE.sub.t/dt. Schimbare rateof din continutul de energie de stocare
chimice este dEc / dt, ca a dEm de stocare mecanice
/ dt, ca a dEe de stocare electrice / dt, si ca a dEt
de stocare termica / dt. The operating state
of each of the units may becharacterized by a vector x.sub.i whose elements
describe the state variables of the unit, for example rotational speed, torque,
temperature and electrical current. Starea de functionare din
fiecare dintre unitatile pot becharacterized xi de un
vector ale carui elemente descriu variabilele de stare de unitate, de
exemplu, viteza de rotatie, a cuplului, temperatura si curent electric. For example: The operating state of a converter of
chemical to mechanical energy, aninternal combustion engine, for example, is
described by x.sub.cm; The operating state of a converter of mechanical to
electrical energy, a generator, for example, is described by x.sub.me; The
operating state of a converter of electrical to mechanicalenergy, an electric
drive motor, for example, is described by x.sub.em; The operating state of a
converter of electrical to thermal energy, an electric heating device, for
example, is described by x.sub.et; The operating state of a converter of
chemicalto electrical energy, a fuel cell, for example, is described by
x.sub.ce; The operating state of a converter of mechanical to thermal energy, a
shaft bearing which must be cooled, for example, is described by x.sub.mt; and
The operating state of aconverter of chemical to thermal energy, an auxiliary
heater, for example, is described by x.sub.ct. De exemplu: starea de
functionare a unui convertor de energie mecanica, chimica, motor
cu ardere aninternal, de exemplu, este descris de xcm; stare de
functionare a unui convertor de mecanica in energie
electrica, un generator, de exemplu, este descrise de x.sub.me; stare de
functionare de un convertor de la energie maecanica la energii electrice,
un motor de actionare electrica, de exemplu, este descris de
x.sub.em; stare de functionare de un convertor electric de la energie
termica, electrica dispozitiv de incalzire, de exemplu,
este descris de xet; stare de functionare a unui convertor de
energie electrica chemicalto, o celula de combustibil, de exemplu, este
descris de xce; stare de functionare a unui convertor de
mecanica la energie termica, un rulment arbore care trebuie sa
fie racit, de exemplu, este descris de xmt si starea de
functionare a aconverter de chimice de energie termica, un
incalzitor auxiliar, de exemplu, este descris de xCT.
Starea
de functionare a transformatoarelor este descris intr-o maniera
similara. For example: The operating state of
a chemical transformer, a methanol to hydrogen reformer, for example, is
described by x.sub.cc; The operating state of a mechanicaltransformer, an
automatic transmission, for example, is described by x.sub.mm; The operating
state of an electrical transformer, a DC converter, for example, is described
by x.sub.ee; and The operating state of a thermal transformer, a heat
exchanger,for example, is described by x.sub.tt. De exemplu: starea de
functionare a unui transformator chimice, metanol la un reformator de
hidrogen, de exemplu, este descris de xcc; stare de functionare
a unei mechanicaltransformer, unei transmisii automate, de exemplu, este
descris de xmm; stare de functionare a unui transformator electric,
un convertor DC, de exemplu, este descris de xee si starea de
functionare a unui transformator termic, un schimbator de
caldura, de exemplu, este descris de xtt .
Each of the units,
including the storage systems, converters and transformers, may appear multiple
times in the unit system. Fiecare dintre unitati, inclusiv sisteme
de stocare, convertizoare, transformatoare, poate aparea de mai multe ori
in sistemul de unitate. Accordingly,
additional operating states x.sub.i are used for the description.
În consecinta, statele x.sub.i suplimentare de operare sunt
utilizate pentru descrierea.
One unit may also convert
multiple forms of energy. O unitate poate converti, de asemenea, mai multe
forme de energie. Thus, an internal combustion
engine converts chemical energy into mechanical and thermal energy.
Astfel, un motor cu ardere interna transforma energia chimica
in energie mecanica si termica. The state of such a unit is likewise uniquely described
by an operating state, for examplex.sub.cmt. Stare de o astfel de
unitate este de asemenea unic descris de o stare de functionare, pentru
example xcmt.
The unit system may
provide multiple outputs for mechanical, electrical and/or thermal energy. Sistemul de
unitate pot prevedea iesiri multiple pentru mecanice, electrice si /
sau energie termica. Thus, for example, a
unit system having a 14/42 V dual-voltage onboard electrical system is provided
both with an output for 14 V electrical consumersand an output for 42 V
electrical consumers. Astfel, de exemplu, un sistem cu o unitate de
14/42 V cu voltaj dublu bord sistemul electric este prevazuta
atat cu o putere de 14 V consumersand electrice cu o putere de 42 V
consumatorilor electrici. Multiple mechanical
outputs are possible as well, for example in utility vehicles having auxiliary
drives. iesiri mecanice multiple sunt posibile, precum, de exemplu
in vehicule utilitare cu drive auxiliar.
The quantity of operating
states x.sub.i of the units and the energy contents of the storage systems may
describe the overall operating state x of the unit system according to
computing rule 1: Cantitatea de state de operare xi a
unitatilor si continutul de energie al sistemelor de
stocare pot descrie starea de functionare generala x ale sistemului
de unitati in conformitate cu regula de calcul 1:

În sistemul
de control pentru control coordonat al fluxurile de energie si stari
ale sistemului de unitati in conformitate cu FIG. 2, unit system 1 is actuated by a vector of manipulated
variables u. 2, 1 unitate de sistem este actionat de un vector de
variabile manipulate u. Each actuated unit has an
input for control signals, for exampleume for a converter of mechanical to
electrical energy. Fiecare unitate actionat are o intrare pentru
semnale de control, pentru exampleume pentru un convertor de mecanica
in energie electrica. The actual
control of the unit may be achieved in each particular case by a control unit,
for example ME, EDC, or inverter control. Controlul efectiv de unitate
pot fi obtinute in fiecare caz in special printr-o unitate de
control, de exemplu, ME, ECD, de control sau invertor. The state of the units of unit system 1 is determined by
avector of measured variables y. Starea de unitati a
sistemului Unitatea 1 este determinata de avector de variabile
masurate Y. These measured variables may be
ascertained directly by sensors (not further described), or also may include
derived variables that are determined by unit control units. Aceste
variabile masurate pot fi determinate direct de senzori (nu mai mult
descrise), sau poate include, de asemenea, derivate variabile care sunt
determinate de catre unitatile unitate de control. Measured variables y are combined, and actualoperating
state x of unit system 1 is determined in a 'determination of actual
operating state' module 2. Variabile masurate y sunt
combinate, si actualoperating starea x Unitatea 1 a sistemului este
determinata intr-o determinare 'de stat de functionare
reale' modulul 2. To this end, physical
computational models may be used for describing the units and unit system 1,
including for example observers. În acest scop, modelele fizice de
calcul pot fi utilizate pentru a descrie sistemul de unitati si
unitati 1, inclusiv pentru observatorii exemplu.
The driver's intent is
detected in a 'detection of driver intent' module 3. intentia
conducatorului auto este detectat intr-o detectie 'cu
privire la intentia conducatorului auto', modulul 3. This module detects in particular the request for drive
power to the wheels, the request for electrical power which the onboard
electrical system must provide foroperating electrical consumers such as
headlights, rear window heating and radio, and the request for thermal power
for the interior climate control. Aceasta detecteaza modul in
special cererea de energie conduce la roti, cererea de energie
electrica de la bord care sistemul electric trebuie sa furnizeze
consumatorilor foroperating electrice, cum ar fi faruri, incalzire fereastra
din spate si radio, precum si cererea de energie termica pentru
climatul interior de control . Driver assistance
systems 4 may also generate specified variables. sisteme de
asistenta a soferului 4 mai genera, de asemenea, variabile
specificate. They are combined with thevariables
determined by the 'detection of driver intent' module 3 in a 'generation
of setpoint variables' module 5. Acestea sunt combinate cu
thevariables determinata de detectie 'cu privire la
intentia conducatorului auto', modulul 3 intr-o
'generatie de variabile setare' modulul 5. This module determines setpoint variables for mechanical
power P.sub.m,setpoint, electrical power P.sub.e,setpoint, and thermal
powerP.sub.t,setpoint. Acest modul determina variabile setare
pentru putere Pm mecanice,
setare, puterea Pe electrice, Pt si termica, setare. Each of these setpoint variables may appear multiple
times. Fiecare dintre aceste variabile setare poate aparea de mai
multe ori.
'Determination of
optimum operating state' module 6 forms the core of the control system.
'Determinarea stare de functionare optima' modulul 6 forme
de baza ale sistemului de control. This
module determines an optimum operating state x.sub.opt for unit system 1.
Acest modul optim xopt determina o stare de functionare
pentru sistemul de unitate 1. It receives as input
variables the setpoint values from 'generation ofsetpoint variables'
module 5, and receives actual operating state x from 'determination of
actual operating state' module 2. Acesta primeste ca variabile
de intrare setare valorile de la 'variabilele ofsetpoint
generatie' de stat modulul 5, si primeste de
functionare reale x din 'determinarea stare de functionare
reale' modulul 2. In addition, information
about the type of driver, the driving conditions, and environmental variables
is used which is providedby a module 7 via a parameter vector a.
În plus, informatiile despre tipul de sofer, conditiile de
conducere, iar variabilele de mediu este utilizat, care este un modul
providedby 7 prin intermediul unui vector parametru a.
A 'determination of
setpoint operating state' module 8 determines setpoint operating state
x.sub.setpoint based on actual operating state x and optimum operating state
x.sub.opt. Un determinarea 'de setare de operare de stat' setare
determina modul de operare de stat 8 xsetpoint bazeaza pe
starea de functionare reale x si optima de stat xopt
de operare. This module 8 may help ensure a smooth
transition betweeninstantaneous operating state x and the optimum operating
state x.sub.opt to be achieved. Acest modul 8 mai a asigura o
tranzitie lina stare de functionare betweeninstantaneous x
si optime de stat xopt de operare sa fie atins. An 'actuation of unit system' module 9
determines a vector of manipulated variables u in such a way that operating
state x.sub.setpoint is established in unitsystem 1. Un actionare
'a sistemului de unitate' Modulul 9 determina un vector de
variabile u manipulate in asa fel incat xsetpoint
stare de functionare este stabilit in unitsystem 1.
Assuming that the method
according to the present invention optimizes consumption, comfort, emissions
and dynamic vehicle response, a generalized consumption V may be determined
according to computing rule 2: Presupunand ca metoda in
functie de consumul actual optimizeaza inventie, confort,
emisiile si raspunsul dinamic al vehiculului, un consum generalizate
V pot fi stabilite in conformitate cu regula de calcul 2:

Factori
εare energy equivalence numbers which
describe the varying rate of usability of the stored energies. sunt
numere de energie echivalenta care descriu diferite rata de utilizare a
energiilor stocate. Thus, the energy stored in the
storage for mechanical energy has a higher energy equivalence number than the
chemical energystored in the fuel tank. Astfel, energia stocata
in energie mecanica pentru depozitare are o energie mai mare
decat numarul de echivalenta energystored chimice in
rezervorul de combustibil. The values of the
energy equivalence numbers may be adapted on a long-term basis during vehicle
operation. Valorile energetice echivalentei numere poate fi adaptat
pe o baza pe termen lung in timpul functionarii
vehiculului.
Factors .nu.(a) are
weighting factors which weight the changes in the energy content of the
individual storage units. Factorii Nu.. (A) sunt factori de ponderare care
greutatea schimbari in continutul energetic al
unitatilor individuale de stocare. Their
values are determined as a function of a parameter vector a. Valorile
lor sunt determinate in functie de un vector parametru a. This parameter vector a describes, among other things,
thetype of driver (sporty, economical), the driving conditions (curve, city
driving), and environmental variables (grade, roadway class, temperature).
Acest parametru un vector descrie, printre altele, thetype de conducator
auto (sportiv, economic), conditiile de conducere (curba, de conducere
municipiu), iar variabilele de mediu (gradul, clasa pista,
temperatura). Environmental variables may
also include information about the course of the roadway ahead andinformation
which telematic systems are able to provide, in particular curvature of the
roadway ahead, grade of the roadway ahead, distance to the next intersection,
etc. variabilele de mediu pot include, de asemenea, informatii
despre cursul de pe pista inainte andinformation sisteme telematice care sunt
in masura sa furnizeze, in special curbura de
pe pista de viitor, gradul de pe pista de perspectiva, distanta
pana la urmatoarea intersectie, etc
Generalized quality gauges
G.sub.i for optimizing dynamic vehicle response, emissions and comfort may be
defined as a function of operating state x of unit system 1. Generalizate de
masurare a calitatii G.sub.i pentru optimizarea raspunsului
dinamic al vehiculului, emisiilor si confort poate fi definit ca o
functie de starea de functionare a sistemului de unitate x 1. For example: A quality gauge G1(x) describes the dynamic
power reserve formechanical energy with respect to an operating state x.
De exemplu: Un indicator de calitate G1 (X) descrie dinamica de energie rezerva
de energie formechanical cu privire la o stare de functionare x. The dynamic power reserve for mechanical energy
indicates what additional mechanical energy--beyond mechanical energy
P.sub.m(x) supplied for operating state x--unit system 1 is able to provide
foroperating state x with high time dynamics. Rezerva de energie dinamic
pentru energie mecanica, ceea ce indica suplimentare de energie
mecanica - dincolo de energie Pm mecanice (x) furnizate pentru
starea de functionare x - sistem de Unitatea 1 este in
masura sa ofere foroperating stat X cu dinamica mare de timp. For a vehicle drive with an electric motor and an
internal combustion engine, the dynamic power reserve for mechanical energy
depends, for example, on the maximum power of the internal combustion engine
for theinternal combustion engine speed at operating state x, on the maximum
power of the electric motor at the electric motor speed for operating state x,
and the charge state of the battery. Pentru o unitate de vehicul cu un
motor electric si un motor cu combustie interna, rezerva de energie
dinamice pentru energie mecanica, depinde, de exemplu, cu privire la
puterea maxima a motorului cu ardere interna pentru motor cu ardere
theinternal viteza la starea de functionare x, pe de o putere maxima
de motorul electric de la motorul electric de viteza pentru starea de
functionare x, si de stat responsabil cu bateria. A quality gauge G2(x) describes the dynamic power
reserve forelectrical energy in connection with an operating state x. Un
indicator de calitate G2 (x) descrie dinamica de energie rezerva de energie
forelectrical in legatura cu o stare de functionare x. The dynamic power reserve for electrical energy
indicates what additional electrical energy--beyond electrical energy
P.sub.e(x) supplied for operating state x--the unit system is able to
providefor operating state x with high time dynamics. Rezerva de putere
dinamica de energie electrica ce indica suplimentare de energie
electrica - dincolo de energie electrica Pe (x) furnizate
pentru starea de functionare x - sistemul de unitate este in
masura sa providefor stare de functionare X cu dinamica
mare de timp. A quality gauge G3(x) describes the
dynamic power reserve for thermal energy for an operating state x. Un
indicator de calitate G3 (x) descrie rezerva de energie dinamica pentru energia
termica pentru o stare de functionare x. The dynamic power reserve for thermal energy indicates
what additional thermal energy--beyond thermalenergy P.sub.t(x) supplied for
operating state x--unit system 1 is able to provide for operating state x with
high time dynamics. Rezerva de putere dinamica pentru energia
termica indica ce suplimentare de energie termica - dincolo de
thermalenergy Pt (x) furnizate pentru starea de functionare x -
sistem de Unitatea 1 este in masura sa ofere pentru
operarea de stat x cu dinamica mare de timp. A
quality gauge G4(x) describes the emission of air pollutants (HC, CO, NO.sub.x)
for an operating state x. Un G4 calitate gabaritului (x) descrie emisia
de poluanti atmosferici (HC, CO, NO.sub.x) pentru o stare de
functionare x. Large valuesfor G4(x) may be
obtained for low emissions. G4 mari valuesfor (x) pot fi obtinute
pentru emisii reduse. A quality gauge G5(x)
describes the noise emissions in the vehicle surroundings for an operating
state x, large values for G5(x) may be obtained for low noise emissions.
Un indicator de calitate G5 (x) descrie emisiilor de zgomot in
imprejurimile vehicul pentru o stare de functionare x, valori mari
pentru G5 (x) poate fi obtinuta pentru emisiile de zgomot redus. A quality gauge G6(x) describes thevibrational comfort
for the vehicle passengers for an operating state x. Un indicator de
calitate G6 (x) descrie thevibrational confort pentru pasageri vehicul pentru o
stare de functionare x. A large value for
G6(x) may correspond to a high comfort level. O valoare mare pentru G6
(x) poate sa corespunda unui nivel de confort ridicat. A quality gauge G7(x) describes the sound emissions in
the vehicle interior for an operating state x. Un indicator de calitate
G7 (x) descrie a emisiilor sonore in interiorul vehiculului pentru o
stare de functionare x. A large valuefor
G7(x) may correspond to low sound emissions. O mare valuefor G7 (x)
poate corespunde cu emisiile scazute de sunet. A quality gauge G8(x) describes the wear on the units
and storage units for an operating state x. Un indicator de calitate G8
(x) descrie purta pe unitati si unitati de stocare
pentru o stare de functionare x. A low rate
of wear, ie, a long operating life, may be described by large values for G8(x).
O rata scazuta de uzura, de exemplu, o viata
lunga de functionare, pot fi descrise de valori mari pentru G8 (x).
An overall quality gauge
G(x) may be determined according to computing rule 3: Un ansamblu de
calitate gabaritul g (x) pot fi stabilite in conformitate cu regula de
calcul 3:

Valorile
factorilor de ponderare Γ (A) sunt determinate in functie de
vector parametrului a.
For optimizing
consumption, comfort, emissions and vehicle response, the method according to
one embodiment of the present invention minimizes a power function according to
computing rule 4: .GAMMA.(x)=V(x)-G(x)+.DELTA.P(x). Pentru optimizarea
consumului, confort, emisiile si raspunsul vehiculului, in
conformitate cu o metoda de intruchipare a inventiei prezenta
minimizeaza o putere functie in conformitate cu regula de
calcul 4:

Power deviation .DELTA.P(x)
describes the deviation of the powers supplied by unit system 1 from the
setpoint powers according to computing rule 5, as follows: Abaterea de putere ΔP (. X) descrie abaterea
puterilor furnizate de sistemul de Unitatea 1 de la competentele de setare
in conformitate cu regula de calcul 5, dupa cum urmeaza:

Weighting
factors .pi.m(a), .pi.e(a) and .pi.t(a) are set as a function of parameter
vector a. Factorii de
ponderare πm (a) π e(a)
si πt(a) sunt stabilite in functie de vector parametrului
a.
Alternatively, two
different methods may be carried out for determining optimum operating state
x.sub.opt in 'determination of optimum operating state' module 6
according to one embodiment of the present invention: 1. Alternativ,
doua metode diferite pot fi efectuate pentru determinarea optima
x.sub.opt in stare de functionare 'determinarea stare de
functionare optima' Modulul 6 in conformitate cu o
intruchipare a inventiei de fata: 1. Multiple possible operatingstates x.sub.k may be determined
in real time during vehicle operation, so that the unit system provides
required mechanical power P.sub.m,setpoint, required electrical power
P.sub.e,setpoint, and required thermal power P.sub.t,setpoint. Mai multe
posibil operatingstates xk poate fi stabilita in timp
real in timpul functionarii vehiculului, astfel
incat sistemul Unitatea ofera puterea necesara Pm
mecanice, setare, cerute de putere P.sub.e electrice, setare si necesare
de energie termica Pt, setare. Operatingstates
x.sub.k may be selected so that they satisfy the physical linkages, the limits
of the storage systems, and the capacity of the units. Operatingstates xk
pot fi selectate astfel incat acestea sa
indeplineasca legaturi fizice, limitele sistemelor de stocare,
precum si capacitatea de unitati. A
generalized consumption V may be determined for each operating state x.sub.k
according to computing rule 2. Un consum generalizate V poate fi
determinata pentru fiecare x.sub.k stare de functionare in
conformitate cu regula de calcul 2. Likewise, the
value of a power function .GAMMA. De asemenea, valoarea unei
functii de putere Γ pot fi stabilite pentru fiecare xk
stare de functionare in conformitate cu normele de calcul 3 si
4. The operating state for which the power
function assumes a minimum value is specified as optimum operating
statex.sub.opt. Stare de functionare, pentru care isi
asuma functia de putere la o valoare minima este specificat ca
state xopt de operare optime.
2. In offline optimization calculations, for each
vehicle speed v and for each required combination of required mechanical power
P.sub.m,setpoint, required electrical power P.sub.e,setpoint, and required
thermal power P.sub.t,setpoint,optimum operating state x.sub.opt is determined
which minimizes power function .GAMMA.. În calculele offline de
optimizare, pentru viteza v fiecare autovehicul si pentru fiecare
combinatie necesare cerute de putere P.sub.m mecanice, setare, cerute de
putere Pe electrice, setare, si a cerut putere P.sub.t termice,
SetPoint, optime de stat xopt de operare este determinata, care
minimizeaza functia de putere Γ. The
determination may be made for various values of parameter a.
Determinarea se poate face pentru diferite valori ale parametrului a. Optimum operating state x.sub.opt may be stored in a
multidimensional characteristic map whichcontains input variables v,
P.sub.m,setpoint, P.sub.e,setpoint, P.sub.t,setpoint, and a. Optime de
stat xopt de operare pot fi stocate intr-o caracteristica
de intrare multidimensionale harta whichcontains variabile V, Pm,
setare, Pe, setare, Pt, setare, si a. The output variable of the multidimensional
characteristic map may be optimum operating state x.sub.opt.
Variabila de iesire de pe harta caracteristica
multidimensionale poate fi optim de stat xopt de operare. The multidimensional characteristic map is implemented
in'determination of optimum operating state' module 6. Harta
multidimensionale caracteristic este pusa in aplicare in
'determinarea stare de functionare optima' modulul 6.
The implementation of the
method for coordinated control of mechanical, electrical and thermal power
flows in a motor vehicle is described in one embodiment shown in FIG. Punerea in
aplicare a metodei de control coordonat al fluxurilor de mecanica, energie
electrica si termica intr-un vehicul cu motor este descris
intr-un singur intruchiparea in fig. 3 based on the drive train of the motor vehicle having
an electric machine12 situated on crankshaft 10 of internal combustion engine
11, thus a crankshaft start generator. 3 bazate pe tren de rulare a
autovehiculului electric cu o machine12 situat pe arborele cotit 10 din motor
cu ardere interna 11, astfel, un generator incepe arborelui cotit. Whereas internal combustion engine 11 is controlled by
engine control 13, electric machine 12 is controlled by a pulse-controlled
inverter 14. Întrucat motor cu ardere interna 11 este
controlata de control al motorului 13, 12 masini electrice este
controlata de un invertor impulsuri controlate 14. Automatictransmission 15 is controlled by transmission
control 16. Automatictransmission 15 este controlata de
comanda a transmisiei 16. This control, in
addition to engine control 13 and pulse-controlled inverter 14, are connected
via a CAN system 17 to a vehicle control device 18 in which the method according
to the presentinvention is carried out. Acest control, in plus
fata de control al motorului 13 si invertor impulsuri controlate
de 14, sunt conectate prin intermediul unui sistem CAN 17 la un dispozitiv de
control vehicul 18 in care metoda in conformitate cu
presentinvention se efectueaza. Vehicle
control device 18 determines the position of accelerator pedal 19 and from it,
deduces the driver's request for mechanical power P.sub.m,setpoint for the
drive. Vehiculului dispozitiv de control 18 determina pozitia
pedala de acceleratie 19 si de la ea, deduce cererea
conducatorului auto pentru putere Pm mecanice, setare pentru
unitate. Vehicle control device 18 specifies
setpoint enginetorque M.sub.m,setpoint for engine control 13 and specifies
setpoint torque M.sub.e,setpoint of electric machine 12 for pulse-controlled
inverter 14. Vehiculului dispozitiv de control 18 specifica setare
enginetorque Mm, setare pentru controlul motorului 13 si
precizeaza setare cuplu M.sub.e, setare a masinii electrice 12 pentru
invertor impulsuri controlate 14. Setpoint gear
g.sub.setpoint is specified for transmission control 16. Setpoint
g.sub.setpoint viteze este specificat pentru controlul de transmisie 16. Pulse-controlled inverter 14 isconnected to the onboard
electrical system, to which the electrical consumers and a battery 20 are also
connected. invertor Pulse controlate 14 isconnected la bord sistemul
electric, la care consumatorii electrice si o baterie de 20 sunt, de
asemenea, conectate. Vehicle control device 18 may
determine, via electrical consumer devices, the need for electrical power
P.sub.e,setpoint by the electricalconsumers. Vehiculului dispozitiv de
control 18 mai stabili, prin intermediul dispozitivelor electrice de consum,
nevoia de putere Pe electric, setare de electricalconsumers.
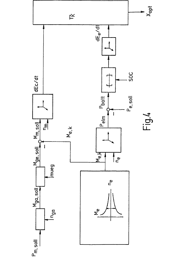
The determination of
optimum operating state x.sub.opt in 'determination of optimum operating
state' module 6 according to FIG. Determinarea xopt
optime in stare de functionare 'determinarea stare de
functionare optima' Modulul 6 conform Fig. 2 is described below with reference to the schematic
flow diagram according to one embodiment of the present inventionshown in FIG.
2 este descris mai jos cu referire la diagrama schematica in
conformitate cu o intruchipare a inventionshown prezente in FIG. 4.
Setpoint transmission
output torque M.sub.ga,setpoint is determined from required mechanical power
P.sub.m,setpoint according to computing rule
M.sub.ga,setpoint=P.sub.m,setpoint/nga, where nga is the transmission output
speed. Setare de transport de iesire cuplu M.sub.ga, setare este
determinata de puterea necesara Pm mecanice, setare
in conformitate cu regula de calcul Mga, setare = Pm,
setare / NGA, in cazul in care este NGA iesire viteza de
transmisie. Setpointtransmission input torque
M.sub.ge,setpoint is calculated to be M.sub.ge,setpoint=M.sub.ga,setpoint/mueg,
where mueg denotes the torque amplification of automatic transmission 15 at the
instantaneously engaged gear. Setpointtransmission intrare cuplu
M.sub.ge, setare este calculata pentru a fi Mge, setare = Mga,
in cazul in care se denota amplificarea cuplu de transmisie
automata 15 la viteze instantaneu angajat.
For the drive train shown
in FIG. Pentru tren de rulare in fig. 3, the
following relationship according to computing rule 6 M.sub.ge=M.sub.m+M.sub.e
is valid, where M.sub.m describes the effective engine torque and M.sub.e
describes the torque of electric machine 12. 3, urmatoarea
relatie de calcul in conformitate cu regula 6 Mge = Mm
+ Me este valabil, in cazul in care Mm
descrie cuplul motor eficient si Me descrie cuplu de
masini electrice 12. Theoperating state of
unit system 1 is characterized by computing rule 7 x=(M.sub.m, M.sub.e, g, nga)
where g describes the engaged transmission gear and nga describes the transmission
output speed. Theoperating de stat a sistemului Unitatea 1 este
caracterizat de regula de calcul 7 x = (Mm, Me, g, SNG)
unde g descrie transmisie angajate si nga descrie iesire viteza de
transmisie. Engine speed nm and speed ne of
electric machine 12 areequal, and are specified by gear g and transmission
output speed nga. Motorului nm viteza si ne viteza de 12
de masini electrice areequal, si sunt specificate de g de viteze si viteza
de transmisie de iesire NGA.
Possible operating states
x.sub.k are determined by varying torque M.sub.e of electric machine 12, within
the limits of the characteristic curve for the minimum and maximum torque, in
discrete steps using an applicable increment. Posibile state de operare
x.sub.k sunt determinate de diferite M.sub.e cuplu de masini electrice de 12,
in limitele curbei caracteristice pentru cuplul de forte minime
si maxime, in trepte discrete utilizand o crestere
aplicabile.
Electrical power P.sub.elm
of electric machine 12 results from torque M.sub.e and speed ne of electric
machine 12, using a characteristic map. puterea P.sub.elm
electrice de masini electrice 12 rezultate din M.sub.e cuplului si NE
viteza de masini electrice de 12, utilizand o harta
caracteristica. Positive torques (machine
operating in drive mode) result in electrical power
consumption(P.sub.elm<0). cuplurile pozitive (masina de
operare in unitatea de modul) duce la consumul de energie electrica
(Pelm <0). Negative torques (machine
operating in generator mode) result in electrical power output
(P.sub.elm>0). Cuplurile de negative (de operare calculator,
in cadrul generator de mode) rezultat in productia de energie
electrica (Pelm> 0). The
electrical power output of battery 20 is calculated from required electrical
power P.sub.e,setpoint and the powerconsumed/output by electric machine 12,
according to computing rule 8: P.sub.batt=P.sub.elm-P.sub.e,setpoint
Productia de energie electrica a acumulatorului 20 este
calculata din puterea necesara Pe electrice, setare
si powerconsumed / iesire prin masina electrica 12,
in conformitate cu regula de calcul 8: Pbatt = Pelm-Pe,
setare
Subsequently, only
operating states x.sub.k for which P.sub.batt is in a predetermined interval
are pursued further. Ulterior, numai de operare state xk Pbatt
pentru care este intr-un interval prestabilit sunt urmarite in
continuare. This interval may be set as a function
of charge state SOC of battery 20. Acest interval se poate stabili ca o
functie de stat SOC incarcare a bateriei 20.
From P.sub.batt, dE.sub.e/dt
is determined using an efficiency characteristic map for battery 20. Din Pbatt,
dEe / dt este determinata utilizand o eficienta
harta caracteristice pentru baterie 20. dE.sub.c/dt
is determined from the setpoint engine torque obtained according to computing
rule 9 M.sub.m,setpoint=M.sub.ge,setpoint=M.sub.e and aconsumption
characteristic map of internal combustion engine 11. dEc / dt
este determinat din cuplul motor setare obtinute in conformitate cu
regula de calcul 9 Mm, setare = Mge, setare = Me
si aconsumption harta caracteristica a motorului cu ardere
interna 11 . Variables dE.sub.m/dt and
dE.sub.t/dt are set to zero in the application example. Variabile dEm
/ dt si dEt / dt sunt setate la zero in
exemplu de aplicare. Using computing rules 2, 3,
and 4, the operating state x.sub.k=((M.sub.ge,setpoint-M.sub.e,k),(M.sub.e,k),
g, nga) is selected for which .GAMMA. Utilizarea regulilor de calcul 2,
3 si 4, starea de functionare xk = ((Mge -Me),
(Me, k), g, nga) este selectata pentru care Γ presupune un
nivel minim. Setpoint operating state
x.sub.setpoint is set equal to optimum operating state x.sub.opt. Setare
de stat x.sub.setpoint de operare este setat egal cu optima de operare xopt
de stat. The manipulated variables for the units,
determined in 'actuation of unit system' module 9in FIG.
Variabile manipulate pentru unitatile, determinata in
'functiune a sistemului de unitate' 9in modulul FIG. 2, are M.sub.m,setpoint, M.sub.e,setpoint and
g.sub.setpoint. 2, sunt Mm, setare, Me, setare
si gsetpoint.
In the described sequence,
gear g.sub.setpoint is not varied; rather, it is assumed that the gear is
predetermined from an arithmetic block for transmission control. În
secventa de descris, gsetpoint de viteze nu este variat, mai
degraba, se presupune ca este predeterminata de viteze de la un
bloc de aritmetica pentru controlul de transmisie. However, in a further advantageous embodiment the
setpoint gear may bedetermined by the optimization method in
'determination of optimum operating state' module 6 according to FIG.
Cu toate acestea, intr-o intruchipare avantajoasa si mai
mult de viteze setare poate bedetermined prin metoda de optimizare in
'determinarea stare de functionare optima' Modulul 6
conform Fig. 2. To this end, the above-described computing steps are
performed for the instantaneous gear as well as for the next higher and next
lowergear. În acest scop, pasii de mai sus-descrise de calcul
sunt efectuate pentru transmisia de instantanee, precum si pentru
urmatorii superior si lowergear viitor. The
gear for which power function .GAMMA. Unelte pentru care functia de
putere. Gamma. assumes a minimum is determined as
the optimum gear. presupune o minima este determinata ca fiind
de viteze optime.