![]() | Aeronautica | Comunicatii | Constructii | Electronica | Navigatie | Pompieri |
| Tehnica mecanica |
INJECTOARE. DESCRIERE. FUNCTIONARE.
Injectorul este organul care indeplineste functia de a pulveriza combustibilul si de a-l introduce, astfel pulverizat, in camera de ardere.
Injectia la motoarele Diesel, poate fi de doua feluri: injectie pneumatica si injectie mecanica.
Injectia mecanica este folosita in prezent la aproape toate motoarele Diesel, in orice caz la toate motoarele Diesel rapide usoare, deoarece permite folosirea unei pompe de injectie cu dimensiuni si consum de putere reduse.
Injectoarele mecanice sunt de doua tipuri: deschise si inchise.
A. INJECTOARE DE TIP DESCHIS.
La
injectoarele deschise, pulverizatorul prin care trece combustibilul este
totdeauna deschis; fiind insa foarte mic, combustibilul se scurge prin el numai
atunci cind are o presiune ridicata, iar aceasta presiune nu exista decit in
perioada de injectie. In figura 76 de
mai jos se arata un exemplu de injector mecanic de tip deschis, cu un singur
jet:
Fig. 76: Injector mecanic de tip
deschis cu un singur jet.
Injectoarele de tip deschis prezinta avantajul ca sunt simple, deci ieftine si ca toate piesele lor sunt fixe, deci nu exista pericol de uzura. Ele prezinta insa dezavantajul ca presiunea data de pompa de injectie variaza, crescind pina la o valoare maxima si apoi descrescind din nou; din cauza acestei variatii de presiune, pulverizarea combustibilului nu se face deopotriva de bine in tot timpul injectiei, la inceputul si sfirsitul ei combustibilul nefiind prea bine pulverizat.
La ridicarea pistonului in pompa de injectie, deschiderile de aspiratie se inchid treptat si presiunea incepe sa creasca. Inceputul teoretic al debitarii, are loc la inchiderea completa a gaurilor din cilindrul pompei. Diferenta de presiune creste apoi din ce in ce mai mult, pina cind debitarea este intrerupta de deschiderea supapei sau a orificiului de descarcare a pompei. In timpul descarcarii combustibilului din pompa, presiunea scade foarte rapid.
Micsorarea perioadei de crestere si descrestere a presiunii se poate realiza prin reducerea volumului tevilor de injectie, prin constructia de tevi foarte rigide si prin marirea sectiunilor de scurgere a combustibilului la descarcarea pompei si a conductelor de inalta presiune.
B. INJECTOARE DE TIP INCHIS.
La injectoarele inchise, pulverizatorul care are forma unui con, este inchis cu ajutorul unui ac cu virful cilindric sau conic, care se asaza pe scaunul format in corpul injectorului. Acul deschide orificiul injectorului numai in timpul injectiei propriu-zise. Acul injectorului este tinut apasat pe scaunul sau de catre un arc, iar ridicarea lui de pe scaun se face fie prin comanda hidraulica (chiar combustibilul, in timpul in care primeste de la pompa de injectie o presiune ridicata, impinge in sus acul), fie prin comanda mecanica (un arbore cu came ridica acul de pe scaunul sau).
Injectoarele de tip inchis cu comanda mecanica au avantajul ca durata injectiei este perfect controlata prin arborele cu came care comanda deschiderea acului; in schimb, apare dezavantajul unui mecanism complicat pentru comanda acului. Injectoarele cu comanda mecanica sunt folosite mai ales la motoarele Diesel stabile de mare putere.
Cele mai folosite injectoare sunt insa cele de tip inchis cu comanda hidraulica. Combustibilul patrunde cu presiune sub un umar al acului, pe care il ridica de pe scaunul sau, deschizind astfel o trecere spre camera de ardere. La injectoarele de tip inchis cu comanda hidraulica se evita mecanismul complicat de la comanda mecanica si, in acelasi timp, exista siguranta ca ridicarea acului se face numai de la o anumita presiune a combustibilului care trebuie injectat.
La injectoarele inchise, acul poate avea diferite forme, de cele mai multe ori fiind conic. In figura 77. sunt aratate acele de inchidere si pulverizatoarele unor injectoare cu comanda mecanica. Injectorul din figura 77. b. are un ac in forma de con foarte ascutit, care, la ridicarea sa, produce o variatie continua a sectiunii de trecere a combustibilului. La inceputul injectiei, cind presiunea combustibilului este mica, acul se ridica mai putin. Sectiunea de trecere este mai mica, iar viteza de trecere a combustibilului, mai mare; astfel se compenseaza presiunea mai redusa, realizindu-se totusi o pulverizare buna. Pe masura ce presiunea combustibilului injectat creste, acul se ridica mai mult si creste si sectiunea gaurii. Cu acest injector se obtine o pulverizare aproape uniforma in tot timpul injectiei. In figura 77. a. este aratat un ac cilindric prevazut cu un canal elicoidal, prin care se imprima combustibilului o miscare de virtej, avind astfel o mai buna pulverizare. Aici apare insa dezavantajul ca distanta pina la care patrunde combustibilul in camera de ardere este mai mica.




a) b) a) b)
Fig. 77: Injectoare de tip inchis cu Fig. 78: Injectoare de tip inchis cu
comanda mecanica comanda hidraulica
Pulverizatorul prin care trece combustibilul spre camera de ardere poate avea fie unul, fie mai multe orificii. In figura 78. a este reprezentat un injector cu pulverizator cu un singur orificiu, iar in figura 78. b, un injector cu cap de injectie cu mai multe orificii.
Combustibilul care trece prin pulverizatorul cu un singur orificiu loveste pistonul mereu in acelasi loc. Prin arderea combustibilului, materialul pistonului este atacat in regiunea in care este lovit de flacara si, cu timpul, apar fisuri in fundul pistonului, care apoi se intind si distrug pistonul. Pe de alta parte, la pulverizatorul cu un singur orificiu, numai primele particele de combustibil gasesc, imediat la intrarea lor in camera de ardere, aerul necesar pentru ardere, pe cind particelele de combustibil care patrund dupa aceea in aceasta zona nu mai gasesc tot aerul necesar, iar durata arderii se prelungeste.
Din aceasta cauza, se foloseste foarte des pulverizatorul cu orificii multiple (4 - 5 orificii, maximum 9). Avantajul lui este ca jetul de combustibil, fiind impartit in mai multe conuri mai mici, fiecare con gaseste la patrunderea lui in camera de ardere, aerul care are nevoie pentru ardere. Cind exista mai multe orificii, acestea sunt asezate inclinat. Pistonul fiind in miscare, locurile unde conurile de combustibil lovesc pistonul se deplaseaza si ele spre periferia capului pistonului. Ca urmare, materialul pistonului este mai uniform solicitat, caci flacara il atinge pe o suprafata mult mai mare. Injectoarele trebuie astfel construite incit, spre sfirsitul injectiei, conurile de injectie sa nu atinga marginea pistonului, pentru a se evita o ridicare daunatoare a temperaturii segmentilor. Un dezavantaj al pulverizatorului cu orificii multiple este acela ca orificiile sunt mici si pot fi astupate mai usor de impuritatile continute in combustibil.
O alta varianta de injector inchis este aceea a injectorului cu comanda hidraulica si lama elastica. In acest caz acul injectorului este fix, iar combustibilul sub presiune apasa scaunul acului care, fiind format dintr-o lama de otel, este elastic si permite trecerea combustibilului.
La injectoarele de tip inchis, presiunea inceputului si sfirsirului injectiei este perfect controlata.
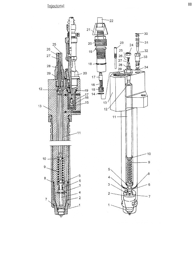
In figura de la pagina 123, sunt prezentate 2 injectoare prevazute cu ac inchis prin resort si actionate de presiunea combustibilului ce vine de la pompele de injectie.
Corpul injectorului este din otel cu cilindru (duza) din otel nitrurat, iar acul este din otel special calit.
Injectoarele sunt prevazute cu pulverizatoare si sunt reglate pentru o ardere perfecta.
Injectoarele sunt prevazute cu tubulatura de admisie si tubulatura de retur pentru racirea cu motorina.

Pulverizator cu stut:
Capsula de injectie;
Cilindru (Duza sau ghid pentru ac);
Stift pentru centrarea duzei in corpul injectorului;
Acul (pistonasul) si ghidajul acului:
Ac (pistonas);
Ghidajul acului;
Inel de oprire;
Suport (piulita de prindere a pulverizatorului);
Inel de cauciuc;
Arc ;
Ghidajul arcului (taler);
Tija injectorului;
Ghidajul arcului;
Corpul injectorului;
Filtru complet:
Saiba elastica de siguranta;
Ghidajul arcului;
Arc;
Supapa de retinere;
Inel de cauciuc;
Etansare;
Filtru;
Ecran;
Piulita;
Surub;
Stift de testare complet:
(Dispozitiv pentru reglarea presiunii de deschidere a acului injectorului)
Piulita;
Saiba;
Arc pentru reglajul presiunii de injectie;
Stift de testare;
Surub;
Piulita de inchidere;
Surubul de aerisire complet:
Inel de cauciuc;
Surub;
Bila de retinere;
Racord pentru fixarea surubului de aerisire in corpul injectorului;
Inel de cauciuc.
CONDUCTELE DE COMBUSTIBIL.
In instalatia de alimentare cu combustibil se folosesc, pentru transportul combustibilului de la rezervor la injector, diferite conducte de legatura. Dintre acestea, cele care prezinta un interes deosebit sunt conductele care fac legatura dintre pompa de injectie si injector, conducte cunoscute sub numele de tevi de injectie, sau conducte de inalta presiune. Aceste conducte sunt supuse in timpul functionarii la solicitari importante, datorita atit presiunii ridicate a combustibilului care este de circa 300 kgf/cm2, cit si datorita frecventei mari a injectiilor de combustibil, care poate fi de circa 1 000 injectii pe minut la un motor in patru timpi cu 2 000 rot/min. Din aceasta cauza, apar la tevile de injectie deformatii ale peretilor, care provoaca oscilatii ale vinei de combustibil injectat, ceea ce influenteaza in mod direct asupra injectiei, deci asupra functionarii motorului. Acest fapt face sa fie interzisa modificarea, la reparatii, a formei si dimensiunilor conductelor de inalta presiune ale motorului.
Solicitarile importante la care sunt supuse aceste conducte au facut necesara utilizarea unor materiale cu rezistenta ridicata si care sa fie asa fel prelucrate, incit suprafata de scurgere a combustibilului sa fie foarte neteda, iar imbinarile sa fie etanse si sa nu prezinte o frina in calea jetului de motorina.
Copyright © 2025 - Toate drepturile rezervate