![]() | Aeronautica | Comunicatii | Constructii | Electronica | Navigatie | Pompieri |
| Tehnica mecanica |
SEPARATOARE DE INALTA TENSIUNE
Normele de protectia muncii cer ca lucrarile de intretinere si reparatii in instalatiile de inalta tensiune sa se execute numai dupa ce circuitul in care se lucreaza a fost deconectat si izolat vizibil de restul instalatiei. De asemenea, in instalatiile electrice sunt necesare uneori manevre de conectare sau de deconectare a unor circuite fara curent (schimbarea sau separarea barelor, trecerea de la un generator sau transformator la altul etc.), fiind necesare aparate de conectare simple, cu constructie robusta, cu manevrare usoara si pozitie usor vizibila. Pentru aceste scopuri se folosesc separatoarele de inalta tensiune.
Separatoarele sunt aparate de comutatie destinate conectarii si deconectarii circuitelor sub tensiune, insa fara sarcina. Ele pot intrerupe si curenti de intensitate redusa, cum sunt curentii de magnetizare (de mers in gol) ai transformatoarelor de putere mica sau curentii nominali ai transformatoarelor de putere foarte mica.
Separatoarele de inalta tensiune se realizeaza in numeroase tipodimensiuni, care se deosebesc prin parametrii nominali (tensiuni intre 35 si 750 kV, curenti intre 200 si 6000 A), prin numarul de poli si varianta constructiva.
Intr-o instalatie energetica separatorul permite efectuarea transferului de energie intre sistemele de bare colectoare la plecari sau sosiri. Cu ajutorul separatoarelor se poate face cuplarea unei linii la unul din sistemele de bare colectoare.
Clasificarea separatoarelor de inalta tensiune
Clasificarea sepatatoarelor de inalta tensiune se poate face dupa numeroase criterii dintre care cele mai semnificative sunt:
A. Dupa numarul de poli:
- monopolare;
- bipolare;
- tripolare.
B. Dupa modul de deplasare a contactelor mobile:
- separatoare cu rotatie in plan orizontal (tip cutit), care au un contact fix si un contact mobil, tip cutit, ce se roteste intr-un plan ce contine si axele izolantelor polului respectiv;
- separatoare cu rotatie in plan vertical, care au doua contacte mobile ce se rotesc spre a se uni intr-un plan perpendicular pe axele izolatoarelor suport ale polului;
- separatoare basculante, la care contactul mobil se roteste (basculeaza) impreuna cu un izolator suport in planul axelor izolatoarelor suport ale polului;
- separatoare de translatie, la care contactul mobil executa o miscare de translatie spre contactul fix;
- separatoare pantograf, la care contactul mobil, de o constructie speciala, executa o miscare dupa directia axei izolatorului surport.
C. Dupa absenta sau prezenta dispozitivului de legare la pamant:
- separatoare cu cutite de legare la pamant;
- separatoare fara cutite de legare la pamant.
Un separator este constituit din urmatoarele elemente principale: sistemul de contacte, sistemul izolator si dispozitivul de actionare.
Sistemul de contacte contine un contact fix si un contact mobil (cutitul) sau doua contacte mobile, constituind calea de curent a separatorului.
Contactele separatoarelor pot fi liniare, plate cilindrice si de alte forme. Se construiesc din materiale bune conducatoare de electricitate, de preferinta din cupru.
Elementele care conduc la alegerea diferitelor tipuri de contacte sunt: densitatea de curent si distributia ei; conditiile de racire a contactelor; efortul necesar pentru conectarea separatorului; factorul de uzura al materialului; reducerea actiunii fortelor electrodinamice asupra cutitelor. Pentru a micsora incalzirea contactelor, se realizeaza presiuni de contact corespunzatoare. La separatoarele construite pentru curenti nominali mari, cutitul este constituit din mai multe bare paralele .
Sistemul izolator este constituit din izolatoarele suport ale contactelor: fix si mobil, precum si din tija izolanta care transmite miscarea de la dispozitivul de actionare la cutitul mobil.
Dispozitivul de actionare trebiue sa asigure deschiderea si inchiderea completa a separatorului, contactele mobile trebuind sa ajunga la sfarsitul cursei, independent de viteza de actionare.
Dispozitivele de actionare a separatoarelor, din punct de vedere al agentului de actionare se impart in: dispozitive manuale, dispozitive cu resorturi, dispozitive pneumatice, dispozitive de actionare electrica.
Actionarea manuala se realizeaza in modul cel mai simplu cu o prajina, care este o tija izolanta de lungime corespunzatoare, prevazuta la un capat cu un varf metalic. Acest varf se introduce in urechea cutitului separatorului si se trage, trecand cutitul din pozitia "inchis" in pozitia "deschis".
La serparatoarele grele se utilizeaza adeseori actionarea cu parghii cu maneta sau cu roata de mana.
Pentru comanda la distanta a separatoarelor se folosesc actionarile electrice sau pneumatice, care prezinta avantajul unei conectari fara socuri, ceea ce este deosebit de important.
Separatoare rotative
In aceasta categorie intra doua tipuri de separatoare:
- separatoare rotative cu rotatie in plan orizontal, avand tensiuni nominale de la 35 kV la 220 kV, curenti nominal de 1250 A si 1600 A;
- separatore rotative cu deschiderea cutitelor in plan vertical, cu tensiunea nominala de 400 kV si In=1600 A. Aceste separatore se executa numai in constructie monopolara iar cand este necesara o varianta tripolara fazele se cupleaza intre ele cu tije de legatura.
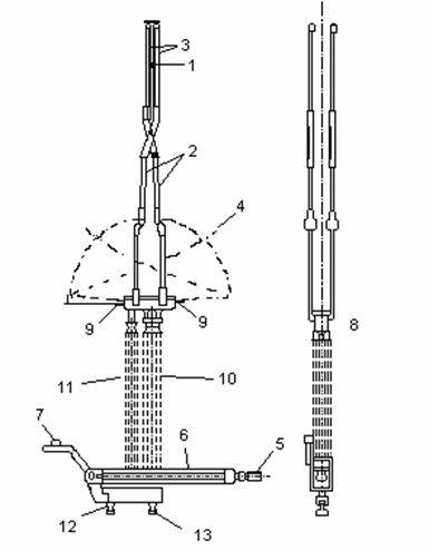
Forma constructiva a unui separator rotativ cu miscare de rotatie in plan orizontal, de 100 kV este prezentata in figura 4.5., in detaliu fiind prezentata borna de legatura a separatorului. Izolatorele suport 1 si 2 pot pivota executand o miscare de rotatie de 90 sub actiunea unui dispozitiv de actionare 3 (pneumatic sau electric). Pe tijele 4 si 5 sunt montate contactele formate din cilindrul 6 si piesele 7 si 8 asa cum rezulta din figura. Piesa 9 reprezinta contactul fix al partii de legare la pamant a separatorului care poate ajunge in contact cu cutitul separatorului de punere la pamant 10, numai atunci cand contactele 6 respectiv 7, 8 sunt deschise. Pe cadrul pe care sunt montate coloanele de izolare se afla si dispozitivul de actionare, precum si tijele de legatura, manivelele si axele de actionare.


Figura 4.5. Separator cu miscare de rotatie in plan orizontal (de 110 kV),
inclusiv detaliu al pieselor de contact
1, 2-izolatoare suport, 3-dispozitiv de actionare, 4, 5-tije de actionare, 6-contact cilindric, 7, 8-piese de contact, 9-contact fix, 10-cutit de punere la pamant
In cazul separatoarelor tripolare montarea fazelor se face alaturat una din cele trei faze fiind faza motoare, la care se cupleaza dispozitivul de actionare asa cum se poate vedea in figura 4.6.
Actionarea separatorului se face de la polul de mijloc, miscarea transmitandu-se celor doua izolatoare ale fazei printr-o legatura in contrasens, iar la celelalte doua faze printr-un sistem de transmisie patrulatera. Tot printr-un sistem patrulater sunt actionate cutitele de punere la pamant ale separatorului de la axul de actionare. Deoarece in timpul rotatiei izolatoarelor unui pol, cutitele port contact se aproprie de polii vecini, se poate utiliza sipozare in linie.

Figura 4.6. Separatoare tripolare de 110 kV
1, 2-izolatoare suport, 3-dispozitiv de actionare, 8-piesa de contact, 9, 10-contacte fix, 11, 12-tije de actionare.
Din figura 4.6. se observa ca actionarea se face de la unul din capete prin transmisie patrulatera. Pentru tensiuni mai mari de 220 kV aceasta pozitionare a separatoarelor conduce la marirea gabaritului unei celule de inalta tensiune si de aceea separatorii monopolari se monteaza cate doi in linie si al treilea in paralel cu primii, caz in care actionarea este independenta pe fiecare faza.
Toate separatoarele de tip rotativ au neajunsul ca sunt solicitate la importante momente de inconvoiere, si necesita distante relativ mari intre poli, iar contactele de jonctiune ale liniei cu cupa izolatoare implica dificultati constructive.
Separatoare de translatie
Acest tip de separatoare se utilizeza in instalatiile de distributie de exterior la tensiuni peste 220 kV.
Schematic un asemenea separator este prezentat in figura 4.7.
Un pol al separatorului are doua izolatoare suport, unul fix 1, iar celalalt mobil 2, montat pe un carucior ce poate realiza o translatie limitata pe doua sine rectilinii. Contactul mobil 3 poate intra in contactul fix 4, ca urmare a apropierii izolatorului culisant 2 de cel fix 1. Separatorul mai este prevazut cu inelele de protectie 5, conductorul de legatura 7 si legatura flexibila 6.
Miscarea este asigurata cu ajutorul unui dispozitiv format din cablul flexibil 11 antrenat de servomotorul 8. Cutitul de legare la pamant 9 este actionat cu un dispozitiv propriu cu motor electric 10.
Aceste separatoare prezinta o buna vizibilitate a separarii, au insa o constructie complicata, legaturi flexibile lungi si exista posibilitatea de blocare a caruciorului in cazul depuneri de gheata pe sine.

Figura 4.7. Separator cu miscare de translatie pntru tensiuni mai mari de 220 kV
1-izolatorul suport al polului fix, 2- izolatorul culisant al polului mobil, 3-contactul mobil, 4-contactul fix, 5-inele de protectie, 6-legatura flexibila, 7-conductor de legatura, 8-servomotor, 9-cutit de impamantare, 10-dispozitiv de antrenare cu motor electric, 11-cablu flexibil.
Separatoare pantograf
Aceste separatoare sunt utilizate in instalatiile de foarte mare tensiune (220kV<Un<750kV) avand o constructie robusta si indeplinind cele mai ridicate exigente cerute de o buna siguranta in exploatare.
Fata de celelalte tipuri de separatoare prezentate, separatorul pantograf prezinta o serie de avantaje cum ar fi: reducerea suprafetei ocupate de separator in plan orizontal; o supravechere mai buna a elementelor instalatiei (permitand o observare clara si rapida a elementelor aflate sub tensiune fata de cele scoase de sub tensiune); siguranta mare la conectare si deconectare in orice conditi atmosferice si siguranta totala impotriva deschiderilor intempestive.

Figura 4.8. Separator pantograf pentru 420 kV
1-contact fix de racord, 2-pantograf, 3-contacte mobile tip foarfeca, 4-pozitia deschisa a pantografului, 5-contact racord, 6-brat portcontact, 7-contragreutate,
8-contact fix de punere la pamant, 9-borne racord, 10-izolatoare suport, 11-coloana izulatoare, 12, 13-arbori racordati la mecanismului de actionare.
Contactul de racord 1 se monteaza pe linia conductoare a statiei exterioare fiind format dintr-o bara de cupru. Pantograful propriu zis 2 este format dintr-un sistem de bare articulate, confectionate din duraluminiu, avand configuratia unei foarfeci care se termina la capete cu contactele mobile 3, prevazute cu un dispozitiv de spargere a ghetii si cu cate o emisfera in partea superioara. Rolul emisferelor este sa amelioreze repartitia neuniforma a campului electric in lungul pantografului si sa evite efectul corona.
In pozitia inchis separatorul asigura racordul electric intre linia 1 aflata in planul superior si linia electrica aflata in planul inferior, racordata la bornele 9, intre care exista o diferenta de nivel de aproximativ 5 m la o tensiune de 420 kV.
Cu linie punctata 4 s-a reprezentat pozitia pantografului cand separatorul se afla in pozitie deschis. In aceasta pozitie linia din planul inferior este legata la pamant ca urmare a atingerii dintre contactul mobil 5 si cel fix 8 de punere la pamant. Coloana de izolatoare suport 10 sustine separatorul, iar actionarea cutitelor principale se realizeza ca urmare a miscarii de rotatie transmisa prin coloana izolatoare 11 de la arborele 12 racordat la mecanismul de actionare a cutitelor principale. Actionarea cutitelor de punere la pamant este efectuata de catre un dispozitiv de actionare separat racordat la arborele 13, contragreutatea 7 diminuand prin echilibrare cuplul necesar rotirii bratului 6 ce sustine contactul 5. Intre miscarile cele doua dispozitive de actionare exista o corelare. Actionarea acestor separatoare se face pneumatic.
5.Separatoare de sectionare si punere la pamant
Separatoarele de sectionare sunt aparate cu deconectare automata, comandate de aparate de protectie, destinate separarii de la retea a sectoarelor avariate. Sectionarea se face in lipsa curentului, in timpul pauzei de curent determinata de functionarea unui dispozitiv de recalansare automata rapida (R.A.R.).
Separatoarele de punere la pamant si de scurtcircuit sunt aparate care realizeza legarea automata a unei retele electrice la pamant in caz de avarie, prin realizarea unui scurtcircuit artificial ce determina deconectarea retelei prin intermediul intreruptorului.
Constructiv aceste aparate sunt separatoare de tip cutit, iar modul lor de functionare este ilustrat in figura 4.9.
Pe suportul metalic 1 se afla izolatorul 2 avand pe flansa superioara contactul fix 3, prevazut cu borne pentru racordarea la conductoarele liniei. Dispozitivul de actionare comanda cutitul mobil 4, din teava de otel sudata pe axul 5, care se roteste in lagarele 6. Parghia 7 este folosita in cazul actionarilor manuale. Legatura electrica 8 asigura trecerea curentului de la contactul mobil la rama metalica legata la pamant.

Figura 4.9. Separator de punere la pamant tip cutit
1-suport metalic, 2-izolator, 3-contact fix, 4-cutitul mobil, 5-ax, 6-lagar, 7-parghie, 8-legatura electrica flexibila.
Pentru a exemplifica modul de utilizare al separatoarelor de sectionare si al separatoarelor de punere la pamant si de scurtcircuit in figura 4.10 este prezentata o schema electrica de alimentare a liniilor L1 si L2 prin intermediul unor transformatoare T1 si T2, a intreruptoarelor Q1, Q2 si Q3, de la un sistem de bare de 110 kV.

Figura 4.10. Functionarea separatoarelor de sectionare si punere la pamant
Transformatoarele T1 si T2 nu sunt racordate la retea prin intreruptoare, ci prin separatoare de sectionare S1 si S3. In cazul in care se produce o avarie la linia L1 sau la transformatorul T1, protectia prin relee comanda inchiderea separatorului de punere la pamant S1, producand in mod artificial un scurtcircuit monofazat, care duce la declansarea intreruptorului principal Q1. Dupa intreruperea curentului de scurtcircuit, elementul defect este separat cu separatorul de sectionare S1, apoi sub actiunea dispozitivului RAR, intreruptorul Q1 se reinchide si celelalte plecari sunt realimentate.
Separatorul de sectionare impreuna cu separatoarele de punere la pamant si scurtcircuitare ofera o simplificare a schemelor de inalta tensiune, asigurand separarea automata a sectorului avariat si protectia personalului de interventie.
Copyright © 2025 - Toate drepturile rezervate