|  | Aeronautica | Comunicatii | Constructii | Electronica | Navigatie | Pompieri | 
| Tehnica mecanica | 
Masini de rectificat
Masinile de rectificat sunt masini specializate in efectuarea prelucrarilor de aschiere prin procedeul rectificarii (fig.2.9).
Rectificarea este utilizata in vederea prelucrarilor de finisare a suprafetelor pieselor tratate termic sau nu, permitand realizarea celor mai ridicate precizii dimensionale si de forma (´ 0,001[mm]) si a unor rugozitati Rz ³ mm]. Aceste performante se obtin datorita adaosului de prelucrare mic (´ 0,1[mm]), specificului de lucru al sculelor aschietoare, care desprind aschii de grosime foarte mica distribuite aleator pe suprafata prelucrata, precum si rigiditatii si preciziei geometrice ridicate a sistemului tehnologic de prelucrare, in special a masinii-unelte.
1. Scule abrazive.
Sculele aschietoare folosite la rectificare se numesc corpuri sau pietre abrazive. Ele sunt formate din (fig.5.55): 1 - particule abrazive; 2 - liant solid; 3 - pori.
Particulele abrazive se clasifica dupa marime in: granule abrazive (2500.160 [mm]), pulberi abrazive (160.40 [mm]) si micropulberi abrazive (40.3 [mm]). La fabricarea corpurilor abrazive se utilizeaza granulele si pulberile abrazive.
Materialele folosite la fabricarea particulelor abrazive pot fi impartite in trei grupe:
- pe baza de oxizi de aluminiu naturali sau sintetici: corindon, electrocorindon, smirghel, abrazit, etc.;
- pe baza de siliciu: cuart, cremene, gresie, sticla, etc.;
- pe baza de carbon: diamant, carbura de siliciu (carborund), carbura de bor, etc.
Liantul are rolul legarii particulelor abrazive intre ele si mentinerii formei corpului abraziv. Dupa natura lor liantii pot fi:
- anorganici (sau ceramici), cel mai des un amestec de argila, feldspat, cuart si caolin, care se sinterizeaza la 1200.1300 C;
- organici, pe baza de lacuri (serlac), bachelita sau cauciuc natural sau sintetic.
Liantul este elementul care da pietrei abrazive caracteristica de duritate, care reprezinta capacitatea de mentinere a granulelor uzate, sub actiunea fortelor exterioare. Se cunosc cinci grupe de duritate notate cu litere ale alfabetului latin si inscrise pe corpul abraziv: foarte moale (E, F, G); moale (H, I, J, K); mijlocie (L, M, N, O); tare (P, Q, R, S) si foarte tare (T, U, V, Z).
Duritatea unui corp abraziv prezinta o importanta foarte mare privind fenomenul de autoascutire, care consta din desprinderea particulelor uzate ca urmare a cresterii fortelor de aschiere si refacerea automata a capacitatii de aschiere a corpului abraziv. Pentru ca acest fenomen sa fie folositor, duritatea pietrei trebuie sa corespunda materialului de prelucrat si regimului de lucru. De regula, pietrele abrazive dure se folosesc la rectificarea materialelor moi, iar cele moi pentru materiale dure, exceptie facand materialele foarte moi (neferoase) care se rectifica cu pietre foarte moi si poroase.
 Fig.5.55
 
 
   
 
  
   
  
   
 
   
   
     
  
     
    Fig.5.55
Fig.5.55
Porii corpului abraziv prezinta o importanta deosebita, deoarece ei servesc ca spatii de acumulare a aschiei si totodata asigura patrunderea lichidului de racire-ungere cat mai aproape de muchiile aschietoare active. La pietrele normale porii au marimea granulelor abrazive si ocupa cca. 50 [%] din volumul pietrei, iar la cele poroase ajung la cca. 75 [%] din volum.
Dupa un anumit timp de prelucrare, functie de regimul de lucru, porii sculei se infunda (imbacsesc) cu materialul prelucrat, corpul abraziv pierzandu-si capacitatea de aschiere: debitul de aschii scade, frecarile si fortele de aschiere cresc, temperatura de asemenea, aparand arsuri pe suprafata prelucrata. Refacerea capacitatii de aschiere a sculei se realizeaza indepartand stratul superficial cu ajutorul unui varf de diamant, sau de carbura dura, sau cu ajutorul unui corp abraziv cu granulatie mai fina si duritate mai mare, refacandu-se cu aceasta ocazie si forma geometrica a corpului abraziv. Aceasta operatie se numeste de indreptare a corpului abraziv.
În figura 5.56 sunt prezentate diferite forme de corpuri abrazive: discuri abrazive (a-
cilindric, b - profilat, c - taler); pietre oala (d - cilindrica, e - tronconica); bare abrazive (de diferite forme ale sectiunii, f.j ); pietre cu tija, pentru rectificari interioare (de diferite forme si marimi, k.n ).
Discurile si oalele abrazive sunt prevazute cu alezaj de diametru mic sau mare si se monteaza direct sau indirect pe arborele masinii, cu ajutorul unor flanse de prindere si a unor contragreutati de echilibrare; barele abrazive se monteaza sub forma de segmenti pe capete de rectificat, iar pietrele cu coada se prin in bucse elastice.
Clasificarea masinilor de rectificat se poate face dupa mai multe criterii, cel mai important fiind tipul suprafetei prelucrate, dupa care se cunosc:
- masini de rectificat rotund (suprafete de revolutie), cilindrice sau profilate, exterioare sau interioare, cu prinderea piesei intre varfuri sau fara centre;
- masini de rectificat plan, cu periferia discului sau cu partea frontala a acestuia;
- masini de rectificat speciale: pentru filete, roti dintate, arbori cotiti, arbori cu came, prin copiere, de ascutit scule, etc.
Dintre acestea, in continuare vor fi prezentate cele mai raspandite si anume: masinile de rectificat rotund universale; masinile de rectificat rotund fara centre; masinile de rectificat rotund interior cu cap de prindere; masinile de rectificat interior planetare; masinile de rectificat plan cu periferia discului abraziv (orizontale); masinile de rectificat plan frontale (verticale); masinile de rectificat filete si masinile de rectificat prin copiere.
2. Masini de rectificat rotund.
Aceste masini sunt concepute pentru prelucrarea suprafetelor circulare (de revolutie) fiind de mai multe tipuri si anume:
- masini de rectificat rotund exterior, care pot fi:
- cu prinderea piesei intre varfuri;
- fara centre.
 Fig.5.56
 
 - masini de rectificat rotund
interior, care sunt:
   
   
 
   
   
     
  
     
    Fig.5.56
Fig.5.56
- cu cap de prindere a piesei;
- planetare.
- masini de rectificat universale, care permit prelucrarea suprafetelor exterioare si interioare.
Masinile de rectificat rotund exterior cu prinderea piesei intre varfuri pot prelucra suprafete cilindrice, conice, profilate (scurte) si frontale, cu productivitate ridicata. Ele se construiesc in doua variante; cu masa mobila (pentru piese mici) si cu papusa portpiatra mobila (pentru piese cu gabarit mare). Unele modele, utilizand accesorii speciale, pot prelucra si suprafete interioare.
2.1. Masini de rectificat rotund universale.
Aceste masini sunt destinate prelucrarii suprafetelor cilindrice, conice, profilate si frontale, exterioare si interioare, la piese de dimensiuni mici-mijlocii, cu prindere intre varfuri, atat pentru unicate cat si pentru productia de serie.
Principiul de lucru al acestor masini, particularizat pentru rectificarea unei suprafete exterioare a fost prezentat in figura 2.9.
Principiul constructiv si functional al masinilor de rectificat rotund universale este prezentat in figura 5.57, cu referire la masina RU 100, de fabricatie romaneasca. Ea este alcatuita din urmatoarele elemente: 1 - batiu; 2 - sanie longitudinala; 3 - masa; 4 - papusa mobila; 5 - pinola; 6 - sanie radiala; 7 - papusa portpiatra; 8 - dispozitiv de rectificat interior; 9 - papusa portpiesa; 10 - placa de baza; 11 - instalatie de recirculare a lichidului de racire-ungere.
Dispozitivul de rectificat interior 8 este un accesoriu normal al acestor masini. El se monteaza pe papusa portpiesa 7 si consta dintr-o brosa de rectificat, in care se fixeaza scula, antrenata de la un motor propriu, printr-o transmisie multiplicatoare de turatie cu curea lata. Brosa este fixata pe un brat articulat, care permite aducerea sau indepartarea ei din pozitia de lucru, fara demontarea dispozitivului.
Cinematica masinii permite realizarea urmatoarelor miscari:
- n - miscarea principala de aschiere, executata de piatra de rectificat, avand viteza periferica v = (25.35) [m/s];
- wc - miscarea de avans circular, executata de arborele portpiesa, asigurand piesei o viteza periferica maxima de (10.12) [m/min], in ambele sensuri, reglabila continuu
printr-un variator electric de turatie.
- wl - miscarea de avans longitudinal, o miscare rec-tilinie-alternativa realizata de sania 2, actionata hidra-ulic;
- wr - miscarea de avans radial, o miscare inter-mitenta realizata la capetele de cursa ale miscarii wl , cu pas reglabil intre (0,01.0,1)[mm/cursa] (la degrosare) si intre (0,005.0,015) [mm/cursa] (la finisare), executata de sania radiala 6, combinata cu o miscare de pozitionare radiala, wpr, de apropiere-indepartare pe o cursa constanta de 40 [mm];
 Fig.5.57
 
 
   
 
  
   
  
   
 
   
   
     
  
     
    Fig.5.57
Fig.5.57
- wp1 - miscarea de pozitionare axiala a papusii portpiesa 9, executata de placa de baza 10;
- wp2 - miscarea de pozitionare axiala a papusii mobile;
- wp3 - miscarea de potitionare de rotatie in jurul unei axe verticale, executata de papusa portscula 7;
- wp4 - miscarea de pozitionare de rotatie in jurul unei axe verticale, executata de papusa portpiesa 9;
- wp5 - miscarea de pozitionare de rotatie in jurul unei axe verticale , executata de masa masinii 3.
Miscarile de lucru pot fi realizate manual sau in ciclu semiautomat (in cazul productiei de serie).
Prelucrarile specifice executate pe aceste masini sunt urmatoarele:
- prelucrarea suprafetelor cilindrice exterioare si interioare, utilizand avansul longitidinal wl si radial wr (fig.2.9);
- prelucrarea suprafetelor conice, prin mai multe metode (fig. 5.58):
- prin rotirea papusii portpiesa 9 in miscarea de pozitionare wp4, utilizand avansurile longitudinalwl si radial wr (fig.5.58,a), metoda aplicata la prelucrarea pieselor scurte cu conicitati mari;
- prin rotirea mesei 3 in miscarea de pozitionare wp5, utilizand avansurile longitudinal wl si radial wr (fig.5.58,b), metoda aplicata la prelucrarea pieselor lungi cu conicitati mici (a <
 Fig.5.58
 
 
   
 
  
   
  
   
 
   
   
     
  
     
    Fig.5.58
Fig.5.58
- prin rotirea papusii portpiatra in miscarea wp3, utilizand avansul radial wr, metoda aplicata la prelucrarea suprafetelor scurte (mai mici decat latimea pietrei abrazive) cu conicitati mici-mijlocii;
 Fig.5.59
 
 - prelucrarea suprafetelor
profilate scurte, utilizand o piatra profilata si
miscarea de avans radial wr
(fig.5.59);
   
   
 
   
   
     
  
     
    Fig.5.59
Fig.5.59
- prelucrarea suprafetelor plane frontale (a umerilor) utilizand partea laterala a pietrei si avansul radial wr sau prin rotirea papusii portpiesa 9 (miscarea wp4 ) cu un unghi de 90 si utilizand avansul longitudinal wl (la prelucrarea suprafetelor plane frontale la piese de revolutie).
2.2. Masini de rectificat rotund fara centre.
Sunt masini de productivitate foarte mare destinate productiei de serie mare si masa, utilizate mai ales la prelucrarea suprafetelor cilindrice exterioare si interioare, dar si a celor profilate, la piese de dimensiuni mici si forme simple.
Principiul prelucrarii suprafetelor exterioare cilindrice este redat in figura 5.60, in
care s-au notat:1-piatra de rectificat (scula);2-piesa;3-piatra pentru antrenare;4-rigla de
conducere.
Piatra de rectificat 1 are granulatia si dia-metrul mai mari decat discul de antrenare 3, ambele rotindu-se in acelasi sens cu turatiile nP >na.Piesa 2 este asezata pe rigla de conducere 4,avand
centrul suprainaltat fata de linia centrelor celor doua pietre abrazive. Datorita granulatiei mai fine, discul de antrenare 3 antreneaza piesa cu un moment de frecare mai mare decat cel de aschiere, determinat de discul 1, astfel ca piesa va capata o miscare de avans circular wc , avand sensul si modulul lui va. Datorita vP >va, piesa coboara aparent cu viteza vR, mentinandu-se astfel in contact permanent cu rigla 4.
Piatra de antrenare 3 poate avea axa paralela sau inclinata cu unghiul Ðb ) fata de axa pietrei 1. Daca b = 0, prelucrarea se realizeaza cu avansul radial wr executat de piatra 1 sau 3. Daca b ¹ 0, viteza de antrenare va se descompune in doua componente: wc , care reprezinta avansul circular si wl - avansul longitudinal al piesei. Datorita distantei variabile dintre generatoarele celor doua pietre, pe masura ce piesa se deplaseaza axial in miscarea wl , apare si o miscare aparenta de avans radial, cota prelucrata pe piesa fiind determinata de distanta minima dintre discuri corespunzatoare normalei comune in punctul A.
Se constata ca metoda are o cinematica simpla si eficienta, iar piesa nu este prinsa intr-un dispozitiv ci se autoaseaza pe rigla 4, primind automat miscarile de avans.
Principiul constructiv si functional al masinilor de recti-ficat fara centre este prezentat in figura 5.61, in care s-au notat: 1-batiu; 2-sanie radiala; 3-papusa de antrenare;4-pia-tra de antrenare; 5,9-dispozitiv de indreptare a pietrelor;6-ri-gla de conducere; 7-piatra de rectificat; 8-papusa portpiatra de rectificat.
Pe aceste masini se prelu-creaza in general suprafete
exterioare, prin doua metode:
- cu avans longitudinal (b >0), in acest caz putandu-se prelucra numai piese simple cu un singur diametru, sau piese in trepte numai la diametrul maxim;
- cu avans radial (b = 0), in acest caz putandu-se prelucra si piesele in trepte la diametrele mici.
 Fig.5.60
 
 
   
 
  
   
  
   
 
   
   
     
  
     
    Fig.5.60
Fig.5.60
Cu ajutorul unor role de ghidare a piesei se pot realiza si prelucrari interioare.
Deservite de sisteme de alimentare automata cu semifabricate, aceste masini prelucreaza continuu, asigurand cele mai mari productivitati posibile.
De asemenea, aceste masini utilizeaza frecvent sisteme de control activ al cotei prelucrate, piesele fiind masurate continuu la iesirea de pe rigla si, in functie de evolutia cotei, masina primeste comenzi de deplasare radiala pentru compensarea uzurii pietrelor abrazive si incadrarea diametrului in toleranta prescrisa.
 Fig.5.61
 
 
   
 
  
   
  
   
 
   
   
     
  
     
    Fig.5.61
Fig.5.61
2.3. Masini de rectificat rotund interior cu cap de prindere.
Aceste masini se utilizeaza la prelucrarea alezajelor cilindrice, conice sau profilate, cu diametre mici (5.500 [mm]) si lungime maxima de 500 [mm], precum si la prelucrarea suprafetelor frontale interioare.
Principiul rectificarii interioare obisnuite este prezentat in figura 5.62. Piesa, prinsa in dispozitivul de prindere de tip universal sau intr-un dispozitiv special, executa miscarea de avans circular wc , iar scula executa miscarea principala n si miscarile de avans longitudinal wl si radial wr , intr-un cilcu asemanator celui de la rectificarea exterioara.
Principiul constructiv si functional al masinilor de rectificat interior cu cap de prindere este prezentat in figura 5.63, in care s-au notat: 1-batiu; 2-sanie radiala;3-papusa
portpiatra; 4-papusa portpiesa.
Datorita diametrului mic al sculei, pentru realizarea vitezei de aschiere este necesara antre-narea acesteia cu turatii foarte mari (n = ´ ´ 105 [rot/min]), obtinute prin transmisii cu curele late speciale, cu motoare electri-ce speciale alimentate la frec-vente marite (´ 100 [Hz]) ampla-
sate direct pe axul brosei de rectificat, sau cu ajutorul turbinelor cu aer.
Rigiditatea redusa a arborelui principal portscula impune utilizarea unor regimuri de aschiere mai putin intense decat la rectificarea exterioara, ceea ce determina reducerea productivitatii.
2.4. Masini de rectificat interior planetar.
Metoda de rectificare planetara se utilizeaza la prelucrarea suprafetelor interioare la piese de dimensiuni mari, excentrice sau de forma neregulata, care nu pot fi prinse si antrenate in miscarea de avans circular, deoarece masele mari si excentrice determina forte centrifuge care cauzeaza vibratii, reducand precizia de prelucrare.
Principiul rectificarii planetare este prezentat in figura 5.64, in care este prezentat si principiul constructiv si functional al masinilor orizontale.
 Fig.5.64
 
Piesa P, de tip carcasa, este prinsa
pe masa masinii, care nu executa nici o miscare de lucru. Scula S executa toate miscarile
de lucru, si anume:
   
   
 
   
   
     
  
     
    Fig.5.64
Fig.5.64
- n - miscarea principala de aschiere, de rotatie in jurul axei proprii;
- wc - miscarea de avans circular, de rotatie in jurul axei alezajului prelucrat;
- wl - miscarea de avans longitudinal;
- wr - miscarea de avans radial, o miscare intermitenta sincronizata cu wl.
Masina de rectificat planetar se compune din urmatoarele parti componente (fig.5.64): 1-placa de baza; 2-batiu; 3-papusa portscula; 4-bucsa speciala; 5-roata de curea; 6-lagar special; 7-masa; 8-consola reglabila.
Pe langa miscarile de lucru prezentate mai sus, masina mai permite realizarea miscarilor de pozitionare transversala wpt a mesei si verticala wpv a consolei, in vederea reglarii pozitiei piesei fata de scula.
Miscarea de avans longitudinal wl este executata de papusa 3, iar miscarea de avans circular de bucsa 4. Datorita lagarului inclinat 6, prin deplasarea axiala wa a acestuia apare o miscare de avans radial wr , care determina adancimea de prelucrare si diametrul prelucrat.
Masini de rectificat planetar se construiesc si cu axa verticala, acestea fiind destinate prelucrarii pieselor de dimensiuni foarte mari.
3. Masini de rectificat plan.
Aceste masini sunt destinate finisarii suprafetelor plane prelucrate anterior prin frezare sau rabotare.
Dupa pozitia arborelui principal portscula, exista masini orizontale, care prelucreaza cu partea periferica, cilindrica, a corpului abraziv sau cu cea frontala, si masini verticale, care prelucreaza numai cu partea frontala a sculei sau utilizand capete de rectificat.
 Fig.5.62
 
 
   
 
  
   
  
   
 
   
   
     
  
     
    Fig.5.62
Fig.5.62
 
 
Dupa forma si miscarile mesei (piesei), ambele tipuri de masini se construiesc cu masa de translatie, sau cu masa rotativa.
Pentru prelucrarea pieselor de dimensiuni foarte mari (batiuri, montanti) exista masini de rectificat tip portal, prevazute cu mai multe capete de rectificat, care pot lucra simultan sau succesiv, asigurand productivitati ridicate.
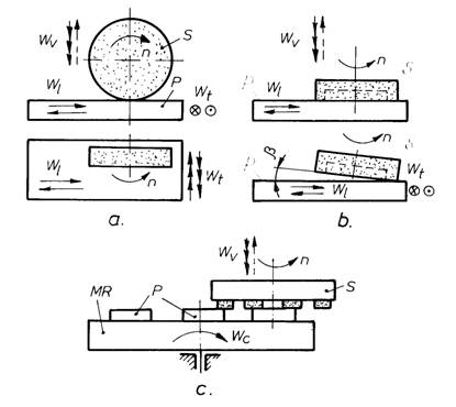
3.1. Masini de rectificat plan orizontale.
Aceste masini se folosesc la prelucrarea pieselor de dimensiuni mici-mijlocii, sensibile la deformare, fisurare sau decalire si care necesita precizii mari de prelucrare. Sunt cele mai raspandite, desi asigura o productivitate mai redusa decat masinile verticale.
Principiul de lucru al acestor masini este prezentat in figura 5.65,a. Scula S executa miscarea principala n si de regula miscarea de avans vertical wv, de patrundere, prin care
 Fig.5.65
 
se
regleaza adancimea de aschiere si cota prelucrata,
iar piesa P executa
misca-rea de avans longitudinal wl
si transversal wt
(o miscare intermitenta realizata la capetele cursei
longitudina-le). Dupa baleierea intregii suprafete a pisei,
prin com-binarea miscarilor wl
si wt, si
indepartarea unui strat (adica dupa o trecere), scu-la
executa miscarea de a-vans vertical wv (tot o mis-care pas cu pas) si se
rea-lizeaza trecerea urmatoare, s.a.m.d. pana la
atingerea 
   
   
 
   
   
     
  
     
    Fig.5.65
Fig.5.65
cotei finale. Datorita numarului mare de curse longitudinale si de treceri, la prelucrarea suprafetelor late procedeul asigua o productivitate redusa.
Principiul constructiv si functional al masinilor de rectificat orizontale cu masa de translatie, de marime mijlocie, este prezentat in figura 5.66.Ele se compun din urmatoarele
 Fig.5.66
 
elemente:1-batiu;2-masa longitudinala;3-montant;
4-sanie verticala; 5-papusa portscula.
   
   
 
   
   
     
  
     
    Fig.5.66
Fig.5.66
La masinile de marime mijlocie, cel mai adesea scula executa miscarea de avans wt, prin aceasta realizandu-se o rigiditate mai mare a mesei si o crestere a preciziei.
Miscarile de avans sunt realizate cu meca-nisme mecanice (la masinile mici) sau cu sisteme hidraulice, care permit exploatarea masinii in re-gim cu comenzi manuale, sau cu ciclu semiauto-mat.
Prinderea pieselor pe aceste masini se realizeaza frecvent utilizand mesele sau platourile
electromagnetice, care asigura prinderea rapida, dar numai a materialelor cu proprietati feromagnetice. Pentru celelalte materiale, sau cand piesa are dimensiuni mai mari si forme oarecare, se utilizeaza dispozitive universale de tipul menghinelor sau dispozitive speciale cu prindere mecanica.
Masinile de rectificat plan orizontale lucrand cu partea frontala a sculei sunt mai putin raspandite, acest principiu fiind utilizat mai mult la masinile de ascutit scule, lucrand cu pietre oala, care pot prelucra atat cu suprafata cilindrica (exterioara sau interioara) cat si cu cea frontala.
3.2. Masini de rectificat plan verticale.
Aceste masini asigura o productivitate mai mare, deoarece la o cursa longitudinala se prelucreza o banda de latime mai mare, reducandu-se astfel numarul de curse.
Pe acest principiu se construiesc masini de dimensiuni mici, lucrand cu scule monobloc (fig.5.65, b) si masini de dimensiuni mari, lucrand cu capete de rectificat (segmenti abrazivi) (fig.5.65, c), ambele tipuri de masini putand fi cu masa de translatie, sau cu masa rotativa. Masinile cu cap de rectificat si masa rotativa asigura cele mai mari productivitati, permitand prelucrarea mai multor piese deodata.
O problema care apare la prelucrarile realizate cu partea frontala a sculei este divizarea aschierii, pentru a permite eliminarea aschiilor, in caz contrar scula se imbacseste rapid si prelucrarea nu mai poate continua. La sculele monobloc, divizarea se poate realiza utilizand pietre cu diametrul mai mare decat latimea suprafetei prelucrate (fig.5.65, b, sus), sau prin inclinarea axei sculei cu un unghi b < (fig.5.65, b, jos), caz in care apar erori de planeitate dependente de unghiul b, diametrul sculei si marimea avansului transversal. La capetele de rectificat, divizarea aschierii se realizeaza divizand scula, prin utilizarea segmentilor abrazivi.
 Fig.5.67
 
Principiul constructiv si
functional
al masinilor de rectificat plan verticale cu masa de translatie,
este prezentat in figura 5.67, in care s-au notat:
   
   
 
   
   
     
  
     
    Fig.5.67
Fig.5.67
- batiu;
- masa longitudinala;
- montant;
- sanie verticala;
- papusa portscula.
Aceste masini au o rigiditate mai mare ca cele orizontale, fiind destinate prelucrarii pieselor de dimensiuni mai mari.
4. Masini de rectificat speciale.
Aceste masini sunt concepute special pentru anumite scopuri, avand particularitati constructive si cinematice specifice. În aceasta grupa se incadreaza masinile specializate in prelucrarea unui anumit tip de suprafata complexa (masinile de rectificat filete, roti dintate), cele destinate prelucrarii unui anumit tip de piesa (arbori cotiti, axe cu came), masinile de prelucrat prin copiere dupa sablon si cele de ascutit scule.
4.1. Masini de rectificat filete.
Sunt masini de rectificat speciale destinate prelucrarii filetelor de precizie, utilizate la instrumente de masura (micrometre), calibre filetate pentru controlul filetelor, scule aschietoare (tarozi si filiere), suruburi de miscare, etc.; cele mai multe modele permit de asemenea si realizarea operatiilor de detalonare.
Dupa lungimea filetului prelucrat, aceste masini pot fi impartite in doua grupe:
- pentru prelucrarea filetelor scurte;
- pentru prelucrarea filetelor lungi.
Între cele doua grupe de masini nu exista diferente cinematice sau de principiu de lucru, diferite fiind doar mecanismele de actionare pentru realizarea avansului longitudinal; astfel, la masinile pentru prelucrat filete scurte, avansul longitudinal se realizeaza cu mecanisme cu came sau cu ajutorul unor rigle inclinate, iar la cele pentru prelucrarea filetelor lungi se utilizeaza lanturile cinematice de filetare.
Prelucrarea filetelor se poate face direct din plin (pentru filete scurte, cu pas fin ), sau ca operatie de finisare prin rectificare realizata dupa taierea filetului prin alte procedee (strunjiri, frezare) si aplicarea tratamentului termic (pentru filete lungi, cu pas mare).
Scula utilizata este un disc abraziv profilat, cu profil simplu (fig.5.68, a,d) sau multiplu (fig.5.68, b, c). Sculele cu profil simplu se utilizeaza la prelucrarea filetelor de pre-
 Fig.5.68
 
 
   
 
  
   
  
   
 
   
   
     
  
     
    Fig.5.68
Fig.5.68
cizie ridicata, ele putand fi inclinate dupa directia tangenta la elicea filetului prelucrat; realizand prelucrarea prin treceri succesive, asigura o productivitate redusa. Sculele cu profil multiplu realizeaza precizii de prelucrare mai reduse, dar productivitati mari, deoarece lungimea cursei longitudinale este mult mai mica.
 Fig.5.69 Fig.5.69
 
 În figura 5.69 este prezentat principiul cinematic al masinilor
de rectificat filete lungi.
   
   
 
   
   
     
  
     
   
Notatiile au urmatoarele semnificatii: GL - ghidaje longitudinale ale batiului; M - masa longitudinala; PF - papusa fixa; PM - papusa mobila; P - piesa de prelucrat; S - scula aschietoare; SR - suport rotativ; PP - papusa portscula; GT - ghidaje transversale ale batiului; K - cama de detalonare; C - cuplaj; RS - roti de schimb.
Miscarile de lucru pentru rectificarea filetelor sunt urmatoarele:
- n - miscarea principala de aschiere, executata de scula S;
- wc - miscarea de avans circular, executata de piesa P;
- wl - miscarea de avans longitudinal, realizata de masa M;
- wr - avans radial, executat de papusa PP, la capetele cursei miscarii wl.
Miscarea de avans circular wc este realizata prin lantul cinematic de avans circular, avand structura:
ME (n0) - RSc - P (nP),
si formula de reglare:
 , cu
, cu  .  (5.34)
.  (5.34)
Miscarile de avans wc si wl sunt legate cinematic prin lantul cinematic de filetare, avand structura:
P (nP ) - RSF - S - M (wl )
si formula de reglare:
 .  (5.35)
.  (5.35)
Detalonarea este operatia de prelucrare a fetei de asezare a dintilor sculelor profilate (freze, tarozi, filiere) in vederea pastrarii formei profilului si a unghiului de asezare a, dupa reascutirea sculei pe fata de degajare. Curba de detalonare este o spirala arhimedica, realizata practic prin combinarea miscarii de avans circular wc cu miscarea wD (fig.5.69) executata pe directia radiala si avand o cursa dubla pentru fiecare dinte al sculei prelucrate.
Lantul cinematic de detalonare are structura:
P (nP ) - C - RSD - K (nK )
in
care turatia camei se calculeaza cu relatia  , unde z
reprezinta numarul de dinti pe rotatie al sculei detalonate
(piesa P). Scriind ecuatia
cinematica, rezulta formula de reglare:
, unde z
reprezinta numarul de dinti pe rotatie al sculei detalonate
(piesa P). Scriind ecuatia
cinematica, rezulta formula de reglare:
 ,  (5.36)
,  (5.36)
valabila pentru sculele cu canale de degajare axiale.
Pe langa miscarile de lucru, masina mai realizeaza si miscarile de pozitionare: wp1 - de apropiere si indepartare rapida a papusii portscula PP de piesa, efectuata la fiecare trecere de prelucrare si wp2 - de rotire a suportului rotativ SR, pentru aducerea planului sculei in pozitia tangenta la elicea filetului.
4.2. Masini de rectificat prin copiere.
Aceste masini sunt destinate prelucrarii profilelor plane de lungime mare prin copiere dupa sablon, utilizand dispozitive de copiat mecanice, in productia de serie. Precizia de prelucrare este mai redusa decat la prelucrarile obisnuite prin rectificare, dar productivitatea este mare.
Principiul de lucru al dispozitivelor de copiat utilizate pe aceste masini este prezen-
tat in figura 5.70, in care s-au facut urmatoarele notatii: 1 - arcuri de compresiune;
 Fig.5.70
 
 sanie transversala; 3 - piatra de rectificat;    4 -
piesa de prelucrat; 5 -
sablon; 6 - sanie
longitudinala; 7 - rola de
urmarire; 8 - ghidaje
transversale.
   
   
 
   
   
     
  
     
    Fig.5.70
Fig.5.70
Rola 7 se regleaza in pozitia corespunzatoare si ramane fixata fata de papusa portscula PP. Sania 6 primeste o miscare de avans longitudinal wl, iar rola 7 urmarind sablonul 5, imprima sistemului o miscare de avans transversal wt.
Copyright © 2025 - Toate drepturile rezervate