![]() | Aeronautica | Comunicatii | Constructii | Electronica | Navigatie | Pompieri |
| Tehnica mecanica |
Relee de inductie
Releele de inductie Ferraris sau wattmetrice cum li se mai spune sunt foarte raspandite in instalatiile de productie, in special ca elemente de baza a protectiilor maximale de curent cu caracteristica dependenta si ale protectiilor directionale; ele se folosesc de asemenea si in protectiile de distanta.
Functionarea releelor de inductie se bazeaza pe actiunea reciproca dintre fluxurile magnetice variabile in timp create de marimile electrice aplicate releului si curentii indusi de acesta in elemental mobil al acestuia (discul sau rotorul cilindric).Rezulta ca ele pot fi folosite numai in current alternative.
Ca si contoarele electrice, pentru realizarea cuplului de rotatie Mrot, releele de inductie folosesc cel putin doua fluxuri magnetice alternative, decalate in spatiu si defazate in timp. Curentii turbionari indusi in sistemul mobil creeaza impreuna cu fluxurile, cuplurile de rotatie necesare acestuia.
Se deosebesc doua tipuri de relee de inductie:
- releu de inductie cu rotor disc (cu o singura infasurare)
- releu cu rotor cilindric care se mai numeste si cu circuit profilat (cu doua infasurari).
1. Relee de inductie cu rotor disc
Releele de inductie cu rotor disc sunt utilizate in cazul cand este necesar ca miscarea rotorului sa fie in functie de o singura marime electrica (curentul sau tensiunea). Deoarece insa nu se poate produce miscare cu un singur flux, se recurge la introducerea unei spire in scurtcircuit pe o portiune a miezului de la marginea intrefierului. Astfel se obtine un al doilea flux, decalat fata de primul in spatiu si defazat in timp, realizandu-se un cuplu.
Dupa cum se observa in figura 3.28. fluxul magnetic principal Φ strabate circuitul magnetic 2 si se imparte in doua fluxuri Φ1 si Φ2 in apropierea intrefierului. Aceste doua fluxuri sunt decalate in spatiu si defazate in timp cu un unghi φ (figura 3.29.) cu ajutorul spirei de cupru in scurtcircuit 3. Un disc de aluminiu 4 se poate roti o data cu axul 5 in intrefierul circuitului magnetic 2.
Tensiunile electromotoare E1 si E2, produse respective de fluxurile magnetice Φ1 respectiv Φ2, nu depind de starea de miscare sau de repaus a discului. Ele sunt defazate cu 90° in urma fata de fluxurile Φ1 respectiv Φ2, si dau nastere in disc curentilor turbionari I1 si I2. Liniile de current incluse de un flux, trec partial si prin portiunea de disc din dreptul axei celuilalt flux.
Figura 3.28. Releu de inductie cu rotor disc.
Portiunile de disc din dreptul axelor fluxurilor vor fi supuse prin urmare unor forte exercitate de campurile magnetice. Daca rezultanta sau momenul acestor forte sunt diferite de zero, discul se pune in miscare. Este de observat ca miscarea este datorita actiunii dintre un flux (de exemplu Φ1 si curentul Indus de celalalt flux I2), deoarece fortele exercitate de curentii indusi proprii au o rezultanta nula. Faza acestor curenti este aceeasi cu a tensiunilor electromotoare care i-au creat, intrucat rezistenta discului este de cateva ori mai mare decat reactanta.
Cuplul de rotatie al unui aparat de inductie se determina, dupa cum se stie, cu formula:
Mrot=k1·f·Φ1·Φ2·sinφ (3.24.)
Unde k - coeficient de proportionalitate
f - frecventa curentului altrnativ
Φ - valori eficace ale fluxurilor magnetice
φ - unghi de defazaj dintre fluxuri
Deoarece la releul examinat fluxurile Φ1 si Φ2 sunt proportionale cu curentul I (pana la saturatia miezului), cuplu de rotatie se poate scrie sub forma
Mrot=k2 f I² sinφ (3.25.)
Pentru un anumit releu, marimile f si φ sunt constante, deci:
Mrot=k·I² (3.26.)

Figura 3.29. Diagrama fluxurilor la releul de inductie cu rotor disc.
Sub actiunea cuplului Mrot, discul releului tinde sa se roteasca, insa este franat de cuplu antagonist Mant creat de un magnet de franare si de un resort. In cazul in care Mrot>Mant discul se roteste si dupa un anumit timp, atinge cu contactul mobil (montat pe axul sau) contactul fix, deci releul actioneaza.
Figura 3.30. Caracteristica temporala de protectie a releului maximal de curent
si reprezentarea releului in schemele electrice.
Rezulta ca relee maximale de curent realizate cu relee de inductie cu rotor disc au o caracteristica dependenta.
2. Releu maximal de curent cu temporizare RTpC
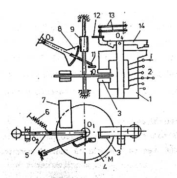
O varianta mixta de releu de inductie cu rotorul profilat si releu electromagnetic este Releul maximal de curent cu temporizare tip RTpC prezentat in figura 3.31. si care reprezinta de fapt o combinatie intre releul cu inductie si un releu electromagnetic.

Figura 3.31. Schema de principiu a umui releu maximal dde curent cu temporizare
Conform figurii 3.31 pe un miez magnetic 1, prevazut cu 2 poli pe care sunt plasate spirele ecran 3, se afla bobina de excitatie 2, parcursa de curentul din circuitul protejat. In intrefierul polilor circuitului magnetic se afla discul de aluminiu 4, al carui ax este sustinut de tija 5,care poate oscila in jurul axului O2. La obtinerea de catre curent a unei valori de (0,2÷0,3)·Ir, unde Ir este valoarea reglata a curentului, discul incepe sa se roteasca in jurul axului O1 cu turatie mentinuta constanta de cuplul de franare determinat de magnetul permanent 7. Daca intensitatea curentului prin releu depaseste valoarea reglata Ir, cuplul motor Mrot invinge cuplul rezistent dat de resortul antagonist 6 si are loc o rotatie a tijei 5de sustinere a discului in jurul axei O2. Se realizeaza astfel cuplarea rotii melcate 9 cu sectorul dintat 8 si odata cu rotirea discului se roteste sectorul dintat 8 in jurul axei O3, antrenand piesa 11 ce se ridica si atinge la capatul cursei piesa 12, care basculand in jurul axului O4 determina inchiderea contactelor 13. Functionarea instantanee a releului este determinata de atragerea armaturii feromagnetice 14 de talpa polara a circuitului feromagnetic 1 si prin rotatia ei in jurul axei O4 provoaca inchiderea contactelor 13.
Releul maximal de curent cu temporizare are 3 posibilitati de reglare:
- reglarea curentului Ir, care se realizeaza prin scurtcircuitarea unui numar de spire al bobinei 2, astfel ales ca solenatia sa ramana constanta (Ir1N1=Ir2N2);
- reglarea temporizarii, prin intermediul pozitiei piesei 10, modificandu-se prin aceasta cursa piesei 11;
- reglarea valorii limita a curentului de la care se produce actionarea instantanee, prin modificarea intrefierului pisei 14.
In figura 3.32. este prezentata o varianta constructiva de releu maximal de curent cu temporizare care are un circuit magnetic este prevazut cu spire in scurtcircuit pentru defazarea fluxului.Fluxul din circuitul magnetic, este generat de bobina b ale carei prize de current sunt racordate la sistemul de comutare a acestora.
Cu ajutorul sistemului de comutare poate fi modificat reglajul de pornire al releului, chiar sub curentul b de sarcina, intrucat printr-un arc si printr-un contact special n se sunteaza circuitul de current care alimenteaza releul. Discul de aluminiu c este montat fix pe un ax d care este fixat la randul sau de un cadru e, mobil in jurul axei f. Rotirea discului incepe la curenti de ordinal a 15% din curentul reglat si continua atat timp cat prin infasurarea releului trece curent.

Figura 3.32. Releu RTpC.
Un resort antagonist r face ca discul sa nu-si modifice pozitia decat atunci cand curentul prin infasurarea releului depaseste valoarea reglata; in momentul acesta fluxul creat atrage discul de aluminiu si surubul melc h, fixat rigid de axul discului se angreneaza cu sectorul dintat j discul se roteste si sectorul se deplaseaza in sus.
Asupra discului actioneaza cuplul de rotatie Mrot si cuplul antagonist Mant. Acesta din urma rezulta din franarea data de magnetul permanent I. In cazul cresterii curentului in infasurarea releului, se mareste cuplul care actioneaza asupra discului, insa creste cuplul antagonist, in functie de viteza acestuia. In acest fel, viteza discului este limitata de actiunea magnetului permanent.
Surubul g serveste ca limitator de cursa a discului, astfel incat inceputul si sfarsitul cursei acestuia sa asigure o angrenare sau o decuplare optima (cu frecari minime) cu sectorul dintat j. Dupa angrenarea sectorului cu surubul melc h al discului si in timpul rotirii permanente a acestuia, sectorul dintat se deplaseaza in sus, pana cand atinge cu parghia k paleta p a partii mobile l a electromagnetului. Aceasta basculeaza in sensul indicat de sagetile din figura, si impinge contactul mobil M. Deplasarea contactului M pana la capatul cursei se produce datorita faptului ca partea mobila l este atrasa puternic de corpul a al electromagnetului, ca urmare a micsorarii intrefierului. Contactul k1 al releului poate fi normal deschis sau normal inchis. El isi schimba pozitia normala ori de cate ori armatura mobila l a electromagnetului principal isi modifica pozitia.
Dupa angrenarea surubului fara sfarsit h cu segmentul j si dupa deplasarea acestuia in sus, viteza de rotatie a discului scade, ceea ce poate avea ca urmare decuplarea surubului fara sfarsit h de segmentul j. Pentru evitarea acestui lucru, pe cadrul e este fixata o lama de otel q, asupra careia actioneaza fluxurile magnetice de dispersie ale electromagnetului a. Dupa angrenarea surubului fara sfarsit h cu segmentul h, lama q este atrasa de fluxurile de dispersie si impiedica decuplarea.
Portiunea dependenta a caracteristicii de timp a releului din figura 3.31. este determinata de viteza de rotatie a discului, care determina viteza de deplasare in sus a sectorului dintat si unghiul de rotatie a acestuia, temporizarea la un current dat fiind cu atat mai mare cu cat acest unghi este mai mare, adica cu cat opritorul t este lasat mai jos prin surubul limitator o.
Armatura l mai poate actiona si in cazul unor fluxuri foarte puternice. In acest caz se realizeaza o "taiere rapida de current" adica o actionare care depaseste o anumita valoare, capatul drept al armaturii l este atras de miezul electromagnetului, intr-un timp mai scurt decat acela in care parghia h a sectorului j ajunge la piesa p.
Timpul de actionare rapida a "taierii de current" este de 0,05- 0,1s.
Valoarea curentului la care actionarea releului este rapida se regleaza prin variatia intrefierului dintre capatul drept al armaturii l si miezul electromagnetului a, cu ajutorul surubului m. Acesta este marcat cu cifrele 2,4,6,8 si ∞ care reprezinta coeficientul de multiplicare a curentului reglat, la care releul actioneaza netemporizat. Daca se mareste foarte mult intrefierul δ releul nu actioneaza instantaneu.
Temporizarea releului se realizeaza prin modificarea distantei dintre piesa k si parghia p. Prin rotirea surubului o se ridica sau se coboara opritorul t prevazut cu indicatorul v, care se deplaseaza in fata scarii gradate in secunde a releului. Limitele reglajului de timp al acestui releu sunt cuprinse intre 0,7 si 10 s.
Caracteristica temporala de protectie a acestui releu este limitat dependenta. Partea caracteristicii intre limitele careia temporizarea depinde de curent se numeste parte dependenta, iar cea intre limitele careia temporizarea nu depinde de current se numeste parte independenta (Figura 3.33.).

Figura 3.33. Caracteristica de protectie limitat dependenta a unui releu RTpC.
Curba 1, corespunde reglarii timpului la o valoare prestabilita si a curentului limitat (de actionare instantanee) la Il=8·Ir;
Curba 2 corespunde unui reglaj tr=4s si Il=6·Ir ;
Curba 3 corespunde la un reglaj tr=2s si Il=4·Ir.
Se obtine in acest fel o caracteristica de protectie temporala mixta (limitat dependenta).
Dintre avantajele folosirii releelor de tip TRpC cel mai important este faptul ca releul permite taierea de curent fara relee suplimentare.
Releul se roteste si in regim normal de functionare permite sa se controleze permanent starea releului (in acest scop pe capacul carcasei releului, in fata discului exista o fereastra cu geam) si a circuitului de current. De asemenea nu actioneaza la variatii scurte de sarcina. Deoarece viteza de rotatie a discului este dependenta de valoarea curentului, releul poate indica calitativ sarcina liniei pe care este montat, fapt pentru care este denumit uneori si releu ampermetric.
Aderarea buna a contactelor normal deschise nu depinde de valoarea curentului de defect care circula prin infasurarea releului.
Coeficientul de revenire al sistemului de inductie este relativ bun
kr =0,75 . 0,85
Folosirea releelor de inductie de tip RTpC are si unele dezavantaje, comparativ cu alte tipuri de relee de protectie:
- Sistemul mecanic destul de complicat face ca precizia sa fie redusa.
- Coeficientul de revenire al sistemului electromagnetic este mai mic (kr = 0,4 ).
- Eroarea in ceea ce priveste curentul de actionare al taierii este mare.
- Consumul de putere este relative mare (circa 30VA)
3. Relee de inductie cu rotor cilindric
La releele de inductie cu rotor cilindric, miscarea rotorului se face sub actiunea a doua marimi electrice. In aceasta constructie ele se folosesc ca relee directionale, de distanta si altele. In cazul in care releele actioneaza la schimbarea sensului puterii, se numesc directionale; cele care masoara impedanta sau reactanta liniei pana la locul defectului, deci marimi proportionale cu distanta pana la defect, se numesc relee de distanta.
Releele directionale bazate pe principiul inductiei se executa cu disc, cu rotor cilindric sau cu cadru mobil.
In ultimul timp, date fiind conditiile pe care trebuie sa le indeplineasca protectia, in special rapiditatea de actionare, s-au adoptat constructiile cu rotor cilindric si cu cadru mobil, care permit sa se realizeze relee cu timp de actionare de ordinal a 0,01 s.
O varianta constructiva de releu directional realizat pe baza releului de inductie cu circuit profilat (denumit si releu cu rotor cilindric sau releu de inductie cu doua infasurari) este prezentat in figura 3.34.

Figura 3.34. Schema de principiu a unui releu de inductie cu rotor cilindric.
In principiu releul este format dintr-un circuit magnetic m cu poli aparenti, un rotor cilindric de aluminiu r, infasurarile de curent si tensiune pe circuitul magnetic si un contact normal deschis. Contactul mobil este fixat pe axul cilindrului de aluminiu. In interiorul cilindrului de aluminui se gaseste un alt cilindru, de fier, f, care serveste la reducerea reluctantei circiutului magnetic total; Un magnet permanent, care cuprinde intre polii sai cilindrul de aluminiu, serveste la amortizarea miscarilor rotorului, iar un resort mentine contactele deschise
Dupa cum stim, functionarea releelor de inductie se bazeaza pe actiunea reciproca dintre fluxurile magnetice variabile in timp si curentii indusi de acestea in elemental mobil al releului. Cuplul de rotatie al unui releu de inductie se determina cu relatia generala 3.24..
In figura 3.35. este reprezentata realizarea practica a releului si se observa modul cum sunt dispuse resortul antagonist si contactele.

Figura 3.35. Releu de inductie cu rotor cilindric.
Infasurarea de curent este formata din doua boboine legate in serie si asezate pe doi poli, iar infasurarea de tensiune din patru bobine legate tot in serie si asezate pe circuitul magnetic exterior. Prin infasurarea de curent circula curentul Ir, din circuitul secundar al transformatoareloe de current, iar infasurarii de tensiune I se aplica tensiunea Ur din circuitul secundar al transformatoarelor de tensiune.
Figura 3.36. Diagrama fazoriala a marimilor electrice si magnetice ale releului de inductie cu rotor cilindric.
Datorita tensiunii aplicate Ur prin infasurareea de tensiune circula curentul Iu. Curentii Ir si Iu dau nastere fluxurilor Φi si Φu 90° ca in figura 3.35.
Pana la saturatia circuitului magnetic, se poate considera ca fluxul Φi este proportional cu curentul Ir, iar fluxul Φu cu curentul Iu adica:
Φi =k2 ·Ir (3.27.)
Φu =k3·Iu
=
(3.28.)
Unde: Zu - impedanta infasurarii de tensiune
k2,k3.k4 - coeficienti de proportionalitate
Inlocuind in relatia (3.28.) valorile fluxurilor de mai sus si considerand frecventa constanta, rezulta cuplul releului:
Mrot = k·Ir·Ur· sinφ (3.29)
Diagrama fazoriala a releului este reprezentata in figura 3.35. Ea a fost construita luandu-se ca marimi initiale tensiunea Ur, curentul Ir si unghiul de defazaj dintre ele φr.
Curentul Iu este defazat fata de Ur cu unghiul γu, determinat de raportul dintre reactanta si rezistenta infasurarii de tensiune.
Fluxurile Φi si Φu sunt defazate fata de curentii Ir, respectiv Iu, cu unghiul δ determinate de pierderile in fier ale circiutului magnetic. S-au obtinut astfel doua fluxuri decalate in spatiu cu 90° si defazate in spatiu cu unghiul φ .
In diagrama fazoriala din figura 3.36. s-a notat cu γu defazjul dintre Iu si Ur si cu α complementul lui γu (unghi de defazaj interior).
Rezulta:
φ = γu - φr (3.30)
Tinand seama de aceste notatii, cuplul de rotatie al releului devine
Mrot =k ·Ir· Ur· sinφ =k ·Ir· Ur ·cos(φr + α) (3.31)
Se observa ca cuplul de rotatie al releului, la valori constante ale marimilor Iu si Ur este maxim cand φr + α=0. In functie de unghiul de defazaj φr, cuplul de rotatie poate fi pozitiv sau negativ, deci rotorul se roteste intr-un sens sau in sens opus.
La punerea in functie a protectiei care foloseste astfel de relee se determina prin schema de conectare a acestora, sensul in care se roteste rotorul pentru nu anumit sens al puterii.
Pentru pornirea releului, cuplul de rotatie trebuie sa fie mai mare decat cuplul antagonist, creat de resort si de frecarea partilor mobile.
Cuplul de pornire este definit prin expresia:
(3.32.)
Notand
cu
, care se mai numeste si putere de pornire,
obtinem relatia:
(3.33.)
Sensibilitatea
releului directional se caracterizeaza, de obicei prin valoarea
minima a puterii de pornire
corespunzatoare unghiului
, pentru care cos(φr + α) = 1;
unghiul φr = -α se numeste unghiul
sensibilitatii maxime.
Puterea de pornire maxima este:
(3.34.)
Puterea de pornire a releului directional depinde de unghiul sensibilitatii maxime si de curentul care circula prin infasurarea de current.
Figura 3.37. Reprezentarea in schemele electrice a releului directional F2.
F1-releu maximal de curent, K- releu intermediar.
Releele directionale au timpi foarte scurti de actionare aproximativ 0,04 s la o putere de pornire de cinci ori mai mare decat cea nominala.
La protectia liniilor electrice se urmareste deconectarea cu atat mai rapida cu cat curentul de scurtcircuit este mai mare. Una din solutiile gasite este cea a folosirii protectiei maximale de curent cu caracteristica dependenta realizata cu ajutorul releelor de inductie. In prezent protectia maximala de curent si directionala se realizeaza ca parte a protectiilor integrate a liniilor electrice.
Copyright © 2025 - Toate drepturile rezervate