![]() | Aeronautica | Comunicatii | Constructii | Electronica | Navigatie | Pompieri |
| Tehnica mecanica |
(1)P La proiectarea cladirilir compozite metal - beton se aplica EN 1994-1-1:2004. Regulile care urmeaza sunt suplimentare fata de cele date in EN 1994-1-1:2004.
Se aplica prevederile Sectiunilor 5 si 6 cu exceptia modificarilor prevazute de aceasta sectiune.
(1)P Cladirile compozite, rezistente la cutremur, trebuie sa fie proiectate in concordanta cu unul dintre urmatoarele concepte (vezi Tabelul 7.1):
Conceptul a) Comportare structurala slab disipativa.
Conceptul b) Comportare structurala disipativa cu zone disipative compozite.
Conceptul c) Comportare structurala disipativa cu zone disipative metalice.
Tabelul 7.1: Concepte de proiectare, clase de ductilitate structurala si limita superioara a valorilor de referinta ale factorilor de comportare
|
Conceptul de proiectare |
Clasa de ductilitate structurala |
Domeniul de referinta al valorilor factorului de comportare q |
|
Conceptul a) Comportare structurala slab disipativa |
DCL (Slab) | |
|
Conceptele b) si c) comportare structurala disipativa |
DCM (Mediu) |
limitat si prin valorile din Tabelul 7.2 |
|
DCH (Inalt) |
limitat numai prin valorile din Tabelul 7.2 |
NOTA 1 Valoarea atribuita limitei superioare a lui q pentru comportarea slab disipativa, in domeniul din Tabelul 7.1, pentru utilizarea intr-o tara, poate fi gasita in Anexa Nationala la acest document. Valoarea recomandata pentru limita superioara a factorului q corespunzatoare unei comportari slab disipative este 1,5.
NOTA 2 Anexa
Nationala a unei anumite tari poate sa prevada
limitari ale alegerii conceptului de proiectare si ale clasei de
ductilitate permise intr-o anumita
(2)P In conceptul a) efectele actiunii pot fi obtinute pe baza unui calcul elastic, fara a lua in considerare comportarea neliniara a materialului, dar tinand cont de fisurarea intr-o anumita masura a betonului grinzii, in concordanta cu regulile generale de calcul structural, definite in 7.4 si cu regulile specifice definite in 7.7 pana la 7.11, corelate cu fiecare tip structural. Cand se utilizeaza spectrul de proiectare definit in 3.2.2.5, limita superioara a valorii de referinta a factorului de comportare q trebuie luata intre 1,5 si 2 (vezi Nota 1 a punctului (1) din acest subparagraf). In caz de neregularitate in elevatie, limita superioara a valorii factorului de comportare q trebuie sa fie corectata asa cum este indicat in 4.2.3.1(7), dar nu trebuie sa aiba o valoare mai mica de 1,5.
In conceptul a) rezistenta componentelor si a imbinarilor trebuie sa fie evaluata in concordanta cu EN 1993 si EN 1994 fara alte cerinte suplimentare. Pntru cladirile care nu sunt izolate la baza (vezi Sectiunea 10), proiectarea in conceptul a) se recomanda numai pentru cazurile de seismicitate redusa.
In conceptele b) si c), se ia in considerare capacitatea unor parti ale structurii (zone disipative) de a rezista actiunii seismice printr-o comportare inelastica. Cand se utilizeaza spectrul de raspuns definit in 3.2.2.5, limita superioara a valorii de referinta a factorului de comportare q este luata mai mare decat valoarea limitei superioare data in Tabelul 7.1 si in Nota 1 din (1) al acestui subparagraf, pentru comportarea slab disipativa. Limita superioara a valorii factorului q depinde de clasa de ductilitate si de tipul structural (vezi 7.3). Cand se adopta conceptele b) si c) trebuie indeplinite cerintele date in 7.2 pana la 7.12.
(5)P Prin proiectarea in conceptul c), nu se intentioneaza ca structurile sa fie avantajate de comportarea compozita in zonele disipative; aplicarea conceptului c) este conditionata de o conformare stricta la masurile care previn implicarea betonului in rezistenta zonelor disipative. In conceptul c) structura compozita este proiectata in concordanta cu EN 1994-1-1:2004 sub incarcari neseismice si in concordanta cu Sectiunea 6, pentru a rezista actiunii seismice. Masurile care previn implicarea betonului sunt date in 7.7.5.
(6)P Regulile de proiectare pentru structuri compozite disipative (conceptul b), urmaresc dezvoltarea de mecanisme plastice locale sigure (zone disipative) in structura ca si a unui mecanism plastic global sigur care sa disipeze cat mai multa energie sub actiunea seismica de proiectare. Pentru atingerea acestui obiectiv, regulile care privesc fiecare element structural sau fiecare tip structural considerat in aceasta sectiune, se dau in 7.5 pana la 7.11 sub denumirea de criterii specifice. Aceste criterii urmaresc dezvoltarea unei comportari mecanice globale pentru care pot fi date prevederi de proiectare.
Structurile proiectate in conceptul b) trebuie sa apartina claselor de ductilitate DCM si DCH. Aceste clase corespund abilitatii crescute a structurii de a disipa energie in mecanisme plastice. O structura care apartine unei anumite clase de ductilitate trebuie sa satisfaca cerinte specifice privind clasele de otel ale sectiunilor, capacitatea de rotire a imbinarilor si detalierea.
(1)P Se aplica 5.2.4(1) si (6.1.3(1)P si notele acestora.
Se aplica 5.2.4(2).
Se aplica 5.2.4(3).
Se aplica 6.2(3) si notele sale la verificarile capacitatii de proiectare relevante pentru partile metalice ale structurii.
In zonele disipative, clasa de beton prescrisa nu trebuie sa fie mai mica decat C20/25. Daca clasa de beton este mai mare de C40/50, proiectarea nu face obiectul documentului EN 1998-1.
(1)P Pentru clasa de ductilitate DCM, otelul de armare considerat pentru rezistenta plastica a zonelor disipative, trebuie sa fie din clasa B sau C, in concordanta cu EN 1992-1-1:2004 Tabelul C1. Pentru clasa de ductilitate DCH, otelul de armare luat in considerare pentru rezistenta plastica a zonelor disipative, trebuie sa fie din clasa C, in concordanta cu acelas tabel.
(2)P Otelul din clasa B sau C (EN 1992-1-1:2004, Tabelul C1) trebuie sa fie utilizat in regiunile puternic solicitate ale structurilor nedisipative. Aceste cerinte se aplica atat barelor, cat si plaselor sudate.
(3)P Cu exceptia etrierilor inchisi sau a agrafelor, in regiunile puternic solicitate sunt permise ca armatura din otel numai barele profilate.
Plasele sudate care nu se conformeaza cerintelor de ductilitate ale (1)P din acest subparagraf nu trebuie utilizate in zonele disipative. Daca se utilizeaza asemenea plase, ele trebuie dublate cu o armatura ductila a carei capacitate va fi luata in considerare la calculul capacitatii efective.
(1)P Cerintele sunt cele specificate in 6.2.
(1)P Structurile compozite otel-beton trebuie incadrate intr-unul dintre tipurile structurale urmatoare, in functie de comportarea structurii de rezistenta principale sub actiunile seismice:
a) Cadre compozite solicitate la incovoiere sunt cele cu aceiasi definitie si limitari din 6.3.1(1)a, dar la care grinzile si stalpii pot fi sau din otel structural sau compozite otel-beton (vezi Figura 6.1);
b) Cadre compozite contravantuite centric sunt cele cu aceiasi definitie si limitari din 6.3.1(1)b si Figurile 6.2 si 6.3. Grinzile si stalpii pot fi sau din otel structural sau compozite otel-beton. Contravantuirile trebuie sa fie din otel structural;
c) Cadre compozite contravantuite excentric sunt cele cu aceiasi definitie si limitari din 6.3.1(1)c si Figura 6.4. Componentele care nu contin legaturi pot fi sau din otel structural sau compozite otel-beton. Legaturile, in afara celor pentru planseu, trebuie sa fie din otel structural. Disiparea de energie trebuie sa se produca numai prin plastificarea acestor legaturi la incovoiere sau forfecare;
d) Structuri de tip pendul inversat sunt cele cu aceiasi definitie si limitari din 6.3.1(1)d ( vezi si Figura 6.5);
e) Sisteme structurale compozite sunt cele care se comporta esentialmente ca structuri cu pereti din beton armat. Sistemele compozite pot apartine unuia dintre urmatoarele tipuri:
Tipul 1 corespunde unui cadru din otel sau compozit, lucrand impreuna cu panouri inramate, conectate la structura din otel (vezi Figura 7.1a);
Tipul 2 este un perete din beton armat care inglobeaza elemente metalice conectate la structura din beton si care sunt utilizate ca armare verticala de margine (vezi Figura 7.1b);
Tipul 3, grinzi din otel sau compozite utilizate pentru a cupla doi sau mai multi pereti din beton sau compoziti (vezi Figura 7.2);
f) Pereti structurali compoziti cu placi de otel sunt cei care constau dintr-o placa de otel continua pe inaltimea cladirii inglobata pe o parte sau pe ambele parti in beton si cu elemente de granita din otel sau compozite.

Figura 7.1: Sisteme structurale compozite. Pereti structurali: a) Tipul 1 - cadre compozite solicitate la incovoiere cu panouri inramate conectate; b) Tipul 2 - pereti compoziti armati cu elemente de otel verticale inglobate.

Figura 7.2: Sisteme structurale compozite. Tipul 3 - pereti din beton sau compoziti, cuplati cu grinzi din otel sau compozite.
In toate tipurile de sisteme structurale compozite, disiparea de energie se produce in sectiunile de otel verticale si in armatura verticala a peretilor. La tipul 3 de sisteme structurale compozite disiparea de energie poate sa se produca in grinzile de cuplare;
Daca la un sistem structural compozit elementele peretilor nu sunt conectate la structura de otel, se aplica prevederile din Sectiunile 5 si 6.
Factorul de comportare q, prezentat in 3.2.2.5, ia in considerare capacitatea de disipare de energie a structurii. Pentru sistemele structurale regulate, factorul de comportare q trebuie sa fie egal cu limita superioara a valorii de referinta data in Tabelul 6.2 sau in Tabelul 7.2, cu conditia ca regulile din 7.5 pana la 7.11 sa fie respectate.
Tabelul 7.2: Limitele superioare ale valorilor de referinta ale factorilor de comportare pentru sisteme regulate in elevatie
|
TIPUL STRUCTURAL |
Clasa de ductilitate |
|
|
DCM |
DCH |
|
|
a), b), c) si d) |
Vezi Tabelul 6.2 |
|
|
e) Sisteme structurale compozite Pereti compoziti (Tipul 1 si Tipul 2) |
au a |
au a |
|
Pereti compoziti sau din beton cuplati prin grinzi din otel sau compozite (Tipul 3) |
au a |
au a |
|
f) Pereti structurali compoziti cu placi de otel |
au a |
au a |
Daca cladirea este neregulata in elevatie (vezi 4.2.3.3), valorile coeficientului q listate in Tabelul 6.2 si Tabelul 7.2 trebuie sa fie reduse cu 20% (vezi 4.2.3.1(7) si Tabelul 4.1).
Pentru cladirile care sunt regulate in plan, daca raportul au a nu este evaluat prin calcul (vezi 6.3.2(3)) pot fi utilizate valorile aproximative prezentate in Figurile de la 6.1 pana la 6.8. Pentru sisteme structurale compozite poate fi luata o valoare o valoare implicita au a = 1,1. Pentru peretii structurali compoziti cu placi de otel poate fi luata valoarea implicita au a
Pentru cladirile care nu sunt regulate in plan (vezi 4.2.3.2), daca raportul au a nu este evaluat prin calcul, valoarea sa aproximativa este egala cu media urmatoarelor valori: (a) 1,0 si (b) valoarea data in (3) al acestui subparagraf.
Valorile raportului au a superioare celor date in (3) si (4) ale acestui subparagraf sunt permise cu conditia ca ele sa rezulte dintr-un calcul static neliniar global (pushover).
Valoarea maxima a raportului au a care poate fi utilizata in proiectare este egala cu 1,6 chiar daca din calcul, asa cum se mentioneaza la punctul (5) al acestui subparagraf, a rezultat o valoare mai mare.
La calculul structurii la actiuni seismice cu metoda fortelor laterale si cu metoda spectrului de raspuns modal se aplica regulile care urmeaza.
Rigiditatea sectiunilor compozite la care betonul este comprimat, trebuie calculata folosind coeficientul de echivalenta n:
(7.1)
La grinzile compozite cu talpa comprimata, momentul de inertie al sectiunii, I1 trebuie sa fie calculat luand in considerare latimea efectiva a talpii definita in 7.6.3.
Rigiditatea sectiunilor compozite, la care betonul este intins, trebuie calculata considerand betonul fisurat si tinand cont numai de partea metalica a sectiunii.
La grinzile compozite cu talpa intinsa, momentul de inertie al sectiunii, I2 trebuie sa fie calculat luand in considerare latimea efectiva a talpii definita in 7.6.3.
Structura trebuie calculata luand in considerare betonul comprimat din unele zone si cel intins din alte zone; distributia zonelor este data in 7.7 pana la 7.11 pentru diferite tipuri structurale.
Criteriile de proiectare date in 7.5.2 trebuie sa fie aplicate partilor de structura rezistente la cutremur, proiectate in concordanta cu conceptul de comportare structurala disipativa.
Criteriul de proiectare dat in 7.5.2 se considera satisfacut daca regulile date in 7.5.3 si 7.5.4 ca si in 7.6 pana la 7.11 sunt satisfacute.
(1)P Structurile cu zone disipative trebuie sa fie proiectate astfel incat plastificarea, flambajul local sau alte fenomene datorate comportarii histeretice a acestor zone sa nu afecteze stabilitatea generala a structurii.
NOTA Factorii q dati in Tabelul 7.2 sunt considerati ca se conformeaza aceastei cerinte (vezi 2.2.2(2)).
(2)P Zonele disipative trebuie sa aiba o rezistenta si ductilitate adecvate. Rezistenta trebuie sa fie determinata in concordanta cu EN 1993 si Sectiunea 6 pentru conceptul c) (vezi 7.1.2) si cu EN 1994-1-1:2004 si Sectiunea 7 pentru conceptul b) (vezi 7.1.2). Ductilitatea este realizata prin respectarea regulilor de detaliere.
Zonele disipative pot fi localizate in componente structurale sau in imbinari.
(4)P Daca zonele disipative sunt localizate in componente structurale, partile nedisipative si imbinarile partilor disipative cu restul structurii trebuie sa aiba suficienta suprarezistenta pentru a permite dezvoltarea plastificarii ciclice in partile disipative.
(5)P Cand zonele disipative sunt localizate in imbinari, componentele imbinate trebuie sa aiba suficienta suprarezistenta pentru a permite dezvoltarea plastificarii ciclice in imbinari.
(1)P La proiectarea structurilor compozite otel-beton sunt utilizate doua rezistente plastice ale zonelor disipative: o margine inferioara a rezistentei plastice (index: pl, Rd) si o margine superioara a rezistentei plastice (index: U, Rd).
(2)P Marginea inferioara a rezistentei plastice a zonelor disipative este luata in considerare la verificarile de proiectare ale sectiunilor elementelor disipative; de ex MEd < Mpl,Rd. Marginea inferoara a rezistentei plastice a zonelor disipative este calculata luand in considerare componenta de beton a sectiunii si numai acele componente metalice care sunt considerate ductile.
(3)P Marginea superioara a rezistentei plastice a zonelor disipative este folosita la proiectarea capacitatii elementelor adiacente zonelor disipative: de exemplu, in 4.4.2.3(4), la verificarea capacitatii proiectate, valorile de proiectare ale momentelor capabile ale grinzilor sunt luate egale cu limita superioara a momentelor plastice capabile, Mu,Rd,b, in timp ce momentele capabile ale stalpilor corespund limitei inferioare, Mpl,Rd,c.
(4)P Marginea superioara a rezistentei plastice este calculata luand in considerare componenta de beton a sectiunii si toate componentele metalice existente in sectiune, inclusiv cele care nu sunt clasificate ca ductile.
(5)P Efectele actiunilor, care au o legatura directa cu rezistenta zonelor disipative, trebuie sa fie determinate pe baza limitei superioare a rezistentei sectiunilor compozite disipative; de ex. forta taietoare de proiectare la capatul unei grinzi compozite disipative trebuie sa fie determinata pe baza marginii superioare a momentului plastic a sectiunii compozite.
(1)P Proiectarea trebuie sa limiteze localizarea deformatiilor plastice, a eforturilor reziduale mari si sa previna defectele de fabricatie.
(2)P Integritatea betonului comprimat trebuie mentinuta pe durata seismului iar plastifica-rea trebuie sa fie limitata la sectiunile metalice.
Plastificarea barelor de armare a placii de planseu trebuie sa fie permisa numai daca grinzile au fost proiectate in conformitate cu 7.6.2(8).
Pentru proiectarea sudurilor si a suruburilor se aplica 6.5.
Solutia locala de proiectare referitoare la barele de armatura din betonul imbinarilor trebuie sa fie justificata prin modele care satisfac conditia de echilibru (de ex. Anexa C pentru placi).
Se aplica 6.5.5(6), 6.5.5(7) si Nota 1 din 6.5.5.
Rezistenta panourilor de inima, complet inglobate, ale imbinarilor dintre grinda si stalp, poate fi calculata ca suma contributiilor betonului si otelului panoului de forfecare daca sunt satisfacute urmatoarele conditii:
a) raportul aspectului zonei panoului hb/hc este:
0,6 < hb/hc <1,4 (7.2)
b) Vwp,Ed < 0,8 Vwp,Rd (7.3)
unde
Vwp,Ed este forta taietoare de proiectare din inima panoului datorita efectului actiunilor, luand in considerare rezistenta plastica a zonelor disipative compozite adiacente din grinzi sau imbinari;
Vwp,Rd este forta taietoare capabila a panoului de inima compozit metal-beton in concordan-ta cu EN 1994-1-1:2004;
hb,hc au semnificatia din Figura 7.3 a).

a)

b)

Legenda:
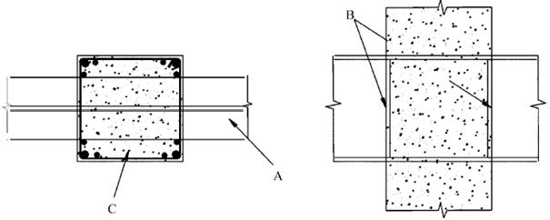
A - grinda metalica; B - placi de reazem; C - stalp din beton armat; D - stalp compozit inglobat Figura 7.3:
Imbinari grinda - stalp c)

O evaluare a panourilor de inima rigidizate si partial inglobate, similara celei de la (7) al acestui subparagraf este permisa daca suplimentar fata de cerintele de la (9) mai este indeplinita si una dintre urmatoarele conditii:
a) La panourile de inima rigidizate si partial inglobate, legaturile directe de tipul definit in 7.6.5(4), compatibile cu 7.6.5(5) si (6) sunt prevazute la un interval de maximum s1 = c; aceste legaturi sunt orientate perpendicular pe cea mai lunga latura a panoului de inima al stalpului si nu este necesara o alta armare a panoului de inima; sau
b) nu exista armatura, cu conditia ca hb/bb < 1,2 si hc/bc < 1,2, unde hb, bb, hc si bc au semnificatia din figura 7.3a).
Cand o grinda disipativa metalica sau compozita reazema pe un stalp din beton armat ca in Figura 7.3 b), armatura verticala a stalpului avand forta axiala capabila cel putin egala cu forta taietoare capabila a grinzii pe care o sustine, trebuie sa se afle cat mai aproape de rigidizare sau de placa de reazem de pe fata stalpului adiacenta zonei disipative. Se permite ca sa se utilizeze armatura verticala pusa pentru alte scopuri ca parte a armaturii verticale necesare. Prezenta placilor de reazem de la fata stalpului este necesara; ele trebuie sa constituie rigidizari pe toata inaltimea, cu o latime combinata, mai mare sau cel putin egala cu (bb-2t); grosimea lor trebuie sa fie mai mare sau cel putin egala cu cea mai mica dintre grosimile 0,75t si 8 mm; bb si t sunt latimea talpii grinzii si respectiv grosimea panoului de inima (vezi Figura 7.3).
Cand o grinda disipativa metalica sau compozita reazema pe un stalp compozit, complet inglobat, ca in Figura 7.3 c), imbinarea dintre grinda si stalp poate fi proiectata fie ca o imbinare grinda-stalp metalic ori ca o imbinare grinda-stalp compozit. In cel de al doilea caz, armaturile verticale din stalp pot fi calculate fie ca in (9) al acestui subparagraf sau distribuind forta taietoare din grinda intre armatura rigida si cea din bare verticale. In amandoua cazurile, este necesara prezenta placilor de reazem, descrise in (9).
Armatura verticala a stalpului, specificata in (9) si (10) al acestui subparagraf trebuie sa fie confinata printr-o armatura transversala care indeplineste cerintele definite in 7.6.
Componentele compozite, care sunt componente principale la seism, trebuie sa fie conforme cu EN 1994-1-1:2004 si cu regulile suplimentare din aceasta sectiune.
(2)P Structura rezistenta la seism este proiectata in legatura cu un mecanism plastic global, implicand zone disipative locale; acest mecanism global identifica componentele in care sunt localizate zonele disipative si indirect componentele fara zone disipative.
Componentele sau partile de componente solicitate la intindere trebuie sa satisfaca cerintele de ductilitate din EN 1993-1-1:2004, 6.2.3(3).
Componentelor care sunt solicitate la compresiune si/sau incovoiere trebuie sa li se asigure suficienta ductilitate locala prin limitarea raportului latime/grosime al peretilor lor. Zonele disipative metalice ca si partile metalice neinglobate trebuie sa satisfaca cerintele din 6.5.3(1) si Tabelul 6.3. Zonele disipative ale componentelor compozite inglobate trebuie sa satisfaca cerintele din Tabelul 7.3. Limitele date pentru talpile componentelor patial sau total inglobate pot fi relaxate daca se prevad detalii speciale asa cum se mentioneaza in 7.6.4(9) si 7.6.5(4) pana la (6).
Tabelul 7.3: Relatia dintre factorul de comportare si limitele zveltetei peretilor.
|
Ductilitatea clasei structuriii |
DCM |
DCH |
|
|
Valoarea de referinta a factorului de comportare q |
q |
1,5 - 2 < q < 4 |
q > 4 |
|
Sectiuni H sau I partial inglobate Sectiuni H sau I total inglobate talpa in afara limitelor c/tf: |
e |
e |
e |
|
Sectiune rectangulara plina limite pentru h/t: |
e |
e |
e |
|
Sectiune circulara plina limite pentru d/t: |
e |
e |
e |
unde
![]()
c/tf are semnificatia definita in Figura 7.8
d/t si h/t sunt rapoartele dintre dimensiunile exteriore maxime si grosimea peretelui
Pentru componentele compozite disipative se dau reguli specifice de detaliere in 7.6.2, 7.6.4, 7.6.5 si 7.6.6.
La proiectarea tuturor tipurilor de stalpi compoziti, trebuie luata in considerare rezistenta sectiunii metalice sau rezistenta combinata a sectiunii de otel si a celei de beton.
Stalpii a caror rezistenta este asigurata numai de sectiunea de otel se proiecteaza in concordanta cu prevederile Sectiunii 6. In cazul stalpilor disipativi , trebuie satisfacute regulile pentru determinarea capacitatii din 7.5.2(4), (5) si 7.5.3(3).
Pentru stalpii total inglobati cu comportare compozita, dimensiunile b, h sau d ale sectiunii transversale nu trebuie sa fie mai mici de 250 mm.
Efortul capabil, inclusiv forta taietoare a stalpilor compoziti nedisipativi trebuie determinat in concordanta cu regulile din EN 1994-1-1:2004.
La stalpi la care atat betonul care inglobeaza, cat si cel inglobat se considera ca, contribuie la capacitatea axiala si/sau de incovoiere a elementului, se aplica regulile de proiectare din 7.6.4 pana la 7.6.6. Aceste reguli asigura transferul total al fortei taietoare intre partile de beton si cele metalice ale sectiunii si potejeaza zonele disipative contra cedarii inelastice premature.
La proiectarea capacitatii de rezistenta la seism, forta taietoare capabila obtinuta conform EN 1994-1-1;2004, Tabelul 6.6 trebuie multiplicata cu un factor de reducere de 0,5.
Atunci cand, in scopul proiectarii capacitatii, se foloseste capacitatea compozita totala a unui stalp, trebuie asigurat transferul complet al fortei taietoare intre partile de beton si cele metalice. Daca aderenta si frecarea nu sunt suficiente pentru transferul fortei taietoare, trebuie utilizati conectori de forfecare pentru a se putea asigura conlucrarea totala in sectiunea compozita.
Ori de cate ori la un stalp compozit solicitarea predominanta este cea axiala, trebuie sa se asigure un transfer satisfacator al fortei taietoare pentru ca sa se poata face trecerea fortelor aplicate stalpului prin imbinari de la grinzi si contravantuiri.
In general, stalpii nu sunt proiectati pentru a fi disipativi, cu exceptia unor tipuri structurale la care se accepta o zona disipativa la baza. Totusi, din cauza incertitudinilor de comportare, este necesara confinarea regiunilor denumite "critice", asa cum este specificat in 7.6.4.
Subparagrafele 5.6.2.1 si 5.6.3 referitoare la ancoraje si inadiri pentru proiectarea stalpilor din beton armat se aplica si la armarea stalpilor compoziti.
(1)P Obictivul proiectarii acestui subparagraf este mentinerea integritatii placii de beton in timpul evenimentului seismic, atunci cand se plastifica partea inferioara a sectiunii metalice si sau armatura suplimentara a placii.
(2)P Atunci cand nu exista intentia de a valorifica caracterul compozit al sectiunii pentru disiparea energiei, se aplica 7.7.5.
Grinzile la care nu se considera comportarea compozita in zonele disipative ale structurii sub actiunea din seism pot fi proiectate pentru o imbinare partiala sau totala la forfecare in concordanta cu EN 1994-1-1:2004. Gradul minim al imbinarii, h, asa cum a fost definit in EN 1994-1-1:2004 6.6.1.2 nu trebuie sa fie mai mic de 0,8 iar rezistenta totala a conectorilor de forfecare in regiunea unde sunt numai momente, nu trebuie sa fie mai mica decat rezistenta plastica a armaturii.
Rezistenta de proiectare a conectorilor in zonele disipative se obtine din rezistenta de proiectare prescrisa in EN 1994-1-1:2004 multiplicata cu un factor de reducere de 0,75.
Atunci cand se folossesc conectori neductili este necesara o imbinare totala la forfecare.
Cand se foloseste tabla profilata cu profilatura asezata transversal pe grinda portanta, factorul de reducere kt al fortei taietoare capabile a conectorilor dat in EN 1994-1-1 trebuie redus si mai mult prin multiplicarea lui cu factorul de eficienta a formei profilelor kr, dat in Figura 7.4.

Figura 7.4: Valoarea factorului de eficienta al formei profilului
Pentru a se asigura ductilitatea in articulatiile plastice, raportul x/d dintre inaltimea zonei comprimate, x si inaltimea sectiunii compozite, d trebuie sa se conformeze urmatoarei expresii:
![]()
unde
ecu2 este deformatia ultima la compresiune a betonului (vezi EN1992-1-1:2004);
ea deformatia totala a otelului la starea limita ultima.
Regula din (7) al acestui subparagraf este considerata satisfacuta daca raportul x/d al sectiunii este mai mic decat valorile limita date in Tabelul 7.4.
Tabelul 7.4: Limita valorilor raportului x/d pentru ductilitatea grinzilor cu placi
|
Clasa de ductilitate |
q |
fy(N/mm2) |
limita superioara x/d |
|
DCM |
1,5 < q | ||
|
1,5 < q |
|
||
|
DCH |
q > 4 | ||
|
q > 4 |
In zonele disipative ale grinzilor, la imbinarea dintre grinda si stalp trebuie sa fie prezenta o armatura ductila specifica placii, denumita "armatura suplimentara seismica"(vezi Figura 7.5), Proiectarea sa si simbolurile folosite in Figura 7.5 sunt specificate in Anexa C.

Legenda
A Nod exterior; B Nod interior; C Grinda metalica; D Grinda metalica de fatada
Figura 7.5: Asezarea armaturii suplimentare.
Latimea totala efectiva, beff a talpii de beton, asociata cu inima fiecarei sectiuni metalice, trebuie sa fie luata ca suma dintre latimile partiale efective be1 si be2 ale portiunii de talpa aflata de fiecare parte a axei inimii sectiunii metalice (Figura 7.6). Latimea partiala efectiva luata de fiecare parte a axei, be trebuie luata din Tabelul 7.5, dar nu poate fi mai mare decat latimile reale b1 si b2 definite la punctul (2) al acestui subparagraf.

Figura 7.6: Definitia latimilor efective be si beff
Latimea efectiva b a fiecarei portiuni trebuie luata ca jumatatea distantei dintre inimile a doua sectiuni metalice invecinate, cu exceptia capatului liber unde trebuie luata distanta de la inima sectiunii metalice la capatul liber.
Latimea partiala efectiva, be care trebuie utilizata la determinarea proprietatilor elastice si plastice ale sectiunii compozite T, alcatuita dintr-o sectiune metalica cuplata cu o placa de beton, este data in Tabelul 7.5 si Figura 7.7. Aceste valori sunt valabile pentru grinzile pozitionate la fel ca grinzile C din Figura 7.5 si daca proiectarea armaturii placii si a imbinarii placii cu grinda metalica si cu stalpii este in concordanta cu Anexa C. In Tabelul 7.5, momentele care induc compresiune in placa sunt considerate pozitive iar cele care induc intindere sunt considerate negative. Simbolurile bb, hc, be, beff si l, utilizate in Tabelele 7.5 I si 7.5 II sunt definite in Figurile 7.5, 7.6 si 7.7. bb este latimea portanta pe stalp a betonului placii in directia orizontala perpendiculara pe grinda pentru care se calculeaza latimea efectiva; aceasta latime portanta poate include placi sau dispozitive cu scopul de a mari capacitatea portanta.

Legenda
A Stalp exterior
B Stalp interior
C Grinda longitudinala
D Grinda transversala sau grinda metalica de fatada
F Reazem extins
G Placa din beton
Figura 7.7: Defininirea elementelor structurilor solicitate la incovoiere
Tabelul 7.5 I: Latimea efectiva partiala, be a placii pentru calculul elastic al structurii
|
be |
Elementul transversal |
be pentru I (ELASTIC) |
|
La stalpul interior |
Prezent sau absent |
Pentru M negativ: 0,05 l Pentru M pozitiv: 0,0375 l |
|
La stalpul exterior |
Prezent |
|
|
La stalpul exterior |
Absent, sau armatura rigida neancorata |
Pentru M negativ: 0 Pentru M pozitiv: 0,025 l |
Tabelul 7.5 II: Latimea efectiva partiala, be a placii pentru evaluarea momentului plastic capabil
|
Semnul momentului incovoietor, M |
Locul |
Elementul transversal |
be pentru MRd (PLASTIC) |
|
M negativ |
Stalp interior |
Armatura suplimentara seismica |
0,1 l |
|
M negativ |
Stalp exterior |
Toate randurile cu armatura suplimentara, ancorata in grinda de fatada sau in fasia de beton, de margine, in consola |
0,1 l |
|
M negativ |
Stalp exterior |
Numai armatura suplimentara, neancorata in grinda de fatada sau in fasia de beton, de margine, in consola | |
|
M pozitiv |
Stalp interior |
Armatura suplimentara seismica |
0,075 l |
|
M pozitiv |
Stalp exterior |
Grinda transversala metalica cu conectori. Placa de beton pozitionata la fata exterioara a stalpului ce are sectiune H cu axa majora orientata ca in Figura 7.5, sau pozitionata mai departe(fasie de beton de margine). Armatura suplimentara seismica |
0,075 l |
|
M pozitiv |
Stalp exterior |
Fara grinda transversala metalica sau grinda transversala metalica fara conectori. Placa de beton pozitionata la fata exterioara a stalpului ce are sectiune in H cu axa majora orientata ca in figura 7.5, sau pozitionata mai departe (fasie de beton de margine). Armatura suplimentara seismica. |
bb/2+0,7hc/2 |
|
M pozitiv |
Stalp exterior |
Toate celelalte aranjari. Armatura suplimentara seismica |
bb be,max be,max = 0,05 l |
In structurile disipative, regiunile critice sunt prezente in ambele capete ale inaltimii libere a stalpilor la cadrele solicitate la incovoiere si in zona adiacenta legaturilor la cadrele contravantuite excentric. Lungimile lcr ale acestor regiuni critice (in metri) sunt specificate prin expresia (5.14) pentru clasa de ductilitate M, sau prin expresia (5.30) pentru clasa de ductilitate H. In aceste expresii, hc este inaltimea sectiunii compozite (in metri).
Pentru a satisface cerintele de rotire plastica si pentru a compensa pierderea de rezistenta datorita exfolierii betonului de acoperire, in regiunile critice definite mai sus trebuie satisfacute expresiile care urmeaza:

In care variabilele sunt definite in 5.4.3.2.2(8) iar forta axiala de proiectare normalizata nd este definita prin:
![]()
Distanta s (in mm) dintre etrierii de confinare din regiunile critice nu trebuie sa depasesca
in clasa de ductilitate DCM; in clasa de ductilitate DCM;

sau la baza primului nivel, in clasa de ductilitate DCH
![]()
unde
bo este dimensiunea minima a nucleului de beton (masurata intre axele ramurilor etrierilor, in mm);
dbL este diametrul minim al barelor suplimentare longitudinale (in milimetri).
Diametrul etrierilor, dbw (in mm) trebuie sa fie cel putin
dbw = 6 in clasa de ductilitate DCM
in clasa de ductilitate DCH;
![]()
unde
dbL,max este diametrul maxim al barelor suplimentare longitudinale (in mm).
In regiunile critice, distanta dintre barele longitudinale consecutive fixate de etrieri sau agrafe nu trebuie sa depaseasca 250 mm in clasa de ductilitate DCM sau 200 mm in clasa de ductilitate DCH.
La primele doua nivele ale cladirii, trebuie prevazuti etrieri in afara regiunilor critice pe o lungime aditionala egala cu jumatatea lungimii regiunilor critice.
La stalpii compoziti disipativi, forta taietoare capabila trebuie sa fie determinata numai pe baza sectiunii metalice structurale.
Relatia dintre clasa de ductilitate a structurii si zveltetea admisibila (c/tf) a aripii talpii in zonele disipative este data in Tabelul 7.3.
Etrierii de confinare pot intarzia flambajul local in zonele disipative. Limitele date in Tabelul 7.3 pentru zveltetea talpii pot fi marite daca etrierii sunt prevazuti la o distanta s mai mica decat aripa talpii: s/c <1,0. Pentru s/c < 0,5, limitele date in Tabelul 7.3 pot fi crescute pana la 50%. Pentru valorile 0,5 < s/c < 1,0 se interpoleaza liniar.
Diametrul dbw al etrierilor de confinare, folositi pentru prevenirea flambajului, nu trebuie sa fie mai mic decat
![]()
in care b si tf sunt latimea si respectiv grosimea talpii iar fydf si fydw sunt rezistentele de curgere pentru proiectare ale talpii si respectiv armaturii.
In zonele disipative in care energia este disipata prin incovoierea plastica a sectiunii compozite, distanta dintre armaturile transversale, s trebuie sa satisfaca cerintele din 7.6.4(3) pe o distanta mai mare sau egala cu lcr pentru zonele disipative de la capatul componentei si 2lcr pentru zonele disipative ale componentei.
La componentele disipative, forta taietoare capabila trebuie sa fie determinata luand in considerare numai sectiunea metalica, in afara cazului in care se prevad detalii speciale pentru mobilizarea betonului de inglobare.
Relatia dintre clasa de ductilitate a structurii si zveltetea (c/t) a aripii talpii din zonele disipative este data in Tabelul 7.3.

Legenda
A Bare aditionale drepte (legaturi)
Figura 7.8: Detaliu al armaturii transversale, cu barele drepte aditionale (legaturi) sudate de talpi
Barele drepte sudate in interiorul talpilor, asa cum se arata in Figura 7.8 si care sunt suplimentare fata de armatura necesara conform EN 1994-1-1, pot intarzia flambajul local in zonele disipative. In acest caz, limitele date in Tabelul 7.3 pentru zveltetea talpii pot fi marite daca aceste bare sunt prevazute la o distanta s1 mai mica decat aripa talpii: s1/c <1,0. Pentru s1/c < 0,5 limitele date in Tabelul 7.3 pot fi marite pana la 50%. Pentru valori in intervalul 0,5< s1/c <1,0 se poate utiliza interpolarea liniara. Legaturile directe suplimentare trebuie, de asemenea, sa se conformeze regulilor din (5) si (6) ale acestui subparagraf.
Diametrul dbw al legaturilor directe, suplimentare, referite in (4), al acestui subpara-graf, trebuie sa fie de minimum 6 mm. Cand se utilizeaza legaturi transversale pentru a intarzia flambajul local al talpii, asa cum se mentioneaza in (4), dbw trebuie sa fie mai mic decat valoarea data de expresia (7.12).
Legaturile directe, referite in (4) trebuie sa fie sudate de talpi la ambele capete iar capacitatea sudurilor trebuie sa fie mai mare sau cel putin egala cu rezistenta de plastificare la intindere a legaturilor. Aceste legaturi trebuie sa fie protejate cu o acoperire de beton simplu de cel putin 20 mm, dar nu mai mare de 40 mm.
Componentele partial inglobate, la care efortul capabil este asigurat numai de sectiunea de otel, pot fi proiectate in concordanta cu prevederile Sectiunii 6, pe langa care trebuie aplicate si prevederile paragrafelor 7.5.2(4), (5) si 7.5.3(3).
Relatia dintre clasa de ductilitate a structurii si zveltetea admisibila d/t sau h/t este data in Tabelul 7.3.
Forta taietoare capabila a stalpilor disipativi trebuie sa fie determinata luand in considerare numai sectiunea de otel structural sau sectiunea de beton armat cu armatura de forfecare realizata din sectiuni de otel cu goluri.
La componentele nedisipative, forta taietoare capabila a stalpului trebuie sa fie determinata in concordanta cu EN 1994-1-1.
(1)P Se aplica 6.6.1(1)P.
(2)P Grinzile compozite trebuie sa fie proiectate pentru o comportare ductila si pentru pastrarea integritatii betonului.
Se aplica 7.5.2(4) sau 7.5.2(5), in functie de localizarea zonelor disipative.
Modelul de formare a articulatiilor plastice trebuie sa fie realizat prin respectarea regulilor din 4.4.2.3, 7.7.3, 7.7.4 si 7.7.5.
(1)P Calculul sectiunii se va realiza pe baza proprietatilor sectiunii definite in 7.4.
In grinzi, trebuie luate in considerare doua rigiditati diferite la incovoiere: EI1 pentru partea deschiderii nefisurata, supusa la momente pozitive (sageata pozitiva) si EI2 pentru partea deschiderii fisurata, supusa la momente negative (sageata negativa).
Alternativ, calculul poate fi realizat luand pentru intreaga grinda un moment de inertie, Ieq cu valoarea:
![]()
Pentru stalpii compoziti, rigiditatea la incovoiere este data de:
![]()
unde
E si Ecm sunt modulul de elasticitate al otelului si respectiv al betonului;
r este factorul de reducere care depinde de tipul sectiunii transversale a stalpului;
Ia, Ic si Is sunt momentul de inertie al sectiunii metalice, al betonului si respectiv al barelor suplimentare.
NOTA Valorile atribuite
factorului r pentru utilizarea intr-o
(1)P Grinzile compozite in T trebuie sa fie proiectate conform 7.6.2. Grinzile partial inglobate trebuie sa se conformeze paragrafului 7.6.5.
Grinzile trebuie verificate la flambaj lateral si flambaj lateral torsional in concordanta cu EN 1994-1-1, considerand formarea unui moment plastic negativ la un capat al grinzii.
Se aplica 6.6.2(2).
Grinzile cu zabrele compozite nu trebuie utilizate ca grinzi disipative.
(5)P Se aplica 6.6.3(1)P.
La stalpii in care se formeaza articulatii plastice, asa cum se mentioneaza in 7.7.1(1), la verificare trebuie sa se tina cont ca Mpl,Rd se realizeaza in aceste articulatii plastice.
Urmatoarea expresie se aplica la toti stalpii compoziti:
![]()
Rezistenta stalpilor trebuie verificata in concordanta cu EN 1994-1-1:2004, 4.8.
Forta taietoare a stalpului, VEd (din calcul) trebuie limitata in concordanta cu expresia (6.4).
Se aplica prevederile date in 6.6.4.
(1)P Rezistenta plastica a grinzilor compozite cu placa (limita inferioara sau superioara a rezistentei plastice din zonele disipative) poate fi calculata luand in considerare numai sectiunea metalica (proiectarea in concordanta cu conceptul c), asa cum este definit in 7.1.2), daca placa este complet decuplata de cadrul metalic pe o zona circulara in jurul stalpului cu diametrul 2beff unde beff este cea mai mare dintre latimile efective ale grinzii care este cuplata cu stalpul.
In concordanta cu scopul punctului (1)P, "complet decuplat" inseamna ca nu exista nici un fel de contact intre placa si oricare latura verticala a oricarui element metalic (de ex. stalpi, conectori de forfecare, placi de cuplare, talpi profilate, platelaj metalic fixat pe talpa unei sectiuni metalice).
La grinzile partial inglobate, trebuie sa se ia in considerare contributia betonului dintre talpile sectiunii metalice.
(1)P Se aplica 6.7.1(1)P.
(2)P Stalpii trebuie sa fie sau din otel structural sau compoziti.
(3)P Contravantuirile trebuie sa fie din otel structural.
Se aplica 6.7.1(2)P.
Se aplica prevederile din 6.7.2.
Se aplica prevederile din 6.7.3.
Se aplica prevederile din 6.7.4.
Cadrele compozite cu contravantuiri excentrice trebuie sa fie proiectate astfel incat disiparea sa se produca esentialmente prin plastificarea la incovoiere si forfecare a legaturilor. Toate celelalte componente trebuie sa ramana elastice iar cedarea imbinarilor trebuie prevenita.
(2)P Stalpii, grinzile si contravantuirile trebuie sa fie din otel structural sau compozite.
(3)P Contravantuirile, stalpii si segmentele de grinda din afara legaturilor trebuie sa fie proiectate astfel incat sa ramana in domeniul elastic sub fortele maxime care pot fi generate prin plastificarea completa si consolidarea ciclica a legaturii grinzii.
(4)P Se aplica 6.8.1(2)P.
(1)P Calculul grinzii se bazeaza pe proprietatile sectiunii, definite in 7.4.2.
In grinzi, trebuie luate in considerare doua rigiditati diferite la incovoiere: EI1 pentru partea deschiderii nefisurata, supusa la momente pozitive (sageata pozitiva) si EI2 pentru partea deschiderii fisurata, supusa la momente negative (sageata negativa).
(1)P Legaturile trebuie sa fie alcatuite din sectiuni de otel sau din sectiuni compozite cu placa. Ele nu trebuie sa fie inglobate.
Se aplica regulile referitoare la legaturile seismice si rigidizarile lor date in 6.8.2. Legaturile trebuie sa fie scurte sau cu o lungime intermediara, avand valoarea maxima e:
In structurile unde se formeaza doua articulatii plastice la capetele legaturii:
![]()
In structurile la care se formeaza numai o articulatie plastica la un capat
![]()
Definitiile lui Mp,link si Vp,link sunt date in 6.8.2(3). Pentru evaluarea lui Mp,link se iau in considerare numai componentele din otel ale legaturii, neglijandu-se placa de beton.
Atunci cand legatura seismica este incadrata intr-un stalp din beton armat sau intr-un stalp inglobat, pe ambele laturi ale legaturii, la fata stalpului, in sectiunea de capat a legaturii, vor fi prevazute placi portante. Aceste placi portante trebuie sa fie conforme cu 7.5.4.
Proiectarea imbinarilor grinda-stalp, adiacente legaturilor disipative, trebuie sa fie conforma cu 7.5.4.
Imbinarile trebuie sa satisfaca cerintele referitoare la imbinarile cadrelor metalice contravantuite excentric din 6.8.4.
Componentele care nu contin legaturi seismice trebuie sa se conformeze regulilor din 6.8.3, tinand cont de rezistenta cumulata a otelului si betonului, in cazul elementelor compozite ca si de regulile relevante pentru componente din 7.6 si din EN 1994-1-1:2004.
Daca o legatura este adiacenta unui stalp inglobat, deasupra si sub imbinarea legaturii trebuie prevazuta o armatura transversala care satisface cerintele din 7.6.4.
La evaluarea rezistentei unei contravantuiri compozite intinsa, trebuie luata in considerare numai sectiunea metalica.
Prevederile acestui subparagraf se aplica sistemelor structurale compozite care apartin unuia dintre cele trei tipuri definite in 7.3.1e.
Sistemele structurale de tipul 1 si 2 trebuie sa fie proiectate astfel incat sa se comporte ca sisteme de tip pereti structurali si sa disipeze energie prin componentele metalice verticale si armatura verticala. Elementele inramate trebuie sa fie legate de elementele de granita pentru a se preveni separarea.
(3)P In sistemele structurale de tipul 1, forta taietoare de nivel trebuie sa fie transmisa prin forfecare orizontala peretilor si interfetei dintre perete si grinzi.
(4)P Sistemele structurale de tipul 3 trebuie sa fie proiectate pentru a disipa energie in peretii structurali si in grinzile de cuplare.

Legenda
A bare sudate de stalp;
B armatura transversala.
Figura 7.9a: Detalii ale elementelor compozite de granita, partial inglobate (detaliile armaturilor transversale sunt pentru clasa de ductilitate DCH).

Legenda
C conectori de forfecare;
D agrafe.
Figura 7.9b: Detalii ale elementelor compozite de granita total inglobate (detaliile armaturii transversale sunt pentru clasa de ductilitate DCH).

Legenda
A Armatura aditionala a peretelui si inglobarea otelului grinzii;
B Grinda de cuplare din otel;
C Placa portanta.
Figura 7.10: Detalii ale grinzii de cuplare incastrata in perete (detaliile sunt pentru clasa de ductilitate DCH)
(1)P Calculul structurii trebuie sa se bazeze pe proprietatile sectiunilor definite in Sectiunea 5 pentru peretii din beton si in 7.4.2 pentru grinzile compozite.
(2)P In sitemele structurale de tipul 1 sau 2, la care otelul structural partial sau total inglobat se comporta ca o componenta de granita a elementelor din beton armat inramate, trebuie sa se ia in calcul, dintre efectele actiunilor asupra acestor elemente de granita, numai fortele axiale.
Aceste forte axiale trebuie sa fie determinate considerand ca fortele taietoare sunt preluate de catre peretele din beton armat iar toate fortele gravitationale si fortele de rasturnare sunt preluate de peretele structural care lucreaza impreuna cu componentele verticale de granita.
In sistemele structurale de tipul 3, daca se utilizeaza grinzi de cuplare compozite, se aplica 7.7.2(2) si (3).
(1)P Panourile din beton armat inramate din structurile de tipul 1 si peretii din beton armat din structurile de tipul 2 si 3 trebuie sa satisfaca cerintele din Sectiunea 5 pentru pereti ductili din clasa de ductilitate DCM.
(2)P Sectiunile din otel, partial inglobate, folosite ca elemente de granita ale panourilor de beton armat, trebuie sa apartina unei clase de sectiuni transversale in corelatie cu factorul de comportare a structurii indicat in Tabelul 7.3.
(3)P Sectiunile de otel structural, total inglobate, folosite drept componente de granita in panourile din beton armat trebuie sa fie proiectate in concordanta cu 7.6.4.
(4)P Sectiunile de otel structural, partial inglobate, folosite drept componente de granita in panourile din beton armat trebuie sa fie proiectate in concordanta cu 7.6.5.
Pentru transferul fortelor taietoare verticale si orizontale intre elementele de granita din otel si betonul armat din panouri trebuie sa se prevada conectori si agrafe (sudate sau ancorate prin gauri in componentele metalice sau ancorate in jurul acestora).
(1)P Grinzile de cuplare trebuie sa aiba o lungime suficienta de inglobare in peretele de beton armat pentru a putea rezista celor mai defavorabile combinatii de forta taietoare si moment incovoietor corespunzatoare momentului incovoietor si fortei taietoare capabile a grinzii de cuplare. Lungimea de inglobare, le se ia incepand de la primul rand al armaturii de confinare a elementului de granita al peretelui (vezi Figura 7.10). Lungimea de inglobare nu trebuie sa fie mai mica decat de 1,5 ori inaltimea grinzii de cuplare.
(2)P Proiectarea imbinarilor grinda/perete trebuie sa se conformeze paragrafului 7.5.4.
Armatura verticala a peretelui, definita in 7.5.4(9) si (10), avand forta axiala capabila egala cu forta taietoare capabila a grinzii de cuplare, trebuie sa fie asezata pe lungimea de inglobare a grinzii cu doua treimi din otelul aflat in prima jumatate a lungimii de inglobare. Aceasta armatura trebuie sa fie prelungita cu cel putin o lungime de ancorare deasupra si sub talpile grinzii de cuplare. Este permisa folosirea armaturii asezata pentru alte scopuri, cum ar fi pentru marginile verticale ale componentelor, ca parte a armaturii verticale necesare. Armatura transversala trebuie sa se conformeze paragrafului 7.6.
(1)P Trebuie utilizata armatura transversala pentru confinarea componentelor compozite de granita. Armatura trebuie extinsa pe o distanta de 2h in peretele de beton, unde h este inaltimea elementului de granita in planul peretelui (vezi Figura 7.9a) si b)).
(2)P Cerintele referitoare la legaturile cadrelor contravantuite excentric se aplica si la grinzile de cuplare.
(1)P Peretii structurali compoziti cu placi metalice trebuie proiectati astfel incat sa se plastifice la solicitarea de forfecare a placilor metalice.
Placile metalice trebuie rigidizate pe una sau ambele fete de inglobare in beton pentru a se preveni flambajul otelului.
(1) Calculul structurii trebuie sa se bazeze pe proprietatile materialelor si sectiunilor definite in 7.4.2 si 7.6.
(1)P Trebuie sa se verifice conditia:
VEd < VRd (7.18)
cu forta taietoare capabila data de relatia:
![]()
unde
fyd este rezistenta de plastificare, de proiectare, a placii; si
Apl este aria sectiunii orizontale a placii
(2)P Imbinarile dintre elementele de granita si placa (stalpi si grinzi), ca si imbinarile dintre placa si betonul de inglobare, trebuie proiectate astfel incat sa se dezvolte intrega capacitate de plastificare a placii.
(3)P Placa metalica va fi cuplata continuu cu sudura sau suruburi la toate muchiile otelului structural si ale elementelor de granita care o inconjoara pentru ca in ea sa se dezvolte forta taietoare plastica capabila.
(4)P Elementele de granita trebuie proiectate pentru a satisface conditiile din 7.10.
Grosimea betonului nu trebuie sa fie mai mica de 200 mm, cand este prevazut pe o latura si de 100 mm de fiecate parte cand este prevazuta pe ambele laturi.
Procentul minim de armare pe ambele directii nu trebuie sa fie mai mic de 0,25%.
Golurile din placa de otel trebuie sa fie rigidizate asa cum rezulta din calcul.
Pentru controlul proiectarii si al executiei se aplica 6.11.
Copyright © 2026 - Toate drepturile rezervate