![]() | Biologie | Chimie | Didactica | Fizica | Geografie | Informatica |
| Istorie | Literatura | Matematica | Psihologie |
CUM AM INVATAT CRIOGENIE
Abstract Cryogenics object as well as
its application domain, inclusively the development in
Domeniul criogeniei incepe cu temperatura de vaporizare a metanului in conditii normale (111,7 K) si tinde catre zero absolut. Domeniul si obiectivele criogeniei pot fi urmarite in figura 1. In figura 2 este descrisa evolutia productiei de oxigen, respectiv de azot, din industria romaneasca, tehnologia de lichefiere si de distilare a aerului lichid fiind una dintre cele mai reprezentative tehnologii criogenice din tara [1].
O remarca referitoare la figura 1: "Arborele criogenic" este separat in partea de jos (radacina) de stiintele care sustin criogenia, iar in partea de sus (coroana) apare dezvoltarea, valorificarea ei. De observat ca tehnologiile criogenice sunt mari consumatoare de energie specifica si operarea lor impune reguli de stricta securitate deoarece trebuie luat in considerare faptul ca nu se poate vorbi despre ingineria criogenica fara a stapani lichefierea gazelor, separarea si purificarea lor inaintata.
![]()

Fig. 2. Productia de oxigen si azot din industria chimica din Romania

Cu o dotare de ultima ora a laboratorului de criogenie al Uzinei G (1981) nu insemna ca persoanele cunosc criogenie, prin urmare s-a procedat la un sistem - este adevarat costisitor - de instruire, desigur citind si facand - cu sublinierea cuvantului facand -, adica prin experimentare si verificare. Fata de procesele clasice de tehnica frigului bazate pe ciclul de comprimare cu vapori, procesele de racire in criogenie prezinta o serie de particularitati [2].
a) Scaderea temperaturii agentului de lucru se poate obtine prin doua procese: laminare (destindere la entalpie constanta), sau prin detenta (destindere la entropie constanta). Racirea prin laminare este limitata de domeniul cuprins de curba de inversiune a agentului; pentru diferite gaze, acest proces este reprezentat in diagrama din figura 3. Racirea prin detenta reprezinta o adiabata care nu este limitata de un anumit domeniu, dupa cum rezulta din figura 4. In majoritatea proceselor de racire si in toate care reprezinta o lichefiere, sunt utilizate ambele procese: preracirea gazului prin detenta si lichefierea propriu zisa prin laminare.
b) de racire si in toate care reprezinta o lichefiere sunt utilizate ambele procese: preracirea gazului se face utilizand detentoare, lichefierea propriu-zisa se realizeaza prin laminare.
c) O particularitate a agentilor criogenici (gaze lichefiate) este scaderea caldurii latente de vaporizare odata cu scaderea temperaturii. Diagrama din figura 5 ilustreaza aceasta, insa o reprezentare mai sugestiva in partea de jos a figurii este cea a cantitatii de lichid vaporizat pentru introducerea in sistem a unui watt timp de 24 de ore. De aici rezulta pe de o parte consumul mare de energie specifica pentru lichefiere, pe de alta parte importanta izolatiei termice.

Fig. 3. Curbele de inversiune pentru azot, hidrogen si heliu
Fig. 4. Variatia adiabatei (T, p)
d) Conductia este controlata prin reducerea la minim a dimensiunilor echipamentelor; convectia este practic anulata prin introducerea echipamentelor in incinte vidate (10-6 torr); problema este ridicata de radiatie, care este proportionala cu puterea a patra a temperaturii:
(1)
si cum temperatura de lucru T1 tinde catre zero, temperatura mediului ambiant care este T2 = 300 K practic controleaza radiatia, respectiv QR = prop. 8.1·109. Remediul este ecranul de radiatie [3] (aceasta fiind una dintre primele lucrari cu care am inceput instruirea noastra). Experimentele realizate la nivelul azotului lichid ( 80 K) au aratat capacitatea de reducere a pierderilor de caldura prin radiatie in functie de numarul de ecrane, experimente ilustrate in diagrama din figura 6.

e)
Analiza energetica a pierderilor in
schimbatoarele de caldura prin cresterea de entropie
, descrise in final de relatiile:
(2)
pentru transmiterea de caldura, si:
(3)
pentru caderea de presiune, ne arata ca, datorita tinderii temperaturii T1 catre zero, ambele pierderi devin foarte mari. Minimizarea acestor pierderi inseamna transmiterea caldurii la diferente cat mai mici de temperatura (T2 = T1 reprezinta un proces reversibil) si sectiuni mari de curgere pentru DP cat mai mic. S-au elaborat in acest scop schimbatoare de caldura multistrat cu aripioare, din aluminiu, executate cu competenta tehnica la fabrica de radiatoare din Bistrita. Acest tip de schimbator de caldura, pe unitatea de masa, este caracterizat de o suprafata mare de schimb si caderi minime de presiune. Testele efectuate asupra acestor tipuri de schimbatoare de caldura ne-au permis sa tragem urmatoarele concluzii:
relatiile de calcul din literatura de specialitate cu privire la transmiterea caldurii prin convectie la curgerea in contracurent sunt utilizate cu rezultate bune, lucru atestat de experimentele proprii la nivele de temperatura cuprinse intre 20 si 80 K, prezentate comparativ in diagrama din figura 7.
la transmiterea de caldura cu schimbarea starii de agregare, la condensare se respecta legea lui Nusselt, in schimb la fierbere, dupa cum se poate observa in reprezentarile din figura 8, se recomanda verificarea experimentala. Masuratorile noastre efectuate la fierberea hidrogenului lichid sunt marcate cu semnul *; sunt de remarcat diferentele mici de temparatura realizate la schimbul termic, care vin in sprijinul observatiilor de mai sus.
Obtinerea de temperaturi joase si foarte joase in conditii economice se realizeaza prin cascadarea procesului criogenic, cascadare care se aplica cu succes la ciclurile de racire cu gaz (Brayton). Prin asemanare cu cascadarea proceselor de separare izotopica, s-a definit elementul de cascada criogenica (etaj) ca fiind format dintr-un detentor si un schimbator de caldura, conform schitei si diagramei de functionare din figura 9. Procesul de racire dezvoltandu-se intre doua izobare (p1 si p2), numarul de etaje ale cascadei pentru realizarea diferentei de temperatura intre Tn si cea a mediului ambinat T0 este:
(4)
marimea adiabatei fiind constanta:
. (5)

In practica, elementul de cascada cu functionare reala (cu pierderi) este prezentat in figura 10.
Numarul real de etaje al cascadei este dat de:
![]()
(6)
unde
(7)
relatiile (7) descriu ireversibilitatea procesului si influenta recuperatorului de caldura S2.
Fig.
9. Cascada
criogenica ideala si elementul (etaj) i
al cascadei; D, G - debite de gaz
![]()

Daca la toate acestea adau-gam
elaborarea de absorbanti selectivi si testarea lor pana la nivelul
tempe-raturii hidrogenului lichid si implicit utilizarea lor pentru separarea
si ultra-purificarea gazelor, se poate afirma ca instruirea noastra in domeniul
crioge-niei a atins nivelul care sa ne permita studiul si elaborarea
tehnologiilor de separare a deuteriului si a tritiului prin distilarea
criogenica a hidrogenului lichid [4].
Obiectivul principal al cerce-tarilor din domeniul criogeniei a fost elaborarea unei tehnologii de separare a izotopilor hidrogenului, respectiv a deuteriului si tritiului, prin distilarea hidrogenului lichid.

Primul pas a fost definirea
elementului de contact intre fazele li-chida
si gazoasa (vapori), care sa echi-peze coloanele de distilare. S-au
testat un taler cu clopotei, un taler
perforat si o umplutura cu geometrie
ordonata rea-lizata din plasa din
sarma de otel inoxi-dabil. Testele s-au efectuat pe o coloa-na cu un
singur taler introdusa intr-o incinta vidata, protectia la radiatia de caldura
fiind asigurata de doua ecrane concentrice.
Criostatul a permis vizua-lizarea (fotografierea) comportarii
ele-mentului de contact. Schema insta-latiei experimentale este prezentata in
figura 11.
Circulatia pe elementul de contact era asigurata prin fierberea con-trolata a hidrogenului lichid si conden-sarea lui totala la capatul superior. Testele asupra celor trei elemente de contact au demonstrat superioritatea umpluturii ordonate, ale carei perfor-mante pot fi urmarite in diagrama din figura 12 [5].
Pasul urmator a fost testarea comportarii umpluturii ordonate in
pro-cesul de distilare a izotopilor hidrogenului intr-o coloana cu diametrul de
27 mm si inaltimea umpluturii de 550 mm [6]. In figura 13 se poate urmari
schita instalatiei experimentale cu sistemele de racire (condensare) si
incalzire (vaporizare) si in totalitate punctele de masura pentru determinarea
circulatiei, a starii fluidelor si a concentratiilor lor izotopice. Umplutura
ordonata a fost astfel conceputa incat lichidul sa curga sub forma peliculara
(strat foarte subtire), astfel ca rezistenta la transferul de izotop intre faze
sa fie preponderenta in faza de vapori. Urmarind schema din figura 14 si tinand
cont ca procesul de schimb este controlat de coeficientul de transfer de masa
raportat la faza de vapori, Kov, se poate scrie relatia de bilant
izotopic sub forma:
(8)
cu
(9)
descris de coeficientii partiali de transfer si proprietati ale substantei. Prin integrarea relatiei (8) se poate determina inaltimea de umplutura, Z, care sa realizeze o crestere de concentratie izotopica in faza gazoasa de la y1 la y2:
respectiv produsul dintre inaltimea unitatii de transfer, (HTU)ov, care descrie performanta umpluturii si numarul de unitati de transfer, (NTU)ov.
Determinarea experimentala a inaltimii unitatii de transfer se face in baza relatiei (10), respectiv:
(11)
unde
(12)
fiind factorul de separare, iar y1 si y2 concentratiile izotopice masurate la capetele coloanei.
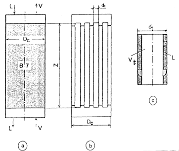
In lipsa unor masuratori, predictia comportarii unei umpluturi este riscanta, asa ca s-a cautat o asemanare cu un proces de distilare a carui comportare poate fi determinata prin calcul si aceasta a fost coloana de distilare cu film de lichid. Cele doua tipuri de coloane sunt reprezentate in figura 15.
Comune se pastreaza inaltimea coloanei, Z, si viteza vaporilor wv (incarcarea coloanei).
Inaltimea unitatii de transfer pentru coloana cu film de lichid este data de:
(13)
unde Kov este descris de (9) si
(14)


Din literatura de specialitate
[7], Kov din relatia (9) poate fi calculat, astfel incat problema cheie ramanea determinarea lui dt,
diametrul coloanei (tubului) cu film de lichid. Tinand cont ca pentru ambele coloane curgerea lichidului este
periculoasa, iar umplutura ordonata
are o forma geometrica bine determinata, practic dt este un
diametru hidraulic:
(15)
unde a este suprafata specifica a umpluturii (m2·m-3), iar este volumul liber al umpluturii (m3·m-3).
Comportarea umpluturii ordonate in procesul de distilare izotopica a hidrogenului lichid a fost determinata pentru trei regimuri de operare caracterizate de presiunile 2, 3 si 4 bari si un domeniu de incarcare caracterizat de viteza wv cuprinsa intre 0.5÷4 cm·s-1. Rezultatele masuratorilor sunt reprezentate in cele trei diagrame din figura 16, unde prin linie continua este reprezentata variatia functiei (13), respectiv comportarea coloanei de distilare cu film de lichid. Concordanta dintre masuratori (umplutura ordonata) si variatia functiei (13) ne permite sa afirmam ca se poate face o predictie a comportarii unei umpluturi ordonate - pentru procesul de distilare izotopica a hidrogenului lichid - prin intermediul coloanei cu film de lichid, atunci cand determinarea diametrului hidraulic al umpluturii este posibila.
In stransa legatura cu lichefierea hidrogenului s-a studiat comportarea unui regenerator temic a carui masa era formata din bile de plumb cu un diametru de 8 mm in numar de 6095, dispuse intr-o coloana cu diametrul de 77 mm si inaltime de 770 mm. Schema instalatiei experimentale poate fi urmarita in figura 17.
O instalatie criogenica C, prin by-pass-ul R3 - R4, permite racirea masei regeneratorului M1 pana la temperatura de 80 K, dupa care, prin deschiderea circuitului de testare, hidrogenul de la temperatura mediului ambiant era racit in regeneratorul M1; regeneratorul M2 era utilizat doar ca recuperator de caldura pentru a permite o functionare normala a compresorului K. Regeneratorul M1 era prevazut cu 11 puncte pentru masurarea temperaturilor in lungul fluxului de hidrogen. Pentru determinarea coeficientului de transmitere a caldurii, experimentarea s-a facut in regim nestationar descris de sistemul:
(16)
in conformitate cu schema din figura 18, unde indicele m se refera la masa regeneratorului.
Problema cheie ramanea determinarea lui dt, diametrul coloanei (tubului) cu film de lichid. Tinand cont ca pentru ambele coloane curgerea lichidului este periculoasa, iar umplutura ordonata are o forma geometrica bine determinata, practic dt este un diametru hidraulic:
(15)
unde a este suprafata specifica a umpluturii (m2·m-3), iar este volumul liber al umpluturii (m3·m-3).
Comportarea umpluturii ordonate in procesul de distilare izotopica a hidrogenului lichid a fost determinata pentru trei regimuri de operare caracterizate de presiunile 2, 3 si 4 bari si un domeniu de incarcare caracterizat de viteza wv cuprinsa intre 0.5÷4 cm·s-1. Rezultatele masuratorilor sunt reprezentate in cele trei diagrame din figura 16, unde prin linie continua este reprezentata variatia functiei (13), respectiv comportarea coloanei de distilare cu film de lichid. Concordanta dintre masuratori (umplutura ordonata) si variatia functiei (13) ne permite sa afirmam ca se poate face o predictie a comportarii unei umpluturi ordonate - pentru procesul de distilare izotopica a hidrogenului lichid - prin intermediul coloanei cu film de lichid, atunci cand determinarea diametrului hidraulic al umpluturii este posibila.
In stransa legatura cu lichefierea hidrogenului s-a studiat comportarea unui regenerator temic a carui masa era formata din bile de plumb cu un diametru de 8 mm in numar de 6095, dispuse intr-o coloana cu diametrul de 77 mm si inaltime de 770 mm. Schema instalatiei experimentale poate fi urmarita in figura 17.
O instalatie criogenica C, prin by-pass-ul R3 - R4, permite racirea masei regeneratorului M1 pana la temperatura de 80 K, dupa care, prin deschiderea circuitului de testare, hidrogenul de la temperatura mediului ambiant era racit in regeneratorul M1; regeneratorul M2 era utilizat doar ca recuperator de caldura pentru a permite o functionare normala a compresorului K. Regeneratorul M1 era prevazut cu 11 puncte pentru masurarea temperaturilor in lungul fluxului de hidrogen. Pentru determinarea coeficientului de transmitere a caldurii, experimentarea s-a facut in regim nestationar descris de sistemul:
(16)
in conformitate cu schema din figura 18, unde indicele m se refera la masa regeneratorului.
Cu notatiile:
(17)
din sistemul (16) s-au obtinut relatiile pentru temperaturi [8]:
(18)
![]()
![]()
Determinarile experimentale s-au facut pentru 6 debite
de hidrogen, variatia temperaturilor T1÷T11 fiind extinsa
pentru un interval de timp de 20000 sec. Determinarea lui
s-a facut prin
ajustarea profilului de temperaturi masurat cu cel calculat, in figura 19
putandu-se urmari, ca exemplu, concordarea celor doua profile.
Valorile determinate pentru
(W·m-2·K-1)
in functie de debitul de hidrogen G (N·m3·h-1) in
domeniul de temperaturi 80 - 300 K sunt date in tabelul de mai jos:
|
G [N·m3·h-1] | ||||||
|
|
si au fost grupate in relatia adimensionala:
(19)
*
Cunostintele obtinute prin experimentarea lichefierii hidrogenului si distilarii lui izotopice ne-au permis sa elaboram o tehnologie pentru separarea deuteriului si tritiului, tehnologie adecvata extractiei tritiului din moderatorul (apa grea) Centralei Nucleare de la Cernavoda. Pentru verificarea tehnologiei, care practic reprezinta sase instalatii inseriate, s-a construit la I.C.S.I. - Ramnicu Valcea, fosta Uzina G, o instalatie pilot semiindustriala, a carei schema bloc poate fi urmarita in figura 20.
![]()
Intrata in teste in ultimii ani, sper sa avem placerea de a asculta si aprecia la viitoarea sesiune PIM rezultatele stiintifice si tehnologice la valoarea cu care ne-au obisnuit pana acum colegii din Ramnicu Valcea.
BIBLIOGRAFIE
M. Peculea, 'Instalatii criogenice', Ed. Conphyz, Rm. Valcea, 1997.
F. Pop, M. Peculea, Rev. de Chimie, 47 (6), 501 (1996).
E. Bologa, M. Peculea, S.D. Popa, Colocviul National de Criogenie, Craiova, 1982.
R.G. Scurlock, 'History and Origins of Cryogenics'. Ed. Clarendon Press, Oxford, 1992.
I. Avram, I. Cristescu, M. Peculea, F. Pop, N. Smeureanu, Cercet. Fiz., 41 (4) 351, (1989)
F. Pop, M. Peculea, C. Croitoru, Rev. Roum. de Chim., 44 (2), 109 (1999).
W.J. Beek, K.M.K. Muttzall, 'Transport Phenomena', John Wiley & Sons, Bristol, 1975.
M. Peculea, A. Mosteanu, Rev. Gen. Thermique, 35 (208) 1996.
![]()

Copyright © 2025 - Toate drepturile rezervate