|  | Biologie | Chimie | Didactica | Fizica | Geografie | Informatica | 
| Istorie | Literatura | Matematica | Psihologie | 
CONTRIBUTII LA IMBUNATATIREA PARAMETRILR CONSTRUCTIVI SI FUNCTIONALI AI SISTEMULUI DE ALIMENTARE CU COMBUSTIBIL LA MOTOARELE CU APRINDERE PRIN COMPRIMARE
La fel ca toate celelalte fenomene socio-umane - procesul instructiv este extrem de complex si variabil, contine mai multe elemete, aspecte inclusiv cele de ordin afectiv, moral aflate in continua miscare. Daca fiecare om este un univers caleidoscopic - greu daca nu chiar imposibil de cunoscut, poate fi modelat pe baza unui scop? Evident, daca exageram complexitatea realitatii psihosociale, raspunsul este negativ si prin aceasta anulam sensul facil al actiunii educative. In realitate pe fondul unei relativitati necesare exista si o anumita afinitate a oamenilor, mai ales a tinerilor pentru actiunile constiente, clare, avand scopuri bine precizate.
Daca admitem utilitatea si rationalitatea actiunii educative ajungem la o alta intrebare: ce factori contribuie la formarea si dezvoltarea personalitatii? Numai identificand acesti factori, eventual ponderea fiecaruia, putem proiecta activitati instructiv-educative constiente si sistematice.
Lucrarea metodico-stiintifica pentru obtinerea gradului didactic I reprezinta contributii ale candidatului la perfectionarea activitatii instructiv-educative, la aplicarea creatoare a unor idei pedagogice la conditiile concrete in care isi desfasoara activitatea, experimentarea unor noi tehnici de lucru cu elevii, extinderea unor experimente care conduc la rezultate bune in procesul formarii elevilor.
Lucrarea cuprinde trei parti:
- Partea I cuprinde Contributii la imbunatatirea parametrilor constructivi si functionali ai sisitemului de alimentare cu combustibil la motoarele cu aprindere prin comprimare;
- Partea a doua cuprinde metodologia cercetarii procesului de invatamant;
- Partea a treia cuprinde experimentul didactic.
Fiecare parte cuprinde mai multe capitole cu exemple din activitatea desfasurata la catedra dar si cu determinari facute in afara orelor de curs.
PARTEA I
CONTRIBUTII LA IMBUNATATIREA PARAMETRILR CONSTRUCTIVI SI FUNCTIONALI AI SISTEMULUI DE ALIMENTARE CU COMBUSTIBIL LA MOTOARELE CU APRINDERE PRIN COMPRIMARE
CAP 1. COMBUSTIBILII FOLOSITI LA MOTOARELE CU APRINDERE PRIN COMPRIMARE
Procedeele de formare a amestecului carburant si desfasurarea reactiilor de ardere sunt legate de o serie de procese pe care trebuie sa le satisfaca combustibilii utilizati. La motoarele la care formarea amestecului are loc in interiorul cilindrilor (motoarele diesel), trebuie realizata o buna pulverizare a combustibilului in timpul careia picaturile fine care se formeaza se amesteca cu aerul aflat in cilindru. In afara acestor cerinte generale combustibilul folosit trebuie:
sa asigure o pornire rapida si sigura a motorului independent de tem-peratura mediului inconjurator;
sa asigure desfasurarea proceselor de ardere fara formarea calaminei si a coxului pe suprafetele camerei de ardere;
sa asigure conditiile unei arderi complete si la timp si reducerea cantitatii de substante toxice in produsele de ardere (gazele rezultate din ardere).
La motoarele de tractoare se utilizeaza in general combustibili lichizi care sunt amestecuri de hidrocarburi ce se obtin din titei. Combustibilii lichizi pentru motoare se produc si pe cale artificiala si se numesc combustibili lichizi sintetici. Combustibilii pentru motoarele cu ardere interna sunt amestecuri formate din combustibilii de baza, componenti si aditivi. Combustibilul de baza la motoarele cu aprindere prin compresie este motorina. Cmponentii sunt substante ce se introduce in combustibilul de baza in proportie de 6-40% pentru imbunatatirea proprietatilor fizice si chimice ale acestora. Aditivii au rolul de a imbunatatii calitatile de exploatare a combustibililor de baza si se adauga in proportie de maxim 6%.
1.1. Proprietatile fizico-chimice ale motoarelor
Motorina este fractiunea petroliera ce se obtine din titei si se caracterizeaza prin intervalul de distilare cuprins intre 300 si 379 C. Motorina se foloseste la m.a.c si este formata dintr-un amestec de hidrocarburi. Principalele conditii pe care trebuie sa le indeplineasca motorinele sunt: fluiditate si punct de congelare coborat corespunzator anotimpului, rezistenta mica la autoaprindere, sa nu fie corozive, sa nu contina impuritati mecanice sis a nu produca prin ardere depozite de calamine.
O proprietate importanta a motorinelor este vascozitatea care reprezinta rezistenta la curgere a unui fluid datorita frecarii interioare. Atat alimentarea cu combustibil cat si formarea amestecului carburant depind de vascozitatea combustibilului. Vascozitatea motorinelor este determinata de compozitia lor chimica si de temperatura. In domeniul temperaturilor positive variatia vascozitatii cu temperatura este relativ mica. Ea devine cu atat mai importanta cu cat temperatura scade sub 0 C si anume vascozitatea creste cu cat temperatura scade. Calitatea motorinelor la temperaturi joase poate fi imbunatatita cu destula eficienta prin utilizarea unor aditivi.
Pentru motorine gradul de vascozitate se exprima prin vascozitatea relativa sau conventionala ce se determina prin compararea vascozitatii unui lichid oarecare cu vascozitatea apei la 20 C. Vascozitatea relativa se determina cu un aparat numit vascozimetru Engler,de unde si numele de vascozitate Engler. Vasozitatea Engler a motorinei la o anumita temperatura este raportul dintre timpul de curgere a unui volum de motorina determinat si timpul de curgere a unui volum egal de apa distilata la 20 C in vascozitate Engler si se exprima in Engler. Pentru asigurarea ungerii pistoanelor plonjoare in procesul de injectie si a arderii prin standard se prevede ca vascozitatea sa fie 1,2-1,7 Engler.
Alta proprietate importanta este punctul de congelare, ce se defineste ca fiind temperatura cea mai inalta la care combustibilul supus racirii isi pierde fluiditatea, adica inceteaza de a mai curge.
Exploatarea pe timp de iarna a autovehiculelor echipate cu motoare diesel impune necesitatea curgerii motorinei prin conducte chiar la temperaturi scazute ceea ce inseamna un punct de congelare cat mai scazut.
Temperatura de autoaprindere este temperatura minima la care combustibilul se aprinde fara interventia unor surse exterioare.
Cifra cetanica este o marime ce caracterizeaza combustibilii pentru motoare diesel din punct de vedere al calitatilor la autoaprindere. Se noteaza prescurtat cu c.c. si se determina prin compararea combustibilului dat cu un combustibil etalon in timpul arderii intr-un motor special cu raport de comprimare variabil. Cifra cetanica reprezinta continutul procedual in volume de cetan in amestec cu alfa- metil-naftalina, amestec ce are aceeasi sensibilitate la autoaprindere ca si combustibilul de incercat. Cifra cetanica este cuprinsa intre 0 si 100 unitati. Valoarea cifrei cetanice influenteaza direct functionarea motorului diesel, astfel o valoarea scazuta a cifrei cetanice majoreaza consumul de combustibil si determina o sporire a intarzierii la aprindere si o functionare violenta a motorului. Este daunatoare si o marire exagerata a cifrei cetanice pentru ca se mareste consumul de combustibil. Motorinele cu cifra cetanica mareau un punct de congelare inalt ceea ce creeaza dificultati in functionarea motorului.
In concluzie valoarea cifrei cetanice trebuie limitata in jurul valorii optime. Pe baza rezultatelor experimentale, confirmate de practica, valoarea minima a cifrei cetanice trebuie sa nu scada sub 40 de unitati, iar cea maxima sa nu creasca peste 50 de unitati.
Indicele diesel trebuie determinat deoarece aflarea cifrei cetanice constituie o operatie complicata cautandu-se astfel un criteriu de evaluare mai simplu a gradului de sensibilitate la autoaprindere a motorinei. Indicele diesel, I.D., arata calitatea motorinei de a se autoaprinde usor. Cu cat I.D. este mai ridicat cu atat motorina se autoaprinde la o temperatura mai joasa iar motorul functioneaza mai linistit. Pentru motorinele provenite din titeiurile romanesti I.D. variaza intre 76 si 51.
Indicele de cocs exprima continutul de compusi rasinosi si nestabili din combustibili. Cu cat combustibilul contine o cantitate mai mare de fractiuni usoare cu atat procentul de cocs format este mai mic.
1.2. Combustibili de origine vegetala utilizati la motoarele cu ardere interna
Parintele m.a.c. Rudolf Diesel a preconizat chiar de la inceput posibilitatea functionarii acestora cu combustibili de origine vegetala prezentand in acest sens la expozitia mondiala de la Paris din anul 1900 un motor cu aprindere prin comprimare functionand cu ulei de arahide. Totodata conform informatiilor existente in primele decenii ale secoluluI XX, firma Deutz oferea pe piata m.a.c.-urilor motoare functionand cu combustibili alternativi. In continuare datorita pretului de cost redus si a cererii in crestere exponentiala, combustibilii petrolieri au dominat piata in maniera absoluta.
Criza petroliera declansata la inceputul anilor '70 si cerintele pentru limitarea poluarii globale din ce in ce mai severe au impulsionat cercetarile privind substituirea petrolului si a combustibililor pe baza de petrol cu combustibili din resurse regenerabile neconventionale.
In mod obisnuit aplicatiile cu combustibili proveniti din uleiuri vegetale se realizeaza in motorul diesel cu formarea peliculara a amestecului prin unul din urmatoarele procedee:
procedeul Meurer (M), cand printr-un orificiu al pulverizatorului se injecteaza circa 95% din doza de combustibil pe peretii cupei din piston de forma speciala (apropiata de o para) si 5% in centrul cupei printr-un alt orificiu de pulverizare;
procedeul Elsbet pentru care prin 2-3 orificii ale pulverizatorului se injecteaza circa 60÷70% din combustibil pe peretii cupei din piston de forma sferica si restul printr-un singur orificiu de pulverizare in interiorul cupei.
In cadrul familiei biocombustibililor un loc central il ocupa prin prisma perspectivelor pe care le ofera pentru m.a.c.,combustibilii de substitutie pe baza de compusi organici oxigenati de tipul alcoolilor inferiori (metanol, etanol) produsi de fermentatia acetonobutilica. Dintre acestia, uleiurile vegetale si derivatele lor prezinta pentru majoritatea tarilor un interes deosebit prin prisma potentialului lor de productie si utilizare, valorificarea uleiurilor vegetale in calitate de combustibili se poate realiza prin urmatoarele cai:
utilizarea uleiurilor vegetale ca atare;
utilizarea monoesterilor obtinuti prin transserterificarea uleiurilor vegetale in stare pura sau in amestec cu motorina;
conversia uleiurilor vegetale in hidrocarburi prin procese de descompunere termica de cracare catalitica , hidroliza a uleiurilor si decarboxilarea acizilor grasi rezultati;
amestecarea uleiurilor vegetale in diferite proportii cu combustibili de natura minerala;
Dintre variantele aplicabile un interes deosebit il prezinta utilizarea uleiurilor vegetale ca atare si a derivatilor de tip monoesteri, avand in vedere urmatoarele considerente:
reprezinta o cale de econimisire a combustibililor de origine petroliera;
uleiurile vegetale, derivatii lor de tipul monoesterilor si amestecurile motorine-monoesteri sunt comparabile cu motoarele diesel in variantele constructive actuale in general sau in unele variante special dezvoltate;
amestecuri motorine-monoesteri nu pun probleme legate de separare si prezinta in general proprietatile fizico-chimice asemanatoare cu ale motorinei de baza;
alimentarea motoarelor diesel cu uleiuri vegetale monoesteri sau amestecuri motorine-monoesteri permite reducerea poluarii atmosferei prin scaderea emisiilor de oxid de carbon;
uleiurile vegetale sunt biodegradabile;
Jamieson a identificat in anul 1943 peste 350 de plante din care s-ar putea extrage uleiuri in timp ce Duke si Bagby, in anul 1982 au stabilit o lista de 70 de specii de plante producatoare de seminte pentru ulei. Din punct de vedere chimic uleiurile vegetale sunt triesteri ai glicerinei cu acizi monocarboxili cu numar par de atomi de carbon care pot contine una sau mai multe legaturi duble in functie de materiile prime din care se extrag. Uleiurile cu un grad mai scazut de nesaturare sunt mai pretabile ca si combustibili decat cele cu grad mai mare de nesaturare.
Notatia pentru acizi grasi consta din 2 numere primul indicand numarul total de atomi de carbon, iar cel de-al doilea numarul de legaturi duble. Cele mai multe uleiuri contin predominant 2 sau 3 acizi principali ceilalti fiind in proportie mica (acizi secundari). In tabelul urmator se prezinta compozitiile medii al catorva uleiuri vegetale.
Tabelul 1 Compozitiile medii ale unor uleiuri vegetale
| Tipul de ulei (R ) | C4 | C6 | C8 | C10 | C12 | C14 | C16 | C18 | C20 | C22 | C24 | C16 | C18 | C20 | C22 | C18 | C18 | 
| Duble legaturi | |||||||||||||||||
| Cocos | |||||||||||||||||
| Palmier | |||||||||||||||||
| Cacao | |||||||||||||||||
| Masline | |||||||||||||||||
| Arahide | |||||||||||||||||
| Rapita | |||||||||||||||||
| Bumbac | |||||||||||||||||
| Porumb | |||||||||||||||||
| Floarea soarelui | |||||||||||||||||
| Soia | |||||||||||||||||
| Nuca | |||||||||||||||||
| In | 
Avand in vedere tendinta generala existenta in Europa precum si conditiile naturale oferite agriculturii in Romania si totodata cerintele socio-economice din tara noastra, uleiurile vegetale au cele mai promitatoare perspective economice de dezvoltare in directia producerii biocombustibililor. Pentru aplicatiile in motoarele cu ardere interna este de interes pretul mediu al uleiurilor vegetale precum si productiile estimate. Conform datelor prezentate in tabelul de mai jos uleiul de rapita are pretul cel mai scazut, acesta fiind urmat de uleiul de palmier si de cel de floarea soarelui.
Tabelul 2.- Tipuri de combustibili si costurile acestora
| DENUMIREA BIOCOMBUSTIBILULUI | COST MEDIU ($/t) | 
| ULEI DE ARAHIDE | |
| ULEI DE RAPITA | |
| ULEI DE BUMBAC | |
| ULEI DE IN | |
| ULEI DE PALMIER | |
| ULEI DE RICIN | |
| ULEI DE FLOAREA SOARELUI | |
| ULEI DE SOIA | 
CAP. 2. ARDEREA LA MOTOARELE CU APRINDERE PRIN COMPRIMARE
2.1. G eneralitati asupra formarii amestecului si arderii motorului cu ardere prin comprimare
Arderea in motorul diesel fata de arderea in m.a.s. are urmatoarele particularitati:
Coeficientul excesului de aer local variaza intre limite foarte largi de la 0 la ∞, motorul dispunand de un amestec voit neomogen. In cazul m.a.c. cu admisie normala coeficientul global al excesului de aer variaza intre 1,4 si 2, situatie posibila datorita faptului ca nu exista restrictii pentru in ceea ce priveste aprinderea amestecului. Aceasta face ca, chiar de la ciclu la ciclu nucleul de flacara sa nu apara in acelasi loc, sa fie undeva conditiile locale create astfel incat arderea sa se initieze si sa se dezvolte. Se reduce sever dispersia ciclica favorizanta pentru tractiunea rutiera pentru care exploatarea motorului are loc la sarcina si turatie variabila.
Durata formarii amestecului este de 5÷8 ori mai redusa decat la m.a.s., extinderea ei fiind de numai 40-80 R.A.C. fata de cca 360 R.A.C. cat este in cazul m.a.s. Aceasta durata redusa de formare a amestecului face ca m.a.c. sa functioneze cu v ,∞) si in niciun caz cu <1, adica cu amestec bogat.
Aprinderea polistadiala se initiaza prin formarea unor nuclee de flacara inaintea terminarii globale a formarii amestecului, ca fiind controlata de injectarea unei doze bine controlate de combustibil fin pulverizat. Pentru formarea amestecului si de aici a arderii sunt determinate procesele de injectie a combustibilului, de constituire a jetului si de plasare a picaturii sub efectul miscarii organizate din cilindru.
2.2. Procesul de injectie a combustibilului
Indicii de performanta ai motorului diesel sunt severi influentati de modul in care are loc injectia combustibilului in cilindru. Injectia combustibilului in camera de ardere se realizeaza prin injectoare care asigura o anumita forma a jetului de combustibil pulverizat in functie de constructia pulverizatorului, presiunea de injectie contrapresiunea aerului in camera de ardere si natura combustibilului. O injectie optima are loc atunci cand combustibilul este astfel pulverizat incat fiecare particula de combustibil este inconjurata de o cantitate suficienta de aer care sa-i permita o ardere rapida si completa. Existenta aerului comprimat in camera de ardere (la o presiune de 35.50 daN/cm2 ) care se opune patrunderii combustibilului cat si necesitatea pulverizarii fine a combustibilului impun presiuni de injectie ridicata (120.1500daN/cm2 ).
Cercetarile experimentale arata k procesul formarii picaturilor depinde de contrapresiunea aerului din camera de ardere care sparge jetul de combustibil sub forma de vene si picaturi. Calitatea optima a injectiei pentru formarea corespunzatoare a amestecului depinde de corelearea adecvata a penetratiei, dispersiei, finetii si omogenitatii pulverizarii. La majoritatea m.a.c. (exceptie procedeul Meurer) penetratia trebuie astfel stabilita incat particulele de combustibil sa nu atinga peretii camerei de ardere deoarece in acest caz au loc reactii de intrerupere care conduc la o ardere incompleta (cu fum la evacuare si consum sporit de combustibil). Factorii care influenteaza calitatea injectiei sunt de natura constructiva (tipul pompei de injectie si al injectorului, profilul camei, numarul, forma si dimensiunile orificiilor de pulverizare) si functionala (presiunea de injectie, turatia pompei de injectie, contrapresiunea si densitatea aerului din camera de ardere). Prezinta importanta si proprietatile fizice ale combustibilului: vascozitatea, tensiunea superficiala si densitatea.
In figura urmatoare se evidentiaza influnta unor factori importanti ca: presiunea de injectie si turatia pompei de injectie asupre penetratiei ( fig 1. a si b) respectiv presiunea de injectie si vascozitatea combustibilului asupra diametrului mediu al picaturilor.
 
  

Fig.1 Influenta unor factori asupra penetratiei si fineti pulverizarii
Se observa influenta favorabila a marimii presiunii de injectie asupra penetratiei si reducerii diametrului mdiu al picaturilor de combustibil. Marirea turatiei pompei de injectie mareste penetratia jetului (prin intermediul maririi presiunii de injectie intrucat creste viteza medie a pistoanelor pompei de injectie care imprima o energie cinetica sporita jetului de combustibil).
Vascozitatea combustibilului influenteaza considerabil diametrul mediu al picaturilor in special la temperaturi joase cand vascozitatea fiind mare diametrul picaurilor creste avand consecinte negative asupra formarii amestecului (in special la pornire).
Un sistem modern de injectie folosit la m.a.c. este sistemul common rail.
La sistemul Common-Rail, generarea presiunii si injectia carburantului sunt doua procese separate din punct de vedere constructiv. O pompa distincta produce in mod continuu o presiune constanta a carburantului. Acesta este stocata intr-o bara de distributie comuna pentru fiecare cap de cilindru, asa-numitul Common Rail (engl.: "conducta principala" sau rampa comuna). Prin intermediul unor conducte scurte de alimentare este realizata conectarea duzelor de injectie paralel cu bara de distributie, fiind asigurata in acest mod alimentarea cilindrilor corespunzatori cu carburant
Prin intermediul separarii procesului de generare a presiunii de cel de injectie, tehnologia Common-Rail ofera potentialul de imbunatatire permanenta a procesul de ardere, cu minimizarea durabila a consumului de carburant, precum si a volumului de emisii. Generatiile viitoare ale sistemului Common-Rail se vor remarca printr-o presiune de injectie superioara pentru un proces de ardere aproape complet, ceea ce va permite o eficientizare pe termen lung si o reducere a emisiilor. In viitor se va realiza o crestere a presiunii de injectie de la valoarea actuala de aproximativ 1.600 bar panala 2.000 bar, iar o etapa ulterioara va permite dezvoltarea unui nivel de pana la 2.400 bar.
Injectia Common-Rail va completa si va extinde la Volkswagen oferta de motoare puternice TDI, cu consum si emisii reduse. Potentialul oferit de aceasta tehnologie este demonstrat intr-o forma impresionanta de prototipul prezentat de Volkswagen la salonul auto de la Tokyo din 2005 al modelului EcoRacer, cu un cu propulsorul TDI de 1,5 litri cu trei cilindri. Cu ajutorul unei capacitati cilindrice de 1.484 cm³, prototipul dezvolta un cuplu motor de maxim 250Nm si o putere maxima de 108 kW (136 CP) la 4.000 rpm. In functie de stilul de condus, consumul mediu obtinut de prototipul EcoRacer este cuprins intre 3,0 si 4,0 litri de carburant la 100 kilometri. Iar aceste performante sunt obtinute cu respectarea valorilor limita de emisii planificate pentru norma de poluare EURO 5.
Pentru imbunatatirea injectiei se introduc la motoarele moderne sisteme de control electronic al injectiei de motorina (EDC-Electronic Diesel Control). Sisteme de control electronic al motoarelor diesel au fost dezvoltate de Daimler-Benz si Bosch si implementate in productia de serie oferind urmatoarele avantaje:
utilizarea aceleiasi pompe de injectie si aceleiasi unitati centrale pentru o gama intreaga de vehicule actionate de m.a.c. a caror caracteristici functionale pot fi implementate individual prin intermediul programarii memoriilor interne ale unitatii de control numeric;
realizarea controlului ideal al caracteristicilor de functionare ceea ce permite (printr-un eficient actuator electro-hidraulic) atingerea unor turatii stabile de relantii chiar si la 500 rpm; astfel se obtin porniri mult mai usoare, cresteri mai putin brutale de turatie ( in zona turatiilor joase), reducerea consumului de combustibil si o uniformitate sporita a turatiei si scaderea nivelului de vibratii al grupului de forta.
  
 
 
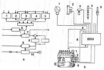
Fig. 2 Controlul electronic al injectiei la M.A.C EDC Electronic Diesel Control.
lampa de control EDC;
lampa avertizare;
vitezometru;
turometru;
contact general;
accelerator manual (agitatoare beton, masini gunoi);
intrerupator oprire motor;
buton de setare a turatiei;
buton de setare a turatiei;
senzor de apasare maxima a pedalei de acceleratie;
unitate centrala de comanda a presiunii de injectie;
senzor de presiune in galeria de admisie;
senzor temperatura aer admis;
intrerupator pornit/oprit;
supapa lectromagnetica de control;
mecanism de reglare;
parghie de reglare a pozitiei traductorului;
tachometru motor (ore functionare) comanda a presiunii de injectie;
senzor presiune atmosferica;
pompa de injectie;
senzor temperatura combustibil;
filtru de combustibil;
conducta retur combustibil;
acumulator de presiune;
pompe electrice de combustibil;
baterie de filtrare (grosiera) carburant;
unitate de control a injectiei;
acces combustibil din rezervor;
In fig.2 este reprezentat controlul numeric al cantitatii si presiunii motorinei injectate, acum functie si de temperatura motorului, temperatura ambianta si temperatura combustibilului (pozitia 21) a dus la obtinerea unor caracteristici optime de pornire si la micsorarea procentului de emisii de particule de carbon.
  
 
 
Fig. 3. Blocurile functionale pentru sistemul EDC Sistemul de injectie cu ROV
pedala acceleratie;
controlul presiunii la aspiratie;
turatia motorului
senzor de plasare ac injector;
senzor temperatura lichid racire;
temperatura motorina;
comanda inchiderii accesului motorinei
controlul cantitatii de combustibil injectat;
actuator electronic pentru comanda avansului la injectie si a cantitatii de motorina.
  
 
 
Fig. 4. Sistemul de control al injectiei EDC (motor ECOTEC Opel)
Controlul turatiei de relantii si al turatiei maxime (RQ Control) ca si datele de reglaj pentru controlul activ al intregii game de turatie (VRQ-Variable RQ Control) sunt programate in memoria calculatorului (Fig 3.b.). Un intrerupator dispus la bord (poz 9, Fig 2.) ofera facilitatea conducatorului de a selecta fie controlul pentru mentinerea turatiei constanta la toate regimurile (VRQ) fie (optional) doar controlul turatiilor extreme (RQ).
Parametrii optimi de reglaj stocati in memoria calculatorului permit utilizarea intregii puteri a motorului in orice conditii de functionare. In acelasi timp emisiile de fum, hidrocarburi si monoxid de carbon sunt reduse si operatiile clasice de depoluare a gazelor de esapament devin aplicabile.
Un astfel de sistem este implementat si pe motorul ECOTEC 2,0 DI 16V dezvoltat de firma Opel. Schema, unitatea centrala de procesare (cu intrarile si iesirile de comanda) sunt prezentate in fig.4 a,b,c. Efectul controlului electronic al arderii (prin injectie si temperatura) asupra emisiilor poluante este deosebit (fig.4.d.). Noile motoare cu aprindere prin comprimare reusind sa indelineasca regulamentul de protectie a mediului.
2.3. Desfasurarea procesului si perioadele arderii
La m.a.c. apar particularitati esentiale fata de m.a.s. datorita formarii amestecului autoaprinderii si arderii. Din corelarea fotoinregistrarilor (schematizate) obtinute prin cinematografiere rapida cu diagrama indicata (Fig 5.).
Se pot observa diferite stadii prin care trece formarea amestecului precum si celelate fenomene. Astfel inainte de punctul I cand in cilindru exista aer si gaze reziduale (de la ciclul precedent) apare o imagine uniforma. In punctul i incepe injectia combustibilului ( se considera un injector care asigura 4 jeturi de combustibil iar pe traseul i-c are loc aparitia simultana a mai multor nuclee de flacara spre deosebire de m.a.s. unde aprinderea incepe cu un singur nucleu de flacara. Dupa punctul c arderea cuprinde rapid intreaga camera de ardere, presiunea si temperatura crescand brusc. Deoarece injectia se terminta numai in punctul y' arderea continua si in destindere pana in punctul z (sau pana in z' cand se considera postardere).
  
 
 
Fig.5. Schematizarea procesului de ardere in cazul unui m.a.c.
Pe baza fenomenelor care au loc in timpul formarii amestecului si arderii se deosebesc 4 perioade:
Ø O prima perioada este perioada intarzierii la autoaprindere care incepe in punctul i (momentul inceperii injectiei) si dureaza pana in punctul c (momentul desprinderii curbelor de variatie a presiunii fara ardere si cu ardere). In perioada intarzierii la autoaprindere combustibilul sufera transformari de natura fizica (pulverizarea, vaporizarea si amestecarea combustibilului cu aerul) si chimica (reactii de oxidare prealabila a combustibilului.
Ø Perioada a doua numita perioada arderii rapide care urmeaza autoaprinderii si dureaza pana in punctul y, este caracterizata prin dezvoltarea rapida a arderii in intreaga camera de ardere si prin degajarea unei cantitati importante de caldura intr-un interval de timp redus, ceea ce explica cresterea rapida a presiunii si temperaturii. Viteaza mare de crestere a presiunii conduce la un mers trepidant al motorului insotit de zgomote si uzuri accentuate (se manifesta similar cu arderea detonanta in m.a.s. in acest caz fiind denumita uneori detonatie diesel).
Viteza de crestere a presiunii depinde de durata primei perioade, respectiv de cantitatea de combustibil existenta in camera de ardere, in momentul aprinderii. In cazul unei durate mari a intarzierii la autoaprindere sau la inceerea cu viteza ridicata a injectiei combustibilului fractiunea de combustibil care arde in perioada arderii rapide creste considerabil, rezulta deci necesitatea realizarii legii de injectie (modul de variatie a cantitatii d comustibil injectate in functie de unghiul RAC) atfel incat cantitatea de combustibil acumulata in cilindru la inceputul perioadei a doua sa fie optima.
Ø Urmatoarea perioada a arderii este perioada arderii progresive (y-z) care se caracterizeaza printr-o variatie redusa a presiunii.
Variatia moderata a presiunii pe traseul y-z se explica prin aportul mai redus al caldurii degajate si prin marirea volumului camerei de ardere la deplasarea pistonului catre PMI.
Arderea in aceasta perioada are un caracter difuziv (viteza de formare a amestecului este mai mica decat viteza reactiilor chimice), ca dovada a acestui caracter fiind prezenta funinginei in zonele cu concentratii ridicate de combustibil.
Formarea funinginei se datoreste deci, nu lipsei globale de oxigen, ci imperfectiunii formarii amestecului.
Caile principale pentru reducerea formarii funinginei sau fumului la evacuare sunt: marirea coeficientului de exces de aer =1,3.1,7, intensificarea miscarii dirijate a gazelor in cilindru corelate cu injectia optima a combustibilului si un regim termic bine ales al peretilor camerei de ardere.
Ø Ultima perioada a arderii, postarderea sau arderea intarziata dureaza dupa punctul z pana cand reactiile de ardere inceteaza datorita efectului scaderii temperaturii (punctul z'). In aceasta perioada imperfectiunea formarii amestecului se accentueaza astfel ca in ultima parte a combustibilului injectat arde intr-o masura tot mai mare sub forma de funingine, arderea avand deci tot un caracter difuziv
O postardere prelungita, chiar daca asigura arderea completa a combustibila nu este recomandata, deoarece conduce la reducerea randamentului.
Analiza proceselor functionale din m.a.c. arata ca in perioada arderii rapide sunt preponderente procedeele de oxidare , iar in perioadele arderii progresive si postarderii actioneaza mai mult caracterul difuziv al arderii. Reducerea ultimei perioade a arderii este avantajoasa din punctul de vedere al randamentului si al reducerii fumului la evacuare insa este insotita de o functionare dura a motorului si a solicitarilor termi mecanice.
Perfectionarea m.a.c. este dependenta intr-o masura hotaratoare de optimizarea procesului arderii care in esenta presupune realizarea unui amestec optim pentru toate perioadele arderii.
Analiza factorilor de influenta asupra arderii in m.a.c. evidentiaza unele posibilitati practice de realizare a motoarelor si exploatarea acestora cat mai economica si de lunga durata.
2.4. Influenta unor factori asupra arderii in m.a.c.
a) Influenta factorilor constructivi
Ø Alegerea raportului de compresie constitue o modalitate eficienta de influentare a perioadei de intarziere la autoaprindere. La cresterea lui , se micsoreaza intarzierea la autoaprindere, datorita maririi presiunii si temperaturii motorul functionand mai linistit. Cu cat este mai ridicat intarzierea la autoaprindere este mai redusa, motorul porneste mai usor functionand linistit si economic. Cresterea lui este limitata de nivelul solicitarilor termomecanice la valori
Ø Caracteristicile injectiei (diametrul orificiilor pulverizatorului, presiunea si legea de injectie) influenteaza durata intarzierii la autoaprindere si durata totala a desfasurarii arderii. Cresterea finetii de pulverizare prin marirea presiunii de injctie pana la o anumita limita conduce la reducerea intarzierii la autoaprindere. Acelasi efect il are si reducerea diametrului orificiilor de la pulverizator.
Legea de injectie desi nu afecteaza intarzierea la autoaprindere totusui pentru o durata determinata a acesteia, influenteaza considerabil perioadele de ardere rapida progresiva si postardere.
Ø Arhitectura camerei de ardere, prin faptul ca influenteaza in mod hotarator procesul arderii in m.a.c. a fost si este foarte mult studiata deoarece exista inca rezerve de perfectionare. Se deosebesc doua grupe mari de camere de ardere: nedivizate si divizate.
Camerele de ardere nedivizate (unitare) sunt caracteristice motoarelor cu injectie directa, ele sunt formate dintr-un compartiment unic cuprins intre chiulasa, capul pistonului si peretii cilindrului.
Camerele de ardere divizate, mai utilizate sunt cele cu camera de vartej si camera de preardere. La motoarele cu camera de vartej, camera de ardere este constituita din 2 compartimente: camera principala cuprinsa intre piston si chiulasa si camera separata de vartej, care este amplasata de obicei in chiulasa. Camerele comunica intre ele prin unul sau mai multe canale sub forma de ajutaj dispuse tangential in camera de vartej contribuind astfel la formarea unui amestec optim in vederea arderii.
La motoarele cu camera separata de preardere aceasta utilizeaza energia degajata prin arderea unei parti din combustibil pentru accentuarea pulverizarii restului de combustibil in camera principala. Camera de preardere plasata in chiulasa are forma aproximativ cilindrica iar volumul de 20.40% din totalul camerei de ardere. Influenta tipului camerei de ardere asupra unor indici de perfectionare ai m.a.c. rezulta din tabelul urmator:
Tabelul 2.Influenta tipului camerei de ardere asupra unor indici de perfectiune ai M.A.C
| Indici de comparatie | Camera unitara | Camera separata de vartej | Camera separata de preardere | 
| Economicitatea Pornirea Dependenta de turatie Calitatea arderii Puterea volumica Sistemul de injectie Calitatea combustibilului Elasticitate in functionare Intesitatea fumului si gazelor nocive Durabilitate Pret de cost Cheltuieli de exploatare | foarte mare usoara foarte mare violenta mica complicat superioara redusa ridicata redusa ridicat ridicate | medie dificila redusa linistita ridicata simplu medie medie medie ridicata mediu reduse | redusa foarte dificila neinsemnata foarte linistita ridicata simplu medie medie medie ridicata mediu reduse | 
b) Influenta factorilor de exploatare
Ø Presiunea si temperatura, la incepututul arderii depind foarte mult de valorle initiale (la admisie) ale acestor marimi. O data cu cresterea presiunii la admisie, intarziearea la autoaprindere se micsoreaza (aspect evidentiat la motoarele supraalimentate). O temperatura de admisie scazuta (motor rece) conduce la pierderi de caldura mari, respectiv la o temperatura insuficienta a aerului in vederea asigurarii autoaprinderii combustibilului injectat in cilindri. Remediile pot fi: utilizarea termoinjectoarelor, a dispozitivelor speciale cu combustibili usor volatili( start pilot), bujiile cu filament incandescent sau incalzirea initiala a fluidului de racire.
Ø Avansul la injectie, trebuie astfel ales incat sa se asigure o putere si o economicitate maxima. Valorile prea reduse ale avansului la injectie prezinta dezavantaje ca: deplasarea arderii in destindere, reducerea presiunii maxime a ciclului, diminuarea puterii motorului si cresterea consumului specific de combustibil. Influenta unghiului de avand la injectie asupra intarierii la autoaprindere, presiunii maxime la sfarsitul arderii sunt evidentiate in fig.6.
 
  
 
 
Fig. 6 Influenta unghiului de Fig 7. Influenta unghiului de avans la injectie
avans la injectie asupra presiunii asupra emisiilor poluante NOx si CmHn , consumului
specific indicat de combustibil ci si gradului de fum If
pentru 2 arhitecturi ale camerei de ardere
Influenta avansului la injectie pentru doua arhitecturi ale camerei de ardere a motorului cu injectie directa, asupra emisiilor poluante este redata in Fig.7. Se observa ca pentru camera de ardere 2, emisia de poluanti este putin influentata de dozaj cu exceptia oxizilor de azot, care au acelasi caracter de variatie pentru ambele camere de ardere.
Ø Turatia influenteaza procesul de ardere in special prin intermediul perioadei de intarziere la autoaprindere. Pentru m.a.c. cu injctie directa la cresterea turatiei are loc marirea duratei intarzierii la autoaprindere deoarece cresterea turatiei nu compenseaza reducerea duratei autoaprinderii.
Ø Sarcina si dozajul. La m.a.c. modificarea sarcinii se realizeaza prin reglarea cantitatii de combustibil injectata ca urmare se modifica compozitia amestecului(dozajul exprimat prin valoarea coeficientului de exces de aer.
Ø Natura combustibilului. La m.a.c. pentru asigurarea unei arderi cu eficienta maxima combustibilul trebuie sa posede o mare sensibilitate la autoaprindere. Sensibilitatea la autoaprindere este determinata de cifra cetanica(CC). Un combustibil cu cifra cetanica mica are o durata mare de autoaprindere, ca urmare pornirea motorului este dificila, functionarea fiind dura cu fum la evacuare. Cresterea cifrei cetanice nu este indicata deoarece are loc marirea consumului specific de combustibil precum si congelarea la temperaturi joase. Analiza factorilor de influenta arata uramtoarele posibilitai practice de realizare a arderii normale: reglarea si intretinerea corespunzatoare a instalatiei de injectie a combustibilului; folosirea combustibilului recomandat, tinand seama de temperatura de congelare a acestuia in functie de temperatura mediului ambiant; intretinerea corecta a sistemului de racire si a celui de ungere; revizii si intretineri periodice conform normativelor in vigoare.
CAP. 3. UMPLEREA PRIN SUPRAALIMENTARE
Prin supraalimentare se intelege introducerea incarcaturii proaspete in cilindru la presiuni mai mari decat cea ambianta prin precomprimarea partiala sau totala a incarcaturii proaspete inainte de intrarea in motor.
In cazul motoarelor cu aprindere prin comprimare, supraalimentarea este benefica pentru procesul de aprindere si de ardere datorita temperaturii mai ridicate a aerului comprimat, din acest motiv se supraalimneteaza si la 40.50 Kw supraalimentarea avand ca efect cresterea presiunii si a densitatii fluidului proaspat ceea ce conduce la majorarea puterii. Avantajele supraalimentarii sunt:
reducerea gabaritului motorului si a masei pe unitatea de putere;
turbosupraalimentarea ce foloseste suflanta antrenata de turbine cu gaze care prelucreaza partial continutul in gazele de esapament, determina randamentul efectiv.
se reduce costul pe unitatea de putere;
se reduc dimensiunile radiatorului deoarece caldura efectuata pe unitatea de putere este mai redusa decat la motorul cu admisie normala
se reduc noxele si costul pe unitatea de putere;
Dezavantajele supraalimentarii sunt:
solicitarile termice si mecanice ale organelor motorului cresc mai ales pentru supraalimentarea inalta si foarte inalta fiind necesara redimensionarea in primu rand a ambreiajului si a lagarelor;
mai ales pentru turbosupraalimenterea foarte inalta se constata o adaptabilitate a motorului la conditiile tractiunii rutiere.
Supraalimentarea poate fi :
supraalimentare joasa (mica-medie) cu s
supraalimentarea inalta cu λs = 2.4;
supraalimentare foarte inalta cu s >4;
In functie de tipul supraalimentarii trebuie avut in vedere modificarile ce trebuie aduce motorului pentru a putea prelua solicitarile termice si mecanice majorate.
Intr-o schema sintetica supraalimentarea poate fi clasificata dupa urmatoarele criterii:
1. Mod de obtinere a presiunii prin supraalimentare se face:
a. prin mijloace exterioare motorului de exemplu cu ajutorul unei suflante antrenate electric (supraalimntarea simulata);
b. prin valorificarea unei cote parti a energiei vehiculate de motor:
fara suflanta si turbina folosind un sistem de admisiune adecvat ce exploateaza fenomenele de unda din traseul de aspiratie;
fara suflanta cu exploatarea energiei undelor de presiune din traseul de evacuare cum este sistemul comprex;
cu suflanta antrenata de la arborele motor;
cu suflanta si turbina cu gaze de impuls sau de presiune constanta.
Tipul constructiv al suflantei:
a. suflanta volumica cu piston in miscare alternativa sau cu rotor;
b. suflanta dinamica radiala, axiala sau radiala axiala la care comprimarea fluidului proaspat este realizat pe baza impulsului primit de la paletele suflante.
Modul de cuplare cu motorul si de prelucare a energiei:
a. supraalimentare mecanica cu suflanta cuplata la arborele motor, fara turbina cu gaze.
b. turbosupraalimentare consacrata sufalnata fiind antrenata de turbina cu gaze de esapare, grupul neavand legatura cinematica cu motorul ci numai gazodinamica;
c. turbosupraalimentarea mixta, grupul de turbosupraalimentare fiind cuplat si cu arborele motorului.
d. turbosupraalimentarea cu un grup turbina suflanta si turbina de putere suplimentara antrenata separat de catre gazele de esapament compound.
3.1. Dispozitive mecatronice folosite la supraalimentare
3.1.1. Controlul numeric al presiunii de supraalimentare
a. Sistemul de actionare al valvei by-pass pentru micsorarea supraalimentarii.
Unitatea centrala de procesare poate coordona si regla presiunea de supraalimentare din sistemul de admisiune in stransa legatura cu conditiile functionale ale motorului. Uneori valorile presiunii de supraalimentare sunt afisate numeric sau analogic pe panoul de bord. Informatiile provenite de la senzori pot determina modificarea avansului la injectie si aprindere astfel incat motorul sa nu atinga regimuri periculoase din punct de vedere al gradientilor de crestere a presiunilor pe ciclu. Prevenirea aparitiei detonatiei, spre exemplu, se realizeaza atat prin micsorarea unghiului de avans la aprindere cat si prin micsorarea supraalimentarii.
  
 
 
Fig. 8. Reglarea presiunii de supraalimentare.
Pentru aceasta (Fig. 8.) se prevede pe circuitul de supaalimentare o supapa 3 pirotata electric si/sau asistata pneumatic, ce poate controla sectiunea canalizatiei de descarcare catre presiunea din canalizatia de avacuare. Practic are loc o scurtcircuitare controlata a turbinei agregatului de supraalimentare 2. Aceasta supapa numita si "Waste-gate" (Poarta de descarcare) indeplineste uneori si functia de limitator al presiunii maxime de supraalimentare. Exista variante constructive la care aceasta functiune este indeplinita de un dispozitiv separat a carui denumire consacrata-supapa de protectie la suprapresiune- provine tot din limba engleza ("Over-Boost"). Tot unitatea centrala ce coordoneaza semnalele acestor "supape" poate comanda intreruperea alimentarii pompei de combustibil si deci a debitarii carburantului spre injectoare, evitandu-se astfel distrugerea camerei de ardere 1.
b. Actionarea dispozitivului de schimbare de pas a palelor rotorului turbinei de supraalimentare.
  
 
Fig. 9. Rotor cu pale reglabile.
O alta varianta de modulare a presiunii de supraalimentare este prezentata in Fig.9. Asa numitele turbine cu geometrie variabila sunt dispozitive cu ajutorul carora, pe baza unor semnale electrice generate de unitatile digitale de control se poate realiza variatia pasului rotorului (turbinei) aflat in calea gazelor de evacuare.
Actionarea sectorului profilat 1 (Fig.9.) se poate realiza cu un actuator ce schimba orientarea in spatiu a paletelor turbinei 2, modificand astfel turatia turbinei si deci indirect cantitatea de aer aspirata fortat de motor.
Firma Renault aplicand Turbocompresorul cu Geometrie Variabila (Fig.9.b.)
inlatura inconvenientul intarzierii raspunsului motorului la apasarea pedalei de acceleratie (prezent la varianta supraalimentarii cu turbina clasica). Utilizand fenomenul de ajustare instantanee a energiei disponibile pe motorul turbinei, fluxul de gaz de esapament 3 este canalizat de aripioarele orientabile (situate in carterul turbinei 2), a caror pozitie variaza functie de scaderea presiunii din colectorul de admisie. Comparativ cu reglajul la motoarele turbo-clasice (ce monitorizeaza pozitia supapei de descarcare Waste-gate, reglarea presiunii de supraalimentare se face numai prin modificarea inclinarii aripioarelor pilotate de un actuator electronic (la comanda unitatii centrale) si a platoului turnant 1; se evita astfel pierderile de energie prin supapa de descarcare si se mareste viteza curentului de gaz de esapament (inainte de intrarea in turbina) cu efecte benefice asupra curbelor de putere si consum ale motorului (Fig.9.c.).
c. Sistemul de supraalimentare prin conducte duble T S(Twin Scroll)
Sistemul de supraalimentare prin conducta dubla moduleaza valoarea presiunii de admisie prin controlul sectiunii uneia dintre cele doua conducte jumalate (gemene) prin care gazele de evacuare sunt admise in turbina de supraalimentare. Acest sistem (Fig.10) este compus din ansamblul: turbosuflanta 1, racitorul de aer de supraalimentare 2, supapa de control a sectiunii canalului secundar 3, cu actuatorul corespunzator 4 si elementul de executie 5, depitmetrul de aer 6, clapeta de acceleratie 7 si senzorii de turatie motor, temperatura si presiunea in galeria de admisie.
  
 
 
a. Varianta constructiva b. Varianta functionala
Fig.10. Twin Scroll System
Turbosuflanta este dispusa intre debitmetrul de aer si obturatorul conductei de admisiune.
Aerul ce trece prin filtrul 8 si debitmetrul 6 este comprimat in suflanta agregatului de supraalimentare, racit si apoi livrat motorului prin galeriile de admisiune 9.
La turatii mici (Fig 11.a.)cand energia gazelor de evacuare este mica doar sectiunea mai mica (primara) este utilizata, sectiunea secundara fiind obturata de actuatorul comandat (in baza informatiilor din sistem) de unitatea centrala astfel incat gazele esapate isi maresc mult viteza la intrarea in turbina. Aceasta contribuie la cresterea presiunii de supraalimentare chiar la turatii mici ale motorului.
  
  La turatii mari (Fig.11.b.) cand energia gazului de
evacuare este mare ambele sectiuni de admisie in turbina sunt deschise
utilizandu-se intreaga energie a curentului de gaz evacuat din motor.
La turatii mari (Fig.11.b.) cand energia gazului de
evacuare este mare ambele sectiuni de admisie in turbina sunt deschise
utilizandu-se intreaga energie a curentului de gaz evacuat din motor.
 
  Fig.11. Constructie TS
 
 
   
   
 
   
   
     
  
     
   
CAP. 4. ELEMENTELE COMPONENTE ALE SISTEMULUI DE ALIMENTARE PENTRU MOTOARELE CU APRINDERE PRIN COMPRIMARE
In general instalatia de alimentare cu motorina a unui m.a.c. cuprinde urmatoarele elemente (fig.12. a si b): rezervorul de combustibil, pompa de alimentare, filtru de motorina (sau bateria de filtre), pompa de injectie, conductele de inalta presiune, conductele de joasa presiune, injectoare.
Rezervorul, pompa de alimentare, filtrul, conductele de joasa presiune, sunt componentele partii de joasa presiune a instalatiei de alimentare. Pompa de injectie, conductele de inalta presiune si injectoarele sunt partile sistemului de inalta presiune al instalatiei de alimentare sau echipamentului de injectie.
In functie de domeniul de utilizare, de caracteristicile constructive si functionale ale elementelor componente, exista variante diferite ale schemelor instalatiilor de alimentare.
Astfel, de exemplu, pentru instalatia de alimentare din figura 12.b. s-a prevazut o conducta separata de colectare a scaparilor de motorina din pompa de injectie, aceasta pompa dezvoltand presiuni mai mari decat cea similara din fig.12.a.
Sistemul de inalta presiune (echipamentul de injectie) trebuie sa indeplineasca urmatoarele functii:
1- dozarea cantitatii de combustibil pe ciclu si pe cilindru in functie de sarcina motorului;
2- realizarea presiunii de injectie necesara pulverizarii motorinei (pimax = 8,0.140,0 MPa) (10bari = 1MPa);
3- pulverizarea cat mai fina a combustibilului si distribuirea acestuia in camera de ardere in conformitate cu cerintele formarii amestecului aer-combustibil;
4- asigurarea avansului la injectie (10.300RAC), durata injectiei si legea de injectie a combustibilului (caracteristica de injectie);
5- realizarea uniformitatii debitarii combustibilului pe cilindri.
  
 
 
Fig . 12. Scheme functionale ale instalatiilor de alimentare.
Principalele functii ale sistemului de inalta presiune sunt asigurate de pompa de injectie. Astfel, presiunea de injectie, dozarea cantitatii de combustibil pe ciclu si cilindru, avansul la injectie, durata injectiei ca si caractersitica de injectie optima sunt realizate de pompa de injectie.
Pompele de injectie se clasifica dupa mai multe criterii:
I. In functie de modul de deservire a cilindrilor motorului se pot deosebi:
a) pompe individuale;
b) pompe injector;
c) pompe cu distribuitor rotativ;
d) pompe in linie; caracteristica acestei clase consta in aceea ca fiecare cilindru al motorului este deservit de cate un element de refulare.
II. Dupa metoda de reglare a dozei de motorina:
a) prin aspiratie invariabila si refulare partiala (exemplu- pompele cu piston-sertar);
b) prin aspiratie variabila si refulare totala (pompele cu distribuitor rotativ);
III. Dupa modul de actionare a elementului de pompare:
a) actionare mecanica (cama);
b) actionare electromagnetica;
Problema esentiala a pompelor de injectie o constituie realizarea presiunilor mari de injectie. Valori de pana la 140 MPa ale presiunii de injectie maxime pot fi asigurate numai de pompele cu piston. Marimea presiunii de injectie implica cerinte ridicate fata de precizia de executie a pistonului si cilindrului elementului de pompare ca si fata de etansarea acestui cuplu de piese fata de mediul exterior. Aceste exigente au condus la reducerea jocului functional dintre piston si cilindru la valori de 1,5.3,0 mm si realizarea unor constructii cu lungimea pistonului sporita in raport cu diametrul sau.
Constructiv un element al pompei de injectie (fig.13.) se compune din cilindrul 1 (bucsa) in interiorul caruia se deplaseaza pistonul plonjor actionat in cursa de refulare de cama 5, contactul permanent intre piston si cama fiind asigurat de arcul 8. Cilindrul 1 are la partea superioara orificiile laterale 3 prin care comunica cu canalul de combustibil 4 practicat in corpul pompei. Elementul de pompare este prevazut la partea superioara cu supapa de refulare 6, retinuta pe sediul sau de arcul 7. Pistonul sertar 2 este prelucrat special; capul acestuia fiind prevazut cu o muchie elicoidala si un canal care face legatura intre spatiul de deasupra pistonului si gulerul de diametru mai mic al acestuia. Pistonul 2 poate fi rotit fie de piciorul 9 fie de un sector dintat actionat de cremaliera pompei de injectie (organul de comanda al debitului).
In cursa de coborare a pistonului sertar 2 spatiul din cilindrul 1 se umple cu motorina aspirata prin orificiul (sau orificiile) de aspirare.
In cursa ascendenta a pistonului se produce o descarcare a volumului de combustibil din cilindrul 1 pana cand orificiile 3 sunt acoperite. Cursa de refulare dureaza din momentul obturarii orificiilor de descarcare 3 pana cand muchia elicoidala atinge marginea inferioara a acelorasi orificii. Pistonul se deplaseaza insa mai departe in cursa ascendenta pana cand tachetul cu rola ajunge pe varful camei.
Cursa de refulare este astfel pozitionata intre doua curse moarte ale pistonului, deci in zona vitezelor mari ale acestuia, ceea ce implica scapari minime de combustibil prin jocuri in timpul cursei de refulare. De asemenea, presiunea de injectie este o functie de viteza pistonului; amplasand cursa activa in domeniul vitezelor ridicate se evita presiunile mici la inceputul si sfarsitul cursei de refulare, realizandu-se astfel o pulverizare de buna calitate.
| 
    Fig.13. Constructia elementului de pompare | 
La constructia exemplificata mai sus prima cursa moarta este constanta, in timp ce a doua cursa moarta si cursa activa sunt variabile in functie de pozitia organului de comanda (cremaliera). Sunt si constructii la care toate cele trei curse sunt variabile.
Dimensiunile elementului pompei de injectie precum si ale regulatorului atasat acesteia determina gabaritul pompei de injectie.
Datorita valorii extrem de mici a dozei de combustibil injectate pe ciclu si pe cilindru (de 20.000 pana la 100.000 de ori mai mica decat cilindreea motorului), diametrul pistonului pompei de injectie si cursa acestuia ar rezulta atat de mici, incat tehnologia de realizare a cuplului piston-cilindru ar intampina dificultati deosebite. Metoda de realizare a dozei necesare prin aspiratie invariabila si descarcare partiala permite construirea pistonului-sertar cu dimensiuni mai mari, relativ usor realizabile tehnologic, pistonul aspirand astfel o cantitate de motorina cu mult mai mare decat doza ce urmeaza a fi refulata.
Pentru a se dimensiona corect un element al pompei de injectie trebuie sa se tina seama de o serie de factori precum:
- compresibilitatea combustibilului;
- dilatarea conductelor de inalta presiune;
- supraincalzirea motorului, etc.
Compresibilitatea combustibilului
In instalatiile de injectie, variatia volumului motorinei este relativ mica; totusi ea trebuie luata in considerare pentru ca, asa cum s-a aratat, si volumele de combustibil tranzitate sunt deosebit de mici. Conform schemei din figura 6.3., pistonul- sertar se deplaseaza intre sectiunile I-I si II-II (pmi si pms).
Lungimile a si d0 au valori uzuale in limitele:
- a = (0,4.0,6) mm
- d0= (2.3) mm
Pe distanta c1 = a + d0 pistonul refuleaza in circuitul de joasa presiune Din sectiunea III-III incepe comprimarea combustibilului; acesta fiind compresibil, pistonul-sertar va trebui sa efectueze o fractiune de cursa, pentru a compensa compresibilitatea motorinei din camera de aspiratie, supapa de refulare, conducta de inalta presiune si injector.
Presiunea de injectie relativ mare produce dilatarea traectului de inalta presiune. Bucsa elementului de pompare, corpul supapei de refulare si injectorul au pereti grosi si practic nu se deformeaza. Deformatie sensibila se intalneste la conducta de inalta presiune.
 
  
 
 
Fig.14. Schema de proiectare a elementului pompei
Evitarea desprinderii de pe cama
Pistonul plonjor isi continua cursa si dupa ce injectia a incetat, dislocand un volum de combustibil corespunzator cursei c . Cursa c trebuie astfel aleasa incat valoarea acceleratiei negative a pistonului sa nu depaseasca valoarea la care pistonasul (tachetul) s-ar desprinde de cama.
Valoarea reala a cursei pistonasului necesara realizarii procesului de injectie se noteaza cu cR si este dependenta de uzurile ansamblului ca si de intensitatea unor fenomene functionale. Astfel, la turatii mari, injectia poate incepe inainte de sectiunea III-III, sau, in cazul uzurilor mari ale fetei frontale a pistonasului, poate incepe dupa sectiunea III-III.
Uneori, sfarsitul injectiei poate avea loc dupa depasirea sectiunii IV-IV, din cauza laminarii motorinei prin orificiile de admisie.
Muchia profilata a pistonasului.
Cursa pistonasului ' CT' variaza in functie de sarcina motorului, marimea ei fiind determinata de unghiul 'q' (de rotatie a pistonasului in jurul axei sale si 'a' (unghiul de inclinare a muchiei profilate).
Cursa activa a pistonasului variaza prin rotirea sa.
Arcul elementului
Arcul elementului pompei de injectie realizeaza cursa pasiva (descendenta) a pistonasului plonjor. Incarcarea arcului, cand pistonul se afla in p.m.i.
Arcul are o sageata de montaj f0.
Cand pistonul se afla la p.m.s. sageata arcului este fmax:
  
  
 
 
Fig. 15. Schema de calcul a arcului elemntului de pompare.
Supapa de refulare realizeaza functii importante in cadrul procesului de injectie. Astfel:
- asigura intreruperea debitarii combustibilului spre injector;
- mentine in conducta de inalta presiune si in injector o presiune reziduala care impiedica dezamorsarea circuitului de inata presiune;
  
  

Fig. 16. Schema de proiectare a supapei de refulare
Prima constructie de acest tip a fost produsa in 1946 de firma American Bosch (pompa PSB). In 1950 firma Stanadyne (S.U.A.) produce pompa cu distribuitor rotativ si pistonase radiale opuse, preluata sub licenta de C.A.V. (Anglia) in 1956, sub indicativul DPA.
Din anul 1970 MEFIN - Sinaia fabrica sub licenta acelati tip de pompa.
Comparativ cu pompele de injectie cu elemente in linie, pompele cu distribuitor rotativ au o serie de avantaje:
- utilizeaza un singur element de pompare care deserveste toti cilindri motorului;
- asigura (data fiind prezenta sectiunii unice de pompare) o uniformitate imbunatatita a debitarii;
- inglobeaza intr-un ansamblu unic si compact elementul de pompare, regulatorul de turatie, variatorul automat de avans si pompa de trasfer;
- ansamblul pompei nu necesita rulmenti, angrenaje, arcuri cu rigiditate mare;
- pompa este etansa, este unsa cu motorina sub presiune, impiedicandu-se si pe aceasta cale patrunderea aerului si a impuritatilor.
Din punct de vedere al consumului de metal pompa de injectie cu distribuitor rotativ este evident mai avantajoasa in comparatie cu pompa cu elemente de pompare in linie.
Masa specifica a pompelor de injectie de tip rotativ este de (45.70)g la 1 mm3 debit pe ciclu, in timp ce aceeasi masa la pompa in linie atinge abia (95.135)g la 1 mm3 debit de combustibil pe ciclu.
Controlul activ al functionarii motoarelor care sunt echipate cu pompe de injectiede tip rotativ, prin sisteme electrice si electronice, este facilitat de fortele considerabil mai mici necesare la organul de reglare a marimii debitului de combustibil pe ciclu.
Trebuie mentionata si solicitarea mica la tractiune si, corespunzator, o rigiditate mare a acelor elemente portante de baza ale pompei (piesele de actionare a camei si corpul pompei). Aceasta constatare creaza posibilitati pentru organizarea unei injectii intensive a combusti-bilului.
  
  

Fig. 17. Schema functionala a pompei D.P.A.
S-a demonstrat ca, la pompele rotative, fortarea procesului de debitare se poate realiza pe calea micsorarii substantiale a volumului de comprimare a combustibilului in stutul pompei (aplicat la supapele de refulare la care arcul este dispus in spatiul de inalta presiune), in combinatie cu un nou ciclu de lucru al pompei, in care aproape toata cursa de lucru a plunjerului se utilizeaza pentru pomparea combustibilului, de asemenea, pe seama realizarii profilului de cama cu raza mica de curbura la varf. Realizarea ultimei masuri permite o marire substantiala a vitezei plunjerului ( Vpmax = 3,2 m/s la np = 1000 rot/min si o cursa minima a plunjerului de 5,5 mm) atingandu-se presiuni de pompare de ordinul a 90 MPa.
Pe langa avantajele prezentate, aceste tipuri de pompe au si o serie de dezavantaje.
Utilizarea unei sectiuni unice de pompare duce la uzura mai rapida a acesteia, precum si la micsorarea timpului disponibil pentru admisia si refularea combustibilului. Aceasta face ca la turatii ridicate umplerea sectiunii de pompare sa fie incompleta, aparand astfel necesitatea utilizarii pompei de transfer care permite realizarea unei presiuni de alimentare suficient de mari. Alte dezavantaje sunt:
- siguranta mai mica in functionare;
- facilitati de reparare reduse;
- cerinte deosebite privind calitatea combustibilului utilizat.
Functionarea pompei de injectie cu distribuitor rotativ, de tip DPA, (integrata in sistemul de injectie) este prezentata in fig. 17.
Din rezervorul pompei de alimentare 1, combustibilul, trecut prin filtrul 2, ajunge la pompa de transfer 3. De la pompa de transfer motorina este dirijata prin canalizatia din corpul pompei la supapa de dozare 4 si de aici in corpul distribuitorului 5 si in spatiul dintre pistonasele 6. Prin rotirea distribuitorului pistonasele sunt impinse spre axa de rotatie de lobii inelului cu came 7 care este fixat de corpul pompei. Combustibilul sub presiune este distribuit pe rand la injectoare prin intermediul unui orificiu de refulare aflat in distribuitor.
Supapa 8 are rolul de a mentine amorsata pompa de injectie si de a asigura valoarea necesara presiunii de transfer. Regulatorul actioneaza asupra supapei de dozaj prin intermediul parghiei 9. O particularitate constructiva esentiala a pompei cu distribuitor rotativ o constituie lipsa arcului care asigura contactul permanent intre inel si cama. Ca urmare, cu exceptia cursei de refulare, cand pistonasele radiale sunt actionate de inelul cu came, pozitia instantanee a acestora este determinata de echilibrul dinamic al fortelor centrifuge, de presiune, de inertie si de frecare.
Ansamblul general al pompei cu distribuitor rotativ si pistoane opuse, tip DPA, este prezentata in proiectie axonometrica in fig. 18.
Pe corpul pompei 1 (turnat din aliaj de aluminiu) se fixeaza cu ajutorul unor suruburi capul hidraulic, format din bucsele exterioare si interioare 19, rotorul distribuitor 14, inelul cu came 17 si pistonasele radiale 15. Rotorul distribuitor este antrenat in miscare de rotatie de axul 24, prevazut cu o zona canelata la partea din spre distribuitor, iar la capatul de antrenare cu o zona conica si locas de pana disc. Legatura dintre axul 24 si rotorul 14 se realizeaza prin placa de antrenare 21, cu caneluri la interior, care se fixeaza cu suruburi de rotorul distribuitor. Axul pompei si placa de antrenare se imperecheaza la montaj, formand astfel un ansamblu neinterschimbabil. Pe axul pompei se mai monteaza regulatorul de turatie mecanic compus din mansonul 48, masele centrifuge 23 si carcasa acestora 26 (celelate piese ale regulatorului sunt montate in interiorul capacului 2).
Etansarea fata de mediul exterior, la capatul dinspre antrenare al axului 24, se asigura cu mansetele de rotatie 43.
La capatul rotorului distribuitor 14, opus antrenarii, se monteaza, filetat, rotorul 3 al pompei de transfer; statorul 5 este inclus in capul hidraulic. Ansamblul este inchis de carcasa supapei de reglare 7, fixata in bucsa exterioara a capului hidraulic cu suruburile 46. Variatorul automat de avans 37 se monteaza pe carcasa pompei, prin prezonul 47 si dispozitivul de blocare 39.
  
 
 
Fig.18. Constructia pompei D.P.A.
Statorul capului hidraulic este format din bucsele exterioara si interioara 19, care se ansambleaza prin fretare. Bucsa interioara se realizeaza cu lungime mai mica decat bucsa exterioara, cu scopul de a permite montare statorului 5 al pompei de transfer.
Rotorul capului hidraulic se imperecheaza cu statorul si formeaza un ansamblu neinterschimbabil, cu joc foarte mic (1,5.3,5 mm). De asmenea, pistonasele radiale 15 se imperecheaza cu alezajul executat diametral in rotor, neinterschimbabil, cu un joc foarte mic (4,5.5,5 mm). Fiecare pistonas este actionat prin cate un tachet, compus din rola 16 si papucul 18. Papucul este prevazut cu umeri care patrund in fantele placilor de raglaj 44 si 22, limitand cursa maxima a pistonaselor.
Rolele 16 vin in contact in timpul functionarii cu camele interioare ale inelului cu came 17. Pistonasele radiale se executa cu diametre de 4,5.10,0 mm.
Etansarea capului hidraulic in corpul pompei este realizat cu un inel 0, iar in zona de ansamblare a carcasei supapei de reglare 7, cu o garnitura inelara 45 din cauciuc.
Elementele componente ale capului hidraulic se realizeaza din otel de rulmenti si otel inalt aliat, cu valori stranse pentru abaterile de forma, de la pozitia reciproca si de la calitatea prelucrarii suprafetelor.
Pentru a fi posibila utilizarea aceleiasi tipodimensiuni de pompa pe motoare cu cilindrei diferite, capul hidraulic este prevazut cu posibilitatea reglarii dozei maxime refulate, prin modificarea cursei pistonaselor radiale.
In acest sens, papucii 18 sunt prevazuti cu umerii 'U', care patrund in fantele excentrice 'F' ale placilor de reglaj 22 si 44 (fig.19.).
Placa de reglaj 22 este stransa intre flansa rotorului 14 si placa de antrenare 21 cu doua suruburi 49. Cand suruburile 49 sunt slabite, placile 22 si 44 (solidarizate prin doua brate de legatura existente pe placa 22) se pot roti simultan, in limita permisa de gaurile alungite 'G'. Prin rotirea placilor de reglaj se modifica cursa s a pistonului 24 si, in consecinta, doza maxima refulata. Pentru pompele DPA doza maxima refulata se poate regla in intervalul 15.120 mm3/ciclu.
 
  
 
 
  
 
  
Fig.19. Reglarea marimii debitului Fig.20. Schema pozitiilor relative
maxim de combustibil. cama-orificiu de distributie.
Inelul cu came interioare 17, se monteaza pe suprafata frontala a statorului capului hidraulic, opusa pompei de transfer, fiind asigurat in carcasa pompei impotriva deplasarilor axiale cu ajutorul unui inel de siguranta. Inelul cu came poate fi rotit cu unghiuri mici in jurul axei distribuitorului 14, prin surubul 38 al variatorului automat de avans. Din motive de unificare a componentelor, inelul cu came al pompelor DPA se realizeaza cu 4 si 6 came interioare (pentru motoarele cu 2 si 3 cilindri alterneaza un ciclu de refulare activ cu unul pasiv).
a) Inceputul refularii (injectiei) este conditionat de coincidenta momentului de suprapunere a orificiilor radiale de distribuire din rotorul si statorul capului hidraulic cu momentul de actionare a pistonaselor de catre portiunea de urcare a profilului camelor interioare (distributia si refulare trebuie sa fie in faza).
Practic, exista insa intre axa de referinta a profilului camei si axa orificiului de distributie din stator un decalaj unghiular f (fig.20.) numit 'unghi de defazaj'. Din motivul aratat, pentru ca injectia sa aiba loc cu avansul b si cu o durata strict determinata, deschiderea orificiului de distributie din stator trebuie sa se produca cu avans (unghiul ) fata de momentul de actionare a pistonaselor in cursa de refulare. Avansul este asigurat prin executia cu diametre diferite a orificiilor din stator si rotor.
Sfarsitul injectiei are loc in momentul in care sectiunea de curgere a orificiului din rotor a baleiat complet sectiunea orificiului din stator. Datorita realizarii acestor canale radiale cu diametre diferite, momentul de sfarsit al suprapunerilor este intarziat cu unghiul q fata de momentul in care inceteaza actiunea camei asupra pistonaselor radiale.
In aceste conditii durata injectiei este precizata de relatia:
 

unde: s este durata unghiulara de suprapunere a orificiilor.
Pentru pompele DPA se utilizeaza:
- diametrul canalului radial din stator 2,26 mm;
- diametrul canalului radial din rotor 2,36 mm;
- durata de suprapunere a orificiilor 28,50 RAP.
Modul in care refularea este pozitionata in perioada de suprapunere a orificiilor de distributie este aratat in fig.20
b) Profilul camelor interioare (lobilor) este asimetric. Acesta este compus dintr-o portiune de urcare (rola in pozitia 1, fig. 20.), care determina caracteristica de injectie, o portiune de retractie (rola in pozitia 2), utilizata pentru descarcarea conductei de inalta presiune, si o portiune de coborare (rola in pozitia 3). Asimetria profilului camelor interioare determina o singura pozitie de montaj a inelului cu came: cu sensul sagetii imprimata pe inel in sensul de rotatie al pompei.
Premisa esentiala pentru desfasurarea satisfacatoare a procesului de ardere in cilindrul motorului Diesel o constituie buna pregatire a amestecului combustibil-aer in camera de ardere a motorului.
Coordonarea ce se impune intre arhitectura camerei de ardere si parametrii principali ai jetului de combustibil (finete, omogenitate, penetratie, unghi de dispersie) impune optiunea bine motivata asupra tipului si parametrilor functionali ai injectorului utilizat.
Injectoarele se impart in doua mari clase: injectoare deschise si injectoare inchise. Injectorul este 'inchis' sau 'deschis' dupa cum orificiul de pulverizare este sau nu controlat de un ac sau de o supapa.
Motoarele de autovehicule rutiere utilizeaza injectorul de tip inchis cu ac. Dupa modul in care se comanda deschiderea acului, injectoarele se impart in trei grupe:
- cu comanda hidraulica;
- cu comanda electrica;
- cu comanda mecanica.
Injectoarele cu comanda hidraulica nu necesita organ suplimentar de comanda in schimb zona de etansare se uzeaza, sistemul ac-arc vibreaza.
Partile componente ale acului unui injector privit din exterior sunt (figura 21.):
  
  1- corpul
acului- asigura etansarea ansamblului: jocul interior  intre ac si corp este de 1,5 - 3
mm;
 1- corpul
acului- asigura etansarea ansamblului: jocul interior  intre ac si corp este de 1,5 - 3
mm;
2- zona conica ce preia presiunea combustibilului si asigura ridicarea acului;
3- con de etansare;
4 - coada ce preia si transmite forta de actionare
Fig. 21. Acul injectorului.
Parti componente
La motoarele cu aprindere prin compresie cu camera unitara se utilizeaza injectoare cu ac conic ce controleaza pulverizarea prin unul pana la zece orificii.
La aceste injectoare (figura 22.) combustibilul debitat de pompa de injectie intra prin racordul 1, filtrul 2, canalul 3, ajungand in camera de presiune CP.
Cand forta de ridicare a acului 4, creata de combustibilului ce actioneaza pe gulerul G este mai mare decat forta Fa a arcului 5, acul pulverizatorului se ridica si prin orificiile pulverizatorului 7 combustibilul este pulverizat in camera de ardere.
Dupa terminarea injectiei combustibilului, acul pulverizatorului este apasat pe scaunul sau de arcul 5 prin intermediul tijei 14. Reglarea fortei Fa, respectiv reglarea presiunii la care incepe ridicarea acului si inceperea injectiei, se realizeaza prin surubul 10 si piulita 11.
Un dezavantaj principal al injectoarelor cu orificii multiple rezida in obturarea acestora cu impuritati din motorina sau cu cocs format in procesul arderii.
Pentru motoare cu aprindere prin compresie cu camere compartimentate (antecamera, camera de turbulenta) se utilizeaza injectoare cu un singur orificiu.
Orificiul injectorului este controlat de un stift. Se utilizeaza stifturi:
- cilindrice (pentru curatirea orificiului pulverizatorului);
- tronconice pentru a se controla dispersia jetului;
- dublu tronconic (fig.23.), asigurandu-se curatirea eficienta a orificiului simultan cu o dispersie controlata a jetului de combustibil (unghiul de dispersie obtinut astfel este q = 40o-60o);
  
 
  
  

Fig.22. Elementele unui injector Fig. 23. Injectoare cu stift dublu
Tronconic
4.6. Pompe de alimentare cu combustibil
Pompa de alimentare a m.a.c. are rolul de a trimite combustibilul din rezervor prin filtre spre pompa de injectie. Pompa de alimentare cu combustibil trebuie sa invinga rezistentele hidraulice opuse de filtre la trecerea motorinei, sa asigure un debit mare si sa mentina o presiune constanta.
Dupa modul de functionare pompele de alimentare pot fi: cu piston, cu roti dintate, cu membrana si cu palete.
Pentru m.a.c. echipate cu pompe de injectie cu distribuitor rotativ se utilizeaza pompe de alimentare cu membrana, cu simplu sau dublu efect, care au presiune mai mica.
Pentru umplerea elementilor de pompare, la acest sistem de alimentare e foloseste o a doua pompa, pompa de transfer.
Pentru m.a.c. echipate cu pompa de injcetie in linie, fiind necesara o presiune mai mare in capul pompei de injecti, conditie pe care nu o poate indeplini pompa de alimentare cu membrana se utilizeaza pompa cu piston capabila sa ridice presiunea pana la 4,5 X 105N/m2 .
 
  
 
 
Fig.24. Partile componente si schema de functionare a pompei de alimentare cu piston.
In Fig.24. este reprezentat pompa de alimentare cu piston cu simpla actiune montata pe pompa de injectie, fiind actionata de la arborele cu came al acesteia, prin intermediul unui excentric.
In corpul pompei 1 este uzinat un cilindru in care se gaseste pistonasul 7 actionat prin tija 8 si tachetul cu rola 12, de catre excentricul 18, pistonul imparte cilindrul in 2 camere: camera 5 de deasupra capului pistonului, denumita de aspiratie si camera 14, denumita de compresiune.
Dupa o perioada de nefunctionare inainte de a porni motorul se umple pompa de alimentare cu combustibil cu ajutorul pompei de amorsare 16. Pentru actionarea pompei de mana se desurubeaza rozeta tijei pana ce este posibila tragerea pistonului in sus.
La deplasarea pistonului 7 in jos (Fig.24.b.) de catre excentricul 18 prin intermediul tachetului cu rola 12 si al tijei 8, arcul 6 se comprima iar motorina din camera de aspiratie 5 este refulata in camera de compresiune 14 prin intermediul supapei de refulare 9. La sfarsitul cursei pistonului, supapa de refulare se inchide sub actiunea arcului sau.
In cursa de alimentare si aspiratie pistonul se deplaseaza in sus sub presiunea arcului 6( Fig.24.c), motorina aflata in camera de compresiune 14 este trimisa spre filtrul dublu al instalatiei de alimentare, in timp ce o noua cantitate de motorina este aspirata din rezervor prin prefiltrul 4 si supapa de aspiratie 3 datorita depresiunii create sub piston.
La motoarele D-111, D-115, D-116, D-2601 precum si la unele motoare de automobile se folosesc pompe de alimentare cu membrana, acestea pot fi: cu o singura membrana sau cu 2 membrane. Pompele cu 2 membrane au o siguranta mai mare in exploatare si sunt actionate de o cama de pe arborele de comanda, antrenat de angrenajele de distributie. Schema de functionare a unei astfel de pompe este prezentata in fig 25:
  

Fig 25. Schema functionala a pompei de alimentare cu 2 membrane
Aceasta functioneaza pe principiul pompelor aspiro-respingatoare. Cand cama 1 actioneaza parghia 2, aceasta oscileaza in jurul punctului sau de articulatie si ataca cu celalalt capat tija 3 solidara cu membranele 4 si 5. Sub actiunea de coborare a tijei, resortul 6 se comprima. Prin coborarea membranelor in compartimentul 7 de deasupra lor are loc o depresiune care deschide supapa de admisie 8 si inchide supapa de refulare 9. Prin orificiul deschis de supapa de admisie combustibilul intra in spatiul 7 si astfel se realizeaza aspiratia.
Cand cama elibereaza parghia resortul readuce membranele in pozitia initiala si in felul acesta combustibilul este comprimat. Aceasta face ca supapa de admisie sa se inchida si supapa de refulare sa se deschida. Prin orificiul deschis de aceasta motorina este trimisa spre pompa de injectie realizandu-se refularea.
Superioritatea acestor pompe, in comparatie cu alte tipuri consta in faptul ca, atunci cand se sparge membrana superioara, motorina patrunde in spatiul dintre ea si membrana inferioara si se scurge in exterior prin orificiile 10. Prin aceasta se evita patrunderea motorinei in baia de ulei.
4.7. Filtre de combustibil
In sistemul de alimentare al motoarelor cu aprindere prin compresie se utilizeaza: filtre de filtrare bruta si filtre de filtrare fina. Montarea acestor filtre se face in serie, astfel incat intreaga cantitate de combustibil sa treaca prin ele.
Filtru de filtare bruta este prevazut cu elemente filtrante confectionate din placi sau benzi cu fante, din calti sau fire de bumbac. In general filtrele brute de motorina trebuie sa retina impuritatile cu dimensiunea minima de 0,03-0,08mm.
  
 
  
  

Fig.26. Filtre de combustibil Fig.27. Filtru dublu pentru filtarea motorinei.
Filtrul din Fig 26.a. este prevazut cu un element filtrant 4 confectionat sub forma unui cartus din fire groase de bumbac sau fire artificiale infasurate pe o carcasa tubulara cu pereti perforati. Elementul filtrant este montat in corpul 3, acoperit in partea superioara cu capacul 6.
Combustibilul care ajunge in filtrul de filtrare bruta prin conducta 5 umple spatiul dintre corpul filtrului si elementul filtrant.
Filtrul de filtrare fina (Fig 26.b.) este prevazut in cadrul instalatiei de alimentare pentru a retine impuritatile a caror dimensiuni minime sunt sub valoarea jocurilor dintre pistonul pompei si cilindru si care au trecut prin filtru brut. Elementul filtrant se compune dintr-o carcasa metalica umpluta cu o masa paroasa de vata minerala imbibata cu o pulbere absorbanta sau din hartie micronica. Pentru ca, combustibilul sa nu treaca pe langa elementul filtrant, acesta este apasat etans pe capacul filtrului de catre un arc. In locurile de imbinare ale elementului filtrant cu capacul si cu partea inferioara a tijei sunt prevazute garnituri de etansare din cauciuc. Combustibilul debitat de pompa de alimentare prin conducta noua umple tot spatiul dintre corpul filtrului si elementul filtrant. Combustibilul refulat sub presiune se scurge prin masa paroasa filtranta si se ridica in lungul tijei centrale si prin canalul din capac ajunge in conducta 14 care il conduce spre pompa de injectie. Depunerile retinute de filtrul de filtrare fina sunt evacuate prin robinetul de scurgere 10.
Filtrul dublu. Aceste filtre sunt legate in serie avand un capac comun( Fig.27.).
De la pompa de alimentare motorina este trimisa prin racordul 3 in spatiul dintre carcasa 5 si elementul de filtrare brut 4, pe care il traverseaza radial, ridicanduse prin tubul sau central, apoi prin conducta din capac in filtrul de filtrare fina. Dupa trecerea prin elementul filtrant este trimisa prin racordul 8 catre pompa de injectie.
PARTEA a II-a
METODOLOGIA CERCETARII PROCESULUI DE INVATAMANT
CAP. 1. PROCESUL DE INVATAMANT
1.1 Definirea si componentele procesului de invatamant
Procesul de invatamant - ansamblu actional deliberat proiectat si structural ale carui componente si interactiuni functioneaza in mod integrat in raport cu obiectivele de atins.
Procesul de invatamant poate fi abordat sistemic prin determinarea fluxurilor de intrare - iesire sau prin analiza propriu-zisa a componentelor de baza:
a) care sunt elementele constitutive, ce pozitie si ce functii indeplinesc
b) cum interactioneaza intre ele si cum se integreaza intr-o functionalitate unitara ?
c) in ce raporturi se afla cu sistemele similare ?
Componentele procesului de invatamant pot fi analizate sub trei aspecte: functional, structural si operational.
Din punct de vedere functional formulam raspunsuri la intrebarea DE CE ?; de ce se organizeaza procesul ?, de ce invata elevii ?, de ce predau profesorii ?, pentru atingerea anumitor OBIECTIVE, deci pentru obtinerea anumitor rezultate.
Sub aspect structural, intrebarile sunt de tipul: CINE ? (invata, preda, conduce), IN CE CONDITII ? (social - istorice ?i culturale, spatiu), CU CE RESURSE ? (personal, program, manuale), SUB PRESIUNEA CAROR CONSTRANGERI ? (specific de varsta, particularity! individuale si de grup, finante, timp). Raspunsul il constituie RESURSELE UMANE (educatori, educati, alt personal), si RESURSELE MATERIALE (continuturi, mijloace si materiale, forme de organizare echipamente, timp, relatii interumane, mediul fizic scolar).
In plan operational intrebarea CUM ? (se desfasoara procesul, etape, verigi, fenomene) primeste raspuns prin stategiile de actiune si procesele ce se deruleaza: PREDARE - INVATARE - EVALUARE.
1.2.Predare-invatare-evaluare procese fundamentale ale actului didactic
Predarea - invatarea - evaluarea se prezinta ca elemente operationale ale procesului de invatamant, actioneaza interdependent asigurand derularea lui ca unitate organica. Articularea lor se face prin intermediul strategiei didactice pe care profesorul o selectioneaza in urma analizei situatiei didactice si prin raportare directa la obiectivele de atins.
Relatia predare - invatare - evaluare este o interdependenta aflata intr-o didactica naturala si necesara. Se prezinta in continuare cateva argumente:
- predarea implica producerea unor rezultate in conduita elevilor, profesorul incercand sa stabileasca un acord intre schema invatarii si cea a predarii;
- rezultatele asteptate sunt determinate atat de forta de inducere a invatarii cat si de producerea efectiva a invatarii;
- predarea implica invatare pentru ca profesorul intentioneaza sa obtina un rezultat cu valoare de succes;
- invatarea este logic implicata in predare pentru ca aceasta are intentia de a conduce spre invatare prin explicare, cercetare, descoperire, cautare, deci utilizeaza forme ale invatarii;
- predarea si invatarea se manifesta ca procese coevolutive in sensul interactiunii lor ca sisteme (evolutiile la nivelul uneia au consecinte in evolutia celeilalte); balanta complementaritatii lor evolueaza de la evolutie dirijata (prescolar) la evolutie personala ( student, adult);
- predarea dobandeste functionalitate si eficienta numai daca genereaza un proces real de invatare, motiveaza implicarea elevilor;
- predarea este un proces secvential si reversibil, prescriptiv si normativ (contextul concret particularizeaza principiile si regulile pedagogiei);
- predarea este un proces care faciliteaza dezvoltarea si structurarea progresiva a personalitatii (evolutia elevilor este semnificativ influentata de activitatea indusa de predare, adica de invatare);
- ca activitate complexa, predarea include atat comportamente deschise, observabile si masurabile cat si comportamente inchise, interiorizate dar nu mai putin importante;
- predarea se refera, alaturi de comunicarea pedagogica, la programarea didactica, tehnologia elaborarii lectiei, elaborarea auxiliarelor, evaluarea rezultatelor.
Predarea isi mentine functia de comunicare - prezentare a materiei -comunicare a cunostintelor dar si-o asuma si pe aceea ,,de a dezvalui experiente de invatare posibile in care vor fi introdusi elevii' (I.T. Radu), deci de a organiza si conduce invatarea, facilitand-o si asigurandu-i o eficienta maxima. In aceasta postura problema optimizarii comunicarii este dublata de cea a ameliorarii comportamentelor stilurilor de predare.
Ca atitudine fata de cunoastere si de viata, invatarea pune accent pe initiativa individului si depaseste notiunile de scoala si educatie. Ea este activitate, proces, produs, se poate realiza prin cunoastere - produs (adevarurile propuse de educatie spre a fi invatate sunt privite ca obiective, nu transformari) si prin cunoastere - proces (aspectul obiectivelor e echilibrat de ideea transformarii, a evolutiei cognitive si actionale). Al doilea aspect este cel cu tendinta de impunere in actualitate, invatare, devenind o problema de schimbare in comportamentul elevilor, de reorganizare a experientei, de reelaborare continua a structurilor.
Evaluarea se instituie ca punct final si initial: final in raport cu o succesiune de pasi ce jaloneaza procesul didactic, initial in postura de feed - back pentru un nou proces didactic; numai daca evaluarea indeplineste acest dublu rol ce asigura procesualitatea, rationalitatea si eficienta procesului. Esenta evaluarii este cunoasterea efectelor prin raportare la obiective (si conditii, factori, proces) si fundamentarea actiunii de formulare de noi obiective, deci startul unui nou proces didactic. Evaluarea este deci o succesiune de operatii de raportare la obiective prin actiuni de masurare, apreciere, control si se refera la rezultate, procese si conditii.
In trecerea de la abordarea teoretica la procesul didactic, teoriile invatarii se convertesc in modele explicative ale instruirii si modele ale predarii. Corelarea acestora cu variabilele situatiei concrete de catre profesor genereaza o anumita strategic didactica. Avand in vedere ca invatarea se organizeaza pentru elevi si cu elevii, se considera ca procesele de invatare raman instantele orientative ale unui proces didactic eficient.
Profesorul realizeaza o multitudine de functii cu grade de generalitate diferita:
- raportate la elevi ca obiect si subiect al educatiei, in ansamblu si in activitatea educationala curenta (modelarea, suport in cristalizarea grilei de valori, captarea si controlul atentiei, asigurarea conexiunii inverse);
- raportate la socialul general si particular (participarea la imbogatirea activitatii comunitatilor sociale, participarea la viata profesionala si civica, participarea la activitatile din scoala);
- raportate la procesul de invatamant (concepere - proiectare, organizare, conducere, evaluare, autoevaluare),
Exercitarea de catre profesor a functiei de conducere este o necesitate derivata din caracterul procesual al procesului de invatamant a carei desfasurare presupune utilizarea unor resurse, a unei tehnologii, articularea unor variabile multiple combinabile, deci decizie.
2.1 Competenta didactica a profesorului
Reprezinta aptitudinea de a produce si intelege un numar infinit de enunturi, principii, actiuni, moduri sau modele practice de a se comporta, strategii preferentiale si stiluri productive in profesiunea didactica. Un posibil model clasificator al acestora include:
a) competente de organizare si structurare: organizarea clasei prin:
- obiective; introducerea elevilor in structura specifica disciplinei;
- structurarea elementelor de continut si a relatiilor educationale;
- expunerea, demonstrarea si argumentarea continuturilor; organizarea si conducerea efectiva a activitatilor din clasa;
b) competente de distribute a comunicarii:
solicitare frontala;
- solicitarea si conducerea conduitelor verbale individuale ale elevilor;
- solicitare de raspunsuri interactive elevilor;
c) competente rezolutive si evolutive
- dirijarea activitatii cognitive, practice, afective, morale a elevilor prin conduite de evaluare pozitiva, neutrala, negativa;
d) competente de manifestare a potentialului formativ:
- obiectivarea si stimularea conduitelor de exprimare directa a opiniei critice;
- exprimare personala interpretativ - reflexiva;
- exprimare constructive dublata de autocontrol progresiv;
e) competente de modelare a valorilor:
- introducere si valorizare de modele;
- valori si atitudini sociale si de grup pozitive;
- modele, valori si atitudini moral - caracteriale puternice;
- modele de exersare si transfer orizontal si vertical ale experientelor pozitive si ale atitudinilor pozitive fata de acestea;
f) competente referitoare la climatul socio - afectiv:
- tipuri si stiluri de actiuni - influence ale profesorului in sfera personalitatii elevului sau grupului;
g) competente de stimulare a creativitatii:
- stimularea conduitei creative a elevului ca individualitate sau membru al grupului.
2.2 Aptitudinea pedagogica a profesorului
Este unul din factorii care pot contribui la succesul unui proces de invatamant.
Modelul profesorului ideal cu vocatie pedagogica:
a se simti chemat;
- ales pentru aceasta sarcina si apt de a indeplini prin iubire pedagogica;
- credinta in valoriile sociale, culturale;
- constiinta responsabilitatii fata de copil, fata de patrie si fata de intreaga comunitate.
Acest model poate fi concretizat in insusiri propriu-zis pedagogice:
capacitatea de a face materialul de invatare accesibil elevilor;
- creativitate in munca;
- influenta asupra personalitatii elevului;
- capacitati organizatorice;
- interes fata de copil;
- tact pedagogic.
Insusiri de personalitate:
- spirit organizatoric;
- curiozitate stiintifica;
- capacitate de munca;
- capacitate de autostapanire;
- insusiri emotionale;
- imaginatie bogata.
In contextul ansamblului personalitatii, aptitudinea pedagogica are structura factoriala urmatoare:
- competenta stiintifica - factori necesari manipularii materialelor specifice obiectului de invatamant;
- competenta psihopedagogica - factori necesari pentru construirea diferitelor componente ale personalitatii elevului;
- competenta psihosociala - factori necesari optimizarii relationarii inter-umane in procesul educational.
Pentru a putea structura si utiliza un model de actiune educativa adecvat, profesorul trebuie sa posede:
- capacitatea conturarii si interpretarii exacte a unei situatii educative (a);
- capacitatea de a utiliza un model de actiune educativa (b).
Capacitatile subordonate sunt:
| a) | - capacitatea de identificare rapida; | - spirit de observatie general si psiho-pedagogic dezvoltat; - interes crescut pentru elevi, pentru practica scolara; - disponibilitate spre efort. | 
| - capacitatea de a analiza elementele specifice unei situatii; | ||
| - capacitatea de a prevedea masurile necesare rezolvarii situatiei; | - imaginatie; - capacitate de proiectare si estimare; | |
| - capacitatea anticiparii unor noi situatii educative; | ||
| b) | - capacitatea utilizarii anticipate a modelului; | - capacitate de transpunere in rolul elevului; capacitate de dedublare. | 
| - maiestria pedagogica (rapiditatea utilizarii efective a modelului); | - orientarea multilaterala a gandirii; - atentie distributiva; - memorie rapida si fidela; - capacitati organizatorice; - calitati pentru utilizarea limbajului; - alte insusiri si caracteristici ale personalitatii (afective, volitive, fizionomice, maniere); | |
| - capacitatea de a crea noi modele de actiune educativa. | - gandire psihopedagogica creatoare; - mobilitatea proceselor de cunoastere; - capacitatea de activitate intelectuala intensa. | 
2.3 Stilul educational al profesorului
- calitatea comportamentelor profesorului;
- atitudinea sa fata de valorile profesiunii didactice si ale disciplinei;
- nota personala - modul specific de a aborda elevii si situatiile de invatare;
- de a manui metodele si tehnicile si cultura;
- calitatea vietii sale afective;
- experienta sa de viata;
- aptitudinile si caracterul.
Stilul este asociat comportamentului si se manifesta sub forma unor structuri de influenta si actiune cu o anumita consistenta interna, stabilitate relativa si fiind rezultatul personalizarii principiilor si normelor ce defmesc activitatea formativa.
Tipologia stilurilor:
in plan vertical
- individuale - identitatea fiecarui profesor;
- grupale - profesori cu particularitati stilistice asemanatoare;
- generalizate - modalitati generate cu valoare strategica;
in plan orizontal - in functie de criterii ca:
orientarea continuturilor;
accente cognitive;
- structuri de comunicare;
- diferente organizationale;
- procedee motivationale;
variatia raportului rol - situatie - personalitate genereaza stiluri extreme
- comportamente dominate strict de prescriptia normei;
- comportamente inspirate preponderent de factorii de personalitate;
dupa eficienta invatarii si satisfactie
- stil centrat pe profesor - profesorul domina, detine integral controlul invatarii;
- stil centrat pe elev - profesorul permite elevilor sa participe la deciziile privind organizarea si conducerea invatarii;
- profesorul nu are nici un impact cu grupul, nu asigura o structura de invatare;
dupa structura de personalitate a profesorului
- apropiat - distant;
- metodic;
- sistematic - neorganizat;
- stimulativ - rutinar;
dupa aspectele socio - afective, stilurile se grupeaza astfel
- apropiere, caldura afectiva - atitudine, distanta, rece;
- apropiere, incurajare - dezaprobare, critica severa, ostilitate;
- atitudine si abilitate empatica - neintelegere, dezinteres pentru viata interioara a elevului.
Ca orice stil personal, stilul de predare al profesorului asigura un caracter personal predarii, orienteaza predarea prin trasaturi permanente, are o valoare metodologica, operationala pentru situatiile problematice ale predarii -invatarii.
Problema stilului predarii este si in functie de axarea activitatii didactice, fie si pe rolul "dominant al profesorului", ori pe solicitarile grupului. Axarea pe grup inseamna initiativa si raspunderea elevilor pentru stabilirea obiectivelor cursului, determinarea continutului acestuia si evaluarea rezultatelor invatarii, profesorul fiind un ,,lider nondirectivist al grupului'.
Din experienta personala la catedra consider ca stilul de predare al profesorului este adaptat in functie de nivelul de pregatire al clasei, de comportamentul elevilor in cadrul orelor. Pledez pentru un stil centrat pe elev, sunt apropiat fata de elevi, respect criteriile comune de apreciere, de laudare, de criticare a elevilor.
CAP. 3. STRATEGII DIDACTICE
Strategia didactica este un anumit mod de abordare a procesului de predare - invatare - evaluare, o combinatorica specifica a metodelor, mijloacelor si formelor de activitate care favorizeaza atingerea obiectivelor propuse.
3.1 Principiile procesului de invatamant
Didactica este stiinta (teoria) procesului de invatamant, principiile acestuia se mai numesc si principii didactice.
In invatamant, notiunea de principiu exprima aceleasi sensuri generale ale principiului (,,inceput' sau ,,origine', element constitutiv esential, ,,fundament', ,,conducator') insa adaptate specificului activitatii didactice. Acest principiu afirma cerinte pedagogice esentiale, care intemeiaza si defineste semnificativ invatamantul ca proces, ca activitate specifica instructiv - educativa, cu rol conducator in comportamentul didactic, in raporturile de comunicare pedagogica dintre profesor si elev.
Principiile invatamantului functioneaza ca idei de baza, oricntative care ghideaza activitatea didactica a profesorului, ajutandu-1 sa faca din predare mijlocitoarea si stimulentul invatarii.
a) Principiul intuitiei
Este legat de prima treapta de cunoastere, care incepe prin contactul cu realitatea prin intermediul simturilor.
Aceasta cere o legatura directa intre idei, notiuni si realitatea vie, si se realizeaza in practica de predare a lectiei prin materialul intuitiv (depinde de obiectivele lectiei, continut, varsta elevilor).
Materialul intuitiv trebuie sa se adreseze si celorlalte simturi, nu numai vazului.
Exemplu - profesorul vorbind elevilor de functionarea mecanismului motor (biela - manivela) si folosind material didactic, da posibilitatea elevilor sa urmareasca modul cum se misca organele componente ale acestuia.
O importanta deosebita in realizarea principiului intuitiei o constituie folosirea cuvantului de catre profesor. Inaintea prezentarii piesei si de a pregati intuitia se dau anumite explicatii verbale si apoi se identifica piesa pe materialul intuitiv.
Paralel cu identificarea cutiei de viteze, se enumera partile componente si se arata pe plansa sau pe cutia de viteze, rolul pieselor componente si functionarea.
b) Principiul insusirii constiente si active a cunostintelor
Organizarea si desfasurarea unui invatamant eficient cu bune rezultate, presupune ca respectivul invatamant sa beneficieze de mobilizarea de constiinta si antrenarea participativa a elevilor la lectii. Aceasta inseamna ca invatamantul sa fie comprehensiv pentru elevi, ca ceea ce li se preda ori invata sa fie accesibil si sa le inteleaga.
Elevii trebuie sa inteleaga cunostintele transmise, sa inteleaga legaturile, cauzele, fenomenele si legile dupa care se desfasoara acestea si sa poata desprinde esentialul de neesential.
Cerinte privind aplicarea in practica a principiului:
- intelegerea celor prezentate;
- dezvoltarea spiritului de independenta al elevilor;
stimularea creativitatii.
Un material de invatat este constientizabil daca dispune de o semnificativa logica, insa aceasta se adapteaza puterii de intelegere a elevilor de catre profesor.
Invatarea constienta este intarita de participarea activa a elevilor in realizarea structurilor cunoasterii si efectuarii actiunilor. Elevii obtin rezultate temeinice, abordeaza cat mai complet invatarea daca invata participativ, isi insusesc cunostinte si tipuri comportamentale prin efort propriu prin antrenarea simturilor, a gandirii, a mainilor.
Numai cunostintele dobandite prin efort personal, care trec prin experienta proprie de elaborare ii apartin definitiv elevului, devin un lucru personal si pot fi aplicate in spirit creativ.
Un rol deosebit il are activitatea independenta a elevilor.
Exemplu - lectia ,,Cilindrul motorului' - elevul trebuie sa inteleaga ca face parte din mecanismul motor si sa cunoasca rolul cilindrului. Trebuie sa se arate elevului:
- calitatea materialului de constructie;
- conditiile de lucru;
- folosirea materialului intuitiv: motor, planse;
- tipurile de cilindri pentru motoarele de automobile;
- defectele si repararea cilindrului.
c) Principiul insusirii temeinice a cunostintelor si deprinderilor
Cunostintele insusite in scoala constituie temelia pregatirii profesionale in meseria aleasa.
Invatarea temeinica consta in calitatea ei de a produce rezultatele consistente: ea se confirma in pastrarea lor, in capacitatea elevilor de a le recunoaste si reproduce cu semnificatii de perspectiva in invatare. Astfel de semnificatii se asigura numai daca cunostintele si abilitatile invatarii sunt temeinic insusite. Temeinicia invatarii se opune superficialitatii, invatarii in asalt, lucrului de mantuiala, incomplet, cu lacune.
Temeinicia inseamna invatarea profunda, insusirea informatiei si fixarea ei in memorie, este urmata si intarita de explicatii, de incadrarea ei intr-o ordine logica a cunoasterii si in structuri ierarhizate sistematic.
Temeinicia invatarii depinde si de dimensiunea practica a invatarii, ceva este constient si profund insusit daca poate fi aplicat. Invatarea temeinica este atunci obtinuta cand elevii nu numai stiu, ci stiu sa faca trecand de la modelele teoretice la modelele practice ori la modelele prelucrate, dezvoltate, desavarsite. Invatarea temeinica traduce sensul proverbului latin: non multa, sed multum (nu multe, ci mult) Pedagogul ceh Comenius aseamana pe omul cu invataturi temeinice cu un pom ,,ce se alimenteaza din propriile sucuri'.
Invatarea temeinica presupune si dezvoltarea la elevi a capacitatii de a activa cunostintele de a le adapta la situatiile schimbate sau ale schimbarii.
Temeinicia recomanda si preocupari pentru consolidarea cunostintelor, pentru recapitulari imbogatite ale cunostintelor abilitatilor, ea necesita repetarea care fixeaza, asigura durabilitatea lor si prospetime innoitoare. Invatarea temeinica cere repetarea potrivit regulii ca "repetitio est mater studiorum' (repetitia este mama invatarii). Temeinicia invatarii necesita si timp de sedimentare si restructurare a materiei invatate.
Exemplu: tematica lucrarilor de control la ,,Materii prime si materiale' cuprinde intrebari din lectia de zi si intrebari din recapitulare.
d) Principiul accesibilitatii sau individualizarii procesuiui de invatamant
Pentru a fi constienta, temeinica, trainica, completa, invatarea trebuie sa fie si accesibila elevilor. Accesibilitatea invatarii este conditionata si definita de posibilitatile grupului scolar si ale fiecarui elev in parte de a receptiona mesajul predarii, al instruirii si autoinstruirii. Accesibilitatea invatarii este conditionata si definita de nivelul pregatirii, de rezultatele insusite deja ale invatarii. Ea depinde si de atitudinea fata de invatare, de deschiderile elevilor spre invatare, de motivatiile acestei deschideri.
Factorii de care depinde accesibilitatea:
- posibilitatile fiecarui elev si ale clasei;
- nivelul de evolutie prin pregatire si invatare;
- atitudinea de deschidere sau de inchidere fata de invatare.
Accesibilitatea este in functie de concordanta dintre posibilitatile de invatare si dificultatile de invatare a elevilor. Accesibilitatea este in raport cu continutul, dar si cu celelalte componente ale procesului de invatamant (metode si procedee, mijloace, profesor).
Profesorul trebuie sa cunoasca si sa evalueze corect sensurile accesibilitatii exersate de conduita elevilor, dependentele cauzale ale acestora si sa fie in masura sa foloseasca caile de accesibilitate a invatarii. Preocuparea sa fundamentala este de a conditiona progresul scolar prin realizarea unei concordante depline intre posibilitatile elevilor si dificultatile invatarii.
Lipsa accesibilitatii nu se confunda cu lipsa efortului elevilor. Intampinarea unei dificultati nu inseamna neaparat ca ea nu poate fi surmontata de catre elev. Multe probleme si sarcini ale invatarii numai la inceput prezinta anumite dificultati, care insa prin efort propriu inceteaza (ca dificultate), facand loc lucrului accesibil. Intotdeauna se recomanda ca procesul de invatamant sa fie prevazut, organizat si sa se desfasoare cu un anumit grad de dificultate; presupunand participarea elevilor, efortul lor in rezolvarea dificultatilor, invatarea devine constienta, activa, temeinica si durabila. In acest sens accesibilitatea este o problema care poate fi rezolvata si de elevi. Insa, accesibilitatea este o importanta chestiune care priveste caracterul predarii, al instruirii elevilor, ceea ce inseamna o datorie a profesorului. Este datoria de a face accesibila elevilor predarea si de a face din aceasta o conditie a accesibilitatii invatarii. Educatorul este cel care mijloceste raportul dintre elevi si obiectele de invatamant, alaturi de manual. Dar el mijloceste si legatura elevilor cu manualul in sensul in care el este necesar nu doar pentru instruire, ci si pentru accesibilitatea acestuia.
Accesibilitatea activitatii introductiv - educative presupune individualiza-rea. Aceasta inseamna ca atat predarea cat si invatarea si evaluarea sa tina seama de particularitatile individuale ale elevilor, de specificul comportarii in situatiile invatarii ale fiecarui elev.
Accesibilitatea se poate cuantifica si masura, pentru a realiza un aseamenea obiectiv, lectia trebuie sa fie bine structurata si chiar sa prezinte o anumita ierarhie, sa putem distinge cunostintele mai importante de cele mai putin importante.
Accesibilitatea (Ac) se calculeaza cu formula:
 

In care:
NRC - numarul de raspunsuri corecte;
NTRCP - numarul total de raspunsuri corecte posibil.
e) Principiul corelarii invatarii teoretice cu invatarea practica
Azi mai mult ca oricand se stie ca a invata nu inseamna numai a invata sa stii, ci si a invata sa fii, a invata sa devii; a invata inseamna, deci, si a-ti insusi comportamente practice.
Finalitatea modelelor teoretice ale invatarii sunt de ordin comportamental, aplicativ si practic. Solutiile teoretice ale invatarii au ca sens pregatirea omului sa poata rezolva problemele ce se ivesc in diferitele situatii ale vietii si activitatii sale, ale progresarii fiintei umane, a personalitatii.
A invata inseamna a dobandi nu numai comportamente teoretice, ci si mijloace pentru surmontarea obstacolelor si dificultatilor de ordin practic.
Intr-un sens cuprinzator corelarea teoretic - practic, in invatare, este ceruta de orientarea si conducerea de constiinta a conduitei. Toate educatiile au semnificatii si functii specifice in acest sens. Omul este cu atat mai favorizat sa fiinteze practic cu cat constiinta sa este mai inzestrata stiintific, cultural, in acelati timp pregatirea sa teoretica dobandeste cu atat mai multa semnificatie operativa cu cat ea este apta sa coordoneze comportamentul, sa rezolve teoretic problemele pe care practic le fmalizeaza conduita.
Corelarea invatarii teoretice cu invatarea practica nu poate insemna o integrare care sa atinga valoarea uneia sau alteia din cele doua dimensiuni ale invatarii. Ea nu poate avea alt sens decat pregatirea omului pentru a ridica practica la nivelul civilizatiei, a conduitei, la nivelul exigentelor culturii, stiintei, valorilor si normelor, a ridica actele muncii si ale profesiunii la nivelul abilitatilor de utilizare a mijloacelor moderne, cu efecte superioare in creearea si producerea valorilor.
Lectiile trebuie prevazute si cu obiective practice, sa fie proiectate implinind modele aplicative, experimentari, transpuneri in practica, confirmari si exemplificari, exersari si fixari prin acte sub forma de deprinderi.
Exemplu - prin activitatea la clasa, corelarea teoretic - practic presupune antrenarea elevilor in munca efectiva, exersari in profesie in care sa fie aplicate cunostintele teoretice. In acest sens la anul I scoala de ucenici, anul scolar 2001- 2002 la disciplina ,,Desen tehnic' dupa parcurgerea capitolului ,,Cotarea in desenul tehnic' fiecare elev va face pe un format A4 schita unei piese din domeniul meseriei, pe care o va cota. Totodata fiecare elev va spune ce forma geometrica are piesa, procedeul tehnologic de fabricare a piesei, rolul piesei. Profesorul va urmari corectitudinea executarii schitei, cum au fost aplicate metodele de cotare si inscrierea cotelor pe desen.
Corelarea teoretic - practic presupune ca invatarea este programata si efectiv implinita, teoretic si practic, cu mijloace stiintifice si tehnice moderne ale invatarii.
f) Principiul invatarii sistemic si continuu.
O cerinta cu caracter de principiu pentru invatamant ca proces este desfasurarea lui sistemica si continua.
Sistematizarea vizeaza in principal, desfasurarea ordonata logic si pedagogic a continuturilor predarii si invatarii ai priveste aranjarea succesiva si orizontala a disciplinelor din planul de invatamant, programele scolare, planificarile calendaristice, manualele, lectiile si alte unitati de predare invatare ori numai invatare.
Sistematizarea vizeaza intregul proces de invatamant, corelarea tuturor disciplinelor si activitatilor de invatare si educare. Ea inseamna ordonarea temelor, in cadrul lor a ideilor, a tipurilor de cunostinte, a datelor, abilitatilor intr-o ordine adecvata logicii predarii si invatarii elevilor, impusa nu numai de criteriile cunoasterii stiinfifice, ci si de cele psiho-pedagogice. Sistematizarea priveste si ordinea operatiilor invatarii a utilizarii metodelor, procedeelor si a mijloacelor invatarii, a tehnicilor de lucru. Sistematizarea este opusa haosului, dezordinii, desfasurarilor intamplare, imprastiate a informatiei.
Invatarea conditioneaza sistematizarea cu continuitatea, una o presupune pe cealalta, pentru ca rezultatele invatarii sa se scrie intr-o ordine durabila a intelectului. Invatarea sistematica are nevoie de continuitatea efortului pentru a aduna si ordona interior cunostintele, priceperile, abilitatile.
Aplicarea principiului presupune efortul profesorului de a sistematiza elementele oricarei lectii si de a le inscrie logic intr-o ordine cuprinzatoare a predarii si invatarii, de a solicita mereu efortul elevilor de a participa si contribui la Sistematizarea cunostintelor si a modalitatilor de lucru, de a solicita efortul pentru rezolvarea unor sarcini continue de invatare.
g) Principiul conexiunii inverse (retroactiunii) in procesul de invatamant.
Principiul conexiunii inverse (al feed-beck-ului) are ca sens conditionarea (reglarea) predarii - invatarii prin evaluarea rezultatelor invatarii, fie prin calitatea activitatii de invatare a elevilor, fie prin calitatea procesului de invatamant, condus de profesor. In acest sens profesorul recurge la informatia ce i-o ofera activitatea feed - beck care vine pe calea conexiunii inverse. Datorita ei profesorul cunoaste ce au dobandit elevii prin ceea ce el a predat si i-a invatat, cat si cum au indeplinit elevii obiectivele si sarcinile invatarii, daca a fost si in ce masura a fost accesibil.
Exemplu - prin aplicarea si respectarea acestui principiu am preocuparea de a controla permanent activitatea elevilor prin prisma desfasurarii ei si a rezultatelor dobandite de ei. Incerc sa-i initiez pentru a-si autoevalua activitatea proprie sa-si supuna reciproc activitatea invatarii, evaluarii, corectiei si ameliorarii.
3.2 Metode care se utilizeaza in invatamant
Metodele de invatamant au anumite caracteristici, si anume:
sunt demersuri teoretico - educationale, executive de predare - invatare, care asigura desfasurarea si finalizarea cu eficienta a procesului de invatamant;
sunt demersuri de cunoastere stiintifica, de documentare si experimental - aplicative, contribuind la dezvoltarea teoriei si practicii pedagogice;
cuprind si dinamizeaza elemente pedagogice teoretice, care asigura fundamentarea stiintifica a actiunilor de predare - invatare;
se elaboreaza si se aplica in stransa legatura cu diferitele componente ale procesului de invatamant; (obiective, continuturi, mijloace si forme de organizare didactica) precum si in stransa legatura cu gradul si profilul invatamantului, cu specificul disciplinei de inva-tamant;
se concep, se imbina si se folosesc dupa caz, in functie de particularitatile de varsta si individuale ale elevilor;
contribuie la realizarea obiectivelor autoinstructiei si autoevaluarii, la pregatirea tineretului studios pentru educatia permanenta;
au caracter dinamic, in sensul ca mentin ceea ce este valoros si elimina ceea ce are "uzura morala";
sunt deschise innoirilor si perfectionarilor, in pas cu progresul stiintific, pedagogic si tehnic;
au caracter sistemic, in sensul ca, fara a-si pierde entitatea specifica, se imbina, se completeaza si se influenteaza reciproc, alcatuind un ansamblu metodologic coerent.
Pentru a obtine rezultate bune in actul predarii - invatarii, este necesar ca profesorii, sa gaseasca, sa imbine si sa foloseasca adecvat si creator metodele didactice .
Modernizarea procesului de studiere a disciplinelor tehnice in scoala presupune renuntarea la conceptia enciclopedista in favoarea celei fundamentale, cu atat mai mult cu cat o arie importanta a continutului national specific acestor discipline include cunostinte teoretice cu grad ridicat de abstractizare. Datorita acestui lucru, devine absolut necesara inzestrarea elevilor cu un sistem de cunostinte si deprinderi - ancora, gratie propriei activitati intelectuale care sa asigure dezvoltarea capacitatilor superioare ale gandirii si careia sa i se alature intr-o masura cat mai mare activitatea practica, experimentala. Altfel spus, intr-o activitate moderna de instruire la disci-plinele tehnice, dobandirea cunostintelor nu trebuie sa constituie un scop in sine, ci un mijloc de manifestare activa in rezolvarea sarcinilor de instruire teoretice si practice; este de preferat ca activitatea sa fie constructiva, sa presupuna construirea cunoasterii de catre elevii insisi, respectiv punere de probleme, gasire de solutii originale si in ultima instanta, interventie si creatie.
Continutul structural al disciplinelor tehnice, sistemul de cunostinte si competente specifice, trebuie privite ca un ansamblu de raspunsuri la intrebari pe care si le pune (sau trebuie stimulat sa si le puna) cel ce se instruieste, in functie de experienta anterioara, de interesele cognitive si de dorinta lui de cunoastere.
In acest fel, elevii vor fi implicati real in procesul cunoasterii, vor dobandi deprinderi de achizitionare si de operare cu cunostintele si vor fi ajutati sa isi formeze un sistem de gandire specific disciplinei, ceea ce reprezinta un obiectiv major in studiul oricarei discipline de studiu.
Exista multe criterii de clasificare a metodelor de invatamant, si anume:
Clasificarea dupa criteriul istoric:
metode vechi - care fac apel la comunicarea directa;
metode noi - care pun accent pe dezvoltarea personalitatii elevului;
Clasificarea dupa gradul de generalizare:
metode generale - expunerea, prelegerea, conversatia;
metode particulare (specifice) - care sunt restranse la predarea anumitor discipline.
Clasificarea dupa modul de organizare a activitatii:
metode de munca individuala;
metode de munca in echipa;
Clasificarea dupa functia lor fundamentala:
metode de predare - invatare propriu - zise;
metode de evaluare a progreselor scolare;
Clasificarea dupa modul de determinare a gradului de dirijare a invatarii:
metode algoritmice - algoritmizarea, exercitiul, instruirea programata;
metode euristice - experimentul, problematizarea;
Clasificarea dupa gradul de participare a elevului la lectie:
metode expozitive - expunerea, prelegerea;
metode active - descoperirea, problematizarea, experimentul
Utilitatea acestor clasificari este evidenta, ele ajutand oamenii scolii sa-si ordoneze ideile, vocabularul si activitatea didactica, in functie de reperele mentionate, chiar judecatile de valoare alcatuindu-se pe baza acestor concepte.
Conversatia euristica este o forma de conversatie bazata pe invatarea constienta folosind dialogul (intrebari si raspunsuri); ea a fost denumita "socratica" dupa numele filosofului grec Socrate care a folosit-o si "maieutica", cuvant de provenienta greaca care inseamna "mosire, nastere". Socrate a folosit dialogul euristic ca un proces de descoperire, de creatie, de nastere a cunostintelor.
Metoda euristica (heuriskein = a afla, a descoperi) ofera posibilitatea elevului de a descoperi si a intelege singur cunostintele pe care trebuie sa le invete si apoi sa le reproduca intr-o maniera personala, desigur cu respectarea adevarului stiintific.
Ca metoda de comunicare orala, bazata pe intrebari, conversatia profesor - elev reprezinta una din cele mai active si mai eficiente modalitati de instruire si educatie. Conversatia se axeaza fie pe cunostintele anterioare ale elevilor, fie pe observatia personala, fie pe experienta lor de viata. Evident, profesorul este cel care domina, conducandu-i cu maiestrie pe elevi spre raspunsul corect.
Dupa specificul intrebarilor care declanseaza raspunsul, distingem urmatoarele tipuri de conversatii:
conversatii bazata pe intrebari inchise - se caracterizeaza prin faptul ca intrebarile presupun un singur raspuns; fiecare intrebare emana de la profesor si presupune un raspuns, dialogul incheindu-se cu confirmarea sau infirmarea acestui raspuns;
conversatii bazate pe un lant de intrebari inchise - se caracterizeaza prin faptul ca raspunsul dat la fiecare intrebare, asteptat de catre profesor, declanseaza alte intrebari, pana cand se ajunge la rezultatul final, stabilit in prealabil;
conversatii care se bazeaza pe intrebari deschise - caracterizate prin faptul ca elevii au posibilitatea sa aleaga raspunsurile corecte din mai multe variante, sau sa-si formuleze ei insisi raspunsurile apeland la cunostintele pe care le poseda; aceeasi intrebare va declansa mai multe raspunsuri din partea elevilor, toate fiind receptate si confirmate de catre profesor;
conversatii care se bazeaza pe intrebari stimulatorii si exploratorii - se caracterizeaza prin faptul ca declanseaza procesul de cunoastere, raspunsurile fiind rodul framantarilor individuale, al cautarilor si explorarilor asidue, fara a fi impuse de catre profesor; astfel de conversatii se utilizeaza in cadrul metodelor descoperirii, problematizarii, cercetarii etc.; aici, conversatia se desfasoara nu numai intre profesor si elevi, ci si intre elevii insisi, acestia putand adresa intrebari atat profesorului cat si colegilor, dupa cum pot raspunde atat intrebarilor profesorului, dar si ale colegilor.
Avand in vedere functia didactica pe care o poate indeplini conversatia, se didting urmatoarele variante:
de comunicare
de repetare si sistematizare
de fixare si consolidare
de verificare si apreciere
introductiva
finala
Cercetarile psihopedagogice care se intreprind de mai multi ani (J. Piaget, B. Inhelder, H. Aebli, G. Palmade, etc.), cauta sa ajunga la structurarea de asa maniera a conversatiei, incat sa sporeasca la maximum functiile ei formativ - euristice. Se preconizeaza o conversatie mai putin dirijata, de mai mare suplete, favorabila constructiei operatiilor de gandire si intensificarii relatiilor interpersonale, socio - afective dintre membrii unei clase de elevi.
Pentru realizarea obiectivelor invatarii se recomanda intrebarile deschise, care solicita inteligenta productiva, indeamna la anumite actiuni, sugereaza sau anticipeaza anumite operatiuni de efectuat si lasa elevilor mai multa libertate de cautare, de cercetare, de formulare a mai multor raspunsuri sau solutii posibile.
Cea mai mare frecventa de utilizare o au:
- intrebarile convergente care indeamna la analize, comparatii, sinteze, asociatii de idei, explicatii;
- intrebarile divergente care exerseaza gandirea pe traiectorii inedite, originale, evidentiind o diversitate de solutii la aceeasi problema;
- intrebarile de evaluare care solicita elevii sa emita judecati proprii asupra aspectelor intalnite, in functie de criterii diferite.
Pedagogul francez G. Leroy arata ca sunt gresite dialogurile camuflate cu intrebari inchise, in care profesorul " incearca sa-i faca pe elevi sa spuna ceea ce ar trebui sa spuna el singur".
Modelarea reprezinta modalitatea de studiu a unor obiecte, fenomene, procese prin inter-mediul unor copii materiale si ideale ale acestora, denumite modele, capabile sa reproduca carac-teristicile esentiale ale realitatii studiate sau sa ofere informatii despre aceasta.
A invata prin model inseamna a aprofunda esenta realitatii, a studia unele realitati in contexte diferite, a face mai multe asociatii, a intensifica participarea constienta a elevului, a mari posibilitatea de interpretare si selectionare a esentialului, a mari sfera imaginatiei elevului cu posibilitatea de transfer a cunostintelor.
Modelarea este o metoda cu caracter activ - participativ, formativ si euristic, dinamizand antrenarea si dezvoltarea capacitatilor intelectuale creatoare si prin aceasta, sporind calitatea si eficienta actului de predare - invatare. Este o metoda foarte utilizata in studiul disciplinelor tehnice fiind bazata pe contactul cu realitatea putand fi folosita atat ca metoda de predare - invatare, cat si ca modalitate de investigatie stiintifica, experimentala.
Modelul este un sistem material sau ideal care reproduce originalul, avand grade diferite de abstractizare. Modelarea se realizeaza in cadrul urmatoarelor etape succesive:
conceperea (alegerea) modelului;
analiza modelului;
verificarea modelului prin exercitii si aplicatii experimentale.
Ca si cerinte ale modelarii pot fi mentionate:
respectarea cerintelor demonstratiei intuitive in cazul utilizarii modelelor materiale:
analiza caracteristicilor esentiale ale modelului;
considerarea modelului ca un sistem inchis, care reproduce un numar limitat de caracteristici, si a originalului ca un sistem deschis, care poate oricand sa mai evidentieze o caracteristica;
modelul sa fie adecvat temei de studiu si sa reproduca caracteristicile esentiale ale origi-nalului, pentru a asigura un studiu eficient;
modele ideale, care folosesc limbaje simplificate de exprimare si trebuie imbinate cu modele materiale, pentru a nu duce la saracirea continutului conceptelor, a informatiilor.
Modelarea asigura caracterul dinamic, intersistemic, functional si operativ al procesului didactic. Fiind de esenta informationala, reproducand schema logica a transformarilor informatiei intr-un context reglatoric bine determinat, modelul si modelarea permit realizarea autoreglarii sistemului informational, optimizarea acestuia in cadrul comunicarii profesor - elev.
Utilizarea modelului si a modelarii in invatamant realizeaza initierea elevilor in folosirea rationamentului analogic, sprijina formarea operatiilor mintale pe baza interiorizarii actiunilor concrete, stimuleaza cunoasterea euristica.
Problematizarea este modalitatea de a crea in mintea elevului o stare conflictuala intelec-tuala pozitiva, determinata de necesitatea cunoasterii unui obiect, fenomen, proces, rezolvarii unei probleme teoretice sau practice pe cale logico-matematica si/sau experimentala.
Problematizarea este o metoda cu caracter activ - participativ, formativ si euristic, capa-bila sa determine activitatea independenta, sa antreneze si dezvolte capacitatile intelectuale (ima-ginatia si gandirea logica), de investigatie si explorare, productive si creative prin formularea de ipoteze, solutii de rezolvare si aplicare. Ea contribuie la transformarea elevului in subiect al educatiei, in participant activ la dobandirea noilor cunostinte, creand posibilitatea de a mobiliza resursele personalitatii si de a aduce satisfactii pe toate planurile ei: cognitiv, afectiv, estetic si actional.
O activitate didactica bazata pe problematizare sporeste eficienta invatarii pentru ca este o metoda de invatamant prin care elevul este pus in situatia de a analiza anumite relatii intre feno-menele studiate si de a sesiza relatii noi intre acestea prin selectia, compararea, reorganizarea cu-nostintelor de care dispune in acel moment.
Realizarea unei predari - invatari problematizate se obtine prin urmatoarele tipuri de problematizare:
Ø Intrebari problema, care se refera si produc o stare conflictuala intelectuala relativ restransa ca dificultate sau complexitate, abordand de regula o singura ches-tiune; se foloseste in verificarile curente, la examene orale;
Ø Problema, care produce un conflict intelectual mai complex si are anumite dificultati de rezolvare, incluzand anumite elemente cunoscute dar si necunoscute, care se cer gasite sau rezolvate;
Ø Situatii problema, care produc o stare conflictuala puternica si complexa, incluzand un sistem de probleme teoretice sau practice care se cer rezolvate.
T.V. Kudreavtev a clasificat situatiile problematice pe cinci categorii:
Cand exista un dezacord intre vechile cunostinte ale elevului si cerintele impuse de rezolvarea unei noi situatii;
Cand elevul trebuie sa aleaga dintr-un lant de cunostinte, chiar incomplete, numai pe cele necesare in rezolvarea unei situatii date, urmand sa com-pleteze datele necunoscute;
Cand elevul este pus in fata unei contradictii intre modul de rezolvare posibil din punct de vedere teoretic, si dificlutatea de aplicare a lui in practica;
Cand elevul este solicitat sa sesizeze dinamica miscarii chiar intr-o schema aparent statica;
Cand elevului i se cere sa aplice, in conditii noi, cunostintele anterior asimilate.
Atunci cand se foloseste problematizarea este necesar sa se asigure si resursele rezol-varii ei: instrumente mintale si conditii materiale corespunzatoare, altfel poate sa apara blocajul sau sa se perpetueze starea de suspans.
Cerintele realizarii problematizarii sunt:
- folosirea progresiva a tipurilor de problematizare in urmatoarea ordine: intrebari problema, probleme, situatii;
- introducerea dificultatilor sa se faca treptat in cadrul fiecarui tip de problematizare;
- in abordarea starilor conflictuale ale problematizarii, sa se imbine dirijarea din partea profesorului cu efortul independent de rezolvare de catre elevi;
- in rezolvarea starilor conflictuale ale problematizarii, sa se formeze la elevi capacitatea de a combina si recombina adevarurile stiintifice, algoritmii, modelele logico - matematice si de specialitate;
- antrenarea elevilor in dezbaterea solutiilor controversate, a conflictelor intelectuale, pentru ca fiecare dintre ei sa-si poata manifesta independent punctul de vedere; in cazul in care nu se ajunge la o solutie corespunzatoare, este necesar ca profesorul sa asigure stabilirea solutiei optime, cu motivatiile teoretice si aplicative corespunzatoare;
- orice situatie problematizata trebuie sa aiba o strategie de rezolvare constienta.
Problematizarea este una din cele mai active metode de invatare, care duce la dezvoltarea armonioasa a personalitatii elevilor. Practic, utilizarea unui sistem de probleme, succesiunea didactica in care acestea sunt proiectate si valorificate, reprezinta modalitatea specifica de organizare si conducere a activitatilor didactice de catre profesor si in acelasi timp de obisnuire a elevilor cu un mod de lucru cu reale valente formative si informative.
Obiectivele majore urmarite in alcatuirea sistemelor de probleme in studiul disciplinelor tehnice sunt:
Restructurarea continutului stiintific sub forma unor sisteme de scheme dinamice care sa favorizeze esentializarea cunostintelor si evidentierea caracterului lor operational si functional;
Aplicabilitatea lor practica: formarea unor notiuni fundamentale, inzestrarea elevilor cu un ansamblu de idei, principii si tehnici de munca intelectuala.
Descoperirea (invatarea prin descoperire sau euristica) este o strategie complexa de predare-invatare care ofera elevilor posibilitatea de a dobandi cunostintele prin efort personal, independent.
Invatarea prin descoperire reprezinta una din metodele de instruire recomandate de didactica moderna in mod deosebit si inseamna insusirea noilor cunostinte, notiuni, prin descoperirea acestora de catre elevi, in procesul invatarii.
Descoperirile de tip didactic nu sunt "descoperiri pure", intrucat acestea ar insemna fara nici o indicatie, prin propriile sale forte, elevul sa isi stabileasca strategia de lucru si sa realizeze descoperirea dorita, aceasta posibilitate fiind extrem de redusa. Practic, in instructia scolara are loc un proces de invatare prin descoperire dirijata, in care profesorul indruma procesul de descoperire efectuat de elevi, conform unui program care include si unele puncte de sprijin, precum si intrebari cu rol ajutator.
Descoperirea in invatare se constituie ca un demers elevat de metodologie didactica, atat de imbinari, combinari si recombinari de date din fondul aperceptiv, cat si de restructarea acestora intr-o realizare creativa bazata pe noi documentari si investigatii experimental - aplicative, in cadrul carora actioneaza nemijlocit procesele intelectuale esentiale, cum ar fi:
Aceasta modalitate asigura o invatare cucerita, adica elevul se transforma tot mai mult in subiect al educatiei, in propriul sau educator; el exploreaza, reconstruieste, redescopera, ajunge la generalizarea, recrearea si dobandirea adevarurilor prin eforturi proprii.
Descoperirea a fost preconizata cu multa vreme in urma, astfel Platon, referindu-se la modul in care Socrate ii facea pe altii sa invete, spunea:'E limpede ca de la mine ei nu au invatat nimic, totul fiind descoperit de ei si pastrat ca atare".
Invatarea prin descoperire poate sa se realizeze sub urmatoarele forme:
- in functie de aportul in invatare al elevului (redescoperirea si descoperirea creativa);
- in functie de demersul logico - euristic (inductiva, deductiva, analogica si transductiva);
- in functie de contributia informativa la obtinerea unor date noi (de documentare si experimentala).
Redescoperirea (reconstruirea) este o invatare de explorare - investigatie prin care se recreaza ceea ce a fost descoperit si omologat in cunoasterea umana, intr-un anumit domeniu de specialitate. Redescoperirea poate fi dirijata, elevul imbinand efortul personal cu indrumarea de specialitate a profesorului, sau poate fi independenta, cand recrearea adevarului se realizeaza numai pe baza eforturilor individuale ale elevului.
Descoperirea creativa este o invatare inventiva cucerita prin cercetare, investigatie in cadrul caruia elevul in demersul sau de studiu si de pregatire, creaza, adica aduce ceva nou sub raport ideational sau aplicativ intr-un anumit domeniu. In ambele forme de descoperire, profesorului ii dispare caracteristica autoritarista si se transforma intr-un indrumator, colaborator sau consilier al elevului in procesul instruirii.
Descoperirea inductiva foloseste rationamente inductive care actioneaza de la concret la abstract, de la particular la general, de la inferior la superior, folosind operatiile logice (comparatia, analiza, sinteza, abstractizarea, generalizarea). Este o explorare mintala sau experimentala, bazata pe observatii, masuratori, determinari si care, pe baza de rationament inductiv duce la concluzii stiintifice.
Descoperirea deductiva foloseste rationamente deductive care actioneaza de la general la par-ticular de la cunostinte cu un grad de generalitate mare la cunostinte cu un grad de generalitate mai restrans. Este o explorare mintala bazata pe strategie algoritmica, adevarurile descoperite fiind rezultatul rationamentelor deductive, care trebuie verificate si experimental.
Descoperirea analogica foloseste rationamentul deductiv si transferul de informatie. Ea este probabila, nu ofera certitudine asupra adevarului stabilit, ajuta doar la emiterea unei ipoteze plauzibile; necesita explorare si verificare experimental - practica.
Descoperirea transductiva are la baza rationamentul ipotetico - deductiv dinamizat de ima-ginatie si gandire (bogate si creative), care pot duce la emiterea de ipoteze, inovatii, idei, teorii, tehnologii, noi care necesita verificarea lor experimental - aplicativa.
Descoperirea prin documentare este specifica cercetarii prin experimentul de laborator, atat pentru descoperirea unor adevaruri noi cat si pentru verificarea adevarurilor obtinute pe alte cai de invatare prin descoperire.
Invatarea prin descoperire necesita respectarea unor conditii:
- pregatirea elevilor pentru a invata cum sa invete singuri sau in echipa;
- imbinarea eforturilor elevilor cu indrumarea profesorului, micsorand treptat 'punctele de sprijin', pentru a ajunge sa invete singuri prin descoperire;
- implicarea din partea elevilor a tuturor dimensiunilor personalitatii lor ( cognitiv, afectiv, etic, estetic,evaluativ );
- folosirea imbinata a metodelor de invatare cu caracter activ - participativ, formativ - euristic si creativ;
- dezvoltarea spiritului de creativitate, de lupta pentru nou si impotriva inertiei, a rutinei, a suficientei.
Invatarea prin descoperire raspunde cerintelor actuale ale invatamantului de legare organica a teoriei de practica, in toate etapele procesului de invatamant imprimand cunostintelor un caracter aplicativ, ofera posibilitatea formarii unor deprinderi practice si dezvoltarea spiritului creator al elevilor.
Algoritmizarea este o metoda activ - participativa, utilizata mult in procesul de predare - invatare la disciplinele tehnice, contribuind la formarea gandirii stiintifice convergente la elevi, la dezvoltarea operativitatii. Ca metoda, algoritmizarea se poate referi la doua domenii importante:
- insusirea algoritmilor de calcul ale unor exercitii si probleme de un anumit tip;
- insusirea algoritmilor de desfasurare ale unor activitati practice, experimentale in vederea formarii deprinderilor de munca intelectuale si practice.
Metoda algoritmizarii opereaza cu algoritmi, care reprezinta o succesiune riguroasa de rationamente si indicatii, aranjate intr-o schema logica, avand ca rezultat solutionarea fie a unor exercitii, fie a unor activitati practice de un anumit tip. Algoritmii se incadreaza planului de orientare in gandire, determinand procesul de construire a unor scheme de actiune care au valoarea unor procedee operationale.
Schema unui algoritm este constituita dintr-un sistem de reguli, indicatii sau rationamente, care definesc un proces de transformari asupra datelor initiale, intr-o succesiune logica si avand grade diferite de complexitate. Clasificarea algoritmilor are in vedere fie functia lor predominanta in activitatea instructiva (algoritmi de rezolvare, de recunoastere, optimali), fie forma lor (reguli de calcul, scheme de desfasurare, instructajul).
Algoritmii de rezolvare care vor fi insusiti de catre elevi la inceputul formarii unor deprinderi, priceperi intelectuale de rezolvare corecta a unui exercitiu (problema), de un anumit tip sau a unei activitati practice specifice disciplinelor tehnice. Profesorul are obligatia sa prezinte algoritmul de rezolvare doar in cazul in care apare un nou tip de exercitii (probleme) sau activitate ex-perimentala.
Algoritmul de rezolvare a unei probleme se va da sub forma unei succesiuni de etape (pe folie, pe fisa sau pe tabla), in pasi mici care, dupa ce elevii isi insusesc deprinderile de a rezolva exer-citii sau probleme de un anumit tip, vor lua forma algoritmilor de recunoastere.
Algoritmii de recunoastere presupun existenta unor priceperi si deprinderi intelectuale sau practice, formate deja, pentru rezolvarea unui anumit tip de exercitii ( probleme ) sau activitate experimentala.
Algoritmii optimali apeleaza la gandirea probabilistica si la strategia euristica a elevilor, avand la baza rationamente inductive sau deductive.
Schema de desfasurare sunt algoritmi folositi in elaborarea planului de rezolvare a unei probleme.
Instructajul care poate fi oral sau scris se va aplica inaintea unei activitati practice sau intelectuale.
Pentru a stimula elevii in cautarea algoritmilor este necesara formularea problemelor care nu pot fi rezolvate decat folosind algoritmul, dar folosirea unui numar prea mare de algoritmi se face in dauna judecatii problemei respective; este absolut necesara combinarea metodelor algoritmice cu cele euristice.
Experimentul de laborator este o metoda fundamentala in predarea disciplinelor tehnice, fiind o metoda euristica de organizare si realizare a activitatilor practice pentru deducerea informatiilor teoretice, concretizare, verificarea, aprofundarea si consolidarea cunostintelor si deprinderilor psiho - motorii in perspectiva pregatirii elevilor pentru integrarea socio - profesionala.
Experimentul este o observare provocata.
A experimenta inseamna a-i pune pe elevi in situatia de a concepe si practica ei insisi un anumit gen de operatii cu scopul de a observa, a studia, a dovedi, a verifica, a masura rezultatele. Disciplinele tehnice isi bazeaza procesul teoretic si isi gasesc aplicativitatea practica in incercarile de laborator, au la baza experimentul atat ca metoda de investigatie stiintifica, cat si ca metoda de invatare.
Experimentul de laborator urmeaza treptele ierarhice ale invatarii, conducand elevul de la observarea unor fenomene, pe baza demonstratiei, la observarea fenomenelor prin activitate proprie ( faza formarii operatiilor concrete), apoi la verificarea si aplicarea practica a acestor( faza operatiilor formale) si, in continuare, la interpretarea fenomenelor observate, care corespunde cu faza cea mai inalta din treptele ierarhice ale dezvoltarii ( faza operatiilor sintetice).
In cuprinsul programelor scolare, locul experimentelor si rolul lor este bine fixat, pro-fesorului revenindu-i sarcina de a selectiona si a gasi modalitati de valorificare, si reordonare sub alta forma, care pot aduce o contributie importanta la sistematizarea cunostintelor prin reim-prospatarea in mintea elevilor a perceptiilor anterioare, integrandu-le in scheme noi. Utilizarea altor experimente decat cele folosite la lectiile corespunzatoare de insusire a cunostintelor sau realizarea cunostintelor intr-o forma mai atractiva, contribuie la dezvoltarea interesului cognitiv al elevilor, la participarea mai activa si mai constienta la problemele puse in discutie, verificand si capacitatea elevilor de a aplica creator cunostintele acumulate.
Dupa Dumon, obiectivele unei activitati practice efectuata de elevi in laborator, sunt:
- sa identifice problema, sa-si puna intrebari la care sa fie capabili sa raspunda chiar ei insisi;
- sa formuleze ipoteze la problema pusa in discutie;
- sa-si imagineze verificarea experimentala a ipotezelor;
- sa gaseasca informatiile necesare pentru a rezolva problema;
- sa-si imagineze singuri experienta;
- sa interpreteze rezultatele, fenomenele observate;
- sa-si imagineze aplicatiile practice pe care le-ar putea efectua, referitoare la problema respectiva.
Experimentele utilizate in procesul de predare - invatare, la disciplinele tehnice, ar putea fi clasificate in functie de obiectivul didactic urmarit, astfel:
experiment cu caracter de cercetare;
experiment demonstrativ;
experiment aplicativ;
experiment destinat formarii deprinderilor practice.
Experimentul cu caracter de cercetare are un pronuntat caracter euristic, astfel elevii pe baza activitatilor practice efectuate, descopera noile cunostinte. Este o metoda foarte eficace in doban-direa cunostintelor noi, avand in vedere ca pe langa obiectivele cognitive si psihomotorii, se ating obiective si afectiv - emotionale. Elevul va interveni activ, va provoca un fenomen in mod constient, intentionat, in conditii determinate, pentru a observa raportul de cauzalitate si a verifica anumite ipoteze.
Invatarea experimentala nu se reduce doar la manuirea unor instrumente, a unor substante, ci solicita gandirea elevului, il determina sa realizeze interrelatii intre observatiile inregistrate in timpul experimentului si cunostintele anterioare, deci il determina pe elev sa descopere noile cunostinte. Pirson propune ca o fisa experimentala sa cuprinda:
- notiuni cunoscute anterior de elevi;
- obiectivele care urmeaza sa fie realizate;
- durata experimentului;
- principiul experimentului;
- aparatura necesara experimentului;
- modul de lucru;
- sarcini teoretice (concluzii).
Experimentul demonstrativ consta in efectuarea de catre profesor sau grup de elevi, in fata clasei, a unor experiente cu scopul verificarii unor adevaruri, concepte, fenomene, legitati deja insusite de catre elevi. Caracterul cognitiv al experimentului demonstrativ poate fi amplificat prin implicarea lui in confirmarea unor ipoteze, in intelegerea unor explicatii si in final, in insusirea unor cunostinte teoretice noi.
Conditiile metodice care se impun in vederea reusitei unui experiment demonstrativ, sunt:
- granita succesului experientei (profesorul va pregati din timp, aparatura, instalatia necesara si va efectua experienta inainte de lectie);
- in cazul esecului experientei, profesorul are datoria sa explice conditiile obiective care au generat esecul si sa comunice verbal ceea ce ar fi trebuit sa rezulte din experienta;
- utilizarea unei instalatii cat mai simple (accentul sa se puna pe observarea fenomenului);
- ordine si curatenie pe masa de lucru;
- cunoasterea si respectarea regulilor de protectie a muncii.
Din punct de vedere metodic, in efectuarea unui experiment demonstrativ, se parcurg urma-toarele etape:
- inainte de inceperea experientei, profesorul se va asigura daca elevii cunosc obiectivele urmarite;
- stabilirea aparaturii necesare efectuarii experimentului, se va face frontal;
- prezentarea modului de lucru, insistandu-se prin conversatie cu elevii asupra tuturor etapelor care trebuie parcurse;
- efectuarea experimentului de catre profesor, sau 1 - 2 elevi, avand grija sa se asigure vizibilitate;
- culegerea datelor, a observatiilor cu ajutorul elevilor (analiza modului de lucru, a fenomenelor observate);
- stabilirea concluziilor pornind de la obiectivele prestabilite, cu ajutorul datelor din analiza observatiilor.
Experimentul destinat formarii deprinderilor practice consta in executarea constienta si repetata a unor operatii si actiuni care se imbina, astfel ca elevul isi va insusi algoritmul de efectuare corecta a acestora, deci elevul isi formeaza deprinderi si abilitati practice. Deprinderile pot fi considerate ca tehnici de executie a unei activitati sau moduri de actiune care au devenit prin exercitiu, componente ale activitatii.
In procesul de formare a deprinderilor practice se parcurg urmatoarele etape:
- etapa preliminara, cand elevul este familiarizat cu o serie de cunostinte teoretice necesare executarii operatiei respective;
- etapa invatarii analitice, cand operatia este descompusa pe miscarile ei componente;
- etapa sintetica, cand elevul va lega si va executa corect toate fazele operatiei;
- etapa intaririi (automatizarii), cand operatia este executata corect pe baza schemei globale, care s-a fixat in stereotipul dinamic al elevului;
In formarea unei deprinderi practice rolul esential il are exercitiul, ceea ce presupune corectarea continua a executiei, prin controlul profesorului sau si prin autocontrol din partea elevului. Din punct de vedere metodic, experimentul destinat formarii deprinderilor practice, urmeaza etapele unui experiment demonstrativ dar efectuarea practica se face individual, de catre fiecare elev in parte, iar la etapa prezentarii modului de lucru, pe langa atentia deosebita care se va da descrierii tehnicii de lucru (pe fisa), profesorul va demonstra de 2 - 3 ori in fata clasei operatia respectiva.
Lucrarile experimentale sunt forme eficiente de organizare a instruirii deoarece prin intermediul lor se pot infaptui mai multe scopuri didactice, indeplinind astfel numeroase functii instructiv - educative.
Si dupa cum spunea Bacon 'Stiinta noua nu poate fi decat experimentala'
Metoda rezolvarii exercitiilor si problemelor consta in efectuarea repetata, sistematica, a unor operatii si activitati, fie pentru formarea si dezvoltarea unor priceperi si deprinderi, fie pentru consolidarea lor. Ea se foloseste atat pentru formarea, consolidarea si dezvoltarea deprinderilor motorii, cat si pentru formarea, consolidarea si dezvoltarea deprinderilor intelectuale.
In predarea disciplinelor tehnice, exercitiile si problemele se folosesc cu scopul de a favoriza intelegerea unor notiuni si retinerea acestora.
Rezolvarea de exercitii si probleme se inscrie in categoria strategiilor algoritmice, deo-arece presupune respectarea unor prescriptii si aflarea unui rezultat.
Exercitiile au o serie de functii instructiv educative:
- consolideaza priceperile si deprinderile intelectuale sau/si practice;
- dezvolta creativitatea, spiritul de independenta si initiativa elevilor;
- exersarea in situatii diferite, ofera posibilitati de transfer a cunostintelor, a deprinderilor insusite, dar in acelasi timp, verificarea si evaluarea elevilor.
Clasificarea exercitiilor si problemelor se face dupa mai multe criterii:
functie de gradul de solicitare a initiativei, a creativitatii elevului: exercitii reproductive si de creativitate;
functie de natura lor : exercitii calitative, cantitative si practice;
functie de etapa in care se formeaza deprinderea :exercitii introductive, de baza si paralele.
De asemenea, odata cu introducerea teoriei informatiei in procesul de predare - invatare, o extindere mare revine exercitiilor si problemelor cu caracter programat.
Exercitile reproductive se folosesc la inceputul formarii unor deprinderi intelectuale sau practice si constau in recunoasterea si aplicarea unei formule, teoreme, algoritm, dupa modelul dat de profesor; ele nu solicita initiativa elevului.
Exercitiile de creativitate solicita flexibilitatea gandirii elevilor si presupune existenta unor de-prinderi intelectuale sau practice deja formate; acest tip de exercitii sau probleme, prin caracterul lor formativ, ocupa locul central in procesul de predare - invatare.
Exercitiile calitative (probleme) au la baza cunostinte teoretice ale elevilor, care prin rationa-mentele lor ajung la raspunsul solicitat. Metodica rezolvarii acestui tip de probleme este realizata prin parcurgerea urmatoarelor etape:
- intelegerea continutului enuntului problemei;
- analiza logica a problemei;
- rezolvarea propriu zisa a problemei;
- concluzii.
Exercitiile cantitative reprezinta tipul de probleme in care profesorul va apela la rationamentele logice ale elevilor pentru rezolvarea lor; ele implica stabilirea unor relatii cantitative intre diferite marimi .
Exercitiile practice (probleme) sunt cele care se rezolva prin activitati practice, prin experi-mente si au o valoare formativa mare, deoarece solicita atat capacitatile intelectuale, cat si price-perile, deprinderile practice ale elevilor.
Metoda rezolvarii de exercitii si probleme contribuie la clarificarea, fixarea si sistematizarea cunostintelor dobandite de catre elevi, aplica o serie de priceperi, deprinderi intelectuale si practice in contexte noi, realizand conexiunea inversa.
Aceasta tehnica moderna constituie o consecinta si o aplicatie a ciberneticii in metodologia didactica; totodata, noua strategie se bazeaza pe unele achizitii ale psihologiei contemporane.
Ca modalitate efectiva de organizare a invatarii, instruirea programata dateaza din anul 1950, prin cercetarile efectuate de renumitul psiholog american B.F.Skinner, pentru care invatarea presupune formarea unor comportamente noi. In conceptia lui Skinner, un bun profesor trebuie sa fie preocupat de gasirea celor mai eficace conditii pentru formarea si mentinerea com-portamentelor.
Din perspectivele ciberneticii, procesul de invatamant este considerat un mod probabilistic de transmitere a informatiei pe baza conexiunii inverse; feed-back-ul permite atat profesorului, cat si elevului sa perceapa gradul de intelegere a informatiei, asigurand optimizarea procesului de predare-invatare, inlaturarea lacunelor, corectarea unor greseli.
Instruirea programata se bazeaza pe parcurgerea unei programe de invatare, adica a unui algoritm prestabilit, alcatuit din secvente informative cu momente rezolutive, cu seturi suplimen-tare de cunostinte. Dimensionarea unei asemenea programe se face in conformitate cu urmatoarele principii:
principiul pasilor mici si al progresului gradat, care se realizeaza prin fragmentarea dificultatilor in unitati gradate, care sa conduca din aproape in aproape la solutionarea integrala;
principiul participarii active, unde relatia intre programa si elev este de tip interactiv, in sensul ca elevul rezolva, raspunde, selecteaza intrebari si propune solutii in mod independent;
principiul verificarii imediate a raspunsului, unde solutiile date de elev sunt confruntate operativ cu cele valide, elevul neputand sa treaca la secventele urmatoarele inainte ca raspunsurile sa fie confirmate;
principiul respectarii ritmului individual de studiu, principiul in cadrul caruia fiecare elev parcurge programul in functie de posibilitati, dispunand si gestionand dupa voie, timpul de rezolvare a sarcinilor;
principiul reusitei sau a raspunsurilor corecte, prin care programa este astfel dimensionata incat orice elev sa fie capabil sa o parcurga integral si satisfacator.
In practica scolara se folosesc cu o frecventa mai mare doua tipuri de programe: liniare, cu raspuns construit si ramificate cu raspuns la alegere.
Programarea liniara a fost elaborata de Skinner si consta in faptul ca elevul este condus la insusirea cunostintelor printr-o succesiune de pasi mici, astfel organizati incat sa reduca la mini-mum greselile posibile, cel ce invata fiind pus mereu in situatia de a construi un raspuns corect.
Programarea ramificata a fost elaborata de Crowder si consta in faptul ca o data cu informatia si tema respectiva se prezinta mai multe raspunsuri, dintre care elevul il alege pe cel care il considera corect.
Programarea ramificata cuprinde:
- secvente principale, care se parcurg in mod obligatoriu;
- secvente ajutatoare sau de corectie, care se parcurg cand raspunsul dat de elev este gresit;
- secvente avansate, care se studiaza in situatia in care s-a ales raspunsul corect.
Dupa parcurgerea si rezolvarea corecta a acestor secvente, elevul este trimis la urmatoarea secventa principala.
Programa liniara si ramificata prezinta asemanari si deosebiri.
Asemanari:
- cer din partea elevului o participare activa si independenta;
- determina o individualizare a instruirii, manifestata prin ritmul propriu de lucru al fiecarui elev;
- presupun o structurare logica si gradata a materialului si dificultatilor pe care elevii trebuie sa le parcurga;
- stabilesc o conexiune inversa profesor - elev dar si elev - profesor;
- pot fi folosite atat in instruirea cu masini cat si in cea fara masini;
- pot completa sau inlocui partial sau total anumite segmente de instruire traditionala sau se pot completa reciproc.
Deosebiri:
- programele cu raspuns construit reduc la minimum numarul greselilor iar programele cu raspuns la alegere folosesc greselile elevului pentru a avea posibilitate de a orienta elevul pe calea dorita;
-in programele cu raspuns construit parcurgerea programei nu depinde de raspuns in timp ce in celelalte alegerea raspunsului determina in mod decisiv calea pe care se va merge mai departe;
- timpul necesar parcurgeri programei liniare este mai mic fata de timpul necesar parcurgeri programei ramificate, care este mult mai mare.
Etapele care se parcurg in vederea elaborarii unei programe, indiferent de tipul ei sunt:
a.- Elaborarea instrumentelor programei, ceea ce presupune:
- definirea obiectivelor;
- intocmirea testului initial de cunostinte;
- delimitarea continutului;
- elaborarea testului de eficacitate;
- alegerea tipului de programare.
b.- Structurarea materiei, astfel incat sa se poata atinge obiectivele propuse, trebuie sa se tina cont ca este necesar sa se mearga de la cunoscut la necunoscut, de la simplu la complex, de la concret la abstract, de la observatie la rationament, de la o privire generala la o analiza detaliata.
c.- Redactarea programei, adica unitatea de lucru reprezinta secventa care trebuie sa inde-plineasca urmatoarele conditii:
d.- Validarea programei care presupune analiza testului de eficacitate si a altor categorii de date experimentale.
Instruirea programata, se adapteaza ritmului propriu de intelegere, sistematizare si fixare a cunostintelor de catre elevi, deci permite sa se respecte si principiul particularitatilor de varsta si individuale; ofera posibilitati sporite privind controlul asimilarii cunostiintelor si autocontrolul, regland totodata activitatea de predare - invatare prin intrebarile si raspunsurile de
control, distriuite conform unor reguli din cuprinsul manualului programat sau oferit de masina de invatat. Avand posibilitatea de a verifica la timp rezultatele muncii sale, elevul isi poate autoregla activitatea de insusire a cunostintelor, sporind in acelasi timp increderea in fortele proprii.
In conditiile existentei unui interes viu, materialul programat il determina pe elev sa gandeasca, sa lucreze efectiv intreaga ora, sa se controleze, sa revina asupra aspectelor neintelese, pentru ca in final sa constate ca prin efortul propriu a reusit sa asimileze o mare parte din continutul lectiei.
Instruirea programata prin manuale si masini tehnice nu prea a fost prezenta in invatamant, si nu numai la noi in tara, pentru ca procesele cibernetice pe care se bazeaza instruirea programata, recupereaza doar partial procesul natural de invatare; prin programare se vizeaza aspectul instructiv al educatiei si mai putin, sau chiar deloc, aspectul formativ. Totusi avantajele instruirii programate trebuie luate in seama pentru ca se reduce timpul de insusire al cunostintelor, se asigura o insusire a cunostintelor de catre toti elevii si se lucreaza premisa formarii unui stil de munca activ, independent, controlat si autocontrolat.
3.2.9. Metode de predare si invatare pe grupe de elevi
3.2.9.1. Argumente pentru invatarea pe grupe de elevi.
In viziunea principiului didactic al participarii constiente si active a elevilor la propria lor instruire, metodele de invatamant devin instrumente de lucru cu ajutorul carora elevii dobandesc cunostinte, priceperi si deprinderi, fie sub indrumarea directa a profesorului, fie in mod independent, dirijat, dezvoltandu-si potentialul creator .
Oricare ar fi ele, metodele trebuie sa devina active in timpul lectici, iar metoda este activa atunci cand elevii participa la elaborarea conceptelor sau notiunilor fizice si relatia profesor - elev devine una de cooperare. Se stie, de altfel, ca succesul transmiterii depinde mai mult de calitatea raporturilor dintre profesor si elev, decat de volumul cunostintelor. Imaginea dascalului educator tinde sa eclipseze pe aceea a profesorului - savant.
Ritmul accelerat al dezvoltarii stiintei, tehnicii si culturii actuale dar si de viitor impune invatamantului o orientare ca proces activ, cu ritm asemanator, pentru pregatirea superioara a generatiilor scolare, pentru formarea unor personalitati capabile sa se adapteze si sa se integreze rapid in societate.
In stadiul actual de dezvoltare a scolii, de modernizare a procesului de invatamant, accentul se deplaseaza dinspre informativ spre formativ. Dar, pentru a obtine rezultatele scontate de invatamantul modern, indiferent de forma pe care o imbraca metoda de lucru, este necesara, in primul rand schimbarea opticii profesorilor in activitatea lor didactica, atat in ceea ce priveste continutul cat si in ceea ce priveste relatia profesor-elev, in care elevul apare ca fauritor al propriei sale personalitati.
Cu alte cuvinte elevul nu trebuie sa primeasca permanent rationamentele gata elaborate de profesor, ci trebuie sa se deprinda treptat cu munca intelectuala de selectionare si sistematizare a cu-nostintelor, sa-si dezvolte aptitudinile intelectuale, flexibilitatea, originalitatea, independenta de gandire si creativitatea in vederea adaptarii rapide si eficiente la orice situatie noua. Profesorul nu mai trebuie sa expuna lectia de la catedra ci sa devina calauzitorul elevilor pe fagasul redes-coperirii stiintei. Profesorul trebuie sa evidentieze situatiile conflictuale ale problemelor propuse elevilor spre rezolvare si tot el sa fie primul ajutor pentru mai micii colaboratori atunci cand acestia au intrat in impas
Cele trei forme fundamentale de instructie sunt: frontala (traditionala), cea in grup si cea individuala.
Metodele de invatare care abordeaza frontal clasa prezinta neajunsuri, cum ar ti:
elevii isi insusesc cunostinte gata elaborate, consecinte finale ( reguli, formule, defini-tii) pe care de obicei si le fixeaza ca atare, iar in solutionarea unor probleme noi, aceste cunostinte se dovedesc rigide, stereotipice, imobile;
munca elevilor se reduce la preluarea cunostintelor oferite in cadrul procesului de invatamant si se limiteaza la reproducerea "cu cuvinte proprii' a continutului manualului;
nu se exploateaza valorile spiritului colectiv pentru a dezvolta capacitatea de gandire a elevilor;
nu dezvolta trasaturi ale personalitatii necesare individului pentru a fi acceptat intr-un grup, pentru a colabora eficient si cu placere cu ceilalti colegi;
clasa nu functioneaza ca o adevarata colectivitate, este pur si simplu suma celor care invata si nu este folosita forta si eficienta grupului;
supraincarcarea studiilor, congestionarea procesului de predare - invatare, aglomerarea materiei care duce la insusirea superficiala a cunostintelor, memorarea mecanica a acestora;
nu este stimulata creativitatea elevilor.
In dezbaterile privind noile forme de educatie, problema educatiei pe grupe, ocupa locul intai. Principalele argumente pentru invatarea pe grupe de elevi ar fi:
constituirea de echipe si de grupe vizeaza sa restabileasca in scoala situatii apropiate de cele pe care copiii si adolescentii le cauta spontan in cete si in jocuri colective si sa le prilejuiasca o experienta care o prefigureaza pe aceea a vietii sociale a adultilor;
in psihologia sociala o atentie deosebita se acorda grupurilor mici si se arata ca oamenii isi formeaza personalitatea sub influenta colectivelor restranse, a grupurilor in care se desfasoara viata lor;
activitatea in grup ii invata pe elevi "sa invete', sarcinile didactice puse in fata colec-tivului sunt solutionate prin efort colectiv, prin intrajutorarea reciproca de catre membrii grupului;
deoarece pedagogul manifesta doar o indrumare indirecta si schitata, se cere de la elev, ca partener in procesul de instructie, implicare si o activitate intensa si il initiaza in metodologia insusirii independente a cunostintelor; apare o dezvoltare accentuata a capacitatii intelectuale si a creativitatii, elevii isi folosesc mult mai bine potentialul intelectual;
se dezvolta autoexigenta si competitivitatea elevilor, totodata ei invata unii de la ceilalti prin colaborare;
grupurile ii ajuta pe elevi sa se cunoasca mai "bine insisi, sa-si valorifice calitatile si sa-si cunoasca neajunsurile, sa-si dezvolte trasaturi ale personalitatii necesare unei integrari armonioase in societate.
3.2.9.2. Aspecte psihopedagogice ale invatarii pe grupe de elevi.
Psihologii au constatat ca, incepand de la varsta de 10-11 ani, elevii lucreaza mai bine, cu eficienta mai mare, atunci cand sunt in grup, pentru ei cooperarea la o tema insemnand mai mult ajutor reciproc, in stadiul adolescentei, elevul isi alege prietenii dupa afinitati intelectuale si afective in asa fel incat este gata oricand sa ceara sau sa le acorde ajutorul sau. Numai o viata sociala completa (jocuri si munca ) permit copiilor, la o anumita varsta sa capete o experienta umana indispensabila. Munca in grup este proprie elevilor intre 10 si 18 ani, mai devreme de 10 ani copiii nu sunt capabili sa-si organizeze singuri munca, iar dupa 18 ani activitatea in grup este fructuoasa numai in schimbul de pareri, cercetarea individuala inlocuind-o cu bune rezultate pe cea in grup. De altfel, renumitul psiholog elvetian J. Piaget apreciaza ca abia la varsta de 10 ani grupul ofera elevilor posibilitatea maturizarii intelectuale si joaca rol de instrument al socializarii gandirii intelectuale.
Copii cu varsta intre 10 - 15 ani, adica preadolescentii, trec prin schimbari importante in plan cognitiv, motivational, afectiv, volitiv si caracterial. Preadolescentul intelege continutul normelor morale si le interiorizeaza, formandu-si atitudini si sentimente morale, trasaturi de vointa si de caracter (perseverenta, onestitate, corectitudine etc.). Acestea se observa foarte clar atunci cand sunt antrenati in lucrul pe grupe.
Iritabilitatea si instabilitatea afectiva, timiditatea si anxietatea, nesiguranta si complexele de inferioritate, manifestate la preadolescenti sunt adesea rezultatul unor socuri emotionale suferite in familie sau la scoala. Atitudinea calda, binevoitoare, respectul si indrumarea discreta prin sugestii imbinate cu o exigenta echilibrata au un efect pozitiv si energizant. Profesorii trebuie sa inlature cu calm tensiunile emotionale din clasa, din grupele de elevi prin rezolvarea conflictelor in spiritul justitiei. Fiind capabil de rationamente ipotetico-deductive, prea-dolescentul isi poate insusi cu usurinta valorile culturii, dezvoltandu-si, in acelasi timp, constiinta si conduita morala.
Adolescentii, elevii cu varsta intre 15 ani si 18-19 ani, au un spirit de observare dezvoltat, iar gandirea devine din ce in ce mai independenta si creativa. Aceasta creativitate este bine stimulata atunci cand sunt antrenati in lucrul pe grupe. Inteligenta teoretica le permite sa elaboreze judecati de valoare, sa-si puna probleme si sa le rezolve, efectuand rationamente de toate categoriile: ipotetico-deductive si combinatorii, generalizand operatiile de clasificare si seriere.
Se poate observa ca elevii urmeaza calea pe care merg cercetatorii in lucrarile lor. cu deosebirea ca elevii reconstituie drumul parcurs de stiinta timp de secole, "descopera' adevaruri cunoscute oamenilor maturi, elaboreaza sinteze prin eforturi individuale si colective. Profesorul modern va indruma de la distanta, micile colective efervescente. Este bine ca profesorul sa incerce mai intai noul mod de invatare la o clasa, pe care sa o ia apoi in comparatie cu o alta clasa ( considerata clasa martor ) de valoare apropiata ca numar de elevi si potential intelectual.
In constituirea grupelor se poate tine cont de mai multe criterii cum ar fi:
orientarea comuna a interesului elevilor;
nivelul capacitatii intelectuale a elevilor;
optiunile spontane ale elevilor;
afinitati sau respingeri intre elevi evidentiate de un test sociometric.
Se pot constitui si grupe mixte din punct de vedere al interesului elevilor sau al capacitatii intelectuale a acestora.
Daca se utilizeaza sociometria, profesorul da elevilor un test in care li se cere sa precizeze cu care trei dintre colegi ar vrea sau nu sa lucreze si care trei colegi crede ca ar vrea sau nu sa lucreze cu el. Pe baza acestui test se intocmeste matricea sociometrica care evidentiaza alegerile, respingerile, perceperea alegerii, perceperea respingerii si coeficientul sociometric. Pe baza acestor date se poate intocmi un tabel cu frecventa elevilor pe nivele de integrare sociala.
Grupul de elevi nu este numai o unitate de munca, ci una sociala, ai carei membri sunt legati prin fire psiho-sociale. Daca legaturile sunt favorabile, vor intensifica performanta. Deci mem-brii grupului vor colabora eficient numai daca o fac cu placere.
Apoi, grupele pot fi mobile, elevii se pot muta dupa ce si-au indeplinit sarcinile in micul colectiv, dar numai de la o tema la alta. Fiecare grupa isi alege un conducator pe care il poate schimba la tema urmatoare. S-a observat ca nu le place nici un conducator foarte autoritar si nici unul prea ingaduitor, ei apreciaza organizarea democratica, iar rezultatele muncii confirma optiunile lor.
S-a observat ca elevii care nu se evidentiau in cadrul lectiilor organizate dupa metode frontale de instruire, in cazul lucrului pe grupe au devenit brusc interesati, entuziasmati si dornici sa obtina rezultate foarte bune.
3.2.9.3. Cadrul de predare si invatare.
Cadrul pentru predare si invatare trebuie sa cuprinda urmatoarele etape:
Ø Evocarea;
Ø Realizarea sensului;
Ø Reflectia.
1. Evocarea
In aceasta etapa se stabileste un punct de pornire pentru analizarea subiectului propus. Elevii isi activeaza cunostintele anterioare referitoare la subiectul propus si incep sa se gandeasca la el. Este foarte important ca elevii sa reuseasca sa-si activeze cunostintele anterioare, in caz contrar, cand au idei confuze sau contradictorii, invatarea in continuare este inhibata.
Elevii incep sa se intrebe: Ce parere am eu despre acest subiect? Cum pot folosi aceasta informatie'?
in aceasta etapa trebuie sa se creeze contextul necesar pentru intelegerea subiectului propus. Elevii isi constientizeaza cunostintele anterioare si se mobilizeaza pentru a invata in continuare si nu asteapta pasivi ca profesorul sa gandeasca in locul lor. Aici intervine motivatia elevilor pentru a invata, in cazul in care interesul elevului este slab procesul de invatare continua doar pentru ca este impus de profesor si rezultatele vor fi la fel de slabe pentru ca invatarea va fi pasiva. Daca elevul prezinta interes pentru explorarea subiectului se va mentine o implicare activa a sa in procesul de invatare si rezultatele vor fi bune, iar invatarea va fi temeinica.
2. Realizarea sensului
Elevii in aceasta etapa vin in contact cu informatiile noi prin intermediul diferitelor mijloace de invatare. Profesorul urmareste sa mentina interesul elevilor stabilit in faza de evocare si sa-i determine sa patrunda sensurile informatiilor noi. Elevii motivati pentru a invata nu trebuie decat sa fie ghidati pentru a intelege si a fixa noile informatii. Acei elevi care nu prezinta interes pentru subiectul respectiv vor ramane destul de pasivi si nu vor depune eforturi pentru a introduce noile informatii in schemele de cunoastere pe care le au deja.
3. Reflectia
Este o etapa foarte importanta in fixarea si consolidarea cunostintelor noi si face ca invatarea sa fie temeinica si aprofundata. Elevii vor exprima prin propriile cuvinte ideile si informatiile pe care' le-au invatat si realizeaza un schimb de idei intre ei. Comunicand intre ei si cu profesorul construiesc diverse scheme de gandire, le sesizeaza pe cele ale colegilor si acest lucru contribuie la consolidarea noilor cunostinte.
Avand in vedere importanta sa, aceasta etapa nu trebuie uitata in procesul invatarii( mai ales pe motiv de lipsa de timp).
In fiecare dintre cele trei etape ale cadrului de predare si invatare se pot folosi diferite metode didactice.
3.2.9.4 .Metode de invatare pe grupe de elevi
Urmatoarele metode de invatare stimuleaza creativitatea in grup si pot fi utilizate la proiectarea demersului didactic la disciplinele din aria curriculara: Tehnologii .
l. Metoda Mozaic
Se bazeaza pe invatarea prin colaborare si se parcurg urmatoarele etape:
a) se formeaza grupele cooperative si profesorul da elevilor materialul de lucru. In cadrul fiecarui grup cooperativ, membrii vor primi un alt material pe care sa-1 invete si sa-1 prezinte celorlalti (de exemplu: primul primeste prima pagina, al doilea a doua pagina, etc. sau fise numerotate l, 2, in care s-a impartit materialul nou de invatat);
b) se formeaza grupele de experti din elevii care au primit pentru studiu acelasi material( de exemplu toti cu fisa nr. l). Grupele de experti studiaza, colaboreaza si isi pregatesc prezentarile pentru ca materialul sa fie inteles de catre colegii din grupul cooperativ din care fac parte;
c) fiecare elev se intoarce in grupul cooperativ si fiecare membru al acestui grup isi va prezenta pe rand materialul in fata celorlalti. Scopul echipei este ca toti membrii sa invete intregul material prezentat;
d) raspunderea individuala si de grup. Grupele sunt responsabile de insusirea intregului material de catre toti membrii. Elevilor li se poate cere sa demonstreze ce au invatat in mai multe feluri: prezentarea materialului predat colegilor, raspunsuri orale, test.
Pe parcursul celor patru etape profesorul ghideaza elevii in patrunderea sensurilor informatiilor noi si insista asupra colaborarii dintre ei.
Aceasta metoda se orienteaza mai mult pe realizarea sensului din cadrul de predare si invatare.
2. Metoda Brainstorming
Esenta metodei consta in separarea intentionata a actului imaginatiei de faza gandirii critice, rationale. De aici si denumirea de evaluare amanata, in practica brainstorming-ului se porneste de la doua principii de baza si anume:
a) orice individ e capabil sa produca idei;
b) cantitatea dezvolta calitatea.
Grupul de brainstorming trebuie sa reuneasca un numar par de participanti. Pentru desfasurarea optima a unei sedinte trebuie avute in vedere urmatoarele:
a) suspendarea oricarui gen de criticism sau autocriticism;
b) manifestarea libera a imaginatiei;
c) stimularea unui debit ideativ cat de mare; participantii isi manifesta opinia oral, liber si spontan relativ la tema propusa, fara sa respecte o anumita ordine, dar si fara discutii sau dezbateri lungi;
d) este recomandata preluarea ideilor emise de altii precum si prelucrarea lor.
Profesorul are rol de moderator si poate interveni favorizand cautarea de solutii prin incurajarea cu ajutorul unor fraze adecvate, in acelasi timp trebuie sa fie atent si la orice interventie inhibata din partea vreunui membru al grupului. Ori de cate ori ritmul activitatii treneaza profesorul propune propriile lui solutii.
Aceasta metoda se preteaza foarte bine pentru etapa de evocare din cadrul de predare si invatare dar, in functie de tema propusa si pentru realizarea sensului.
3. Metoda Frisco
Se intemeiaza pe principiul brainstorming-ului regizat, in sensul ca profesorul avand rolul de moderator distribuie fiecarui elev participant cate un rol care sa-i acopere o anumita dimensiune a personalitatii.
De exemplu:
a) traditionalistul este exponentul structurilor vechi;
b) exuberantul se comporta dezinvolt, rara nici o urma de cenzura;
c) pesimistul reprezinta criticul prin vocatie, care demoleaza prin negativismul sau orice abatere de la traseele cunoscute;
d) optimistul manifesta adeziune pentru atitudinea entuziasta a exuberantului.
Reuniunea ca atare incepe odata cu distribuirea rolurilor. Initial ordinea in care se cuvantul este stereotipa: traditionalistul, exuberantul, pesimistul, optimistul. In continuare interventia fiecarui membru al grupului este dictata de evolutia discutiilor, care este moderata de profesor, astfel incat sa se patrunda sensurile informatiilor vehiculate.
Aceasta metoda poate fi utilizata pentru etapa de evocare si de realizarea sensului din cadrul de predare si invatare.
Metoda Philips 6-6
In cadrul acestei metode se procedeaza astfel:
a) clasa se scindeaza in subgrupuri mai mici, de cate sase elevi, fiecare grup isi alege un moderator;
b) profesorul difuzeaza in scris o problema de rezolvat fiecarei grupe;
c) se dezbate problema prin colaborare in grupe si apoi moderatorul fiecarui grup prezinta lista cu solutii obtinuta;
d) la discutia dintre moderatori pot participa si ceilalti membrii ai grupului daca le vine vreo idee pe parcurs sau pornind de la ideile in discutie.
Aceasta metoda se poate utiliza pentru realizarea sensului in cadrul de predare si invatare.
5. Metoda analogiilor
Este o metoda care are caracter calitativ deoarece se elaboreaza o singura idee care se modeleaza apoi de-a lungul itinerarului sinectic. Metoda analogiilor se mai numeste si sinectica.
Organizarea unei sedinte se fundamenteaza pe doua principii fundamentale:
a) transformarea straniului ( a ceea ce este necunoscut) in familiar;
b) transformarea familiarului in straniu.
Se parcurg urmatoarele etape:
a) profesorul prezinta tema de rezolvat asa cum este;
b) grupul de . elevi redefmeste problema asa cum a inteles-o (transpunerea straniului in familiar);
c) indepartarea de problema (transformarea familiarului in straniu);
d)    
reconvertirea a ceea ce a fost straniu in familiar.
Se disting mai
multe forme de sinectica: 
a) analogia simbolica, consta in recursul la o imagine simbol sau una cu valoare estetica ca substrat al unei situatii problema;
b) analogia fantezistei, face apel la solutii socante, neconventionale pentru rezolvarea unei teme aflate in discutie;
c)        
analogia directa, se recurge la acest
mijloc cand pentru rezolvarea unei
probleme stiintifice se
recurge la un domeniu cunoscut;
d)       
analogia personala, consta in identificarea
fiecaruia din participanti cu
un obiect, eveniment,
persoana sau fenomen real sa imaginar.
Metoda analogiilor se preteaza cel mai bine pentru etapa de realizarea sensului din cadrul de predare si invatare.
Metoda testarii reciproce
Se aplica mai ales la lectiile de recapitulare astfel:
a) se anunta tema propusa dezbaterii;
b) se formeaza doua grupe de maxim sase elevi in fiecare grupa;
c) pe rand, fiecare grupa pune o intrebare celeilalte grupe; inainte de a pune intrebarea sau de a da raspunsul elevii din aceeasi grupa se consulta intre ei pana cand formuleaza clar intrebarea respectiv raspunsul;
d) profesorul are rol de moderator si intervine ori de cate ori intrebarile sau raspunsurile sunt confuze sau gresite.
Aceasta este si o metoda de evaluare, caz in care se tine cont de raspunsuri, dar si de modul in care au fost formulate intrebarile, precum si de colaborarea dintre elevii din aceeasi grupa.
Metoda se recomanda mai ales pentru etapa de reflectie din cadrul de predare si invatare.
7. Metoda realizarii de referat sau proiect
In situatiile in care tema permite, elevii pot realiza referate sau proiecte in grup. n cazul in care tema este complexa aceasta va fi impartita in subteme care vor reveni diferitelor grupuri. Se procedeaza astfel:
a) se stabileste tema care revine fiecarui grup;
b) se precizeaza obiectivele urmarite prin realizarea referatului sau proiectului;
c) se anunta documentatia ce poate fi folosita pentru intocmirea referatului sau proiectului;
d) in cadrul fiecarui grup se impart responsabilitatile avand permanent in vedere colaborarea intre membrii grupului. Este foarte important ca referatul sau proiectul sa aiba un caracter de tot unitar ;
e) se sustine referatul sau proiectul, se trag concluzii, eventual se discuta alternative de realizare a temei, prin implicarea tuturor membrilor grupului, chiar daca prezenta-rea succinta va fi facuta de un reprezentant al grupului.
Aceasta metoda se poate folosi pentru toate cele trei etape ale cadrului de predare si invatare, adica: evocarea, realizarea sensului si reflectia.
8 . Metoda reteaua de discutii
Se recomanda utilizarea metodei in situatiile in care tema permite abordari contradictorii.
Etapele metodei:
a) stabilirea temei puse in discutie;
b) profesorul adreseaza o intrebare prin care se solicita un raspuns pozitiv sau negativ insotit de argumente;
c) identificarea argumentelor de catre elevi;
d) individual se completeaza o lista cu argumentele care sustin raspunsul afirmativ, apoi una cu cele care sustin un raspuns negativ;
e) in perechi se construiesc doua liste mai lungi cu argumente pro si contra;
f) fiecare pereche va lucra cu o alta pereche, aducand argumente pe ambele liste;
g) reflectarea asupra argumentelor si stabilirea individuala a pozitiei pro sau contra.
Reteaua de discutii poate fi o etapa pregatitoare pentru o dezbatere, oferind elevilor posibilitatea de a reflecta asupra propriei pozitii, prin analizarea argumentelor identificate in legatura cu problema pusa in discutie. Metoda se foloseste mai ales pentru etapa de reflectie a cadrului de predare - invatare.
9. Metoda cubul
Metoda este folosita in cazul in care se doreste explorarea unui subiect, a unei situatii etc. din mai multe perspective. Se ofera astfel elevilor posibilitatea de a-si dezvolta competentele necesare unor abordari complexe si integratoare.
Etapele metodei:
a) realizati un cub pe ale carui fete notati cuvintele: descrie, compara, analizeaza, asociaza, aplica, argumenteaza;
b) anuntati tema/subiectul pus in discutie;
c) impartiti grupul in sase subgrupuri, fiecare subgrup urmand sa examineze tema aleasa din perspectiva cerintei de pe una din ' fetele' cubului, astfel:
Descrie: culorile, formele, marimile etc.;
Compara: ce este asemanator si ce este diferit ?
Asociaza: la ce te indeamna sa te gandesti ?
Analizeaza: spune din ce este facut, din ce se descompune etc. ?
Aplica: ce poti face cu el ? Cum poate fi folosit ?
Argumenteaza pro sau contra si enumara o serie de motive care vin in sprijinul afirmatiei tale.
Prin brainstorming, participantii pot identifica idei novatoare pe care le pot apoi include intr-un paragraf sau doua referitoare la tema respectiva
d) forma finala a scrierii este impartasita intregului grup;
e) lucrarea in
forma finala poate fi desfasurata pe tabla sau pe peretii clasei.
Metoda se preteaza pentru toate cele
trei faze ale cadrului de predare - invatare. 
dar in special pentru etapa de reflectie.
10. Metoda stiu/ vreau sa stiu/ am invatat
Cercetarile in domeniu au aratat ca invatarea este optimizata atunci cand se bazeaza pe cunoastere si experiente anterioare ale elevilor care le permit acestora sa lege ceea ce stiu deja de noile informatii care trebuie invatate.
Prin ' metoda stiu/vreau sa stiu/am invatat''se trece in revista ceea ce elevii stiu deja despre o anume tema si apoi se formuleaza intrebari la care se asteapta gasirea raspunsurilor in lectie.
Etapele metodei:
cereti la inceput cursantilor/elevilor sa formeze perechi si sa faca o lista cu tot ceea ce stiu despre tema abordata;
in timp ce elevii realizeaza lista, profesorul construieste pe tabla un tabel cu urmatoarele coloane: Stiu/Vreau sa stiu/Am invatat - S/VS/I:
| S - Ceea ce stim / Credeam ca stim | VS -Ceea ce vrem sa stim | I- Ceea ce am invatat | 
cereti perechilor sa spuna ce au scris si notati in coloana din stanga informatiile cu care tot grupul este de acord;
folosind aceeasi metoda elevii vor elabora o lista de intrebari
elevii vor identifica intrebarile pe care ei le au despre subiectul abordat, iar profesorul le va lista in a doua coloana a tabelului. Aceste intrebari vor evidentia nevoile de invatare ale elevilor in legatura cu temaabordata;
elevii citesc textul;
elevii citesc textul individual sau cu un coleg sau profesorul il citeste elevilor;
dupa lectura textului, reveniti asupra intrebarilor formulate in prima coloana, constatati la care s-au gasit raspunsurile in text si treceti-le in coloana 'Am invatat';
elevii vor face comparatie intre ceea ce ei cunosteau deja despre tema abordata, tipul si conti-nutul intrebarilor pe care le-au formulat si ceea ce ei au invatat prin lecturarea textelor;
elevii compara ceea ce cunosteau inainte de lecturare(informatiile din prima coloana a tabelului) cu ceea ce ei au invatat(informatiile din a treia coloana a.tabelului). De asemenea ei vor discuta care din intrebarile lor au gasit raspuns prin informatiile furnizate de text si care dintre ele inca necesita un raspuns. Discutati cu elevii unde ar putea cauta respectivele informatii. Unele dintre intrebarile lor s-ar putea sa ramana fara raspuns si s-ar putea sa apara intrebari noi. In acest caz, intrebarile pot fi folosite ca punct de plecare pentru investigatii personale;
informatia cuprinsa in coloana a treia 'Am invatat' poate fi organizata in diferite categorii. Metoda insasi cuprinde toate cele trei etape ale cadrului de predare - invatare.
3.3. Mijloace de invatamant
Experienta practica a ultimelor decenii arata ca desfasurarea la parametrii optimi a procesului de predare invatare este tot mai mult conditionata de existenta si integrarea rationala in lectie a unor variate materiale didactice, mijloace moderne de invatamant.
Prin termenul de 'mijloc de invatamant' se inteleg resursele materiale ale procesului de invatamant investite cu anumite functii pedagogice pentru a usura comunicarea, intelegerea, formarea notiunilor si deprinderilor, fixarea, evaluarea si aplicarea cunostintelor dobandite in practica, precum si consolidarea abilitatilor de munca.
Mijloacele de invatamant manifesta un anumit potential pedagogic, care se valorifica in lectie pentru realizarea obiectivelor stabilite si influenteaza in mod direct gradul de participare al elevilor la desfasurarea procesului de invatamant.
Dupa rolul dominant pe care il au in lectie, putem clasifica mijloacele de invatamant, astfel:
mijloace de invatamant pentru transmiterea de informatii si ilustrare: filmele didactice, diapozitivele, diafilmele, foliile pentru retroproiector, discurile, benzile inregistrate, emisiunile de radio si televiziune, tablourile, hartile, plansele, atlasele, globurile etc; aceste mijloace de invatamant transmit insusiri, caracteristici ale obiectelor si fenomenelor, contribuie la formarea unor reprezentari si notiuni sau la executarea unor actiuni necesare in vederea formarii operatiilor intelectuale;
mijloace de invatamant pentru investigatie, exersare si formare a deprinderilor de munca: trusele de laborator pentru elevi si profesor, aparatele pentru masura si control, microscoapele, modelele, machetele, simulatoarele, instalatii etc; aceste mijloace de invatamant stimuleaza unele procese de investigatie si asigura efectuarea experimentelor;
mijloace de invatamant pentru rationalizarea timpului in ora de curs: sabloanele, stampilele didactice, hartile de contur, masinile de multiplicat, calculatoarele etc; aceste mijloace de invatamant contribuie la rationalizarea eforturilor solicitate elevilor si profesorului in desfasurarea procesului de invatamant;
mijloace de invatamant pentru evaluarea rezultatelor invatarii: dispozitive si masini de examinare, instalatii pentru verificarea cunostiintelor, aparate de testare etc; aceste mijloace de invatamant contribuie la evaluarea obiectiva si rapida a rezultatelor invatarii.
Dupa destinatia lor, mijloacele de invatamant se impart in doua categorii: materiale didactice si mijloace tehnice.
Dupa caracterul lor, mijloacele de invatamant pot fi grupate astfel:
1.- mijloace de invatamant naturale ( reale si originale ), care pot fi:
a) naturale propriu-zise: colectii de roci si minerale, colectii de plante (ierbare), colectii de insecte (insectare), colectii de schelete de animale, stative de substante chimice naturale etc:
b) naturale confectionate pentru nevoile activitatii social - utile: obiecte, piese, dispozitive, mecanisme, aparate,unelte, utilaje, instalatii, sisteme tehnice, sisteme informatice (calculatorul) etc.
2.-mijloace de invatamant de substitutie, care pot fi:
Ø obiectuale (fizice): mulaje, corpuri geometrice, modele, machete fixe sectionate sau functionale (specifice diferitelor domenii), simulatoare etc.;
Ø iconice (figurative sau imagistice), care se clasifica in: reprezentari grafice (fotografii, desene didactice) si reprezentari grafice complexe (planse, harti, globul pamantesc, panouri, tabele);
Ø reprezentari audio - vizuale, care se clasifica in: reprezentari audio (inregistrari pe discuri, benzi magnetice, emisiuni radio), reprezentari video, care se pot proiecta pe ecran ( folii, diapozitive, diafilme, benzi video) si reprezentari audio - vizuale, care se pot proiecta pe ecran ( filme didactice, emisiuni de televiziune, video casete).
3.- mijloace de invatamant logico matematice (ideale), care pot fi: concepte, judecati, ratio- namente, formule si simboluri, algoritmi speciali de recunoastere, de rezolvare, optimali.
4.- mijloace de invatamant actionale, care pot fi:modele experimentale (experientele didactice), modele lucrative (lucrari practice de laborator), modele simulate (prin folosirea simulatoarelor), modele informatice (prin folosirea calculatoarelor).
5.- mijloace de invatamant mixte, care pot fi:carti (manuale, cursuri, tratate), indrumare, culegeri de probleme, de exercitii si texte; aceste mijloace de invatamant integreaza, concomitent cu continuturile de specialitate, si mijloace de invatamant imagistice, reprezentari grafice, logico - matematice etc.
6.- mijloace de invatamant informatice, care sunt calculatoarele.
7.- mijloace de invatamant pentru evaluarea cunostintelor, care pot fi: modele de evaluare orala, modele de evaluare scrisa (extemporale, probe de control, probe de control, teze, teste si grile docimologice), modele de evaluare practica modele de evaluare informatica.
Din alt punct de vedere, mijloacele de invatamant se pot grupa de fapt in doua mari categorii: care cuprind mesaj didactic si care faciliteaza transmiterea mesajelor didactice.
Mijloacele de invatamant care cuprind mesaj didactic, includ: obiecte naturale, originale; obiecte substitutive, functionale si actionale; suporturi figurative si grafice; mijloace simbolico - rationale; mijloace tehnice audio - vizuale.
Mijloace de invatamant care favorizeaza transmiterea informatiilor didactice includ:
Mijloacele de invatamant, indiferent de tipul lor, se dovedesc a fi utile in procesul instructiv - educativ, in masura in care sunt integrate organic in contextul lectiilor si li se imprima o finalitate explicit pedagogica, fara exagerari. Nu trebuie uitat faptul ca mijloacele de invatamant nu pot inlocui niciodata actul predarii, in care rolul principal in coordonarea si supravegherea acestuia il joaca profesorul; de aceea orice apel la mijloacele de invatamant va pune in balanta o serie de avantaje si dezavantaje, care trebuie constientizate de fiecare cadru didactic.
Mijloacele de invatamant isi aduc contributia la o serie de directii importante, cum ar fi:
- perfectionarea procesului de predare - invatare, prin intermediul ilustrarii si explicarii intuitive, logico - matematice;
- perfectionarea metodologiei didactice prin intermediul implicarii bazei materiale si a instrumentelor logico - matematice;
- perfectionarea formelor si tehnicilor de evaluare prin intermediul mijloacelor tehnice si a procedeelor folosite, care, totodata, pot stimula conexiunea inversa;
- perfectionarea ergonomiei de predare - invatare prin rationalizarea, optimizarea, si eficientizarea eforturilor profesorului si elevilor;
- perfectionarea actiunilor de orientare si selectie scolara si profesionala.
Mijloacele de invatamant indeplinesc si o serie de functii psihopedagogice: cognitiv - formativa,de legare a procesului de invatamant cu realitatea socio - profesionala, de educatie estetica si moral - civica, de dezvoltare multidimensionala si integrala a personalitatii.
Ridicarea calitatii, a valorii si eficientei procesului de invatamant necesita si respectarea unor conditii privind alegerea si folosirea mijloacelor de invatamant:
- dotarea corespunzatoare a unitatilor de invatamant, a disciplinelor si activitatilor acestora, cu o bogata, variata, perfectionata si adecvata gama de mijloace de invatamant;
- folosirea mijloacelor de invatamant atat in activitatea frontala si in echipa, cat si in activitatea independenta de invatare a elevilor;
- folosirea mijloacelor de invatamant sa fie facuta atat pentru obtinerea unor performante cognitiv - formativ - aplicative in pregatirea elevilor, cat si pentru asigurarea accesibilitatii si eficientei actului de predare - invatare;
- strategia mijloacelor de invatamant, pentru a duce la rezultate valoroase si eficiente, trebuie sa se bazeze pe o corelatie cu toate componentele actului didactic (obiective, continuturi, principii, metode, forme de activitate si relatii adecvate profesor - elev);
- pentru realizarea unei strategii adecvate si eficiente a mijloacelor de invatamant, trebuie sa se ia in considerare datele oferite de principiile didactice si metodele de invatamant;
- inteligenta si spiritul de creativitate ale profesorului si elevilor sa fie in stransa corelatie cu concretetea actului didactic, particularitatile de varsta si individuale, gradul si profilul scolii, specificul disciplinelor de invatamant si al activitatilor didactice.
Intre mijloacele si metodele de invatamant exista o relatie stransa: mijloacele de inva-tamant nu pot fi administrate anarhic si izolat de metodele de invatamant, dupa cum nici modelele utilizate in procesul de instruire, nu au eficienta prea mare in absenta mijloacelor de invatamant.
Alegerea si combinarea metodelor si mijloacelor de invatamant nu trebuie sa insemne o abordare ingusta, rutinara, din partea celui care elaboreaza lectia, ci dimpotriva, inclinatie spre originalitate, noutate, eventual unicitate.
3.4.1. Consideratii generale asupra procesului de evaluare
Evaluarea rezultatelor scolare urmareste sa determine modul in care obiectivele stabilite se realizeaza in invatare. Evaluarea reprezinta un proces continuu si de durata, momentele in care are loc actiunea evaluativa fiind diferite, in funtie de scopul avut in vedere:
la inceputul programului de instruire;
pe parcursul acestuia;
la sfarsitul sau.
Datele obtinute din toate aceste evaluari contureaza, impreuna, o imagine complexa a persoanei evaluate si a progresului acesteia de-a lungul unui program de instruire. Putem deduce urmatoarele aspecte caracteristice ale evaluarii ca demers:
evaluarea este o componenta indispensabila a procesului instructiv-educativ;
exista o interdependenta intre cele trei elemente ale evaluarii: informatii, aprecieri, decizii.
Informatiile sunt baza de date care, prelucrate duc la formularea aprecierilor; aprecierile sunt aprecieri ale situatiei prezente sau prognoze ale rezultatelor viitoare, iar deciziile sunt optiuni pentru anumite modalitati de actiune. In acelasi timp, informatiile culese prin evaluare sunt functie de deciziile ce urmeaza sa fie adoptate.
evaluarea nu se rezuma la o singura actiune ( cum ar fi notarea elevilor ), ci ea este constituita dintr-o succesiune de activitati etapizate.
Principalele functii ale evaluarii sunt:
functia diagnostica, avand in vedere depistarea lacunelor si greselilor elevilor si inlaturarea acestora. Feed-back-ul primit de evaluator ii permite acestuia sa-si modifice modul si tehnicile de predare si sa verifice daca elevul a interpretat corect cunostintele transmise. Functia diagnostica se realizeaza prin teste de cunostinte de tip diagnostic.
functia prognostica, care pune in evidenta performantele viitoare ale elevilor. Acest lucru prezinta o importanta deosebita, deoarece se pot lua la timp decizii privind orientarea scolara si profesioanala a elevilor. Functia prognostica se realizeaza prin teste de aptitudini, dar si prin teste pedagogice care verifica mai ales calitatea invatarii si a capacitatii solicitate de activitati ulterioare.
functia de selectie, intervenind atunci cand se doreste clasificarea si admiterea candidatilor la examenele si concursurile scolare, sau cand se doreste ierarhizarea elevilor unei scoli, clase etc. Testele standardizate de tip normativ ofera posibilitati mai mari pentru realizarea unei selectii obiective.
Functii specifice:
functia de stimulare a activitatii de invatare (functia motivationala);
functia de orientare scolara;
3.4.2. Forme si tipuri de evaluare:
Se pot distinge urmatoarele forme de evaluare:
evaluare initiala, care se realizeaza la inceputul unei secvente, capitol sau ciclu de invatamant;
evaluare continua, care are loc pe tot parcursul desfasurarii procesului de invatamant. Aceasta vizeaza nu atat comportamenetele finale ale elevului, cat, mai ales, formarea unei judecati asupra eficacitatii invatarii. Ea solicita ca fiecare comportament realizat de elev sa fie masurat intre anumite limite.
evaluarea alternativa
Ca metode si procedee ale evaluarii continue amintim:
observarea si aprecierea verbala (de tipul: "bine", foarte bine", "ai progresat", etc );
chestionarea orala: este necesar ca intrebarile sa depaseasca cerinta simpla de re-producere a cunostintelor, solicitand interpretarea si prelucrarea lor, capacitatea de a opera cu ele, de a le aplica in practica ;
lucrarile scrise permit ca intr-un timp scurt sa se verifice cunostintele unui numar mare de elevi;
testele docimologice contin seturi de itemi cu ajutorul carora se evalueaza nivelul asimilarii cunostintelor si al capacitatilor de a opera cu ele. Un tip special de teste docimologice il reprezinta testele standardizate, cotate si interpretate in conditii identice (standard). Testele standardizate permit efectuarea de comparatii intre elevi sau grupuri de elevi;
verificarea prin lucrari practice ofera posibilitatea evaluarii capacitatii elevilor de aplicare a cunostintelor in practica, precum si gradul de stapanire a deprinderilor si priceperilor formate; aceste probe impun folosirea unor dispozitive sau aparate, executarea unor experiente sau lucari experimentale, lucrari de atelier, observatii utilizand anumite tehnici specifice de lucru, disectii, desene, schite, grafice etc.
verificarea prin proiecte permite o apreciere complexa si nuantata a invatarii si identificarea unor elemente de performanta individuala a elevilor, care isi au originea in motivatia lor intrinseca pentru activitatea desfasurata ;
evaluarea cumulativa, sumativa sau globala, este in esenta normativa si se face la intervale mari de timp, la finele unor secvente temporale sau tematice (capitol, curs, semestru, an scolar sau ciclu de invatamant). Aceasta ofera posibilitatea aprecierii modului in care au fost atinse obiectivele proiectate sau secvente ale lor acoperind un continut integral sau unitati mai mari ale acestuia. In evaluarea sumativa, instrumentul cel mai recomandat este testul standardizat.
evaluarea de proces: evaluarea performantelor celor evaluati.
Este incurajata asa - numita 'evaluare alternativa" , utilizarea unei mari varietati de metode si tehnici sau de 'strategii alternative' destinate evaluarii calitative, intre care:
a) metoda portofoliului;
b) elaborarea si sustinerea de proiecte;
c) pregatirea de expozitii;
d) lucrari de grup(echipa);
e) teste-eseu;
f) alcatuirea de jurnale personale;
g) interviuri;
h) dezbateri(seminarul Socrate);
i) examene executive;
j) misiuni sau sarcini de executat etc.
Cu strategiile alternative se face un pas important inainte in evaluare, deoarece acestea:
introduc elemente noi de invatare;
contribuie la dezvoltarea creativitatii;
pun accentul pe evaluarea executiei directe si a potentialului de cunoastere si actiune al elevului;
permit urmarirea progresului elevului in cadrul procesului de invatare;
contribuie la apropierea dintre profesor - elevi;
au o valoare educativa ridicata;
stimuleaza autoevaluarea.
Sunt strategii care gasesc sprijin in psihologia cognitiva preocupata de intarirea rolului activ al elevului in procesarea informatiei, de stimulare a creativitatii.
Spre deosebire de strategiile conventionale, acestea sunt mai costisitoare, consuma timp; sunt mai complexe si pretind o inalta specializare a profesorilor: veridicitatea notelor este mai scazuta fata de notatia traditionala; rezultatele vor fi diferite de la scoala la scoala.
Cu titlu de exemplificare, vom prezenta caracteristicile metodei portofoliului (port=purtat; folio=foi purtator de foi), in esenta, acestea constituie o colectie controlata de lucrari, parte terminate, parte in curs de executie, care demonstreaza eforturile, realizarile si progresele elevului intr-unul sau mai multe domenii, pe o perioada determinata - un semestru, un an scolar. Portofoliul cuprinde astfel, o selectie dintre cele mai bune lucrari sau realizari personale ale elevului, cele care il reprezinta si care pun in evidenta progresele sale; care permit aprecierea aptitudinilor, talentelor, pasiunilor, contributiilor personale. Alcatuirea portofoliului este o ocazie unica pentru elev de a se autoevalua, de a-si descoperi valoarea competentelor si eventualelor greseli.
In alti termeni, portofoliul este un instrument care imbina invatarea cu evaluarea continua, progresiva, dinamica si multilaterala a procesului de activitate si a produsului final. Acesta sporeste motivatia invatarii.
Este adevarat, portofoliul cere timp, sprijin indeaproape din partea profesorului, este mai greu de realizat in clasele numeroase. Evaluarea este aici de natura calitativa si mai subiectiva decat cea obtinuta pe alte cai.
3.4.3. Calitati fundamentale ale instrumentelor de masurare si apreciere
Sub aspect calitativ, accentul cade pe elaborarea unor instrumente de evaluare de mai mare rigoare metodologica, in vederea intaririi gradului de:
a) obiectivitate (reprezinta o valoare probanta);
b) validitate(capacitate de a masura bine ceea ce si-a propus sa masoare: cand reflecta performantele reale ale fiecarui evaluat);
c) fidelitate(de exactitate si consistenta, de finete si stabilitate a masurarii: scorurile dupa mai multe administrari raman constante).
Rigoarea constituie calitatea fundamentala a oricarei instrumentatii, esentiala pentru:
atestarea valorii informatiilor obtinute in cadrul masurarii efectuate;
asigurarea pertinentei respectivelor informatii (convergenta sau corespondenta cu obiectivele fixate);
asigurarea preciziei justetei(corectitudinii) aprecierilor;
asigurarea generalizarii(aplicabilitatii rezultatelor la alte experiente);
garantarea neutralitatii(functie de entitatea evaluata);
relevanta informatiei(interes pentru datele importante, semnificative, viziune globala etc.).
Dupa cum se poate constata, se tinde spre o evaluare complexa realizata prin intermediul unei metodologii foarte bogate si diversificate, in beneficiul calitatii invatamantului de toate gradele. Cu cat strategiile de evaluare vor fi mai numeroase si mai variate, cu atat va fi atins scopul unei evaluari complexe, multilaterale , veridice si sensibile la diferentele individuale dintre elevi. Numai o imbinare poate aduce informatii relevante in privinta rezultatelor, progreselor si calitatii proceselor de evaluare.
3.4.4. Calitati ale instrumentelor de evaluare
Evaluarea comporta mereu masurari (cantitative si calitative) si judecati de valoare. Pentru a efectua masuratorile trebuie sa se dispuna de instrumente de evaluare care au anumite calitati, pentru ca rezultatele sa aiba o anumita semnificatie pentru evaluatori, evaluati, institutii si societate.
Principalele calitati ale unui instrument de evaluare sunt:
validitatea;
fidelitatea;
obiectivitatea;
aplicabilitatea.
Validitatea se refera la "faptul daca testul masoara ceea ce este destinat sa masoare"; spre exemplu, un test ce masoara abilitati matematice nu poate fi scris intr-un limbaj greu accesibil varstei elevilor carora se adreseaza, deoarece, in acest fel, ar fi testate in primul rand abilitatile de citire si apoi cele matematice;
Fidelitatea este calitatea unui test de a da rezulate constante in cursul aplicarii lui succesive; fidelitatea este o conditie necesara, dar nu si suficienta pentru validitate. Un test poate fi fidel fara a fi valid, deoarece testul poate masura altceva decat ceea ce a fost destinat sa masoare;
Obiectivitatea reprezinta gradul de concordonta intre aprecierile facute de evaluatori independenti in ceea ce priveste un raspuns bun pentru fiecare din itemii unui test;
Aplicabilitatea este calitatea unui test de a fi administrat si interpretat cu usurinta.
PARTEA a III-a
EXPERIMENT DIDACTIC
Experimentul didactic a constat din:
a) la doua clase de liceu ruta progresiva, paralele profil tehnologic s-a predat aceeasi tema "Mijloace pentru masurarea fortelor (dinamometre)" in cadrul disciplinei Tehnici de masurare in domeniu.
b) la clasa XII E (in anul respectiv) s-a predat lectia conform proiectului de lectie prin abordarea frontala a clasei;
c) la clasa XII D s-a predat lectia conform proiectului de lectie prin abordarea pe grupe de elevi, folosind metoda mozaic, dupa ce in prealabil am pregatit clasa pentru aceasta metoda, le-am solicitat sa raspunda testului sociometric si apoi pe baza matricei sociometrice realizate am impartit elevii pe grupe.
d) verificarea cunostintelor s-a facut la ambele clase prin acelasi test de evaluare.
Am constatat ca elevii clasei XII D, la care s-a aplicat metoda mozaic au fost mult mai interesati de tema predata, au fost mai cooperanti si au lucrat bine pe grupe, realizarea testului confirma eficienta metodei de lucru pe grupe de elevi.
PROIECT DIDACTIC PENTRU TEMA PREDATA IN MOD TRADITIONAL PRIN ACTIVITATE FRONTALA
A) COMPONENTA INTRODUCTIVA
I. Date de identificare:
Profilul/Specializarea: tehnic/tehnician mecanic intretinere si reparatii
Propunator: ing. PUSCAS IOAN
Obiectul: M3 Tehnici de masurare in domeniu
Clasa: XII E
Data: 21.01.2009.
Unitatea de invatare: Mijloace pentru masurarea marimilor mecanice
Subiectul lectiei: Mijloace pentru masurarea fortelor (dinamometre).
II. Componntele lectiei:
Tipul lectiei: mixta
Competente:
sa inteleaga ce este o forta;
sa cunoasca unitatile de masura;
sa deosebeasca metodele de masurare;
sa stie sa foloseasca mijloacele de masurare;
Metode si procedee: conversatia, expunerea, explicatia, demonstratia.
Mijloace de invatamant: planse, instrumente de masura.
Forme de organizare a lectiei: activitate frontala.
B) COMPONENTA DESCRIPTIVA
| Etapele instruirii | Activitate profesor | Activitate elevi | Durata | ||||||
| I.Momentul Organiza-toric | Verific prezenta Urmaresc pregatirea elevilor pentru lectie | Raspund la intrebari Pregatesc materiale necesare | 3 min | ||||||
| II.Reactuali-zarea cunostintelor invatate anterior. Evaluare | Verific lectia anterioara cu tema: Mijloace pentru masurarea unghiurilor. Adresez intrebari frontal: - Ce se intelege prin unghi? - Care sunt unitatile de masura pentru unghiuri? - Cum se impart mijloacele pentru masurat unghiuri? - Descrieti si explicati functionarea raportorului mecanic. - Explicati cum se folosesc aparatele trigonometrice. | Raspund la intrebari | 15 min | ||||||
| III. Anuntarea subiectului lectiei | Anunt tema lectiei: Mijloace pentru masurarea fortelor. | Scriu titlu in caiet | 2 min | ||||||
| IV. Comunicarea noilor cunostinte | Se explica rolul mijloacelor pentru masurarea fortelor definind in acelasi timp fortele Forta este definita ca fiind actiunea exercitata de un corp asupra altui corp fiind o marime vectorala caracterizata prin: -marimea fortei -suportul fortei -sensul fortei -punctul de aplicatie al fortei Relatia de definire a fortei este F=m∙a In SI unitatea de masura pentru forta este Newton (N) Newton-ul este forta care, aplicata unui corp cu masa de un kilogram ii imprima o acceleratie de 1 metru pe secunda la patrat: 1N=1kg m/s2 Fortele se masoara cu aparate denumite dinamometre. Din punct de vedere constructiv dinamometrele pot fi: - cu element elastic - hidraulice - pneumatice - electro-mecanice Dinamometre cu element elastic Sunt folosite pentru masurarea fortelor precum si pentru verificarea masinilor-unelte. Elementul de baza al acestor dinamometre este elementul elastic care se deformeaza sub actiunea fortelor. Elementele elastice se executa din otel alb sau oteluri inalt aliate cu crom, nichel si molibden. Elementele elastice cele mai folosite sunt sub forma de bara, element cu arcuri, element inelar, element rombic sau element furca. Se prezinta in manual desenele cu tipurile de elemente elastice si se explica modul de functionare. Dinamometre hidraulice 
    1-cilindru 2-piston 3-manometru Principiul de functionare este similar cu cel al preselor hidraulice, adica transformarea fortei in presiune. F=Pa Dinamometre pneumatice 
    Sunt utilizate pentru masurarea fortelor care actioneaza asupra unei masini unelte. Asupra grinzii 1 actioneaza o forta P care trebuie masurata. In urma actiunii fortei grinda se deformeaza, determinand modificarea distantei dintre ea si duza amplificatorului pneumatic. Masurarea se face regland presiunea in sistemul pneumatic astfel incat sistemul sa revina la pozitia 0. Masurand variatia de presiune se poate afla forta. Dinamometre electro-mecanice Au posibilitatea sa masoare variatia rapida a fortei, au gabarit mic, siguranta in exploatare folosind multe tipuri de traductoare electrice capabile sa converteasca efectul aplicarii unei forte. 
    | Noteaza, urmaresc esplicatiile, inteleg | 20 min | ||||||
| 1-cilindru special cu membrana elastica 2- bila 3- element de prelucare a fortei 4- armatura mobila 5- armatura fixa 6- infasurari ale bobinei 7- conductoare 8- racord 9- capac | |||||||||
| V. Sistematizarea cunostintelor | Se face conversatie cu elevii despre dinamometre | Raspund la intrebari | 7 min | ||||||
| VI. Recomandari pentru studiul individiual | Se precizeaza sursele | Noteaza | 3 min | 
PROIECT DIDACTIC PENTRU TEMA PREDATA EXPERIMENTAL PRIN ACTIVITATE PE GRUPE DE ELEVI
A) COMPONENTA INTRODUCTIVA
I. Date de identificare:
Profilul/Specializarea: tehnic/tehnician mecanic intretinere si reparatii
Propunator: ing. PUSCAS IOAN
Obiectul: M3 Tehnici de masurare in domeniu
Clasa: XII D
Data: 22.01.2009.
Unitatea de invatare: Mijloace pentru masurarea marimilor mecanice
Subiectul lectiei: Mijloace pentru masurarea fortelor (dinamometru).
II. Componntele lectiei:
Tipul lectiei: insusirea de cunostinte noi
Competente:
sa inteleaga ce este o forta;
sa cunoasca unitatile de masura;
sa deosebeasca metodele de masurare;
sa stie sa foloseasca mijloacele de masurare;
Metode si procedee: conversatia, reteaua de discutie, dezbaterea, metoda mozaic.
Mijloace de invatamant: fise cu textul suport, mijloace de masurare.
Forme de organizare a lectiei: activitate in grup.
DESFASURAREA LECTIEI
1. Evocarea
Se focalizeaza atentia prin intrebari ca:
Care sunt notiunile care caracterizeaza o forta?
Ce unitati de masura pentru forte avem?
Care sunt tipurile de dinamometre?
Cum functioneaza fiecare tip de dinamometru?
2. Realizarea sensului
Se formeaza grupe de cate 4 elevi:
In fiecare grupa elevii vor primii cate o fisa de lucru astfel:
fisa 1 - notiunile care definesc fortele, unitati de masura pentru forte
fisa 2 - dinamometre cu element elastic
fisa 3 - dinamometre hidraulice si pneumatice
fisa 4 - dinamometre electromecanice
Se grupeaza apoi toti elevii cu fisa 1, respectiv cu fisa 2, fisa 3 si fisa 4. Elevii astfel grupati formeaza grupurile de studiu si studiaza materialul, discuta intre ei. Din grupurile de studiu se reunesc in grupe initiale si fiecare din cei 4 isi prezinta materialul colegilor astfel incat, in final fiecare elev a parcurs intreg materialul.
3. Reflectia
Se dezbate tema, elevii isi consolideaza cunostintele noi.
Test sociometric
A. Gandeste-te la faptul ca in clasa esti pus in situatia de a munci impreuna cu alti colegi la o tema data. Cu cine ti-ar placea sa lucrezi daca ti s-ar cere sa alegi ?
l.
B. Cu cine din clasa nu ai vrea sa lucrezi la tema data
l.
C. Daca ar fi sa se formeze echipe de lucru in clasa pentru a studia o anumita tema cine crezi ca dintre colegii tai si-ar dori sa fie in echipa cu tine ?
l.
D. Cine dintre colegi nu si-ar dori sa fie in echipa cu tine ?
l.
E. Care sunt cei mai buni prieteni ai tai in clasa
l.
F. Care sunt acei colegi cu care nu doresti sa fii prieten
l.
| Elevi | Ap | RP | CS | ISC | IAC | ||||||||||||||||
| Ac | |||||||||||||||||||||
| Rc | |||||||||||||||||||||
Matricea sociometrica a clasei XII D
Legenda si interpretarea matricei sociometrice :
Ap - alegeri primite de la colectiv, notate +;
Rp - respingeri primite de la colectiv, notate -;
Ac - alegeri exprimate individual, notate +;
Rc - respingeri exprimate individual, notate -;
Cs - coeficient sociometric a carui valoare s-a obtinut cu relatia:
Cs = Ap - Rp
Isc - indicele de simpatie a colectivului fata de individ, calculat cu relatia:
  
 
 
in care:
Ap - alegeri primite;
N - numarul elevilor din colectiv ;
c - numarul criteriilor din testul sociometric.
Iac - indicele de antipatie a colectivului fata de individ, calculat cu relatia:
 
 
 
  
in care:
Rp - respingeri primite.
Componenta grupelor de elevi
Tinand cont de coeficientul sociometric si indicii sociometrici din matricea sociometrica, grupele de elevi au urmatoarea componenta:
Grupa 1 Elevii: 4 ; 2; 6; 7
Grupa 2 Elevii: 5; 1; 3; 14
Grupa 3 Elevii 10; 8; 9; 13
Grupa 4 Elevii 15; 11; 12; 16
Aranjarea elevilor la mese pe grupe in timpul oelor de studiu a temei date este urmatoarea:
  SHAPE * MERGEFORMAT  
  Grupa 1 Grupa 2 Grupa 3 Grupa 4 CATEDRA
      
        
     
        
      
      
        
     
        
      
      
        
     
        
      
       
         
      
         
       
      
        
     
        
       
 
 
Gruparea elevilor la mese
In urma aplicarii experimentului didactic notele obtinute la testul de evaluare sunt urmatoarele:
| Rezultate | ma | Note test evaluare | mu | |||||||
| Clase | ||||||||||
| XII E | ||||||||||
| XII D | ||||||||||
Unde:
ma - media clasei la ultimele teste de evaluare inainte de experimentul didactic mu - media clasei la testul de evaluare ulterior experimentului didactic
CONCLUZII
Analizand organizarea, desfasurarea si rezultatele experimentului didactic se pot desprinde cateva concluzii:
invatarea prin activitate pe grupe necesita din partea profesorului restructurarea informatiilor stiintifice din manual prin elaborarea unor sisteme de probleme, ordonate intr-o succesiune logica in conformitate cu obiectivele fixate. Prin aceasta se creeaza conditii ca noua proble-matica sa faca parte integranta dintr-o viziune logica si generala de insusire si operare cu noile informatii;
aparenta risipa de timp ceruta de variantele indeletniciri la ora este recompensata sub raportul achizitiilor din sfera formativa, cultivarea spiritului de observatie, a gandirii active si creatoare, a deprinderii elevilor de a invata;
este necesar ca profesorul sa introduca treptat procedeul de munca diferentiat pe grupe, marind progresiv gradul de dificultate al lucrarilor efectuate de elevi, marcand justificat locul lor in planificarea semestriala;
se impune asadar o selectie judicioasa a temelor care se preteaza la activitatea in grup a elevilor;
toti beneficiaza de efectele pozitive a unei astfel de tehnici de lucru, ii activeaza chiar si pe cei mai pasivi iar in final sporeste performantele elevilor buni, mediocri si slabi;
activitatea pe grupe se poate practica la teme diferite, cu schimbarea partenerilor, astfel incat in decurs de 3 - 4 ani un elev bun poate ajunge in contact cu 14 - 18 colegi, ceea ce dezvolta mult deprinderea de a colabora;
prin aceasta forma de activitate nu numai elevii se vor cunoaste mai bine intre ei, ci si profesorul are posibilitatea de a se apropia de elevii sai;
aceasta forma de activitate poate fi conceputa si interpretata corect numai impreuna cu activitatea frontala si numai intr-o stransa unitate cu intregul sistem al instructiei si educatiei. Asocierea judicioasa a celor mai bune metode in raport cu temele si varsta elevilor constituie garantia pentru rezultatele didactice tot mai bune.
BIBLIOGRAFIE
ANEXE
Pompa de injectie
Motor D-105 A
  
  
 
 
  
  
 
 
  
  
  
 
   
         
  
   
     
   
 
  
   
   
   
 
  
   
    
  
 
 
  
 
   
 
  
   
  
Copyright © 2025 - Toate drepturile rezervate