|  | Aeronautica | Comunicatii | Constructii | Electronica | Navigatie | Pompieri | 
| Tehnica mecanica | 
in sistemele de automatizare programbile de inalt nivel tehnic.
APARATE DE MASURARE NUMERICE
1. CONSIDERATII GENERALE
Cea mai importanta trasatura a aparatelor de masurare numerice consta in faptul ca acestea sunt aparate electronice moderne, care furnizeaza rezultatul masurarii sub forma numerica. Aceste aparate s-au dezvoltat rapid in ultimele decenii, datorita progreselor microelectronicii, si in general, prezinta performante superioare aparatelor de tip analogic cu aceleasi functii la un pret de cost comparabil.
Dintre avantajele oferite de aceste aparate remarcam:
viteza de masurare mare (1 1000 masurari/s) datorita inaltului grad de automatizare a masurarii;
precizie si reproductibilitate relativ mare, datorita eliminarii erorilor de citire si a compensarii automate a celorlalte categorii de erori;
rezultatul masurarii cu aceste aparate este usor de transmis, de memorat si de prelucrat cu aparatura numerica, inclusiv de microprocesoare in cadrul unor sisteme de automatizare;
- posibilitatea integrarii lor in sisteme de automatizare moderne, cu microprocesoare.
Se disting trei categorii de aparate numerice si anume:
aparate care primesc o marime analogica relativ lent variabila pentru a o masura direct si pentru a furniza rezultatul masurarii sub forma numerica, deci o masurare numerica directa
aparate care primesc marimea de masurat sub forma periodica continua sau sub forma de tren de impulsuri, pentru a o masura si a o vizualiza, de asemenea sub forma numerica
aparate sau instalatii care primesc doua sau mai multe marimi de intrare analogice si/sau discrete pentru a determina prin calcul un anumit rezultat si pentru a furniza acest rezultat sub forma numerica, eventual insotit de anumite explicatii - masurari numerice indirecte computerizate.
Aparatele din prima categorie sunt in general aparate relativ simple destinate masurarii celor mai uzuale marimi electrice sau pentru masurarea marimilor neelectrice dupa o prealabila convertire a acestora in marimi electrice. In functie de natura marimii de masurat aceste aparate poarta aceleasi denumiri ca si aparatele de masurare de tip analogic cu singura deosebire ca au asociat si atributul 'numeric' sau 'digital'. De exemplu, voltmetrul numeric, miliampermetrul numeric s.a.m.d.
Cea mai importanta operatie care are loc in astfel de aparate este conversia analog-numerica a marimii de masurat. Aceasta se realizeaza cu ajutorul unor convertoare analog-numerice de diverse tipuri.
In figura 1. este prezentata schema bloc simplificata a unui aparat de masurare numeric din prima categorie. Marimea de masurat, furnizata de un traductor de tip analogic, TA, este aplicata la intrarea unui convertor-adaptor de intrare, CAI, sub forma unui semnal analogic. Aici, acest semnal este adaptat ca natura si marime astfel incat sa fie incadrat in limitele impuse de intrarea in convertorul analog-numeric, CAN.
La randul sau, can transpune marimea masurata de pe semnal analogic pe semnal numeric pe mai multi biti, intr-un cod numeric, de obicei - un cod binar. Pe intervalul dintre doua conversii succesive semnalul numeric este memorat (retinut) intr-un registru de memorare temporara, din componenta CAN.
Intrucat in majoritatea cazurilor beneficiarii rezultatelor masurarii sunt oamenii care prefera ca aceste rezultate sa fie date in cod zecimal, aparatele de masurare numerice sunt dotate cu un decodor binar-zecimal. Acesta poate fi realizat ca dispozitiv autonom sau poate fi incorporat in dispozitivul de afisare. Astfel, rezultatul masurarii codificat mai intai in cod binar este transpus in cod zecimal cu ajutorul unui decodor binar-zecimal, DBZ, si afisat cu ajutorul dispozitivului de afisare zecimala, DAZ (fig.1).
 
 
Fig.1. Schema bloc simplificata a unui AM numeric.
In cazul in care se doreste si inregistrarea numerica a rezultatului masurarii se foloseste un alt decodor binar-zecimal, DBZ', cuplat cu un dispozitiv de inregistrare zecimala, DIZ. Rezultatul conversiei poate fi transmis si catre un sistem de conducere cu microprocesor.
Coordonarea interactiunilor dintre elementele constituente ale aparatului de masurare este asigurata de un dispozitiv de control DC.
Prin operatia de conversie analog-numerica se face de fapt si operatia de masurare, deoarece fiecarei valori a marimii de masurat cuantificate i se atribuie un numar corespunzator de cuante exprimat intr-un cod numeric, in conformitate cu o scara de masurare. Precizia masurarii numerice este deci determinata in principal de precizia conversiei analog numerice.
Aparatele de masurare numerice din a doua categorie primesc ca semnal de masurat un semnal periodic continuu sau un tren de impulsuri si se folosesc pentru masurarea unor marimi temporale ale acestor semnale: frecventa, perioada, intervalul de timp, defazajul s.a.
In componenta acestor aparate intra convertorul adaptor de intrare CAI, un numarator de impulsuri NI, care pune in corespondenta marimea de masurat cu frecventa sau cu numarul de impulsuri dintr-un anumit interval de timp, ca masura a acesteia si registrul de memorare RM. Schema bloc simplificata a acestor aparate este prezentata in figura 2.
 
 
Fig.2. Schema bloc simplificata a unui AM numeric
pentru marimi periodice.
 Traductorul
marimii
periodice, TMP, transpune marimea de ma
Aparatele din cea de a treia categorie sunt de fapt instalatii complexe, menite sa efectueze masurari numerice directe si/sau masurari indirecte succesive si/sau simultane, care determina rezultatul pe baza unui calcul asupra marimilor direct masurate. Este vorba de diverse aparate sau instalatii in care sunt incorporate aparate de masurare directa, precum si calculatoare numerice a caror functionare este dirijata de un sistem de conducere cu microprocesoare.
APARATE NUMERICE PENTRU MASURAT
TIMP si MARIMI TEMPORALE
Numaratorul universal
Aparatele numerice cu care se masoara marimi ca frecventa, perioada, intervalul de timp, defazajul sunt in fond numaratoare de impulsuri, completate cu anumite elemente conexe in functie de marimea de masurat. In aceste aparate marimea de masurat este convertita intr-un numar, reprezentand un numar de impulsuri, determinat cu ajutorul unui numarator.
Schema bloc simplificata a unui numarator universal este prezentata in figura 3, unde distingem urmatoarele componente esentiale: blocul de intrare BI; poarta principala PP; generatorul de impulsuri GI; divizorul de frecventa al bazei de timp DFBT; blocul de numarare, memorare si afisare zecimala BNMAZ si blocul de control BC.
 
 
Fig.3. Schema bloc simplificata a unui numarator universal.
Blocul de intrare indeplineste functia de transformare a semnalului de intrare, care este un semnal periodic, intr-un tren de impulsuri cu o forma si marime dependenta de logica interna a numaratorului. Acest bloc este alcatuit dintr-un adaptor de intrare cu divizor de tensiune pentru a incadra nivelul semnalului intern in limitele admisibile, dintr-un limitator de tensiune cu diode Zener, pentru a asigura protectia blocurilor interne la supratensiuni, dintr-un convertor de impedanta, care sa permita alegerea nivelului optim de triggerare si dintr-un bistabil (trigger) Schmidt, care sa transforme semnalul astfel prelucrat intr-un tren de impulsuri dreptunghiulare.
Unul dintre cele mai importante elemente ale BI este triggerul Schmidt, a carui schema este prezentata in figura 4. Cand ui < u1 tranzistorul T2 conduce datorita polarizarii bazei lui, asigurate de divizorul RC1RRE, iar tranzitorul T1 este blocat. Caderea de tensiune pe rezistorul RE mentine aceasta stare.
 
 
Fig.4. Element basculant bistabil (trigger) Schmidt:
a) schema electrica; b) semnale de intrare si iesire; c) caracteristica statica.
Cand tensiunea ui atinge si depaseste nivelul de basculare u1, tranzitorul T1 intra in conductie iar tranzistorul T2 se blocheaza. La scaderea tensiunii ui sub nivelul bascularii inverse u2, bistabilul revine in cealalta stare. Cum intotdeauna u1>u2, datorita intarzierilor de basculare, triggerul Schmidt are o caracteristica cu neunivocitate (histerezis), latimea zonei de neunivocitate fiind Du = u1 - u2 (fig. 4, b si 4, c).
Unele numaratoare universale au doua blocuri de intrare pentru a putea efectua si masurari ale unor marimi ce exprima dependenta dintre ele: diferenta, raportul s.a.
Poarta principala este un operator SI cu doua intrari: una pentru trenul de impulsuri, iar cealalta pentru comanda inchiderii/deschiderii acesteia. Impulsurile trec prin poarta numai atunci cand intrarea de comanda este pusa pe 1 logic. Comanda poate fi directa - cu un singur semnal logic, sau poate fi facuta prin intermediul unui bistabil comandat prin doua semnale logice: unul pentru inchiderea, iar celalalt pentru deschiderea portii.
Generatorul de impulsuri GI si divizorul de frecventa al bazei de timp DFBT genereaza mai multe trenuri de impulsuri cu frecvente diferite dar cunoscute si foarte stabile in timp. Este vorba de un generator de impulsuri GI cu cristal de cuart cu frecventa de circa 10 MHz, cuplat cu un divizor de frecventa in trepte cu raportul de divizare de la 1 la 10 de la o treapta la alta, asa cum se vede in figura 5. Divizorul de frecventa este in acelasi timp si multiplicator de perioada al bazei de timp MPBT.
In majoritatea cazurilor acest ansamblu poate furniza 9 trepte de frecventa de la 10 MHz la 0,1 Hz, cu perioada de la 100 ns la 10 s, cu raport de divizare a frecventelor de la 1/1 la 1/108. Selectarea unuia dintre trenurile de impulsuri se face prin intermediul selectorului bazei de timp SBT (fig. 3).
Performantele numaratorului (precizie, stabilitate, domeniu de masurare s.a.) sunt determinate in principal de generatorul de impulsuri.
 
 
Fig.5. Schema bloc a bazei de timp a numaratorului.
Blocul de numarare, memorare si afisare zecimala este alcatuit dintr-un numarator de impulsuri NI in cod binar, alcatuit din 4-9 numaratoare binare decadale, dintr-un registru tampon RT si dintr-un dispozitiv de afisare zecimala optoelectronic DAZ, dotat cu decodificator corespunzator DBZ (fig. 6).
 
 
Fig.6. Schema blocului de numarare-memorare-afisare.
Registrul tampon retine rezultatul unui ciclu de numarare pana se incheie ciclul urmator cand rezultatul este reimprospatat, iar dispozitivul de afisare vizualizeaza in permanenta rezultatul ultimului ciclu de numarare. Afisarea se poate face cu tuburi NIXIE, cu LED-uri sau cu LCD-uri, iar rezultatul numararii din registrul tampon poate fi transferat si catre un inregistrator sau catre un calculator.
Blocul de control BC (fig. 3) asigura coordonarea activitatii tuturor componentelor sistemului in concordanta cu operatia ce se doreste a fi executata: masurarea de frecventa, de perioada, de defazaj s.a. Prin selectorul de mod de lucru SML si unele comutatoare bipozitionale se realizeaza anumite conexiuni interne care fac posibila operatia dorita
Blocul de control comanda inchiderea/deschiderea portii principale, comanda stergerea continutului numaratorului si registrului, comanda transferul continutului registrului catre afisajul optoelectronic sau catre alt destinatar, comanda avertizarea optica in caz de depasire a domeniului de masurare s.a.
Numaratoarele universale au numeroase utilizari in masurarea marimilor temporale. Dintre acestea cele mai importante sunt urmatoarele:
masurarea frecventei;
numararea (totalizarea) impulsurilor;
masurarea perioadei;
determinarea raportului dintre doua frecvente;
masurarea timpului sau intervalelor de timp;
masurarea defazajului dintre doua semnale periodice;
divizarea frecventei;
masurarea oricarei marimi convertite in frecventa
2.2. Masurarea frecventei. Frecventmetre numerice
Masurarea frecventei consta in numararea impulsurilor receptionate de numarator intr-un anumit interval de timp: o secunda, o milisecunda sau o microsecunda. Daca poarta principala se mentine deschisa o secunda, frecventa se exprima in Hz, daca poarta se mentine deschisa o milisecunda, frecventa se exprima in kHz, iar daca se mentine deschisa o microsecunda frecventa se exprima in MHz. Intervalul de timp dorit este furnizat de divizorul de frecventa al bazei de timp DFBT ca durata dintre doua impulsuri consecutive.
In cazul masurarii frecventei, numaratorul este transformat in frecventmetru prin selectarea modului de lucru FRECVENTA din cadrul blocului de control. Functionarea numaratorului ca frecventmetru rezulta si din figura 7.
Semnalul ui a carei frecventa se masoara se aplica la intrarea blocului BI. In acest bloc semnalul este transformat prin triggerare intr-un tren de impulsuri care ajunge la intrarea portii principale PP.
Din divizorul bazei de timp se preia prin intermediul selectorului SBT un semnal cu o perioada convenabila: T = 1s, T = 1ms sau cu o alta perioada T = x10-n cu n = 1,2,, 6 si x = 10 sau x = 100. Acest semnal constituie semnal de comanda a portii principale.
In cadrul procesului de masurare, poarta principala va fi deschisa pe o perioada T, timp in care impulsurile trec prin poarta si ajung la numarator, unde sunt numarate. La sfarsitul perioadei de numarare, in numarator se afla un numar n care constituie masura frecventei masurate. Din acest numar se deduce frecventa:
  .  (1)
.  (1)
Daca de exemplu, s-a ales T = 10 ms, iar N = 51 253, frecventa va fi
f 10-3= 512,53 kHz.
Numarul N este memorat temporar in registrul tampon si dupa ce va fi pus in concordanta cu baza de timp selectata va fi transformat in frecventa si afisat.

Fig.7. Folosirea numaratorului ca frecventmetru:
a) schema bloc a frecventmetrului; b) diagrama de semnale.
Este recomandabil sa se selecteze o baza de timp care sa asigure o rezolutie cat mai buna, adica sa se aleaga o perioada T care sa duca la folosirea tuturor cifrelor afisajului.
De exemplu, daca se masoara o frecventa de 1575 Hz cu baza de timp T = 1ms, frecventmetrul cu 4 cifre semnificative va afisa 0,001 MHz. Cu baza de timp T = 1 ms va afisa 1,575 kHz iar cu T = 1s va afisa 1575 Hz.
Numararea (totalizarea) impulsurilor In mod asemanator cu masurarea frecventei se realizeaza si operatia de numarare si totalizare a impulsurilor cu ajutorul unui numarator. Principala deosebire consta in modul de comanda a portii principale si anume, la totalizatorul de impulsuri aceasta nu este comandata de baza de timp, care nu mai este necesara, ci de un alt element de comanda, de exemplu un comutator.
2.3. Masurarea raportului de frecvente
Pentru determinarea raportului dintre doua frecvente, selectorul modului de lucru se fixeaza pe pozitia RAPORT (vezi fig. 3). Semnalul Ui1 avand frecventa f1 mai mare se aplica la intrarea BI, iar semnalul Ui2 avand frecventa f2 mai mica se aplica la intrarea divizorului de frecventa al bazei de timp prin intermediul unui alt bloc de intrare BI', generatorul de impulsuri fiind deconectat. Semnalul Ui2 cu frecventa f2 va comanda poarta principala prin intermediul divizorului de frecventa al bazei de timp DFBT (fig. 8).
In functie de pozitia selectorului bazei de timp, marcata cu factorul de divizare a frecventei (adica de multiplicare a perioadei cu 10n) si de perioada T2 a semnalului Ui2, baza de timp va furniza impulsuri U3 la intervale de timp.
    , (2)
 , (2)
unde n poate fi = 0,1,2 ,, 8.
 
 
Fig.8. Masurarea raportului de frecvente:
a) schema bloc a sistemului; b) diagrama de semnale
Unul dintre impulsurile bazei de timp va deschide poarta principala, care ramane deschisa o perioada egala cu T, iar urmatorul impuls o va inchide. In acest mod numaratorul va totaliza N impulsuri provenite din semnalul Ui1 aplicat la intrarea BI. Din acest numar se determina raportul frecventelor f1/f2 pe baza urmatoarelor relatii:
  , (3)
 , (3)
  (4)
 (4)
Pentru marirea preciziei de determinare a raportului frecventelor este necesar ca diferenta dintre frecventa f1 si f2 / 10n sa fie cat mai mare. Astfel, de exemplu, daca f = 500 kHz, f2 =100 kHz, iar factorul de divizare a frecventei f2 ar fi 1/1 ar rezulta o perioada de deschidere a portii principale T = T2 = 10-2 10-3s = 10-5s. In aceasta perioada prin poarta principala ar trece T f impulsuri, adica 105 = 5 impulsuri. Intrucat incertitudinea de numarare este 1 impuls rezulta ca la numararea a 5 impulsuri se poate comite o eroare de 1 impuls, adica
Daca prin selectorul bazei de timp s-ar alege pozitia corespunzatoare factorului de multiplicare a perioadei egal cu 104, atunci
  
 
In acest timp prin poarta principala trec T f impulsuri, adica 10-1.5.105 = =5.104 impulsuri, iar incertitudinea de numarare de 1 impuls fata de 5.104 impulsuri este neglijabila
Masurarea perioadei. Periodmetrul numeric
Masurarea frecventei cu metoda descrisa in paragraful precedent poate fi aplicata numai la frecvente relativ mari. In cazul frecventelor mici masurarea ar necesita un timp mare. Daca, de exemplu, s-ar cere masurarea frecventei de 100 Hz si afisarea rezultatului cu 5 cifre, numarul minim de impulsuri care ar folosi toate cele 5 ranguri zecimale ar fi N = 105. Prin urmare timpul necesar masurarii frecventei de 100 Hz ar fi T = N / f = 105/100 = 103 s, un timp inacceptabil.
Pentru a se obtine precizie si viteza de masurare mari, la masurarea frecventelor mici se recurge la masurarea perioadei T apoi, prin calcul, se deduce frecventa (f = 1/T). Modul in care se masoara perioada este prezentata in figura
Semnalul de masurat Ux este aplicat la intrarea blocului BI. Aici este transformat prin triggerare intr-un tren de impulsuri U1 de frecventa fx, care este aplicat la intrarea multiplicatorului de perioada, de unde se poate scoate un multiplu 10n de perioada Tx, adica un tren de impulsuri cu perioada T = 10nTx, in functie de pozitia selectorului bazei de timp.
La intrarea portii principale PP se aplica un tren de impulsuri cu frecventa f0 data de generatorul de impulsuri GI. Poarta va fi deschisa pe durata dintre doua impulsuri consecutive date de baza de timp si in acest fel in momentul inchiderii portii, marcat de al doilea impuls, in numarator ramane totalizat un numar N de impulsuri ca o masura a perioadei semnalului Ux:
  . (6)
. (6)
 
 
Fig. Masurarea perioadei:
a) schema bloc a sistemului; b) diagrama de semnale.
Daca frecventa f0 este mica sau daca factorul de multiplicare a perioadei Tx este 1 (n = 0), precizia de masurare ar putea lasa de dorit, mai ales la perioade Tx mici, pentru ca ar rezulta un numar N relativ mic. De aceea, se recomanda marirea frecventei f0 sau marirea factorului 10nTx, ceea ce este usor de realizat prin intermediul selectorului bazei de timp. Dar factorul de multiplicare a perioadei nu trebuie marit excesiv pentru ca ar mari timpul de masurare.
2.5. Masurarea intervalelor de timp
Un interval de timp DT se deosebeste de o perioada T prin faptul ca perioada este delimitata de doua puncte (valori) identice ale aceluiasi semnal pe cand intervalul de timp este delimitat de doua puncte diferite ale aceluiasi semnal sau de doua puncte identice, dar situate pe doua semnale diferite de aceeasi frecventa
In figura 10 este prezentata schema bloc si diagrama de semnale ale unui numarator in regim de masurare INTERVAL si DEFAZARE.
Daca se masoara intervalul de timp intre doua momente ale aceluiasi semnal se foloseste numai una dintre cele doua intrari, cu comutatorul K inchis, iar daca se masoara intervalul de timp dintre doua momente, unul raportat la un semnal, iar celalalt la alt semnal, se folosesc ambele intrari, comutatorul K fiind deschis.
 
 
Fig.10. Masurarea intervalului de timp:
a) schema bloc a sistemului; b) diagrama de semnale.
Blocurile de intrare BI1 si BI2 pot furniza impulsuri dreptunghiulare U1 si respectiv U2 pe orice nivel de triggerare al semnalelor de intrare Ui1 si Ui2, atat pe panta crescatoare +, cat si pe panta scazatoare . In figura 10,b sunt prezentate diagramele de semnal pentru cazul cand se masoara intervalul de timp dintre punctele A si B ale semnalului Ui aplicat pe ambele intrari ale aparatului.
Circuitul de pornire CP comanda prin semnalul U3 deschiderea periodica a portii PP, fie pe frontul crescator fie pe frontul scazator al semnalului U1, in functie de pozitia comutatorului de panta Kp1 (+ sau ). Circuitul de oprire CO comanda prin semnalul U4 inchiderea portii PP, fie pe frontul crescator, fie pe frontul scazator al semnalului U2, in functie de pozitia comutatorului Kp2 (+ sau ). Semnalul U4 este aplicat si la intrarea divizorului de frecventa al bazei de timp.
Intre doua impulsuri consecutive, unul de deschidere, iar celalalt de inchidere a portii, aceasta ramane deschisa permitand impulsurilor generate de GI sa ajunga la numarator unde sunt numarate. Totalizarea si memorarea numarului de impulsuri receptionate nu se face dupa fiecare ciclu de deschidere inchidere a portii, deoarece precizia de masurare ar putea lasa de dorit. Aceasta se face dupa 101, 102,,10n asemenea cicluri, in functie de factorul de multiplicare a perioadei, selectat in cadrul divizorului de frecventa
Dupa incheierea a 10i (i = 1,2,, n) cicluri de deschidere inchidere a portii, divizorul de frecventa emite un impuls, care, aplicat blocului BNMAZ, are ca efect stergerea vechiului continut al registrului si memorarea noului rezultat in registru, precum si afisarea acestuia.
Numarul mediu de impulsuri Nm receptionate de numarator pe un ciclu de masurare este Nm = N /10i (i = 1,2,, n) unde N este numarul de impulsuri receptionate pe 10i cicluri, iar intervalul de timp mediu este:
  , (7)
 , (7)
unde f0 este frecventa impulsurilor furnizate de GI.
Masurarea defazajului. Fazometre numerice
Una dintre aplicatiile curente ale numaratorului in regim de masurare a intervalului de timp o constituie masurarea defazajului dintre doua semnale periodice de aceeasi frecventa aplicate la cele doua intrari ale aparatului, cu comutatorul K deschis.
In acest caz se recomanda ca nivelul la care are loc bascularea triggerelor din blocurile de intrare sa fie zero, iar deschiderea si inchiderea portii principale sa se faca pe fronturile crescatoare ale semnalelor U1 si U2, asa cum se arata in fig. 11. In acest fel se poate masura cu mare precizie decalajul in timp DT dintre cele doua semnale.
Pentru a exprima defazajul in radiani se masoara mai intai frecventa f a semnalelor, apoi se masoara decalajul si in final se calculeaza defazajul j cu relatia:
   [rad], (8)
 [rad], (8)
unde w pf
 
 
Fig.11. Diagrama de semnale la masurarea defazajului.
2.7. Alte utilizari ale numaratoarelor
In afara aplicatiilor prezentate mai inainte, numaratoarele pot indeplini si alte functiuni speciale ca: functia de divizare a frecventei, functia de verificare a blocurilor interne.
Divizarea frecventei Un numarator poate fi folosit ca simplu divizor de frecventa utilizand numai blocul de intrare BI si divizorul de frecventa asa cum se arata in figura 12.
 
 
Fig.12. Numaratorul ca divizor de frecventa
Tensiunea cu frecventa f0 de divizat se aplica la intrarea in BI, iar semnalul cu frecventa divizata cu factorul 10i (i = 1,2,,n) se obtine la iesirea corespunzatoare factorului de divizare al divizorului de frecventa DFBT, fara ca aceasta sa fie afisata.
Verificarea bazei de timp si a BNMAZ Baza de timp si blocul de numarare, memorare si afisare BNMAZ pot fi verificate cu ajutorul generatorului de impulsuri GI conectat ca in figura 13.
 
 
Fig.13. Schema de verificare a bazei de timp.
Trenul de impulsuri dat de generator este aplicat atat la intrarea portii principale cat si la intrarea divizorului de frecventa al bazei de timp DFBT. In acest fel numarul afisat de BNMAZ ar trebui sa coincida cu factorul de divizare a frecventei 10i (i = 1,2,,6) pentru fiecare pozitie a comutatorului divizorului de frecventa
2.8. Erorile numaratoarelor
Eroarea relativa maxima a numaratoarelor in regim de masurare a frecventei insumeaza eroarea oscilatorului intern e cu eroarea de numarare eN si se evalueaza cu relatia:
  (9)
 (9)
Eroarea introdusa de oscilator este dependenta de stabilitatea frecventei f0 a acestuia. Frecventa poate varia cu temperatura si in timp, in limite de la 10-5 la 10-9 per/s, ceea ce asigura valori foarte mici pentru e
Eroarea de numarare fiind 1 impuls rezulta ca eroarea relativa de numarare produsa de BNMAZ este invers proportionala cu numarul de impulsuri receptionate de acest bloc. De aceea, pentru micsorarea acestei erori este necesar ca masurarea si afisarea sa se faca cu un numar cat mai mare de impulsuri, deci un numar cat mai apropiat de capacitatea maxima a numaratorului, alegand in mod corespunzator timpul de deschidere a portii.
Pentru a avea erori globale cat mai mici se urmareste ca eN e . Astfel daca e si daca dorim ca si eN = 0,001 %, atunci este necesar ca N >105, deci numaratorul de impulsuri trebuie sa aiba 5 ranguri zecimale. De aceea, numarul de ranguri ale numaratorului trebuie sa fie cu 2 mai mare decat exponentul negativ al erorii e . De exemplu, daca e = 10-4 % afisajul trebuie sa aibe 6 cifre zecimale.
Eroarea relativa maxima a numaratorului in regim de masurare a perioadei este exprimata de relatia:
  
 
unde e si eN au semnificatiile aratate mai inainte, iar eb este eroarea de basculare.
Eroarea de basculare apare din cauza zgomotului suprapus pe semnalul de masurat care comanda poarta principala dar si din cauza existentei unui prag de insensibilitate al circuitului formator de impulsuri. Pentru rapoarte semnal/zgomot de 4dB, eb = 0,3% daca se masoara o singura perioada si eb = 0,03/n % daca se masoara si se mediaza n perioade consecutive.
2. Cronometre si ceasuri
Caracterizare generala. Scurgerea timpului se masoara cu cronometre sau cu ceasuri. Cu cronometre se masoara intervale de timp relativ mici, dar cu precizie inalta, iar cu ceasuri se masoara intervale de timp oricat de mari.
In sistemul international S1, unitatea de masura pentru timp este secunda, dar in mod uzual se folosesc si multiplii ai acesteia: minutul, ora, ziua, saptamana s.a. precum si submultipli ai secundei.
De remarcat ca timpul este o marime ireversibila, dar care are o evolutie ciclica in sensul ca la timpul scurs se adauga mereu cate 60 secunde pentru a forma minute, noi cicluri de 60 minute pentru a forma ore, noi cicluri de 24 de ore pentru a forma zile s.a.m.d.
La baza conceptiei si realizarii oricarui aparat de masurat/marcat timpul sta un oscilator, adica un generator de oscilatii cu frecventa cat se poate de constanta. Dupa natura lor oscilatoarele pot fi:
- Oscilatoare mecanice la care oscilatiile sunt produse de un mecanism balansor cu resort spiral sau cu pendula;
- Oscilatoare electronice la care oscilatiile sunt produse de circuite electronice oscilante cu frecventa riguros constanta.
In afara de natura oscilatorului folosit ceasurile pot fi clasificate si dupa alte criterii:
Dupa forma afisajului, deosebim:
ceasuri cu afisaj analogic cu ace indicatoare;
ceasuru cu afisaj numeric.
Dupa marimea ceasului si a afisajului, deosebim:
ceasuri de mana;
ceasuri de masa;
ceasuri de perete;
ceasuri stradale s. a.
Ceasurile pot fi completate cu dispozitive de semnalizare a atingerii unui moment de timp prestabilit si cu alte elemente complementare cum ar fi marcarea succesiunii secundelor printr-un LED, afisarea datei calendaristice s.a.
Cronometre si ceasuri mecanice. Aceste aparate sunt de conceptie mai veche, dar inca se mai folosesc si in prezent. Energia mecanica necesara pentru a intretine oscilatiile este inmagazinata intr-un resort spiral care se incarca prin rotire la momente de timp cand acesta se descarca suficient de mult.
Resortul spiral este amplasat intr-o caseta circulara, danturata la exterior si are un capat fixat pe aceasta caseta iar celalalt capat - fixat de un arbore. Prin acest arbore resortul se incarca prin rotire manuala numai intr-un singur sens, iar descarcarea se face in celalalt sens prin rotirea casetei danturate. Descarcarea resortului prin arbore este impiedicata de o rozeta cu clichet, solidara cu arborele.
Miscarea unghiulara a casetei danturate in timpul descarcarii resortului se transmite catre mecanismul de indicare a orelor, catre mecanismul de indicare a minutelor si catre mecanismul de indicare a secundelor prin intermediul unui angrenaj de multiplicare a turatiei in patru trepte dupa cum urmeaza:
In decursul unui minut indicatorul secundelor se roteste o data, indicand 60 secunde, in decursul unei ore indicatorul minutelor se roteste o data, indicand 60 minute iar indicatorul orar se roteste de doua ori in decursul a 24 de ore. Altfel spus, in 12 ore indicatorul orar se roteste o data, minutarul se roteste de 12x60 ori iar secundarul se roteste de 12x60x60 ori - fig. 14. Acest raport de multiplicare a turatiei este asigurat de un multiplicator de turatie in patru trepte care poate fi realizat in diverse variante.
Viteza de rotire sincrona a intregului mecanism poate fi reglata si stabilizata cu ajutorul unui dispozitiv oscilant rezonant (balansier), situat la finele cascadei de multiplicare a turatiei. Acesta are deci rolul de a asigura oscilatii cu frecventa riguros constanta, si ajustabila.

Fig.14. Cadranul unui ceas clasic.
Cel mai uzual oscilator mecanic este alcatuit dintr-un mic volant oscilant, VO, pe arborele caruia este fixat un capat al resortului spiral, RS, celalalt capat al resortului fiind fixat intr-un punct fix dar ajustabil. Intre acest volant si ultima roata dintata speciala, RDS, a multiplicatorului de turatie se afla un cuplaj cu pinten pe arborele volanului si o furca oscilanta, FO, care prin doi pinteni face ca la fiecare basculare a volanului roata dintata sa avanseze cu un pas (dinte) - vezi fig. 15.

Fig.15. Oscilator mecanic-balansier.
Sub actiunea unui mic cuplu de rotire transmis volanului
oscilant de catre RDS prin intermediul FO se compenseaza pierderile
de energie prin frecare ale oscilatorului si astfel se asigura
mentinerea oscilatiilor cu frecventa 
La ceaasurile stationare rolul volanului basculant poate fi indeplinit de o pendula mecanica.
In afara de mecanismul pentru masurarea timpului
ceasurile mecanice au in componenta lor un mecanism cu resort spiral
pentru semnalizarea 
Cronometre si ceasuri electronice. Aceste aparate sunt de conceptie mai noua si se disting prin marea varietate si prin performante net superioare fata de aparatele mecanice, precum si prin multiplele lor utilizari in sisteme in care se masoara sau se marcheaza intervale de timp foarte scurte de ordinul micro sau nanosecundelor, dar si pe perioade oricat de mari.
La aceste aparate oscilatiile sunt generate de un circuit oscilant de inalta frecventa, de ordinul K sau Mega Hertilor, iar marcarea intervalelor de timp de ordinul secundelor, minutelor sau orelor se face pe baza divizarii frecventei prin rapoarte corespunzatoare.
Ceasurile electronice se folosesc si in structura calculatoarelor electronice si a altor echipamente secventiale sincrone pentru a marca momentele de timp de sincronizare precum si alte momente de timp la care urmeaza sa se declanseze anumite comenzi, sa se initieze anumite subrutine s. a.
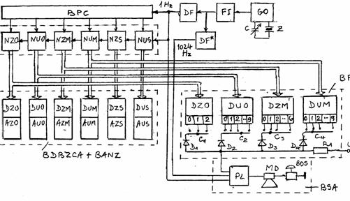
In figura 16 este prezentata schema simplificata a unui ceas electronic.

Fig.16. Schema unui ceas electronic.
Din structura acestuia fac parte urmatoarele module cu functii specifice dupa cum urmeaza:
- generatorul de oscilatii, GO, cu frecventa de ordinul kilo sau megahertilor. Acesta este in cele mai multe cazuri un rezonator stabilizat cu cristal de cuart;
- formatorul de impulsuri, FI, care transforma oscilatiile furnizate de GO intr-un tren de impulsuri, pastrand aceeasi frecventa;
- divizorul de frecventa, DF, care prin divizarea frecventei impulsurilor date de FI furnizeaza un tren de impulsuri cu frecventa mai redusa impusa de domeniul de folosire a ceasului/cronometrului. La ceasurile obisnuite aceasta frecventa este de 1 Hz dar la ceasurile din componenta dispozitivelor electronice frecventa poate fi de ordinul Mhz sau GHz. Aceasta este frecventa de baza de care depinde precizia de masurare a ceasului, deoarece impulsurile cu aceasta frecventa sunt numarate/contorizate pentru a evalua timpul scurs;
- blocul numaratoarelor ciclice de impulsuri, BNCI. La ceasurile obisnuite acesta este alcatuit din: numaratorul unitatilor de secunde, NUS, numaratorul zecilor de secunde, NZS, numaratorul unitatilor de minute, NUM, numaratorul zecilor de minute, NZM, numaratorul unitatilor de ore, NUO si din numaratorul zecilor de ore, NZO.
Toate aceste numaratoare sunt ciclice. Astfel NUS si NUM isi reiau ciclul de numarare dupa 60 secunde si respectiv - dupa 60 minute, adica dupa 60 de impulsuri receptionate de fiecare, iar NUO isi reia ciclul de masurare dupa 12 ore sau dupa 24 ore daca se doreste afisarea orelor de la 0 la 24. La incheierea unui ciclu de numarare fiecare numarator transmite cate un impuls la numaratorul de rang superior.
- blocul de initializare si corectie, BPC, serveste la initializarea ceasului si la eventuale corectii ale timpului afisat. Intr-o varianta simpla acesta este alcatuit din butoane cu comutatoare, cu ajutorul carora numaratoarele de impulsuri se pot pune pe zero sau pe alt numar de secunde, minute sau ore prin aplicare de impulsuri provenite de la DF;
- blocul decodificatoarelor binar-zecimale si de comanda a afisajului, BDBZCA. Acesta este alcatuit din decodificatoare si elemente de comanda pentru fiecare linie de afisare si anume: pentru unitati de secunde (AUS), pentru zeci de secunde (DZS) pentru unitati de minute (DUM), pentru zeci de minute (DZM), pentru unitati de ore (DUO) si pentru zeci de ore (DZO);
- blocul de afisare numerica in cod zecimal, BANZ. Acesta este alcatuit din afisajul unitatilor de secunda, AUS, afisajul zecilor de secunda, AZS, afisajul unitatilor de minut, AUM, afisajul zecilor de minute, AZM, afisajul unitatilor de ore, AUO si din afisajul zecilor de ore, AZO;
De remarcat ca daca pentru afisarea unitatilor de secunde, de minute si de ore se foloseste un afisaj decadal cu cifrele 0, 1, 2, . ,9 pentru afisarea zecilor de secunde si de minute se folosesc afisaje cu numai 6 din cele 10 cifre zecimale si anume: 0, 1, 2, . ,5 iar pentru afisarea zecilor de ore se folosesc afisaje cu numai trei cifre: 0, 1 si 2.
Daca se doreste o extindere a timpului masurat pentru a cuprinde zile, saptamani, luni sau ani schema se poate extinde spre divizarea frecventei impulsurilor iar pentru extinderea domeniului spre fractiuni de secunda schema se extinde spre multiplicarea frecventei de 1Hz, adica micsorand factorul de divizare a frecventei GI.
In prezent proiectarea si realizarea ceasurilor electronice este facilitata de faptul ca firmele din domeniu au elaborat module componente oarecum standardizate, miniaturale sub forma de circuite integrate avand functii specifice. Sortimentul acestor module este considerabil si permite sa se realizeze o mare diversitate de ceasuri.
Din nostalgie pentru ceasurile clasice cu ace indicatoare in prezent se fabrica si ceasuri electronice cu un astfel de afisaj. Ca element de baza ramane generatorul de impulsuri cu frecventa de 1Hz care marcheaza secunda iar pentru marcarea minutelor, orelor s. a. se foloseste un angrenaj de demultiplicare/divizare a turatiei indicatorului secundar.
In schema precedenta decodificarea si comanda afisarii timpului se face in paralel pentru toate dispozitivele de afisare, ceea ce implica folosirea unui mare numar de componente. O varianta de schema cu mai putine decodificatoare este prezentata in fig. 17 in care se prezinta un ceas cu afisare dinamica. In acesta decodificarea si comanda afisarii se face cu un singur dispozitiv comun prin rotatie.

Fig.17. Schema unui ceas electronic cu afisare dinamica.
In locul celor sase decodificatoare din schema precedenta se foloseste un comutator multiplexor ciclic, CMC, un decodificator binar-zecimal si de comanda a afisajului DBZCA si un comutator demultiplexor ciclic CDC.
Comanda conectarii ciclice a DBZCA la BNCI si la BANZ se face prin intermediul unui numarator ciclic de impulsuri, NCI, care primeste impulsuri cu frecventa de ordinul kilohertilor de la FI pana se umple si comanda comutarea prin intrarile de adresa ale multiplexoruluui si demultiplexorului.
Ceasurile electronice pot fi completate la
dorinta cu dispozitive de semnalizare a atingerii unui moment de timp
prestabilit/preprogramat. Schema unui astfel de ceas este prezentata in
fig.18. in care se recunoaste schema din fig. 16, completata cu un
bloc de semnalizare 
Blocul de prescriere a semnalizarii BPS este alcatuit din blocul decodificatoarelor binar-zecimale avand iesire pe 10, pe 6 si respectiv pe 3 borne si din blocul comutatoarelor de coincidenta BCC, alcatuit din comutatoarele C1, C2, C3 si C4, conectate la diodele D1, D2, D3 si D4.
Programarea momentului semnalizarii se face prin pozitionarea corespunzatoare a comutatoarelor C1÷C4 fata de iesirile decodificatoarelor de unde urmeaza sa preia semnal logic 1, corespunzator nivelului inalt de tensiune.

Fig. 18. Schema unui ceas electronic cu semnalizare.
In momentul cand toate iesirile programate sunt puse pe semnal logic 1 toate diodele D1 - D4 se inchid si in consecinta la intrarea bocului de semnalizare apare tensiunea de nivel inalt U care deschide poarta logica PL. Din acel moment prin PL trece semnalul cu frecventa acustica, intrerupt periodic cu frecventa de 1Hz, care excita un microdifuzor MD. Semnalul sonor poate fi anulat cu ajutorul unui buton cu contact, BOS, inseriat cu microdifuzorul.
VOLTMETRE NUMERICE
3.1. Caracterizare generala
Voltmetrele numerice sunt aparate moderne care au aparut si s-au dezvoltat in ultimele decenii, revolutionand tehnica masurarii prin urmatoarele atribute principale:
prin peformantele inalte si comoditatea utilizarii lor ca aparate individuale pentru masurari industriale si de laborator, efectuate de operatori umani;
- prin viteza de masurare mare;
prin posibilitatea folosirii lor eficiente si economice in cadrul unor sisteme automate numerice de achizitie de date, de masurare si de prelucrare a rezultatului masurarilor cu ajutorul calculatoarelor numerice, precum si in alte sisteme automate moderne de reglare, de semnalizare, de protectie.
Voltmetrul numeric pentru tensiuni continue, realizabil in mai multe variante, sta la baza majoritatii aparatelor de masurare numerice. El este alcatuit in esenta dintr-un compensator dotat cu convertor analog-numeric specific variantei adoptate si din elemente asemanatoare cu cele din numaratoarele universale.
Dupa modul in care se face conversia analog-numerica deosebim:
voltmetre numerice cu conversie directa
voltmetre numerice cu conversie indirecta
voltmetre numerice cu integratoare.
Voltmetrele din prima categorie transforma tensiunea continua de masurat intr-un numar care constituie o masura a acesteia, pe cand voltmetrele din a doua categorie transforma tensiunea de masurat intr-o marime intermediara, timp sau frecventa, ca apoi aceasta marime sa fie masurata si convertita intr-un numar prin mijloace numerice. Cele din categoria a treia integreaza marimea de masurat pe un anumit interval de timp, evalueaza valoarea medie pe acel interval si afiseaza rezultatul sub forma numerica
3.2. Voltmetre numerice cu aproximari succesive
Schema simplificata a unui voltmetru numeric cu aproximari succesive este prezentata in figura 19, unde distingem urmatoarele componente de baza: blocul adaptor de intrare BAI, convertorul analog- numeric CAN, blocul de decodificare binar-zecimala si afisare in cod zecimal, BDAZ. Convertorul AN are in componenta sa: comparatorul sesizor de coincidenta CSC, registrul intermediar RI, alcatuit din n bistabili, convertorul NA, CNA si blocul de comanda BC.
Tensiunea de masurat, ux, se aplica la intrarea + a comparatorului, iar la cealalta intrare se aplica o tensiune de reactie ur crescatoare in trepte din ce in ce mai mici. Aceasta tensiune de reactie se obtine de la iesirea CNA si este determinata de numarul binar aflat in registrul intermediar RI.
Obtinerea unei tensiuni ur egala cu ux se efectueaza in n pasi, constand in tot atatea comparari succesive ale celor doua tensiuni, n fiind numarul de bistabili ai registrului R. Acest numar este dependent de numarul cifrelor cu care se face afisarea in cod zecimal. Pentru patru cifre zecimale n = 14.
Compararile se fac la fel ca in cazul cantaririi cu balanta cu brate egale dispunand de un set de greutati in care greutatea imediat mai mica reprezinta jumatate din greutatea imediat mai mare.
Conform acestui procedeu se urmareste efectul cumulat al starilor bistabililor registrului pusi initial pe 1, incepand cu bistabilul asociat celui mai semnificativ rang, in felul urmator:
prima comparare se face cu bistabilul celui mai semnificativ rang B1 pus pe starea 1, ceilalti bistabili fiind pusi pe starea 0. Aceasta stare produce o tensiune de reactie Ur = UR/2. Daca ux ur se retine starea a1= 1, in caz contrar acest bistabil se pune pe 0;
   a doua comparare se face cu
bistabilul B2 pus pe
starea 1, iar ceilalti pe starea 0. Acestei stari ii corespunde o
tensiune  . Daca ux ≥ ur  se
retine a2
= 1; in caz contrar bistabilul B2
se pune pe zero.
. Daca ux ≥ ur  se
retine a2
= 1; in caz contrar bistabilul B2
se pune pe zero. 

a)

b)
Fig.1 Voltmetrul numeric cu aproximari succesive:
a) schema bloc; b) diagrama aproximarilor.
Procedura continua cu ceilalti bistabili retinand starea a = 1 sau starea a = 0 dupa cum ux ≥ ur sau ux ≤ ur. In acest fel, dupa n comparari, in registrul RI ramane memorat un numar binar care este echivalentul numeric al tensiunii ux, determinat de relatia:
 
 
Toate aceste operatii sunt coordonate de blocul BC, care la sfarsitul ciclului de n comparari comanda afisarea rezultatului prin blocul BDAZ.
Exercitiu Se descriu fazele masurarii unei tensiuni ux = 8V cu un voltmetru numeric avand afisaj cu trei cifre zecimale si tensiunea de referinta UR a CNA este UR = 10V. Pentru a folosi complet cele trei cifre zecimale, numarul de bistabili ai registrului Ri ar trebui sa fie 10, deoarece 210 = 1024 > 99
1. ur = 10/2 = 5 V; ux - ur = 8-5 = 3 > 0; a1= 1
2. ur = (5 + 5/2) V; ux - ur = 8-7,5 = 0,5 > 0; a2 = 1
3. ur = (5 + 5/2 + 5/4) V; ux - ur = - 0,75 < 0; a3 = 0
4. ur = (5 + 5/2 + 5/8) V; ux - ur = - 0,125 < 0; a4= 0
5. ur = (5 + 5/2 + 5/16) V; ux - ur = 0,188 > 0; a5 = 1
6. ur = (5 + 5/2 + 5/16 + 5/32) V; ux - ur = 0,032 > 0; a6 = 1
7. ur = (5 + 5/2 + 5/16 + 5/32 + 5/64) V; ux - ur = - 0,046 < 0; a7= 0
8. ur = (5 + 5/2 + 5/16 + 5/32 + 5/128) V; ux - ur = - 0,007 < 0; a8= 0
ur = (5 + 5/2 + 5/16 + 5/32 + 5/256) V; ux - ur = 0,013 > 0; a9 = 1
10. ur 5/16 + 5/32 + 5/256 + 5/512)V; ux - ur = 0,003 > 0; a10= 1
In acest caz cuanta cea mai mica, deci rezolutia aparatului este 5(1/512) = =0,0097v iar tensiunea afisata uxa va fi:
uxa = 10 (1/2 + 1/4 + 1/32 + 1/64 + 1/512 + 1/1024) = 7,997 V.
Voltmetrele de acest tip au o foarte larga utilizare datorita vitezei mari de masurare care poate atinge 1000 de masurari pe secunda, precum si erorilor relativ mici de ordinul 0,001% pentru afisaj cu 6 cifre zecimale. Dar ele prezinta dezavantajul slabei rejectii a perturbatiilor serie, dezavantaj ce poate fi diminuat prin folosirea unui filtru la intrare, insa aceasta se face pe seama reducerii vitezei de masurare cu circa un ordin de marime. De asemenea, marimea de masurat trebuie sa fie constanta pe durata unui ciclu de masurare. In caz contrar, trebuie sa se recurga la esantionarea si retinerea marimii de masurat pe durata ciclului de masurare.
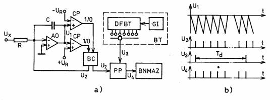
3.3. Voltmetre numerice cu conversie continua
Schema unui voltmetru cu conversie continua este prezentata in figura 20. Elementele specifice ale acestui tip de voltmetru sunt: blocul adaptor de intrare BAI, numaratorul reversibil NR, comparatorul C si sesizorul de semn SS, care in functie de diferenta dintre tensiunea de masurat Ux si tensiunea de reactie Ur generata de convertorul numeric-analogic CNA stabileste sensul de numarare a impulsurilor generate de GI.
 
 
Fig.20. Schema simplificata a voltmetrului cu conversie continua.
Cand diferenta de tensiune DU = Ux Ur este pozitiva si depaseste cuanta de rezolutie a aparatului, sesizorul de semn emite un semnal logic 1 pentru numarare in sens crescator a impulsurilor de la intrarea numaratorului, iar cand DU este negativ si depaseste cuanta de rezolutie se emite semnal logic 0 pentru numarare in sens descrescator. Cand DU este mai mic decat cuanta de rezolutie, NR nu accepta impulsuri pentru numarare si in acest fel numaratorul este in mod curent incarcat cu un numar de impulsuri care constituie masura tensiunii Ux de la intrare. Continutul NR este afisat in permanenta de catre blocul de decodificare si afisare zecimala BDAZ.
Voltmetrul cu conversie continua este un aparat relativ simplu si foarte rapid deoarece rezultatul masurarii se actualizeaza prin variatiile tensiunii de masurat; el este recomandabil pentru masurari in sisteme in care este conectat permanent.
3.4. Voltmetre numerice cu semnal rampa
La baza acestor voltmetre sta conversia tensiunii continue intr-o marime usor de cuantificat, timp sau frecventa, care se obtine prin compararea si echilibrarea tensiunii continue cu o tensiune periodica liniar variabila sub forma de dinte de fierastrau, furnizata de un generator intern. Dupa cum semnalul rampa este continuu sau in trepte deosebim:
voltmetre cu semnal rampa continuu;
voltmetre cu semnal rampa in trepte.
Voltmetre cu semnal rampa continua Schema simplificata a unui voltmetru de acest fel este prezentata in figura 21, in care se recunosc urmatoarele componente: blocul adaptor de intrare BAI, comparatorul de intrare CI, comparatorul de zero CZ, generatorul de tensiune liniar variabila (dinte de fierastrau) GTLV, generatorul de impulsuri GI, poarta principala PP, blocul de numarare, memorare, decodificare si afisare in cod zecimal BNMDAZ si blocul de control BC.
 
 
Fig.21. Voltmetrul numeric cu semnal rampa continua:
a) schema bloc; b) diagrama de semnale.
 Tensiunea
de ma
Un ciclu de masurare incepe prin aducerea numaratorului de impulsuri la zero. Cand unul dintre comparatoare constata coincidenta semnalului ur, dat de generatorul GTLV, cu ux sau cu 0, acesta emite semnalul logic pentru deschiderea portii principale si in acest fel blocul BNMDAZ incepe sa totalizeze impulsurile primite de la generatorul GI. Cand celalalt comparator constata coincidenta lui ur cu 0 sau cu ux acesta emite semnalul logic pentru inchiderea portii principale iar blocul BC comanda memorarea si afisarea numarului de impulsuri receptionate de numarator. Acest numar este o masura a tensiunii Ux, fiind proportional cu ea. Intr-adevar, in intervalul de timp Td = tx t0, prin poarta principala trec
  impulsuri,    (11)
impulsuri,    (11)
f fiind frecventa impulsurilor emise de generatorul GI.
Din figura 21 rezulta ca intervalul de timp este dat de relatia:
  (12)
  (12)
unde K este panta tensiunii crescatoare. Prin urmare
  (13)
 (13)
Prin alegerea unui raport f0/K convenabil se obtine o relatie comoda de forma:
  (14)
  (14)
Principalul avantaj al acestor aparate consta in simplitatea constructiei si costul relativ mic. Ca dezavantaje, se pot enumera cateva cauze care produc erori: instabilitatea frecventei generatorului de impulsuri, deriva comparatorului si neconstanta pantei rampei. Toate acestea produc erori relative maxime de 0,5%. De asemenea, se mai mentioneaza durata relativ mare a masurarii, sensibilitatea fata de semnale parazite si impedanta de intrare scazuta, de ordinul zecilor de kHz.
Voltmetre numerice cu rampa in trepte Schema unui astfel de aparat este prezentata in figura 22, unde recunoastem urmatoarele componente: blocul adaptor de intrare BAI, comparatorul rapid CR, generatorul de impulsuri GI, poarta principala PP, numaratorul de impulsuri NI, blocul de memorare, decodificare si afisare zecimala BMDAZ, convertorul numeric analogic CNA si blocul de comanda BC.
 
 
Fig.22. Voltmetru numeric cu semnal rampa in trepte:
a) schema bloc; b) diagrama de semnale
 Comparatorul
rapid furnizeaza
la iesire
un semnal logic 1 cand ux >
 Un
ciclu de masurare
incepe prin stergerea
continutului
numaratorului
de impulsuri si
deschiderea portii
principale, care permite impulsurilor de la generatorul GI sa
fie receptionate
de numaratorul
NI. Prin legatura
inversa
negativa
realizata
prin convertorul CNA, numarul
de impulsuri totalizate de NI se transforma intr-o tensiune 
Cand ur devine egal cu ux comparatorul emite semnal 0 si poarta se inchide. In momentul urmator blocul BC comanda transferul numarului din NI in BMAZ, unde este memorat si afisat.
Numarul N afisat reprezinta numarul de cuante elementare Du ale CNA care exprima echivalentul tensiunii ux, adica ux = NDu. Daca domeniul de masurare al voltmetrului Umax este cuantificat in 10n cuante de Umax / 10n v/cuanta, rezulta ca
  . (15)
 . (15)
Voltmetrele de acest tip au avantajul ca precizia lor este determinata in principal numai de precizia sursei de referinta uR a convertorului CNA si de precizia acestuia, si nu depinde de stabilitatea generatorului GI, aceasta din urma afectand numai durata masurarii. Ele prezinta insa dezavantajul unui timp de masurare relativ mare, precum si o slaba rejectie a perturbatiilor serie, deoarece se masoara valoarea instantanee a tensiunii ux in momentul bascularii comparatorului.
Voltmetre numerice cu integratoare
Integrarea pe o anumita durata a tensiunii de intrare si evaluarea mediei pe acea durata constituie o solutie eficace pentru rejectia perturbatiilor serie si de marire a preciziei masurarii. Specific pentru aparatele care folosesc aceasta tehnica este existenta in componenta lor a unui integrator.
Exista mai multe tipuri de aparate de acest fel, dintre care se remarca
voltmetrele cu integrare si conversie tensiune-frecventa
voltmetre cu integrare dubla panta
voltmetre cu integrare multipla panta
voltmetre potentiometrice cu integrare s.a.
Voltmetre cu integrare si conversie tensiune-frecventa Schema simpli-ficata a unui astfel de voltmetru este prezentata in figura 23. Acest aparat are in componenta lui un integrator alcatuit dintr-un amplificator operational, AO, cu reactie prin condensatorul C, doua comparatoare CP, care emit un semnal logic 1 cand cele doua marimi de intrare sunt egale si de semn opus, un generator de impulsuri GI, cuplat cu un divizor de frecventa DFBT, o poarta PP, un bloc de numarare, memorare, decodificare si de afisare a impulsurilor in cod zecimal BNMDAZ si un bloc de comanda BC.
Integratorul genereaza o tensiune liniar variabila u proportionala cu tensiunea de masurat ux. Cu aceasta tensiune u1 se incarca condensatorul C, dupa legea:
  . (16)
 . (16)
Aceasta tensiune se compara intr-unul din comparatoarele CP, cu o tensiune de referinta uR sau +uR dupa cum tensiunea de masurat ux este pozitiva sau negativa
 
 
Fig.23. Voltmetru cu conversie tensiune-frecventa:
a) schema bloc; b) diagrama de semnale
 In
ambele cazuri, atat timp cat u1< 
  .  (17)
 .  (17)
Pentru masurarea acestei frecvente se foloseste un frecventmetru alcatuit din baza de timp BT, formata din generatorul de impulsuri GI si divizorul de frecventa DFBT, din poarta principala PP si din blocul de numarare, memorare si afisare in cod zecimal BNMAZ.
Prin selectorul bazei de timp se alege o perioada de Td = 10k s (k = 0, 1, n), marcata de doua impulsuri consecutive. Un impuls deschide poarta PP, iar urmatorul impuls o inchide si in acest fel, intr-o perioada Td, prin poarta trece un numar N de impulsuri generate de grupul integrator-comparator. Acest numar constituie masura tensiunii ux, deoarece
  . (18)
 . (18)
Prin alegerea corespunzatoare a valorilor pentru Td, R, C si uR, astfel incat Td/CRuR = 10k, obtinem:
  (19)
  (19)
care faciliteaza afisarea zecimala a tensiunii ux.
Precizia acestor aparate este determinata de precizia bazei de timp, care in general este buna, dar si de constanta valorilor R, C si uR care nu se situeaza la inaltimea performatelor bazei de timp. De aceea, erorile relative de masurare nu pot fi coborate sub 0,05%, iar viteza de masurare nu poate depasi 15 masurari/s.
Voltmetre cu integrare dubla panta In voltmetrele de acest tip tensiunea de masurat este convertita in marime interval de timp, care este masurata cu mijloace numerice. Schema simplificata a unui astfel de aparat este prezentata in figura 24, unde se recunosc elemente intalnite si in schemele precedente: un integrator I, un comparator CP, un generator de impulsuri GI, un numarator de impusuri reversibil NIR, un bloc de memorare, decodificare si afisare zecimala BMDAZ, poarta logica PL si o unitate de comanda UC.
La baza functionarii acestui tip de voltmetru sta principiul masurarii timpului de descarcare a unui condensator care se incarca sub efectul aplicarii tensiunii de masurat pe durata unui interval de timp predeterminat, Ti.
Acest timp se alege in functie de numarul de cifre cu care se face afisarea rezultatului masurarii si de frecventa f0 a impulsurilor, generate de GI. El se alege astfel incat la tensiunea maxima de masurat Uxm numarul de impulsuri receptionate de NIR sa fie egal cu capacitatea de numarare a acestuia. De exemplu, daca afisarea se face cu cinci cifre zecimale, iar GI emite impulsuri cu frecventa f0 = 1 MHz, atunci Ti = 105 / 106 = 0,1 s.

Fig.24. Voltmetru numeric cu integrare dubla panta
a) schema bloc; b) diagrama de semnale.
Un ciclu de masurare are doua faze si incepe prin initializarea la zero a sarcinii condensatorului prin inchiderea intrerupatorului K2, trecerea comutatorului K1 pe ux si setarea NIR pe un numar de impulsuri corespunzator intervalului de timp Ti (N = Tif0), numar de la care NIR va incepe sa scada impulsurile aplicate la intrare.
Prima faza este faza de incarcare a condensatorului pe durata de timp Ti intrerupatorul K2 fiind deschis. In aceasta faza integratorul furnizeaza semnal crescator la iesire si totodata acest semnal deschide poarta PL prin care GI trimite impulsuri catre NIR, unde acestea se scad din numarul setat pana cand NIR se goleste.
In faza de incarcare semnalul u1 creste conform relatiei:
  (20)
  (20)
iar la sfarsitul fazei capata o valoare proportionala cu ux.
A doua faza este cea de descarcare a condensatorului, care incepe in momentul cand continutul NIR devine zero, dupa care incepe sa numere impulsurile prin adaugare pe toata perioada de descarcare Td, cat condensatorul se descarca cu un curent constant.
In aceasta faza tensiunea u1 scade conform relatiei:
  (21)
 (21)
iar la sfarsitul acestei etape devine nula si poarta PL se inchide. Din aceasta conditie rezulta:
  . (22)
 . (22)
Numarul de impulsuri receptionate de NIR in faza a doua este:
 ,  (23)
 ,  (23)
si constuie masura numerica a tensiunii ux. Acest numar N este transpus din cod binar in cod zecimal si afisat in acest cod cu ajutorul BMDAZ.
Unitatea de control UC coordoneaza operatiile interne efectuate in cele doua faze si asigura reimprospatarea rezultatului masurarii la fiecare nou ciclu de masurare.
Prin alegerea corespunzatoare a marimilor Ti, f0 si uR, se poate stabili o relatie convenabila pentru afisaj sub forma:
  (24)
  (24)
4. VOLTMETRE PENTRU TENSIUNI ALTERNATIVE
Masurarea tensiunii alternative cu voltmetre numerice este posibila pe urmatoarele cai:
prin convertirea tensiunii alternative de masurat in tensiune continua cu un convertor corespunzator si masurarea tensiunii astfel obtinute cu un voltmetru numeric;
prin intermediul unor voltmetre numerice speciale.
Structura si functionarea convertoarelor de tensiune alternativa in tensiune continua sunt determinate de marimea ce intereseaza, care poate fi tensiune medie, tensiune efectiva sau tensiune de varf, si de principiul ce sta la baza conversiei.
Voltmetre pentru tensiuni medii
Pentru masurarea valorii medii a unei tensiuni alternative se recurge la redresarea tensiunii alternative si la masurarea tensiunii cvasicontinue astfel obtinute. Redresarea nu se face insa cu redresoare serie, ci cu diode redresoare pe circuitul de reactie al unui amplificator operational, deoarece redresoarele serie ar introduce neliniaritati in dependenta tensiune continua-tensiune alternativa, mai ales la valori mici ale tensiunii. Daca la voltmetrele de tip analogic neliniaritatile se reflecta in gradarea neuniforma a scalei, la voltmetrele numerice acest lucru nu este posibil din cauza dependentei liniare dintre tensiunea continua si afisajul numeric.
In figura 25 este prezentata schema unui voltmetru de tensiune medie bazat pe detectia sincrona. Tensiunea alternativa ux se aplica la intrarea inversoare a amplificatorului operational AO, iar tensiunea medie um se preia de pe legatura de reactie. Aceasta tensiune este filtrata de un filtru trece jos FTJ si este masurata cu un voltmetru numeric de tensiune continua VNTC.
 
 
Fig.25. Voltmetru pentru ma
Avand in vedere ca amplificatorul AO are impedanta de intrare foarte mare, rezulta ca ix= ir si in consecinta
  (25)
 (25)
Aplicand teorema a doua a lui Kirchoff asupra buclei de reactie rezulta
  (26)
 (26)
Se observa ca um nu depinde de rezistenta diodelor Rd, iar abaterile de la liniaritate sunt nesemnificative pentru valori mari ale factorului de amplificare ale AO.
4.2. Voltmetre pentru tensiuni efective
Valoarea efectiva a unei tensiuni alternative se defineste ca tensiunea care produce acelasi efect termoelectric ca si o tensiune continua de aceeasi valoare. Pe aceasta idee este conceput convertorul tensiune alternativa-tensiune continua din figura 26, care se conecteaza la intrarea unui voltmetru numeric de tensiune continua.
 
 
Fig.26. Convertor tensiune alternativa-tensiune continua.
Convertorul are in componenta lui doua subansamble integrate R1T1 si R2T2 alcatuite din rezistoarele de incalzire R si tranzistoarele T identice, montate in opozitie. Rezistorul R1 este conectat la sursa de tensiune alternativa ux, iar rezistorul R2 este alimentat cu o tensiune ue obtinuta la iesirea amplificatorului operational AO.
In montajul din figura 26 cele doua tensiuni se autoechilibreaza datorita efectelor termoelectrice ale curentilor din cele doua rezistoare. Daca de exemplu tensiunea ux creste, rezistorul R1 va incalzi tranzistorul T1 si astfel va duce la scaderea tensiunii pe colectorul acestuia. Aceasta tensiune scazuta aplicata la intrarea inversoare a amplificatorului AO va duce la cresterea tensiunii continue ue, dar nu oricat de mult deoarece rezistorul R2 va incalzi si el tranzistorul T2 reducand tensiunea lui de colector, care, aplicata la intrarea neinversoare a AO, va duce la echilibrarea efectelor termoelectrice din cele doua subansamble.
In sistemul descris mai inainte tensiunea continua ue urmareste evolutia valorii efective a tensiunii masurate ux cu o anumita inertie specifica sistemelor termice. Tensiunea ue se masoara cu un voltmetru de tensiune continua.
5. MULTIMETRE NUMERICE
Structura generala
Urmarind o folosire cat mai eficienta a cat mai multor componente comune pentru masurarea mai multor marimi electrice, fabricantii de aparatura de masurare au realizat aparate numerice cu functii multiple, numite multimetre.
Aceste aparate au in componenta lor un voltmetru numeric pentru tensiuni continui VNTC si doua sau mai multe convertoare de intrare si pentru alte marimi: tensiune alternativa (medie, efectiva, de varf), curent continuu, curent alternativ, rezistenta electrica s.a. Un astfel de aparat este schematizat in figura 27.
 
 
Fig.27. Schema bloc simplificata a unui multimetru numeric.
Multimetrele de conceptie mai veche sunt prevazute cu comutatoare pentru selectia marimii de intrare de masurat si a domeniului de masurare astfel incat marimea de masurat selectata manual sa fie convertita in tensiune standard acceptata de voltmetrul numeric.
Multimetrele de conceptie mai noua sunt prevazute cu un bloc de control, BC, care coordoneaza actiunile convertoarelor de intrare cu actiunile convertoarelor de intrare cu actiunile voltmetrului asa incat sa se realizeze automat masurarea dorita cu rezolutia optima. De asemenea, prin BC pot fi realizate automat: calibrarea mutimetrului, semnalizarea depasirii domeniului de masurare, disfunctionalitati ale aparatului s.a.
5.2. Convertor curent - tensiune
Masurarea curentului electric se poate face prin intermediul voltmetrelor de tensiune continua care au la intrare un convertor curent-tensiune continua sau prin intermediul unor echipamente de conversie directa curent-cod numeric.
Cele mai uzuale ampermetre numerice sunt cele alcatuite din voltmetre numerice de tensiune continua prevazute la intrare cu convertor curent-tensiune sub forma unor sunturi multiple. Unul dintre aceste sunturi este prezentat in figura 28.
Caderea de tensiune pe sunt ux, care constituie masura curentului ix, se masoara cu voltmetrul de tensiune continua VNTC. Punctul dintre partea intreaga si partea fractionara a numarului afisat de VNTC este deplasat automat odata cu deplasarea selectorului de domeniu.
 
 
Fig.28. Sunt multiplu - convertor curent-tensiune.
Intrarea este protejata la suprasarcina prin diodele D1 si D2 care intra in conductie cand diferenta de tensiune la borne depaseste o valoare critica: se cruta astfel aparatul de suprasarcina, dar se arde siguranta fuzibila ori se declanseaza un releu de suprasarcina
Precizia ampermetrelor numerice este mai mica decat precizia voltmetrelor de tensiune continua. Eroarea relativa maxima este de aproximativ 0,1% pentru c.c. si aproximativ 0,3% pentru c.a.
5.3. Convertoare rezistenta - tensiune
In majoritatea cazurilor ohmetrele numerice sunt alcatuite dintr-un voltmetru de tensiune continua cuplat la intrare cu un convertor rezistenta-tensiune continua
In figura 29,a se prezinta schema unui convertor rezistenta-tensiune continua alcatuit dintr-un amplificator operational AO cu reactie prin rezistenta R0.
Rezistenta de masurat Rx se introduce in circuitul de intrare alimentat cu un curent constant i dat de o sursa corespunzatoare. Caderea de tensiune pe rezistenta Rx, adica ux = I Rx, este amplificata si produce la iesirea convertorului o tensiune:
  , (27)
 , (27)
care se masoara cu voltmetru de tensiune continua
Alegand in mod corespunzator valori pentru R0, R1 si i se pot stabili diverse domenii de masurare, precum si relatii de dependenta comode intre Rx si ue.
Cu convertorul din figura 29,a se pot masura rezistente mai mici decat rezistenta de intrare a amplificatorului AO, adica Rx < 1 MW. Pentru a masura rezistente mai mari de aproximativ 1 MW se foloseste un convertor ca cel din figura 29,b, in care rezistenta de masurat se introduce in circuitul de reactie al amplificatorului. Alimentarea circuitului de intrare se face de la o sursa de tensiune constanta, ua=const., care asigura si un curent de intrare constant.
 
 
Fig.2 Convertoare rezistenta tensiune continua:
a) cu sursa de curent constant; b) cu sursa de tensiune constanta
Pentru a realiza trei domenii de masurare, circuitul de intrare este prevazut cu un comutator cu trei pozitii: una pentru o rezistenta Ri = R0, una pentru o rezistenta Ri = 10R0 si una pentru o rezistenta Ri =100 R0.
Deoarece rezistenta de intrare a amplificatorului operational este foarte mare, curentul de intrare i1 este practic egal cu cel de reactie ir, adica
  (28)
  (28)
de unde deducem ca
  (29)
 (29)
Pentru cele trei pozitii ale comutatorului rezulta valori ale tensiunilor de iesire care pentru aceleasi valori ale rezistentei Rx difera intre ele in raportul 1/10, 1/100.
Erorile ohmetrelor isi au originea in neconstanta tensiunii si a curentului de intrare, in deriva amplificatorului, in variatia rezistentelor convertorului precum si in sursele de erori ale voltmetrelor de tensiune continua. Insumate, erorile relative maxime pot fi de 0,01%
6. APARATE DE MASURARE
ECHIPATE CU MICROPROCESOARE
Caracterizare generala
Una dintre cele mai importante trasaturi ale aparatelor de masurare numerice, indeosebi ale celor ce au aparut relativ recent, o constituie existenta in structura lor a unuia sau mai multor microprocesoare si echipamente periferice care alcatuiesc un calculator dedicat. Folosirea acestor echipamente a facut posibila realizarea de aparate de masurat programabile, independente sau integrate intr-un sistem automat evoluat.
Un astfel de sistem poate fi programat si folosit atat pentru a realiza operatii logice si aritmetice, legate direct de masurare, cat si pentru a realiza operatii auxiliare vizand coordonarea si automatizarea functionarii elementelor componente ale ansamblului precum si pentru a realiza comunicatia cu alte componente ale sistemului din care face parte.
Pentru a indeplini functia de masurare dorita, in interiorul acestuia se efectueaza o multime de operatii. Acestea pot fi:
- operatii de baza, specifice tipului de aparat de masurare folosit, fara de care masurarea nu ar fi posibila. De exemplu, transpunerea marimii de masurat pe semnal masurabil cu ajutorul traductorului, compararea acestui semnal cu semnale etalon, asociate unei scari de masurare s.a.m.d.
- operatii auxiliare, care pot fi executate de utilizatorul aparatului de masurare, dar mai ales de catre dispozitive auxiliare menite sa faciliteze, sa accelereze si in general sa imbunatateasca performantele masurarii.
In ultimile decenii ponderea operatiilor auxiliare a crescut substantial, asa incat la unele aparate de masurare multimetrice aceasta a devenit preponderenta, mai ales la AM dotate cu microprocesoare. Microprocesoarele, impreuna cu alte elemente conexe (memorii, tastatura, display etc.) sunt cele mai evaluate dispozitive care pot indeplini o multitudine de functii.
In cadrul unui aparat de masurare microprocesoarele pot efectua una sau mai multe din urmatoarele tipuri de operatii:
prelucrarea numerica a semnalelor primare in vederea obtinerii rezultatului masurarii prin operatii ca: amplificarea, atenuarea, conversia/exprimarea rezultatului masurarii in unitati de masura ale marimii masurate (debit, temperatura etc.), calcule de valori medii, comparari cu valori limita, liniarizarea caracteristicilor intrare - iesire s.a.;
executarea functiilor de comanda asupra componentelor interne ale aparatelor de masurare cum ar fi: comanda afisarii/inregistrarii rezultatului masurarii, comanda conversiilor interne ale semnalelor prelucrate, autotestarea functionarii corecte si afisarea codificata a cauzelor eventualelor defectiuni, realizarea functiilor de interfata cu utilizatorul si cu alte sisteme s.a.;
autocalibrarea aparatului de masurare si corectia automata a influentei factorilor perturbatori asupra rezultatului masurarilor;
comunicatia cu alte elemente ale sistemului in care este integrat aparatul de masurare s.a.
Efectele cele mai semnificative ale folosirii microprocesoarelor sunt urmatoarele:
marirea gradului de automatizare in functionarea aparatelor si sistemelor in care sunt integrate, precum si marirea versatilitatii acestora;
marirea preciziei si vitezei de masurare;
reducerea volumului, a greutatii si a numarului de componente ale echipamentelor prin folosirea unor echipamente electronice sub forma de circuite integrate la scara foarte larga, caracterizate prin dimensiuni si consumuri de energie foarte mici, dar cu performante superioare;
raportul pret / performante net superior fata de aparatura clasica;
facilizarea comunicatiei cu elementele unui sistem de conducere cu calculatoare intr-o structura complexa, ierarhizata si distribuita
furnizarea rezultatului masurarii intr-o forma atractiva, nu numai prin numere, ci si prin mesaje explicative in limbajul utilizatorului.
Prezentarea lor depaseste cadrul acestei lucrari. Totusi, pentru exemplificare vom prezenta numai cateva dintre ele.
O structura simplificata a unui aparat de masurare cu microprocesor este prezentata in figura 30. Pe langa componentele cu functii de baza precum blocul adaptor de intrare BAI, convertorul analog numeric CAN si blocul de decodificare si afisare zecimala BDAZ, intalnite la aparatele de masurare traditionale, aparatul mai contine si componente specifice tehnicii numerice programabile cum sunt: dispozitivul de comanda cu microprocesor DCMP sau cum se mai numeste controllerul, echipamente de interfata cu utilizatorul EIU, panoul de operare cu tastatura si display POTD si echipamente de interfata cu alte aparate programabile EIAP, conectate cu magistrala externa ME, precum si modulul de memorare a programelor si a datelor MM.

Fig. 30. Structura simplificata a unui aparat de masurare cu DCM.
In aceasta structura microprocesorul, care este cel mai important element al dispozitivului DCMP, indeplineste rolul de coordonator al tuturor operatiilor legate de prelucrarea si transferul de date spre si din aparatul de masurare pe baza unui program rezident in memoria ROM sau EPROM a controllerului.
In figura 31 sunt prezentate principalele secvente de lucru ale unui AM echipat cu un microprocesor si cu perifericele necesare.
In functie de sarcinile de indeplinit, de volumul si complexitatea prelucrarii datelor, precum si de viteza cu care se doreste a fi efectuate toate aceste operatii, aparatele de masurare/analiza pot fi echipate cu un singur microprocesor sau cu mai multe microprocesoare.
In figura 32 este prezentata structura unui multimetru numeric dotat cu un singur microprocesor. Acest microprocesor coordoneaza atat operatiile interne ale multimetrului cat si operatiile de comunicatie cu alte componente ale sistemului in care este integrat.
Acest aparat este alcatuit din mai multe blocuri componente, comandate de microprocesor, care comunica intre ele prin intermediul a doua magistrale analogice MA1 si MA2 si a doua magistrale numerice MN1 si MN2.
Primele patru blocuri: BCTC, BCTATC, BCRT si BCCT au rolul de a conditiona si/sau converti marimea de intrare de masurat: tensiune continua Uc, tensiune alternativa Ua, rezistenta R si curentul I, intr-o tensiune prestabilita, acceptata de intrarea in CAN. Toate aceste blocuri au masa comuna si in orice moment de timp numai unul din ele este activ, celelalte fiind izolate, in asteptare.

Fig. 31. Principalele secvente de lucru ale unui DCM.
Comanda functionarii automate a acestor blocuri ca si comanda functionarii CAN este asigurata de catre microprocesor, care in functie de optiunile utilizatorului, introduse prin panoul de operare cu tastatura, POT, lanseaza comenzi codificate prin magistralele numerice catre blocurile vizate.
 
Fig.32. Un model de multimetru numeric cu microprocesor.
Enumerati principalele avantaje ale aparatelor de masurare numerice.
Enumerati operatiile de baza din cadrul aparatelor de masurare numerice.
Prezentati si comentati structura de baza a unui numarator universal.
Ce este si la ce foloseste baza de timp a numaratoarelor universale?
Ce marimi pot fi masurate cu numaratorul universal?
Comentati schema unui numarator universal pentru masurat frecventa.
Definiti unitatea de masura a timpului.
Pe ce principiu functioneaza ceasurile mecanice?
Pe ce principiu functioneaza ceasurile electronice?
Enumerati principalele parti componente ale ceasurilor electronice si functiile acestora.
Ce functii suplimentare/auxiliare pot indeplini ceasurile?
Enumerati principalele avantaje ale voltmetrelor numerice.
Comentati structura si functionarea unui voltmetru numeric cu aproximari succesive.
Comentati structura si functionarea unui voltmetru numeric cu semnal etalon rampa.
Comentati structura si functionarea unui voltmetru numeric cu integrator dubla panta.
Enumerati functiile ce pot fi indeplinite de microprocesoare incorporate in structura aparatelor de masurare.
Copyright © 2025 - Toate drepturile rezervate