![]() | Alimentatie | Asistenta sociala | Frumusete | Medicina | Medicina veterinara | Retete |
Fabricarea alcoolului din melasa se desfasoara dupa numeroase scheme tehnologice. Una din aceste scheme tehnologice se prezinta in continuare.





Receptie
![]()
Depozitare Multiplicare in
![]()
laborator
Transport
![]()
Cantarire Multiplicare in
sectia
de
culturi
pure
![]()
![]()
Pregatire
melasa
![]()
Prefermentare
![]()
![]()
![]()
![]()
![]()
Fermentare
![]()
Distilare


![]()
![]()
![]()
Rafinare
Apa de luter ULEI DE FUZEL ALCOOL TEHNIC BORHOT CO2

Obtinerea plamezilor fermentate din melasa cuprinde trei etape principale:
pregatirea melasei pentru fermentare;
pregatirea drojdiei pentru fermentare;
fermentarea plamezii principale.
Receptia melasei consta in verificarea greutatii melasei inscrise in actul de transport de catre fabrica de zahar furnizoare.
Prin receptia calitativa se urmareste asigurarea aprovizionarii fabricii cu melasa de buna calitate. Principalele analize la care este supusa melasa la receptie sunt urmatoarele: aspectul, mirosul, consistenta, culoarea, pH, continutul de substanta uscata, densitatea, continutul de zahar total si zahar invertit, aciditatea volatila, nitritii si numarul de microorganisme dintr-un gram de melasa.
Pentru reglementarea modului de plata al melasei s-a stabilit un nivel de referinta al continutului de zahar. Astfel, pretul unei tone de melasa este fixat pentru un continut de referinta de 50% zaharoza.
Depozitarea melasei se realizeaza in rezervoare metalice de capacitate cuprinsa intre 500÷2000 tone. Pentru a mari fluiditatea melasei se utilizeaza abur, atat pentru descarcarea din cisterne, cat si pentru alimentarea fabricii cu melasa din rezervoarele de depozitare. Din jumatate in jumatate de metru, pe toata inaltimea, rezervorul de depozitare este prevazut cu robinete pentru luarea probelor de melasa, probe care se preleveaza decadal.
In timpul depozitarii, in masa de melasa pot avea loc fenomene de degradare, datorita unor procese chimice si biochimice. Intensitatea cu care se produc aceste procese depinde, pe de o parte, de gradul de contaminare microbiana si de compozitia melasei, iar pe de alta parte de conditiile de depozitare.
In cazul depozitarii indelungate a melasei, datorita proceselor biochimice care au loc, apar urmatoarele fenomene:
scaderea continutului in substanta uscata si a cantitatii de zahar din melasa;
cresterea aciditatii si a cantitatii de zahar invertit.
Aceste fenomene sunt inerente, chiar si in cazul melaselor normale, care la o depozitare in conditii corespunzatoare, dupa o perioada de trei luni, pierd circa 0,5% din masa initiala.
Pentru prevenirea pierderilor anormale, in timpul pastrarii melasei, trebuie sa se respecte urmatoarele conditii de depozitare:
in rezervorul de depozitare trebuie sa se introduca numai melasa de calitate corespunzatoare;
melasa trebuie sa fie depozitata in rezervoare inchise, curatate si dezinfectate;
trebuie sa se evite diluarea melasei cu apa provenita din precipitatii, deoarece la o concentratie scazuta in substanta uscata (sub 700Bx) incep fenomenele de fermentatie;
in timpul lunilor cu temperatura ridicata trebuie sa se urmareasca temperatura in rezervor, astfel incat aceasta sa nu depaseasca 400C;
laboratorul fabricii trebuie sa efectueze decadal controlul temperaturii, controlul fizico-chimic si lunar controlul microbiologic al melasei.
Depozitarea melasei. Melasa se depoziteaza in rezervoare metalice de capacitate cuprinsa intre 500÷2000 tone.
In figura 2 este redata schema unei instalatii de descarcare si depozitare a melasei. Melasa din cisterna 1 este incalzita cu abur direct prin conducta de abur 2. Cand melasa a devenit suficient de fluida, se deschide ventilul de pe racordul de golire Prin conducta 5, melasa ajunge in rezervorul de descarcare 6, care este amplasat sub nivelul solului.
Pompa 7, care poate fi cu roti dintate sau cu piston, absoarbe melasa din rezervorul 6 si, prin conducta 8, o refuleaza pe la partea superioara, in rezervorul de depozitare 9. Melasa este scoasa din rezervorul de depozitare prin conducta 10 si, cu aceeasi pompa 7 este recirculata sau prin racordul 11 este pompata in rezervorul din fabrica.
In timp de iarna, cand vascozitatea melasei este mare, pentru a usura scurgerea acesteia din rezervorul de depozitare se incalzeste cu abur indirect, prin serpentina 12, montata in dreptul orificiului de golire. Rezervorul de descarcare are capacitatea de 35÷40 m3, pentru a asigura golirea completa a doua cisterne de melasa.
La inceputul campaniei, inainte de introducerea melasei, rezervorul trebuie spalat si dezinfectat.

Fig. 2. Schema instalatiei de descarcare a melasei
In tot timpul depozitarii melasei, capacul 13 de la partea superioara a rezervorului trebuie sa fie inchis, pentru a nu permite patrunderea apei din precipitatii in melasa.
Pentru masurarea volumului de melasa, rezervorul de depozitare este prevazut cu o rigla gradata 14, montata vertical in exterior. Pe aceasta gliseaza un cursor indicator 15, care este pus in legatura printr-un cablu multifilar cu plutitorul 16.
Rigla gradata este marcata in centimetri, incepand de la partea superioara spre baza rezervorului. Cand rezervorul de depozitare este plin, cursorul 15 se gaseste la baza rezervorului.
Din jumatate in jumatate de metru, pe toata inaltimea, rezervorul de depozitare este prevazut cu robinete pentru luarea probelor de melasa.
1. Pregatirea melasei in vederea fermentatiei
Pregatirea melasei in vederea fermentatiei cuprinde urmatoarele operatii necesare pentru transformarea melasei intr-un mediu fermentescibil de catre drojdie:
diluarea;
neutralizarea si acidularea;
adaugarea substantelor nutritive;
limpezirea melasei. Schematic instalatia de pregatire a melasei pentru fermentatie se prezinta ca in figura
Din rezervorul de depozitare exterior, melasa este pompata in rezervorul tampon 1, amplasat la nivelul cel mai de sus al sectiei. Melasa trece in continuare prin curgere libera in rezervorul 2 montat pe cantarul 3 pentru stabilirea cantitatii de melasa prelucrata. De aici se separa melasa pentru prefermentare, care este diluata, acidulata, corijata cu substante nutritive si limpezita in vasele 4 si 5 si melasa pentru fermentare care este diluata in vasele 6 si 7 si apoi trece direct la fermentare fara alte operatii pregatitoare.

1.1. Diluarea melasei
Melasa ca atare este foarte vascoasa si are un continut ridicat de zahar. In aceste conditii, drojdiile nu pot transforma zaharul in alcool si dioxid de carbon. Pentru a realiza concentratia optima de zahar pentru drojdii si pentru a mari fluiditatea melasei, aceasta se dilueaza cu apa potabila.
De obicei, in fabricile de alcool de melasa se lucreaza cu doua plamezi:
plamada pentru prefermentare de 12÷160Bllg;
plamada pentru fermentare de 30÷340Bllg.
In practica, melasa pentru prefermentare si pentru fermentare se dilueaza mai intai la circa 600Bllg in vasele 4 si respectiv 6 prevazute cu un racord pentru apa de diluare si cu un barbotor 8 prin care se introduce aer comprimat pentru omogenizare sau abur pentru sterilizare.
Inainte de melasa se introduce in vase apa in cantitatea necesara pentru a se ajunge la 600Bllg si apoi se introduce melasa sub aerare pentru o amestecare cat mai buna cu apa.
In vasul 4 destinat melasei pentru prefermentare se face in continuare acidularea melasei cu acid sulfuric, adaugarea de substante nutritive, dupa care melasa este trecuta in vasul 5, diluata in continuare pana la 12÷160Bllg si limpezita.
Melasa pentru fermentare de 600Bllg din vasul 6 trece in vasul 7 unde se face in continuare diluarea cu apa pana la 30÷340Bllg, limpezire si apoi trece la fermentare.
In practica industriala, gradul de diluare al melasei se determina cu ajutorul zaharometrului Balling.
Diluarea melasei de 600Bllg pana la concentratiile necesare pentru prefermentare si fermentare se poate face si cu ajutorul unor eprubete de diluare montate pe conductele de melasa, formate dintr-o teava cu diafragme in care intra pe la un capat melasa si lateral apa si eventual substantele nutritive. Prin reglarea debitului de alimentare cu melasa si apa se poate realiza concentratia dorita a melasei diluate, iar prin dispunerea excentrica a orificiilor diafragmelor se asigura o omogenizare cu apa.
1.2. Neutralizarea si acidularea melasei
Datorita reactiei usor alcaline a melasei este necesara neutralizarea si acidularea acesteia pana la pH-ul de fermentatie de 4,5÷5, uneori chiar la un pH mai scazut.
Aceasta operatie se executa in practica prin adaugare de acid sulfuric, realizandu-se astfel:
un pH optim pentru activitatea drojdiilor;
acidul sulfuric in exces contribuie la limpezirea melasei, determinand depunerea suspensiilor fine;
acidul sulfuric are rol de antiseptic, drojdiile fiind rezistente la pH-uri scazute, la care alte microorganisme nu rezista;
acidul sulfuric descompune nitritii si sulfitii care sunt substante inhibitoare pentru drojdii.
Consumul de acid sulfuric total pentru neutralizare si acidulare este de 2÷7 litri acid sulfuric concentrat pe tona de melasa.
Prin folosirea de antiseptici la fermentare se poate reduce cantitatea de acid sulfuric care este corosiv si se manipuleaza greu.
1. Adaugarea substantelor nutritive
Pentru compensarea deficitului de azot asimilabil al melasei se pot folosi sulfatul de amoniu, ingrasamantul complex, amoniac sau uree, care se adauga in proportie de circa 0,1% azot fata de melasa.
Necesarul de fosfor se poate asigura prin adaos de superfosfat de calciu sau ingrasamant complex in doza de circa 0,2% P2O5 fata de melasa.
In unele cazuri se adauga si Mg sub forma de sulfat de magneziu in proportie de 0,2÷0,8% MgSO4 fata de melasa.
Substantele nutritive se adauga sub agitare ca solutie limpede obtinuta prin dizolvare sau sedimentare, numai in melasa pentru prefermentare din vasul 4, calculandu-se insa fata de intreaga cantitate de melasa utilizata in procesul tehnologic.
1.4. Limpezirea si sterilizarea melasei
Melasa acidulata si imbogatita in substante nutritive este supusa in continuare operatiei de limpezire, prin depunerea coloizilor care au fost adusi la punctul izoelectric si precipitati prin adaugarea acidului sulfuric. Astfel, ionii de hidrogen ai acidului sulfuric neutralizeaza sarcinile pozitive ale coloizilor favorizand procesul de limpezire.
Limpezirea cu acizi a melasei se poate realiza prin doua procedee:
procedeul la rece;
procedeul la cald.
Procedeul de limpezire la rece se foloseste pentru melasele cu compozitie normala si decurge astfel: melasa acidulata si corectata cu substante nutritive, diluata la 12÷160Bllg in vasul 5, este lasata sa se limpezeasca prin sedimentarea suspensiilor si coloizilor precipitati timp de 12÷20 ore la rece, decantandu-se melasa limpede de deasupra, care este trecuta la prefermentare.
Limpezirea la cald a melasei este cea mai raspandita metoda de limpezire, intrucat se realizeaza concomitent si un efect de pasteurizare a melasei cat si indepartarea unor substante daunatoare drojdiei.
In acest scop, melasa diluata din vasul 5 se incalzeste pana la fierbere prin barbotare de abur, dupa care este lasata sa se limpezeasca timp de 8÷12 ore la temperaturi de 70÷900C. Pentru limpezirea melasei se mai pot folosi procedeele de cleire prin adaugare de bentonita, s.a.
Melasele puternic contaminate se sterilizeaza timp de o ora prin fierbere cu un adaos mai mare de acid sulfuric si sub agitare. Pentru oxidarea nitritilor si sulfitilor se poate adauga si clorura de var in cantitate de 0,6÷0,9 clor activ/tona de melasa.
Pentru limpezirea melasei se pot utiliza si separatoare centrifugale, realizandu-se o productivitatea mult mai mare, spatiu redus, fiind usor de deservit. Ele insa nu pot inlocui metoda de limpezire in mediu acid la cald, mai ales in cazul melaselor defecte.
Cantitatea de sediment rezultata dupa limpezirea melaselor normale este de 0,3÷0,5%. Limpezirea melasei pentru pregatirea drojdiei si prefermentare este absolut necesara, deoarece suspensiile fine se depun pe membrana celulei de drojdie impiedicand patrunderea zaharului si a celorlalte substante nutritive in celula, unde are loc fermentatia.
La fabricarea alcoolului din diferite materii prime, principalul obiectiv urmarit este obtinerea de randamente superioare in alcool. Printre factorii de care depinde calitatea alcoolului si randamentul in alcool, alaturi de calitatea materiei prime, alegerea si respectarea celui mai adecvat proces tehnologic, un rol deosebit il are drojdia utilizata la fermentarea plamezilor. Pentru fermentare in conditii industriale se utilizeaza tulpini din speciile Saccharomyces cerevisiae, Saccharomyces carlsbergensis, Schizosaccharomyces pombe si Kluyveromyces sp. Criteriile de caracterizare si selectionare a drojdiilor pentru fabricarea alcoolului sunt:
capacitatea de fermentare;
viteza de fermentare;
toleranta la alcool;
osmotoleranta;
capacitatea de formare a produsilor secundari de fermentatie;
rezistenta fata de conservanti;
rezistenta fata de produsele elaborate de microbiota de contaminare.
Pentru realizarea de randamente superioare s-a impus obtinerea de mutanti prin utilizarea de agenti chimici. Aceste tulpini contin ADN modificat mitocondrial si este inhibata productia de enzime necesare pentru metabolismul aerob.
In industria alcoolului, ca si in industria berii, se lucreaza cu culturi pure de drojdii, obtinute plecand de la o singura celula de drojdie, care se multiplica in conditii sterile in trei faze:
faza de laborator;
faza din sectia de culturi pure;
prefermentarea melasei,
obtinandu-se in final o cantitate suficienta de plamada de drojdie necesara pentru insamantarea plamezii principale.
Activitatea fermentativa a drojdiei este influentata, in timpul multiplicarii in fabrica, de urmatorii factori:
compozitia plamezii, care trebuie sa asigure necesarul de substante nutritive pentru drojdie (glucide, aminoacizi, substante minerale, vitamine);
compozitia plamezii;
temperatura. Temperatura optima este de 30÷350C, in practica insa fermentarea se conduce la temperaturi mai scazute de 28÷300C, datorita pericolului de contaminare cu microorganisme straine;
pH-ul plamezii - optim pentru activitatea drojdiei este cuprins intre 4,5 si 5,5;
alcoolul acumulat in plamada in cantitate peste 4÷5% incetineste multiplicarea drojdiei, in timp ce activitatea fermentativa a drojdiei poate avea loc pana la concentratii ridicate in alcool de 15%, sau chiar mai mult in functie de drojdia utilizata;
microorganismele de contaminare sunt daunatoare atat pentru consumul de zahar, pentru metabolismul lor propriu, determinand astfel scaderea randamentului in alcool, cat si prin produsele de metabolism toxice pentru drojdie pe care le formeaza.
2.1. Multiplicarea drojdiei in laborator
Se urmareste obtinerea in laborator a unor culturi de celule cat mai omogene, in ceea ce priveste metabolismul, randamentul, viteza de inmultire, capacitatea de reproducere si calitatea produsului finit. Inmultirea culturilor se efectueaza treptat, primele faze realizandu-se in laborator si in continuare, in statia de culturi pure a producatorului de drojdie de panificatie.
Mentinerea puritatii se realizeaza prin izolarea de celule individuale din culturi ce s-au comportat bine, din probe preluate din ultima faza de multiplicare. Pentru izolarea de celule se practica, in functie de mediul nutritiv, metode cu substrat lichid (Lindner si Hansen) si metode cu substrat solid (Koch si Hansen).
Dupa izolare se trece la verificarea puritatii culturilor izolate, vizual cu ajutorul microscopului si prin insamantari pe suprafata mediului nutritiv, solidificat in placi Petri. Prin controlul vizual al eprubetei, se poate observa uniformitatea cresterii si prezenta indicatorilor morfologici caracteristici pentru specia izolata. Prin control microscopic, in preparate umede se observa forma celulelor si absenta microorganismelor de contaminare.
Inainte de a fi introdusa in fabricatie, cultura pura de laborator se analizeaza si din punct de vedere al aspectului, a numarului de celule moarte, pentru a avea siguranta ca este corespunzatoare. Drojdia pura trebuie sa fie sedimentata intr-un strat compact pe fundul vasului; cand drojdia este raspandita in masa lichidului si aglomerata in flocoane vizibile, denota faptul ca mediul de cultura a fost contaminat. Celulele de drojdie moarte se identifica cu ajutorul metodei de colorare cu solutie de albastru de metilen.
2.2. Multiplicarea drojdiei in sectia de culturi pure
In scopul acumularii cantitatii de drojdie necesara pentru prefermentarea si fermentarea melasei, cultura pura de laborator se multiplica in continuare in sectia de culturi pure a fabricii in vase speciale de multiplicare.
In fabricile de alcool
din melasa multiplicarea drojdiei se realizeaza in doua faze.

Vasul pentru faza I este de forma cilindrica,
construit din cupru sau din otel inoxidabil si are
capacitatea de 100 litri.
Capacul 1 care se prinde cu suruburile 2 de
corpul cilindric al vasului este demontabil pentru a
permite curatirea si spalarea la interior.
Pe capac se afla racordul 3 pentru introducerea
de apa calda din conducta 4, sau de apa rece din
conducta 5. Melasa diluata se introduce prin racordul 6,
iar aerul prin racordul 7, prevazut cu un filtru de aer 8.
Cultura pura de drojdie din laborator se introduce prin
racordul 9 care se inchide cu un capac cu filet.
Racirea vasului se realizeaza prin serpentina
exterioara 10, perforata, orificiile fiind orientate spre
peretii vasului.
Fig. 4. Vas pentru prima faza de multiplicare a drojdiilor in fabrica
Apa de racire este colectata de jgheabul 11 si eliminata la canal sau recuperata prin racordul 12. Aerul este distribuit in mediul din vas prin conducta perforata 1 Aburul pentru sterilizarea vasului sau a mediului se introduce pe la baza vasului prin racordul 14, care are legatura cu racordul 15, prin care se goleste vasul. Dioxidul de carbon format in timpul fermentarii se elimina prin conducta 16, care patrunde intr-un vas cu apa 17. Temperatura din interiorul vasului se urmareste cu un termometru introdus in tubul 18. Nivelul plamezii din vas se urmareste prin vizorul 19. Probele de plamada se preleveaza prin robinetul 20.
In raport cu capacitatea fabricii de alcool, vasele din prima faza de multiplicare pot fi in numar de doua sau trei.
Vasele din faza a II-a de multiplicare sunt de constructie asemanatoare, dar au o capacitate de 10 ori mai mare (1000 litri) si mai sunt prevazute cu racord pentru introducerea drojdiilor din prima faza si serpentina interioara de racire a vasului. Numarul vaselor de multiplicare a drojdiilor din a doua faza trebuie sa fie identic cu cel al vaselor din prima faza.
Principalii parametri ai procesului tehnologic pentru cele doua faze sunt prezentati in tabelul 15.
Tabelul 15
|
Parametrul tehnologic |
Faza I de multiplicare |
Faza a II-a de multiplicare |
|
Concentratia initiala a plamezii, in 0Bllg | ||
|
pH initial | ||
|
Temperatura de multiplicare, in 0C | ||
|
Durata de multiplicare, in ore | ||
|
Concentratia finala a plamezii, in 0Bllg | ||
|
pH final |
2. Prefermentarea plamezilor din melasa
Pentru obtinerea unei cantitati mari de drojdie, in vederea insamantarii plamezii principale de melasa, este necesar ca drojdia sa se multiplice in continuare pana ce se ajunge la o cantitate de plamada de drojdie reprezentand 35÷50% din plamada principala. Deoarece in aceasta ultima etapa de multiplicare a drojdiei o cantitate importanta de zahar se transforma in alcool etilic, ea poarta denumirea de prefermentare.
Prefermentarea plamezilor din melasa se poate realiza in doua moduri:
prefermentarea discontinua;
prefermentarea continua.
Instalatia este formata din doua sau trei vase metalice de forma cilindrica sau paralelipipedica, prevazute cu racorduri de intrare a melasei tratate, a apei de racire, a aerului, a aburului si a plamezii de drojdie din faza precedenta si cu conducte de evacuare a plamezii prefermentate si a dioxidului de carbon degajat.
Inainte de folosire vasele de prefermentare se curata, se spala, se dezinfecteaza si se sterilizeaza cu abur. Dupa racirea vaselor la 30÷320C se aduce plamada de drojdie din faza a II-a de multiplicare statie culturi pure fabrica.
Prefermentarea discontinua se realizeaza prin introducerea plamezii de melasa de 120Bllg in mai multe portiuni, procesul de fermentare avand loc sub aerare moderata pentru a stimula activitatea drojdiilor.
Se completeaza mai intai cu melasa de 120Bllg circa 25% din volumul util al vasului si se face o prefermentare la 28÷300C pana ce extractul aparent al plamezii a ajuns la circa 70Bllg. In acest moment se adauga o noua cantitate de melasa, pana ce se ajunge la 50% din volumul util al vasului, asteptand sa scada din nou extractul la 70Bllg. Se mai adauga similar o noua portiune de melasa pana la 75% din capacitate si apoi pana la umplerea vasului de prefermentare.
In momentul in care extractul aparent a scazut la 70Bllg se trece ½ din continutul primului vas de prefermentare in cel de-al doilea vas si se continua alimentarea cu melasa in mod similar in portiuni a ambelor vase pana ce s-au umplut cu plamada, iar extractul aparent a scazut la circa 70Bllg. Continutul unuia din vase este trecut intr-un lin de fermentare, iar plamada din celalalt prefermentator se imparte din nou in doua parti egale si se reia ciclul de prefermentare.
Prefermentarea continua se realizeaza in mod asemanator, cu deosebirea ca dupa introducerea plamezii de drojdie in primul vas de prefermentare, se introduce in mod continuu plamada de melasa de 120Bllg, debitul fiind astfel reglat incat in timpul prefermentarii sa se mentina un extract aparent de 7,5÷80Bllg si temperatura de 28÷300C. Cand primul vas s-a umplut se opreste alimentarea cu plamada, se lasa sa scada extractul la 6,5÷70Bllg si se face egalizarea continutului cu cel de-al doilea prefermentator.
Se continua alimentarea cu plamada a ambelor prefermentatoare, iar dupa umplerea lor, plamada de drojdie din primul prefermentator este trecut intr-un lin de fermentare, iar cea din vasul 2 se egalizeaza cu vasul 1.
Ciclul de prefermentare a unui vas este de circa 4 ore, in urma prefermentarii rezultand o cantitate mare de plamada de drojdie ce reprezinta circa 40% din plamada totala. In timpul prefermentarii se urmareste concentratia plamezii, aciditatea cat si aspectul drojdiei prin control microbiologic.
Fermentarea plamezilor din melasa
Fermentarea este operatia tehnologica prin care zaharoza din melasa este transformata de catre drojdii in alcool si dioxid de carbon ca produse principale.
Pentru fermentarea melasei se folosesc atat procedee discontinue cat si continue.
Fermentarea discontinua a plamezilor din melasa se realizeaza in linuri de fermentare, racite de obicei prin stropire exterioara.
Melasa pentru fermentare sufera numai o diluare la 30÷340Bllg, fara sa fie acidulata, corectata cu substante nutritive si sterilizata termic.
In linul de fermentare se aduce mai intai plamada de drojdie dintr-un prefermentator peste care se adauga in mod treptat melasa diluata.
In functie de modul de alimentare cu melasa deosebim, ca si la prefermentare, doua procedee de fermentare discontinua:
procedeul cu alimentare periodica;
procedeul cu alimentare continua.
1. Procedeul de fermentare cu alimentare periodica
Dupa ce s-a introdus cultura de drojdie din prefermentator in vasul de fermentare, melasa diluata la circa 300Bllg se adauga in trei etape. La fiecare adaos, cantitatea de melasa trebuie astfel dozata, incat plamada din vas, dupa omogenizare cu aer, sa aiba 7,5÷80Bllg.
Cand concentratia plamezii ajunge la 6÷6,50Bllg, se incepe alimentarea cu o noua portiune de plamada.
Dupa prima si a doua alimentare se insufla aer in vasul de fermentare timp de 60 minute pentru omogenizarea plamezii. Dupa ultima alimentare care se face cu 6÷8 ore inainte de trecerea plamezii la distilare, aerul se insufla 15÷20 minute. Nu se depaseste aceasta durata de aerare a plamezii, pentru a se evita pierderile de alcool prin antrenare cu aer.
In functie de calitatea melasei si a drojdiei folosite, precum si de modul cum este condus procesul tehnologic, de la ultima alimentare cand vasul este umplut la volumul util, fermentarea are o durata de 20÷28 de ore.
In timpul fermentarii, temperatura plamezii trebuie sa fie mentinuta intre 28 si 300C, folosind sistemul de racire a vasului ori de cate ori temperatura tinde sa creasca peste 300C.
Cel putin o data la 4 ore se face un control privind evolutia concentratiei (0Bllg), a temperaturii, aciditatii si controlul microscopic, rezultatele trebuind sa fie inscrise in registrul de fabricatie al sectiei.
Fermentatia melasei este terminata cand concentratia mediului scade la 5,6÷6,50Bllg. In acest moment, melasa fermentata din vas este trecuta intr-un vas colector, din care este apoi trecuta la distilare pentru extragerea alcoolului.
2. Procedee continue de fermentare
In urma cercetarilor efectuate pe plan mondial si in tara noastra, s-au pus la punct procedee continue de fermentare a plamezilor din melasa.
Rezolvarea problemei fermentarii continue este strans legata de combaterea contaminarilor, care se poate face prin adaugare de antiseptici in doze care sa fie inhibitoare pentru microorganismele de contaminare, dar suportate de drojdii.
Dintre antisepticii experimentati, cele mai bune rezultate s-au obtinut prin folosirea pentaclorfenolatului de sodiu in cantitatii de 60÷90 g/tona de melasa. Antisepticul se adauga sub forma de solutie alcoolica cu concentratia in substanta activa de 12÷17%, de regula in melasa diluata la 600Bllg. Prin folosirea lui este posibil sa se realizeze fermentatia continua a melasei fara sterilizare termica, cu conditia ca drojdia sa fie adaptata in prealabil cu antisepticul.
Procedeele de fermentare continua a melasei se pot imparti in doua grupe:
procedee fara reutilizarea drojdiei;
procedee cu separarea si reutilizarea drojdiei.
2.1. Procedee fara reutilizarea drojdiei
Dintre procedeele de fermentare continua a melasei fara reutilizarea drojdiei se cunosc urmatoarele:
procedeul cu doua plamezi si doua concentratii diferite si anume:
la prefermentare 12÷160Bllg;
la fermentare 30÷340Bllg;
procedeul cu o plamada si o concentratie de 230Bllg;
procedeul cu doua plamezi si o singura concentratie de 230Bllg.
Procedeul cu doua plamezi si doua concentratii se caracterizeaza prin folosirea unei plamezi pentru prefermentare cu o concentratie mai scazuta de 12÷160Bllg si a unei plamezi concentrate de melasa pentru fermentare de 30÷340Bllg. Antisepticul se adauga in aceeasi doza in ambele plamezi in timp ce acidul sulfuric si substantele nutritive se adauga numai in plamada pentru prefermentare.
Aceste procedeu are avantajul ca la prefermentare se poate folosi separat o melasa de mai buna calitate si se asigura conditii corespunzatoare pentru multiplicarea drojdiei, deoarece substantele nutritive se adauga numai in plamada pentru prefermentare.
Procedeul cu o plamada si o concentratie foloseste o singura concentratie de melasa de 230Bllg, atat pentru prefermentare cat si pentru fermentare.
Toata melasa intrata in fabricatie se dilueaza la 230Bllg, se aciduleaza cu acid sulfuric, i se adauga substantele nutritive si antiseptic si se trece apoi la prefermentare si in continuare la fermentare.
Folosindu-se o singura plamada se simplifica mult operatiile tehnologice, astfel incat se poate face o automatizare complexa a instalatiei de fermentare. Prin utilizarea la prefermentare a unei concentratii mai ridicate se obtine o drojdie cu putere alcooligena ridicata.
Deoarece substantele nutritive se adauga in intreaga cantitate de melasa, conditiile de multiplicare a drojdiei la prefermentare sunt mai putin favorabile decat in cazul primului procedeu. Datorita faptului ca se lucreaza cu o singura plamada, nu este posibil ca la prelucrarea melaselor defecte acestea sa se introduca numai la fermentare, iar la prefermentare sa se utilizeze o melasa normala.
Procedeul cu doua plamezi si o concentratie se bazeaza pe folosirea a doua plamezi, una pentru prefermentare si alta pentru fermentare care au aceeasi concentratie de 230Bllg. Melasa se pregateste separat, adaugandu-se acidul sulfuric si substantele nutritive numai in melasa pentru prefermentare, in timp ce antisepticul se dozeaza in mod egal in cele doua plamezi.
Dintre cele trei procedee acesta prezinta cele mai multe avantaje si anume:
drojdia se multiplica la prefermentare in conditii optime de concentratie, substante nutritive si aciditate si numai in cantitatile necesare unei bune fermentatii;
datorita concentratiei mai ridicate in alcool la prefermentare, posibilitatea contaminarii cu drojdii atipice este practic eliminata, mentinandu-se timp indelungat sterilitatea mediului;
se pot prelucra melase defecte, care se introduc numai la fermentare.
Dezavantajul procedeului consta in faptul ca operatiile nu sunt atat de simplificate ca in cazul procedeului cu o singura plamada.
2.2. Procedee cu separarea si reutilizarea drojdiei
Din cercetarile efectuate s-a constatat ca in plamezi drojdia se inmulteste pana la o concentratie maxima de circa 750 milioane de celule la 1 ml, dupa care multiplicarea inceteaza. Daca se introduce de la inceput in plamada acest numar de celule la 1 ml se economiseste zaharul necesar multiplicarii drojdiei, rezultand o crestere a randamentului in alcool pana la 64÷65 l alcool absolut/100 kg zaharoza din melasa.
Separarea drojdiei se face din ultimul lin de fermentare cu ajutorul unor separatoare centrifugale care concentreaza drojdia intr-un volum reprezentand 7÷10% din plamada fermentata.
Laptele de drojdie obtinut este tratat cu acid sulfuric pentru purificare timp de 1÷2 ore la pH 2,2÷2,4, dupa care este introdus din nou la prefermentare.
Excedentul de lapte de drojdie rezultat de la separare poate fi uscat si utilizat ca drojdie furajera. Procedeele continue de fermentare a melasei prezinta urmatoarele avantaje:
reducerea sensibila a duratei de fermentare (chiar pana la 12 ore);
cresterea productivitatii muncii;
reducerea si uniformizarea consumului de utilitati;
posibilitati de automatizare a instalatiei.
Controlul fermentatiei plamezilor din melasa
Scopul acestui control este de a supraveghea desfasurarea fermentarii, de a depista unele deficiente si cauze care le-au produs pentru a se lua masurile corespunzatoare de inlaturare.
In timpul fermentarii se controleaza temperatura, concentratia plamezii, aciditatea, concentratia alcoolica si zaharul reducator. La inceputul fermentatiei temperatura este de 25÷270C sau chiar mai ridicata, atunci cand se urmareste scurtarea duratei de fermentare, iar temperatura maxima de fermentare este de 31÷320C. Incalzirea plamezilor la temperaturi peste 340C este nedorita deoarece se slabeste capacitatea de fermentare a drojdiei.
In practica industriala, concentratia plamezilor se determina cu ajutorul zaharometrelor Balling. In general la folosirea acestora pentru determinarea concentratiei unor lichide trebuie sa se tina seama de urmatoarele reguli:
zaharometrul sa fie curat, fara urme de grasime;
introducerea zaharometrului in lichid sa se faca cu atentie si acesta nu trebuie sa atinga marginile cilindrului in care se face determinarea concentratiei;
lichidul nu trebuie sa aiba la suprafata spuma sau bule de aer. Acestea se indeparteaza prin turnarea de cantitati suplimentare de lichid in cilindru, pana cand acestea deverseaza peste margini.
Caracteristic fermentatiei plamezilor din melasa este aerarea, in special la prepararea drojdiei si la prefermentare. Datorita continutului mare in nezahar al melasei, extractul aparent al plamezilor fermentate este mult mai mare decat la plamezile din cartofi sau cereale. Astfel, pentru plamezile cu concentratia initiala de 20÷220Bllg, extractul aparent al plamezii fermentate este de 6÷70Bllg, iar pentru plamezi mai concentrate poate ajunge la 8÷90Bllg.
In plamada fermentata se mai determina concentratia alcoolica prin distilare, care depinde in special de concentratia plamezilor, cat si continutul plamezii fermentate in zahar rezidual pentru a se vedea daca plamada este fermentata corespunzator. In cazul cresterii aciditatii plamezii in cursul fermentatiei peste limitele obisnuite este necesar si un control microscopic, pentru evidentierea microorganismelor de contaminare.
In mod normal in plamezile fermentate proportia de microorganisme atipice in raport cu numarul de celule de drojdii nu trebuie sa depaseasca 5%.
Controlul microscopic se efectueaza de catre laboratorul de microbiologie in toate fazele de fabricatie, incepand de la materia prima si pana la finele procesului tehnologic.
Rolul controlului microbiologic este de a identifica microorganismele de contaminare si sursa din care acestea provin.
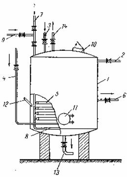
4. Instalatia de fermentare
Instalatia de fermentare este
compusa dintr-un numar variabil de vase pentru fermentare, precum
si din anexele acestora, prinzatorul de spuma si
spalatorul de dioxid de carbon.

Vasul de fermentare este utilajul tehnologic
in care zaharoza din melasa este transformata
de catre drojdii in alcool si dioxid de carbon.
Vasul 1 de forma cilindrica este prevazut cu racordul
2 pentru introducerea drojdiilor de la prefermentare,
racordul 3 pentru alimentarea cu melasa, conducta
4 pentru introducerea apei de racire in serpentinele
interioare 5, racordul 6 pentru eliminarea apei de
racire. Aerul necesar aerarii plamezii in timpul
fermentarii se introduce prin racordul 7 si conducta
perforata 8. Aburul necesar pentru sterilizarea
vasului se introduce prin racordul 9. Pe capacul
superior, vasul este prevazut cu gura de vizitare 10,
iar in partea inferioara cu gura de vizitare 11.
Temperatura in timpul desfasurarii procesului de
fermentare se urmareste cu ajutorul termometrului
introdus in tubul 12.
Golirea vasului de fermentare se face prin
racordul 1 Dioxidul de carbon care se formeaza
in timpul fermentarii se elimina prin racordul 14.
Fig. 5. Vas pentru fermentare
Ca materiale pentru constructia linurilor de fermentare se folosesc: tabla obisnuita de otel, tabla de otel inoxidabil, tabla de aluminiu si rasinile sintetice.
Linurile din tabla obisnuita de otel trebuie protejate prin lacuire pentru a se evita coroziunea. Otelul inoxidabil nu necesita o acoperire, se spala si se dezinfecteaza usor, astfel incat costurile suplimentare fata de otelul obisnuit se acopera in scurt timp. Nici aluminiul nu necesita o acoperire, intrucat este rezistent la acizi, formand un strat protector de oxid. Aluminiul nu suporta insa solutiile alcaline si dezinfectantii pe baza de clor.
Linurile de fermentare pot avea forma cilindrica (verticala sau orizontala) sau paralelipipedica (caseta). Linurile de forma paralelipipedica permit o buna utilizare a spatiului din sala de fermentare, fiind tot mai raspandite in fabricile de alcool.
Capacitatea linurilor de fermentare este de 10÷100 m Pentru 1 hl alcool rafinat este necesar un volum util de lin de 12,5÷13 hl sau total de circa 16 hl. Volumul unui lin de fermentare (V) se poate calcula cu formula:
V
=
, in care:
Vp - volumul de plamada produsa in 24 ore, in m3;
n - numarul de linuri care se incarca in 24 ore;
1,15 - coeficient care tine seama de spatiul liber al linului.
Prinzatorul de spuma se intercaleaza intre vasele de
fermentare si spalatorul de dioxid de carbon. Rolul acestui
aparat este de a prinde si de a sparge spuma care adeseori se
formeaza in timpul fermentarii melasei.

Acest aparat este format dintr-un vas cilindric 1, in capacul caruia este montata o conducta de introducere a gazului 2, care patrunde pana la fundul vasului si una de evacuare a acestuia In rezervor se afla apa 4, la suprafata careia se introduce un strat de ulei antispumant 5.
Fig. 6. Prinzatorul de spuma
Dioxidul de carbon impreuna cu spuma trec prin conducta 2 in stratul de apa si ulei, unde spuma este distrusa, iar dioxidul de carbon separat de spuma iese prin conducta 3 de unde trece la spalatorul de dioxid de carbon. In cazul in care spuma este in cantitate mare si nu poate fi distrusa se introduce abur in aparat prin barbotorul 6, care ajuta la spargerea spumei. Aparatul mai este prevazut cu un racord de introducere a apei 7 si unul de evacuare a apei uzate 8.
Spalatorul de dioxid de carbon are
constructia si principiul de functionare identice cu cele ale
coloanelor de distilare. Dioxidul de carbon, care se degaja din linuri,
antreneaza si alcoolul sub forma de vapori.

Pentru recuperarea alcoolului, dioxidul de carbon este dirijat, prin conducta, in spalator in care circula in contracurent cu apa. Realizandu-se un contact intim intre gaz si apa, alcoolul este antrenat (dizolvat) de apa. Apele alcoolice cu un continut de circa 2,5% alcool sunt introduse in linurile de fermentare. In figura 8 este prezentat schematic un spalator de dioxid de carbon cu talere, cu functionare continua la care de obicei sunt racordate mai multe linuri de fermentare.
Dioxidul de carbon impreuna cu vaporii de alcool intra prin racordul 1, situat la partea inferioara a aparatului si circula ascendent in coloana in contracurent cu apa de spalare introdusa prin racordul 2 aflat la partea superioara. Apa cade din taler in taler 3 preluand alcoolul, rezultand un lichid alcoolic care se evacueaza prin racordul 4 situat la partea inferioara si este trimis in plamada fermentata care merge la distilare.
Fig. 7. Spalator de dioxid de carbon
Prin racordul 5 iese dioxidul de carbon spalat care este trecut prin conducte la gazometru sau la consumatorii din fabrica.
Copyright © 2026 - Toate drepturile rezervate