![]() | Aeronautica | Comunicatii | Constructii | Electronica | Navigatie | Pompieri |
| Tehnica mecanica |
Scheme electrice de alimentare si comanda a instalatilor de actionare electrica
SEMNE CONVENTIONALE UTILIZATE IN SCHEMELE ELECTRICE SI ELECTRONICE
In instalatiile electrice si electronice utilizate pentru comanda masinilor-unelte se utilizeaza o mare varietate de aparate, instrumente si dispozitive de comanda.
Pentru usurarea desenarii si intelegerii schemelor, dispozitivele, aparatele-isi motoarele electrice se reprezinta simbolizat.
Numarul simbolurilor utilizate este relativ redus deoarece elementele dispozitivelor de comanda au multe caracteristici comune. Astfel, releele electromagnetice indiferent de tipul lor contin ca clemente principale o bobina si un numar mai mare sau mai nuc de contacte. Introducerea unor simboluri conventionale pentru bobine si contacte a permis o reprezentare simpla a releelor in schemele electrice rit toate ca acestea sunt foarte diferite, atat constructiv cat si ca destinatie.
In tabelele sunt. prezentate principalele seme conventionale si notatii standardizate in R.S. Romania si utilizate in schemele electrice si electronice ale masinilor-unelte.
REPREZENTAREA SCHEMELOR ELECTRICE SI ELECTRONICE
Fiecare sistem de comanda electric sau electronic contine un numar de aparate si dispozitive elementele carora sunt conectate prin conductoare electrice, prin inlantuire magnetica sau prin legaturi mecanice. Pentru studierea functionarii sistemelor, pentru montare si exploatare se intocmesc scheme electrice si electronice.
Se utilizeaza doua moduri de reprezentare a schemelor electrice. Primul mod consta in reprezentarea in scheme a elementelor aparatelor si dispozitivelor in circuitele pe care le deservesc, fara a tine seama de amplasarea lor relativa. Aceste scheme se numesc desfasurate sau de principiu. In aceste scheme diferitele clemente ale unui aparat sunt dispuse in locurile cele mai potrivite din punctul de vedere al claritatii si intelegerii. Elementele aceluiasi dispozitiv pot fi amplasate pe desen in diferite parti ale schemei. Pentru a indica aparentele elementelor, acestea se noteaza cu aceleasi simboluri literale sau numerice. Exemplu: contactele unui contactor, a carui bobina se noteaza cu c, se vor nota de asemenea cu c. In cazul cand exista mai multe aparate de acelasi fel, atunci ele vor fi notate cu combinatii de litere si cifre (exemplu:c1, c2 etc.).
Al doilea mod de reprezentare a schemelor electrice consta in indicarea, pe schema a pozitiei reciproce a aparatelor si dispozitivelor si a legaturilor dintre clementele acestora. Aceste legaturi sunt reprezentate asa cum sunt plasate ele in realitate; de aceea, chiar si cea mai simpla schema va contine multe conductoare si un numar mare de incrucisari, ceea ce ingreuiaza intelegerea ei. Acestea sunt schemele de montaj si ele permit fixarea dinainte, pe planseta, a cailor de cablare si amplasarea aparatelor in tablourile de comanda. Prin aceste scheme se stabileste in mod precis in ce loc se va executa fiecare conexiune, fara a mai fi necesare alte calcule din partea executantului.
Din cele expuse rezulta ca schemele desfasurate intrunesc o serie de avantaje, fiind cele mai indicate pentru proiectare, pentru explicarea functionarii instalatiei si a verificarii acesteia in caz de deranjamente, cat si pentru executarea montajelor in cazul unicatelor sau al utilajelor de serie mica.
Instalatia electrica sau electronica a masinii-unelte contine circuite de actionare si circuite (sisteme) de comanda. Sistemele de comanda au rolul de a comanda si regla sistemele de actionare pentru ca masina-unealta sa functioneze intr-un mod bine stabilit.
CONDITIILE IMPUSE SISTEMELOR DE COMANDA
Pentru o buna functionare, sistemele de comanda trebuie sa indeplineasca o serie de conditii, in cele ce urmeaza se prezinta cateva din cele care au cea mai mare importanta.
SIMPLITATEA COMENZII
Simplitatea maxima a sistemelor de comanda este determinata de indeplinirea urmatoarelor conditii:
- utilizarea unei cantitati minime de aparate, instrumente si dispozitive componente;
- utilizarea unor dispozitive si aparate simple si de acelasi fel;
- utilizarea unei
cantitati minime de elemente (contacte, bobine, tuburi
electronice, conductoare etc.) in sisteme.
SIGURANTA COMENZII
Siguranta in functionare a oricarui sistem depinde de siguranta aparatelor, dispozitivelor, instrumentelor sau a elementelor electrice care se utilizeaza la realizarea sistemului. Daca elementele componente vor fi robuste si sigure in exploatare si daca coeficientul de siguranta, admisa la proiectarea si executarea schemei, este marit, atunci si siguranta instalatiei este maxima.
Este necesar sa se prevada o protectie corespunzatoare din toate punctele de. vedere. Conductoarele de legatura trebuie sa fie montate rigid si sigur pe panou pentru preintampinarea strapungerii si a defectelor accidentale.
Siguranta creste daca se folosesc cele mai rationale sisteme de blocaj electric sau mecanic. Un sistem sigur nu trebuie sa permita aparitia avariei chiar daca se defecteaza unele din aparatele sau subansamblurile sistemului sau daca operatorul da o comanda gresita.
FLEXIBILITATEA SISTEMULUI SI COMODITATEA COMENZII
Un sistem de comanda este cu atat mai flexibil cu cat este mai usoara trecerea de la un ciclu de lucru al masinii-unelte la alt ciclu, de la comanda manuala la cea automata sau invers. Comanda este mai comoda cand poate fi realizata din mai multe puncte ale masinii si cand este asigurat un control vizual al functionarii masinii de catre operator.
La proiectarea instalatiei trebuie avut in vedere ca amplasarea aparatelor de comanda sa fie astfel incat operatorul sa consume un minim de timp si energie pentru comanda.
CONTROLUL INTEGRITATII SISTEMULUI
SI COMODITATEA DETERMINARII DEFECTELOR
La sistemele electrice de o complexitate mai mare este necesar sa se prevada posibilitatea controlului starii de functionare a diferitelor clemente a detectarii rapide a defectelor ce apar. Din acest motiv sistemele complicate sunt sectionate iar sectiile se alimenteaza prin sigurante fuzibile si intreruptoare proprii. In plus se utilizeaza semnalizatoare luminoase care indica starea de functionare a diferitelor aparate si dispozitive, aparitia sau disparitia tensiunii in diferitele parti ale schemei.
PRECIZIA DE FUNCTIONARE A SISTEMELOR IN CAZUL REGIMULUI DE FUNCTIONARE NORMALA SI DE AVARIE
Este necesar ca sistemul electric sau electronic sa asigure in orice regim o succesiune riguroasa a functionarii dispozitivelor si aparatelor din schema. Trebuie ca schemele sa fie astfel concepute incat sa se elimine posibilitatea formarii asa-numitelor circuite false prin arderea bobinelor releelor, lipirea contactelor, intreruperea conductoarelor etc.
UTILIZAREA JUDICIOASA A APARATAJULUI IN SISTEMELE DE COMANDA
Utilizarea corecta a aparatajului si dispozitivelor in sistemele de comanda nu se rezuma numai la respectarea valorilor nominale ale curentilor tensiunilor si a altor parametri ci si la asigurarea concomitenta a tuturor conditiilor impuse do constructorul aparatajului.
Astfel, un contactor de curent continuu este corect utilizat daca in primul rand se respecta toate caracteristicile sale nominale: tensiunea nominala, curentul nominal de durata pentru contactele principale, pentru contactele auxiliare si pentru bobina, frecventa anclansarilor impusa de constructor, la deschiderea circuitului bobinei sa nu apara supratensiuni care depasesc valorile admise in schema, sa nu fie legate in paralel bobinele contactoarelor de diferite puteri, fapt care poate duce la lipsa preciziei actionarii contactoarelor la deschidere, contactorul sa fie montat intr-o pozitie normala, sa nu fie supus la vibratii puternice si sa fie reglat corect, sa fie asigurate conditiile normale de racire, etc.
Un limitator de cursa este corect utilizat daca curentul si puterea de conectare nu depasesc valorile admise, daca cursa tijei este in limitele stabilite si daca este montat si reglat corect.
COMODITATEA MONTARII, EXPLOATARII SI REPARARII SISTEMELOR DE COMANDA
In general, montarea si reglarea aparatajului din schemele de comanda constituie un proces complex. Din aceasta cauza unele parti ale sistemelor complicate sunt asamblate si reglate in laboratoare specializate, urmand ca apoi sa fie aduse la locul de instalare si montate impreuna cu motoarele electrice pe masina-unealta.
Montarea separata a panourilor blocurilor electrice trebuie realizata astfel incat asezarea conductoarelor sa se faca cu usurinta; de aceea, fiecare unitate are o placa cu contacte la care se efectueaza legaturile exterioare. Aceasta placa se executa cu contacte sub forma de borne cu cleme de sir pentru unitatile electrice. Pentru unitatile electronice placile cu contacte sunt constituite astfel incat legaturile exterioare se efectueaza prin lipire.
Sistemele de comanda au nevoie de reparatii fie preventive, fie in caz de aparitie a unor avarii. De aceea, trebuie luate masuri ca aceste reparatii sa se poata executa comod, in acest scop este necesar ca aparatajul sa fie astfel amplasat incat piesele care se uzeaza mai repede sa poata fi usor inlocuite. Comutatoarele de reglaj, dispozitivele de acordare ale releelor si ale altor aparate, reostatele de acordare ale blocurilor electronice etc. Trebuie sa fie usor accesibile pentru punerea la punct.
Este foarte util ca sistemele de comanda sa fie alcatuite din blocuri si panouri de acelasi tip. In acest fel exploatarea sistemului este mai simpla iar inlocuirea blocurilor defecte se poate realiza usor, din blocurile de rezerva.
INTOCMIREA SCHEMEI ELECTRICE DESFASURATE
NOTATII UTILIZATE IN SCHEMELE ELECTRICE
Schemele electrice sunt constituite din doua circuite distincte:
circuite de forta (de obicei trifazate);
circuite de comanda (monofazate).
In circuitele de forta sunt conectate elementele de actionare (motoare, electromagneti trifazati), iar in circuitele de comanda elementele necesare comenzii.
Circuitele de comanda sunt legate intre o faza (R, S sau T) si nulul O, utilizand sau nu transformatorul coborator de tensiune, in majoritatea cazurilor circuitele de comanda sunt reprezentate asa cum sunt in realitate, adica derivate din circuitele de forta. Exista insa si situatii in care cele doua circuite se reprezinta separat sau se reprezinta numai circuitele de comanda.
Pentru o mai buna intelegere a functionarii schemei si gasirea usoara a contactelor circuitelor se vor nota cu numere, incepand cu circuitele de forta si continuand cu cele de comanda.
Identificarea usoara a legaturilor din schema desfasurata in instalatia fizica se poate realiza prin notarea cu numere a tuturor nodurilor din schema.
ALIMENTAREA CIRCUITELOR DE COMANDA
In circuitele de comanda sunt conectate bobinele releelor sau bobinele unor aparate de conectare mecanica, hidraulica sau pneumatica (electromagneti, cuplaje electromagnetice, ventile etc.). In comanda electrica a masinilor-unelte cel mai frecvent sunt utilizate releele cu contacte, in ultima perioada se utilizeaza insa tot mai mult elementele de comanda fara contacte, in special la masinile cu comanda numerica pentru transmiterea informatiilor primite de la purtatorul de program si de la traductoarele de deplasare. In cazul unui numar mic de aparate in sistem, alimentarea cu curent se realizeaza de obicei direct de la reteaua electrica (intre o faza si nul), iar atunci cand sistemul de comanda este mai complicat - cu ajutorul unui transformator de coborare.
Tensiunea de faza are valoarea de 220 V. Utilizarea acestei tensiuni are avantajul ca micsoreaza nomenclatorul bobinelor aparatelor privind tensiunea de alimentare si usureaza exploatarea instalatiilor electrice ale masinilor-unelte. In multe situatii se utilizeaza tensiunea de 220 V obtinuta printr-un transformator cu raportul de transformare 1:1. Acest mod de obtinere a tensiunii de comanda are avantaje deoarece dispare conductorul neutru al retelei generale de alimentare si astfel scade si pericolul de electrocutare. La utilizarea tensiunii directe dintre faza si nul exista posibilitatea de electrocutare a persoanelor venite in contact cu partea sub tensiune din schema si masele metalice ale masinii-unelte legate la pamant. La folosirea unui transformator, electrocutarea este posibila numai la atingerea concomitenta a celor doua fire de iesire de la transformator.
Prin utilizarea unui transformator de coborare se pot obtine tensiuni mai mici decat 220 V. In tara noastra se utilizeaza tensiunile de 24, 48, 110. Pentru coborarea tensiunii este obligatorie utilizarea transformatoarelor cu infasurare primara separata de cea secundara. Utilizarea autotransformatoarelor, a coboratoarelor de tensiune cu rezistente sau a altor dispozitive, care nu au izolarea galvanica de sursa de curent, se interzice.
Alegerea tensiunii retelei de comanda cu transformatoare coboratoare este mai complicata, criteriile principale fiind complexitatea aparaturii electrice, numarul motoarelor electrice comandate, numarul de bobine si contacte din circuitele de comanda, in mod frecvent se utilizeaza tensiunile de 110 V si 220 V. Tensiunile de 24 si 48 V se utilizeaza atunci cand se impun conditii speciale din punctul de vedere al tehnicii securitatii (de exemplu cand exista contacte neacoperite).
Deoarece la unele masini-unelte in sistemele de comanda se utilizeaza un numar mare de contacte legate in scrie si lungimi mari de cabluri, este necesar sa se tina seama la calculul tensiunii de caderile de tensiune ce au loc in contacte si cabluri de legatura pentru a rezulta o functionare sigura a aparaturii.
Tensiunea nominala poate fi determinata cu relatia:
![]()
in care:
P este puterea electromagnetilor aparatajului din circuit, in VA ;
RK - rezistenta contactelor legate in serie cu bobina aparatelor de putere,'P, in Ω;
Rc - rezistenta cablului, in Ω
Deoarece RK si Rc
sunt in general mici (exemplu la 44 contacte RK = l, l Ω si
Rc = 1,86 Ω pentru cablul cu sectiune de 0,75 mm2
in lungime de
Asupra stabilitatii functionarii sistemelor de comanda cu relee cu contacte influenteaza si oscilarea tensiunii retelei. Conform standardelor, tensiunea ce trebuie sa ajunga la aparat trebuie sa fie egala cu 0,951,1 UN, iar aparatul trebuie sa lucreze stabil la tensiunea de 0,85. . .1,1 UN.
PROIECTAREA CIRCUITELOR DE COMANDA
Fiecare circuit de comanda este destinat de regula alimentarii unei bobine a electromagnetului aparatului electric.
Pentru legarea bobinei la retea se pot utiliza in principiu atat elemente de comanda cu revenire automata (butoane, limitatoare de cursa etc.), cat si elemente care necesita o noua actionare pentru a reveni in pozitia initiala (intreruptoare, comutatoare etc.). In practica se intalneste mai frecvent prima situatie deoarece, in acest caz, pe langa faptul ca se poate realiza o comanda cu efort mic, se obtine si o protectie in cazul cand tensiunea de alimentare se intrerupe pentru o perioada si apoi revine.
In circuitul de comanda al bobinei d (figura
Prin apasarea pe buton contactul normal deschis al acestuia se inchide si bobina d este alimentata la retea. Cand apasarea inceteaza contactul se deschide si bobina d nu va mai fi alimentata.
In cazul cand este necesara mentinerea alimentarii bobinei si dupa ce butonul nu mai este actionat, in paralel cu contactul butonului b1 se leaga un contact normal deschis al releului actionat de bobina d (figura 1, b). Contactul se va nota tot cu d si el se va inchide la alimentarea bobinei d de la reteaua electrica. Contactul d poarta denumirea de contact de automentinere sau contact de memorizare.
Pentru intreruperea alimentarii bobinei d este necesar un buton cu contact normal inchis legat in scrie cu bobina respectiva. Cand se actioneaza butonul b2 se intrerupe alimentarea bobinei d si toate contactele acestui releu vor reveni in pozitia normala. Prin urmare, contactul normal deschis d se va deschidesiva face posibila mentinerea intreruperii alimentarii bobinei d si dupa incetarea actiunii asupra butonului b2.
In cazul cand sunt necesare conectarea si deconectarea de la retea a unei bobine de releu din mai multe locuri (caz frecvent intalnit la masinile-unelte grele) se utilizeaza circuitul din figura 2. Se observa ca la actionarea oricarui buton de pornire b3 sau b4, bobina c este alimentata, inchizandu-se astfel contactul c al releului care asigura alimentarea bobinei chiar dupa ce inceteaza actiunea butonului b3 sau b4. Oprirea se poate realiza prin actionarea fie a butonului bl fie a lui b2.
Prin urmare, butoanele de conectare a unui element la retea se leaga intotdeauna in paralel iar butoanele de oprire in scrie.
Comanda alimentarii de la retea a unui element de executie numai atata timp cat se actioneaza butonul de pornire, fara sa se stabileasca circuitul de automentinere (pornirea in impulsuri sau de reglare), se intalneste frecvent in instalatiile electrice ale masinilor-unelte pentru a se putea realiza reglarea masinii. Este insa necesar ca dupa executarea reglajului sa existe totusi o posibilitate de stabilire a comenzii de durata (cu automentinere).
Un asemenea circuit este dat in figura 3. Cand intreruptorul b este deschis, alimentarea bobinei releului intermediar d se realizeaza numai atata timp cat butonul b2 este apasat.
Inchizand intreruptorul b la apasarea pe butonul b2 se stabileste circuitul 01 si deci se alimenteaza bobina releului d, inchizandu-se contactul d care stabileste circuitul de automentinere. Alimentarea releului d se va intrerupe prin actionarea butonului b1.
Comanda in impulsuri se poate realiza ti cu schema din figura 4. Aceasta se preteaza in special cand este necesar sa se comande actionarea mai multor relee sau contactoare de la acelasi buton.
Comanda actionarii de durata pentru contactorul c se realizeaza prin apasarea butonului b2 din circuitul 01. Memorizarea comenzii (circuitul 02) si inchiderea circuitelor 04 se realizeaza prin contactele d.
La functionarea in impulsuri se actioneaza butonul b3. In acest caz nu mai exista automentinere si deci contactorul c va fi alimentat de la retea numai atata timp cat se apasa pe butonul b3.
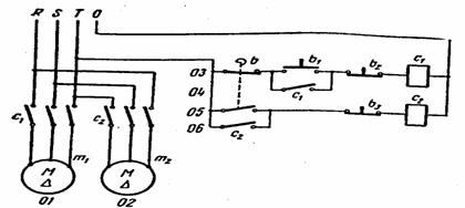
Ca elemente de conectare in afara butoanelor se mai pot utiliza limitatoare de cursa. Deoarece limitatoarele sant actionate de came asezate chiar pe organele masinii-unelte, rezulta ca prin intermediul lor se poate realiza automatizarea unui anumit ciclu de lucru al masinii (de exemplu, comanda automata a pornirii motorului m2 in momentul opririi motorului m1, fig. 5).
Pentru legarea la retea a motorului m1 se utilizeaza contactorul c1 iar pentru motorul m2 contactorul c2 (fig. 5). Prin actionarea manuala a butonului b1 se alimenteaza la retea bobina contactorului c1 si se inchid contactele c1 din circuitul 03, legand la retea motorul asincron m1. In acelasi timp se inchide si contactul c1 din circuitul 03 realizand mentinerea legarii la retea a bobinei ci si dupa incetarea actiunii asupra butonului b1. Cand organul pus in miscare de motorul m1 ajunge intr-o anumita pozitie actioneaza limitatorul de cursa deschizand contactul normal inchis b (circuitul 03) si inchizand contactul normal deschis b (circuitul 05). Prin aceasta se deconecteaza de la retea bobina contactorului c1 alimentandu-se bobina contactorului c1. Astfel se opreste motorul m1 (se deschid contactele c1) si se porneste motorul m2 (se inchid contactele c2). Memorarea comenzii se realizeaza cu ajutorul contactului c2 din circuitul 06.
In acest mod, cu ajutorul unui limitator de cursa, se poate realiza oprirea automata a motorului m1 si pornirea motorului m2.
O interactiune automata a doua elemente se poate realiza si prin utilizarea contactelor auxiliare ale contactoarelor (sau releelor intermediare) a releelor de timp sau a releelor de viteza.
Astfel, pentru pornirea concomitenta a doua motoare m l si m2 se poate utiliza schema de comanda din figura 6.
Prin actionarea butonului b2 se conecteaza la retea contactorul c1 inchizandu-se toate contactele normal deschise ale, acestuia deci si contactul c1 (din circuitul 05) care conecteaza la retea contactorul c2 ce pune in functiune motorul m2.
Oprirea motorului m2 se poate realiza prin actionarea butonului de oprire b3.
Prin interactiunea diferitelor aparate de comanda si conectare se ajunge, uneori, la limitarea posibilitatilor de interventie separata.
Pentru a fi posibila alegerea intre starea de comanda individuala si starea de functionare conditionata este nevoie de intercalarea unor comutatoare de selectionare sau relee intermediare.
Astfel, pentru realizarea atat a pornirii concomitente cat si a pornirii si opririi separate a motorului m2 se poate utiliza schema de comanda din figura
7. Prin actionarea butonului b2 se conecteaza la retea bobina releului intermediar d, inchizandu-se contactele d din circuitul 06 si din circuitul 09, care conecteaza la retea bobinele contactoarelor c1 si c2 cu ajutorul carora se porneste motorul m1 si respectiv m2. Dupa incetarea actionarii butonului b2, releul d se deconecteaza de la retea si deci contactele d se deschid, insa contactele c1 si respectiv c2 fiind inchise, bobinele contactoarelor c1 si c2 raman alimentate. Pentru deconectarea contactoarelor c1 si c2 se apasa pe butoanele b3 respectiv b5. Deconectarea simultana a ambelor contactoare c1 si c2 (oprirea ambelor motoare) se realizeaza prin actionarea butonului de oprire b1. Se observa ca este posibila si conectarea la retea separat a contactorului c1 respectiv c2 (pornire motor m l sau motor m2) prin actionarea fie a butonului de pornire b4 fie a butonului b6. Schema din figura 7 poate sa fie extinsa pentru comanda mai multor motoare prin adaugarea unor circuite identice cu circuitul 0406 sau 0709 pentru fiecare motor actionat.
Un exemplu de alegere intre starea de functionare conditionata si cea individuala, prin utilizarea unui comutator b0, este dat in schema din figura 8. Astfel, cand comutatorul b0, se gaseste pe pozitia II (contactele 1-2 inchise) functionarea este aceeasi ca a schemei din figura 5. Prin trecerea comutatorului b0 in pozitia I (contactele 1 -3 inchise) este posibila pornirea separata a fiecarui motor in parte.
Acelasi lucru se poate realiza prin utilizarea unui simplu comutator (fig. 9) sau a unui releu intermediar (fig. 10).
In acest ultim caz functionarea conditionata a celor doua motoare se va realiza cand in prealabil se actioneaza butonul b5 urmat de actionarea butonului b1. Utilizarea unui releu intermediar se justifica mai ales atunci cand este necesara inchiderea sau deschiderea simultana a mai multor circuite.
In circuitele schemelor de comanda, este necesar in multe cazuri sa se prevada blocaje electrice pentru a impiedica comanda simultana, nedorita a unor relee sau contactoare. O astfel de blocare este necesara la comanda inversarii sensului la motoarele electrice asincrone pentru a inlatura scurtcircuitarea a doua faze.
|
|
In afara acestor blocaje, in schemele electrice ale masinilor-unelte se intalnesc, de asemenea, blocaje functionale de conditionare si excludere. Astfel, la masinile-unelte cu ungere centralizata este necesar ca sa se poata porni motoarele de actionare numai dupa ce a pornit pompa pentru ungere. Un exemplu este dat in schema din figura 11, unde motorul m2 poate fi pornit numai dupa ce motorul m1 (contactorul c1 anclansat) functioneaza, deoarece numai atunci contactul c1 din circuitul 04 este inchis. Contactul acesta se numeste si contact de conditionare.
Blocajele de excludere sant de asemenea necesare in schemele de comanda a masinilor-unelte. Astfel, la unele masini-unelte la care miscarea de avans de lucru si deplasarea rapida se realizeaza cu motoare separate trebuie sa se ia masuri ca functionarea celor doua motoare sa se excluda, in schema din figura 12 se vede ca atunci cand contactorul c1 este legat la retea se exclude posibilitatea functionarii contactorului c2 intrucat contactul normal inchis c1 din circuitul 03 este deschis. Numai cand contactorul c1 este deconectat de la retea se poate alimenta bobina contactorului c2.
Blocajele de conditionare se realizeaza in general prin contacte normal deschise, iar cele de excludere prin contacte normal inchise.
Pentru alimentarea de la retea a
electromagnetilor monofazati se utilizeaza
circuitele din figura 13. Circuitul din figura
ANEXE

Figura 1. Scheme pentru legarea la retea a unei bobine cu ajutorul unui buton
a - legare fara contact de memorie;
b - legarea cu contact de memorie.
Figura 2. Schema pentru conectarea si deconectarea a unei bobine de la retea din mai multe locuri.
Figura 3. Schema de comanda cu posibilitate de selecti a comenzii de durata sau prin impulsuri.
Figura 4. Schema pentru comanda selectiva a doua circuite.

Figura 5. Schema de pornire simultana a doua motoare prin actionarea unui buton de comanda si prin limitator de cursa.
Figura 6. Schema pentru pornirea simultana a doua motoare.
Figura 7. Schema pentru pornirea selectiv-concomitent sau separata a doua motoare electrice.
Figura 8. Schema de comanda selectiva a doua contactoare.
Figura 9. Schema pentru selectarea modului de comanda folosind un comutator.
Figura 10. Schema de utilizare a unui releu intermediar pentru realizarea unei comenzi selective.
Figura 11. Schema de conditionare a pornirii unui motor.
Figura 12. Schema de blocare a functionarii unui contactor.
Curent alternativ
Curent continuu
Figura 13. Circuite folosite pentru alimentarea unor electromagneti monofazati
|
1 |
2 |
3 |
|
2 |
Contact cu temporizare la deschidere: a) ND b) NI |
|
|
3 |
Intrerupator cu parghie in aer: a) monopolar b) dipolar c) tripolar |
|
|
4 |
Contact comutator |
|
|
5 |
Contact de fine de cursa |
|
|
6 |
Buton de comanda cu revenire automata: a) cu contact ND b) cu contact NI |
|
|
7 |
Buton de comanda cu blocaj mecanic: a) cu contact ND b) cu contact NI |
|
|
8 |
Priza si fisa: a) priza b) fisa c) priza si fisa asamblate |
|
|
9 |
Borna de legatura |
|
|
10 |
Intersectii de conductoare cu legatura electrica |
|
|
11 |
Intersectii de conductoare fara legatura electrica |
|
|
Masini electrice |
||
|
12 |
Motor asincron trifazat cu: a) rotorul in scurtcircuit b) rotor cu inele (bobinat) |
|
|
13 |
Motor M de curent continuu de excitatie serie |
|
|
14 |
Motor M de curent continuu cu excitatie in derivatie |
|
|
15 |
Generator G de curent continuu cu excitatie mixta |
|
|
16 |
Generator sincron GS, trifazat,conexiune stea |
|
|
17 |
Motor cu colector, trifazat, serie |
|
|
18 |
Transformator de tensiune monofazat |
|
|
19 |
Transformator de tensiune trifazat, conexiunea: a) stea - stea b) stea - triunghi |
|
|
20 |
Transformator de curent |
|
|
21 |
Autotransformator: a) monofazat b) trifazat, conexiune in stea |
|
|
22 |
Amplidina |
|
|
23 |
Rotor: ke - infasurare de excitatie kc - infasurare de comanda |
|
|
24 |
Amplificator magnetic: kc - infasurare de comanda |
|
|
Elemente de circuite electrice |
||
|
25 |
Rezistoare cu rezistenta: a) fixa b) variabila (potentiometru) |
|
|
26 |
Rezistor cu reglaj permanent (trimer) |
|
|
27 |
Reostat |
|
|
28 |
Rezistor in montaj potentiometric |
|
|
29 |
Bobina (infasurare) cu inductanta a) fixa b) variabila |
|
|
30 |
Bobina cu: a) miez feromagnetic b) miez feromagnetic si intrefier |
|
|
31 |
Condensator cu capacitate: a) fixa b) variabila |
|
|
32 |
Condensator electronic: a) nepolarizat b) polarizat |
|
|
33 |
Redresor (dioda): a) semn general b) cu semiconductoare |
|
|
34 |
Redresor comandat: a) semn general b) cu semiconductoare (tiristor) |
|
|
35 |
Diac |
|
|
36 |
Triac |
|
|
37 |
Dioda cu: a) vid b) gaz |
|
|
38 |
Trioda cu: a) vid b) gaz |
|
|
39 |
Tub electronic cu mai multi electrozi (de exemplu tetroda) |
|
|
40 |
Tranzistor de tip: a) pnp b) npn |
|
|
41 |
Tranzistor unijonctiune (T.U.J.) |
|
|
42 |
Dioda stabilizatoare (Zenner) |
|
|
43 |
Celula fotoelectrica |
|
|
44 |
Fotorezistor |
|
|
45 |
Amplificator |
|
|
Accesorii electrice. Diverse |
||
|
46 |
Lampa de semnalizare (iluminat) |
|
|
47 |
Hupa (avertizor sonor) |
|
|
48 |
Sonerie |
|
|
49 |
Siguranta fuzibila |
|
|
50 |
Releu termic |
|
Copyright © 2025 - Toate drepturile rezervate