![]() | Aeronautica | Comunicatii | Constructii | Electronica | Navigatie | Pompieri |
| Tehnica mecanica |
CERlNTE DE SECURlTATE PENTRU CONDUCTE SI ClSTERNE PENTRU COMBUSTlBILI LICHIZI
Generalitati
Vaporii combustibili degajati in atmosfera de catre combustibilii lichizi pot forma un amestec exploziv. Sistemele de conducte ce vehiculeaza combustibili lichizi trebuie sa corespunda cerintelor esentiale de securitate referitoare la pericolul de explozii. Aceste cerinte vizeaza pe de o parte prevenirea formarii atmosferei explozive in jurul lor prin prevenirea scurgerilor la imbinari sau datorita deteriorarii conductei propriu-zise, iar pe de alta parte prevenirea (evitarea) surselor intrinseci de aprindere a atmosferei explozive cum sunt, de exemplu, cele de natura electrostatica.
O problema de securitate in acest domeniu a aparut odata cu dezvoltarea sistemelor de conducte din materiale nemetalice cu performante superioare celor metalice. Coroziunea conductelor metalice precum si riscul curentilor vagabonzi (de dispersie, de fuga) sunt doua argumente esentiale in favoarea utilizarii de conducte nemetalice (materiale plastice si cauciuc) in instalatii de vehiculare si depozitare a produselor petroliere din industria petrochimica, din statiile de distributie a carburantilor si din alte sectoare industriale.
Astfel se utilizeaza frecvent sisteme de conducte subterane care fac legatura intre rezervoarele subterane si pompele de distributie din cadrul statiilor de alimentare a populatiei. Aceste sisteme sunt realizate de obicei din conducte continui ale caror imbinari se fac in cadrul chesoanelor de distributie (guri de vizitare, sampuri) si care sunt accesibile de la suprafata pentru inspectiile de rutina si intretinerea ulterioara. Aceste sisteme sunt formate din conducte, elemente de imbinare, garnituri de etansare, chesoane de distributie si dispozitive de detectarea pierderilor.
Pentru prevenirea riscului de aprindere a atmosferei potential explozive la utilizarea conductelor nemetalice este necesar ca acestea sa fie concepute, realizate, instalate si intretinute astfel incat sa corespunda cerintelor de securitate pentru prevenirea formarii atmosferei explozive si evitarea surselor de aprindere.
Prevenirea formarii atmosferei explozive
Toate instalatiile de conducte (conductele propriu-zise si elementele de imbinare) trebuie sa satisfaca urmatoarele cerinte esentiale:
sa reziste la regimurile de presiune previzibile;
- sa-si poata indeplini functia fara a li se modifica semnificativ proprietatile sub actiunea combustibilului vehiculat (sa fie compatibile cu combustibilul). Producatorii trebuie sa furnizeze toate detaliile privind influentele diferitilor combustibili asupra materialelor care ar putea afecta integritatea instalatiei;
- sa ofere o rezistenta adecvata la patrunderea combustibililor prin material pentru a limita cantitatea de vapori care se transfera mediului inconjurator. Trebuie efectuate incercari de permeabilitate a combustibililor petrolieri pentru a se asigura ca nu se depasesc limitele admisibile;
- sa poata suporta toate solicitarile la care sunt supuse in timpul depozitarii, transportului, instalarii si functionarii sistemului. Incercarile semnificative vor include tractiunea, strivirea, torsiunea, impactul si indoirea;
De asemenea prevenirea aparitiei unei atmosfere inflamabile si in acelasi timp a pericolelor de aprindere se poate face prin:
- evitarea unor spatii fara lichid intr-un sistem;
- inertizarea spatiului respectiv (de exemplu ulajul unei cisterne) folosind gaze inerte cum ar fi azotul, CO2, sau gaze de fum purificate
Conductele ingropate (subterane) trebuie sa poata functiona in conditiile specifice solului. In cazul expunerii la substante alcaline, acide, saruri apoase si hidrocarburi, daca se constata o predispozitie inerenta a conductei la degradare trebuie asigurata o protectie adecvata. Trebuie furnizate instructiuni pentru instalarea corecta a conductelor in pamant tinandu-se cont de toti factorii care pot compromite integritatea sistemului, cum sunt: miscarile pamantului, sustinerile conductelor, umplerea, dilatarea, raze de indoire permise etc.
Conductele montate la suprafata trebuie sa raspunda cerintelor specifice de performanta privind deteriorarile fizice si rezistenta la foc. Toate materialele plastice si polimerice trebuie sa fie stabile la expunerea la radiatiile ultraviolete de la soare pe o perioada previzibila.
In situatiile in care nu este posibila evitarea unei atmosfere explozive riscul de aprindere se poate reduce prin limitarea acumularii sarcinilor. Cel mai eficient mod de a realiza acest lucru intr-un lichid in vrac este acela de a creste gradul de disipare al sarcinilor in lichid.
Acest lucru se poate realiza prin folosirea aditivilor disipativi disponibili in comert si care daca sunt adaugati intr-un lichid in concentratii foarte mici pot creste conductivitatea la peste 50 pS/m. Acest nivel in mod normal previne acumularea sarcinilor la niveluri periculoase.
Evitarea surselor de aprindere
Intrucat evitarea atmosferei explozive nu poate fi asigurata in totalitate este necesar sa se aplice masuri adecvate pentru prevenirea surselor de aprindere. Aceste masuri se vor stabili in functie de zona clasificata Ex conform SR EN 60079-10.
Dintre sursele de natura intrinseca ale sistemelor de conducte nemetalice se indentifica electricitatea statica, precum si scanteile de impact si frictiune la elementele metalice de asamblare.
Riscul electricitatii statice
Generarea electricitatii statice
Atunci cand un lichid curge intr-o conducta se produce o separare de sarcini intre lichid si suprafata interioara a conductei producandu-se sarcini electrostatice de polaritate opusa pe lichid si peretele interior al conductei. Masura in care sunt retinute sarcinile depinde de rezistivitatea materialului conductei si de conductivitatea lichidului. In plus, componentele metalice, care ar putea fi izolate din cauza materialului neconductiv al conductei, pot acumula sarcini, iar suprafata exterioara a conductei poate fi de asemenea incarcata, de exemplu prin frecare.
Riscuri de aprindere pot sa apara atat in interiorul conductei, daca functioneaza goala la manipularea unui lichid inflamabil cu punct de aprindere scazut, cat si in exterior, datorita atmosferei inconjuratoare.
Operatiile tehnologice de vehiculare a combustibililor lichizi din centrele de depozitare si desfacere a produselor petroliere din rafinariile de petrol, operatiile de alimentare a avioanelor si autovehiculelor, sunt insotite de formarea de sarcini electrostatice in volumul produsului vehiculat precum si pe suprafata conductelor sau rezervoarelor. Electricitatea statica se produce ca rezultat al separarii sarcinilor in timpul pomparii combustibilului lichid prin conducte, la amestecare, pulverizare s.a.
Principalii factori care determina nivelul de potential electrostatic generat in timpul curgerii combustibilului prin conducte sunt :
- conductibilitatea electrica a combustibilului;
- viteza de curgere;
- materialul din care este realizata conducta;
- existenta unor particule sau faze imiscibile cum este de exemplu apa.
De asemenea existenta unor strangulari, a unor filtre pe traseu, poate influenta nivelul de incarcare electrostatica.
Conductibilitatea electrica a combustibilului este un parametru cheie in generarea electricitatii statice. Pentru evaluarea pericolului si mijloacelor de prevenire, conductivitatile lichidelor au fost clasificate astfel:
- conductivitati mari, peste 1000 pS/m; .
- conductivitati medii, intre 50p5/m si 1000 pS/m;
- conductivitati mici, sub 50 pS/m.
In tabelul 1 sunt date exemple de conductivitati pentru mai multe lichide combustibile.
|
Lichidul |
Conductivitate pS m-1 |
|
Conductivitate joasa | |
|
Parafine inalt purificate | |
|
Parafine tipice | |
|
Compusi aromatici purificati (toluen, xilen) | |
|
Compusi aromatici tipici | |
|
Gazolina | |
|
Kerosen | |
|
Motorina | |
|
Uleiuri de parafina | |
|
Uleiuri de lubrifiere | |
|
Eteri | |
|
Amestecuri de solventi aromatici | |
|
Condensat de gaz natural fara inhibitor de coroziune | |
|
Conductivitate medie | |
|
Combustibili si uleiuri (petrol) continand aditivi disipativi | |
|
Reziduuri petroliere grele (pacura) | |
|
Esteri | |
|
Conductivitate inalta | |
|
Titei | |
|
Condensat de gaz natural cu inhibitor de coroziune | |
|
Alcooluri | |
|
Cetone | |
|
Apa |

In
figura1 este data curba de electrizare functie de rezistivitatea
(inversul conductivitatii) lichidului.
Din figura se observa ca la aceeasi rezistivitate electrizarea poate fi diferita. Aceasta dovedeste ca asupra electrizarii influenteaza si alti factori legati de regimul operatiilor tehnologice (viteza curgerii, natura curgerii - laminara sau turbulenta), caracteristicile sistemului de conducte (dimensiuni, structuri, materiale de confectionare), cantitatea si proprietatile impuritatilor etc.
Din analiza reprezentarii grafice a datelor experimentale se poate observa ca electrizarea maxima se situeaza in domeniul 1010 Wm - 1012 Wm (1-100 pS/m). Maximul electrizarii poate fi atribuit conventional valorii de 1011 Wm (10 pS/m).
Descarcarea sarcinilor electrostatice
Sarcinile electrostatice aflate in dielectric - produsul petrolier, pot fi pastrate timp indelungat. In cazul vehicularii produselor prin conducte nemetalice conductoare sau metalice, are loc o scurgere a sarcinii, prin conductie electrica si prin difuziune spre peretele conductei conectate la pamant. Astfel cantitatile mari de sarcini formate in volumul produsului dupa pompe sau filtre pot fi disipate complet in conducte lungi .
Aplicarea unor acoperiri de protectie izolante pe interiorul conductelor metalice (anticorozive) modifica caracterul disiparii sarcinilor in lungimea conductei. In plus , la conductele confectionate partial sau integral din materiale nemetalice dielectrice exista riscul formarii sarcinilor pe acestea atat datorita frecarilor cu combustibilul din interiorul lor cat si datorita unor frecari pe suprafetele exterioare. Sarcinile acumulate pe conducta dielectrica sau pe elementele conductoare izolate fata de pamant pot fi descarcate cu energii suficient de mari incat sa aprinda atmosfera exploziva de vapori care se formeaza daca exista scurgeri sau o atmosfera exploziva formata de alte surse exterioare.
Conducte si furtunuri pentru lichide
Conducte realizate din material disipativ
Din punct de vedere al electricitatii statice conductele realizate din materiale disipative pot fi tratate ca si conductele realizate din materiale conductive.
Conducte conductive cu captuseli neconductive
La folosirea unei conducte conductive cu o captuseala neconductiva pentru a transfera un lichid cu conductivitate joasa sau medie sarcinile electrostatice se pot acumula pe suprafata interioara a captuselii si pot produce descarcari prin captuseala la peretele conductiv al conductei. Teoria arata ca potentialul de pe suprafata unei captuseli creste de obicei proportional cu grosimea captuselii. De aceea la captuseli mai groase cum ar fi mansoanele de material plastic, probabilitatea aparitiei descarcarilor periculoase este mai mare decat la captuselile subtiri cum ar fi invelisurile epoxidice.
Chiar si in conditii nefavorabile (densitatea mare a sarcinilor in lichid, diametrul mare al conductei, captuseala grosa) aparitia descarcarilor este putin probabila atunci cand rezistivitatea de volum a captuselii este mai mica decat 108 Ωm. In conditii tipice (densitatea sarcinilor mai mica decat 103 µC/m3, diametrul conductei de aproximativ 100 mm, grosimea captuselii sub 5 mm) descarcarile nu se vor produce decat daca rezistivitatea de volum depaseste 1011 Ωm.
Folosirea conductelor conductive cu captuseli groase si/sau mai putin conductive ar putea fi totusi acceptabila pentru multe aplicatii de manipulare a lichidelor cu conditia ca toate sectiunile conductive ale conductei sa fie fiabil puse la pamant iar conducta sa ramana plina pe durata operatiunilor. Cea din urma cerinta asigura inexistenta unei atmosfere explozive in interiorul conductei cand conducta este plina cu lichid.
In cazul in care poate fi prezenta o atmosfera inflamabila conductele cu captuseli groase si mai putin conductive trebuie umplute si golite lent. In general viteza suprafetei de separatie dintre lichid/aer sa nu depaseasca 1m/s. In aval de microfiltre ar putea fi necesare viteze mai mici. Nu exista pericol electrostatic daca conducta ramane plina cu lichid, dar o strapungere electrica poate perfora o captusela puternic neconductiva.
In cazul in care este esential sa se evite acest lucru (de exemplu la prevenirea coroziunii), se poate preveni prin folosirea unei captuseli cu o rezistivitate de volum joasa. De obicei este adecvata o valoare mai mica decat 1011 Ωm desi la debite mari de generare de sarcini ar putea fi necesara o valoare mai mica decat 108 Ωm.
Conductele conductive cu captuseli neconductive sunt permise pentru transferarea lichidelor dar ele nu trebuie folosite la transferul pneumatic al pulberilor. Aceasta deoarece la pulberi ar putea exista o atmosfera exploziva in interiorul conductei iar mecanismele de generare puternica de sarcini ar putea duce la propagarea de descarcari in evantai.
Conducte neconductive
Curgerea lichidelor de joasa conductivitate in conductele neconductive poate produce densitati foarte mari de sarcini de suprafata pe suprafata interioara a peretelui conductei. Campul electric de valoare mare din afara conductei produs de sarcinile respective ar putea duce la descarcari in evantai incendive. El ar putea chiar duce la descarcari de scantei de la obiecte metalice izolate de langa conducta, incarcate prin inductie electrostatica.
Sarcinile de suprafata mari ar putea chiar duce la strapungerea electrica si perforarea peretelui conductei. Acestea ar putea duce la o scurgere a lichidului care ar putea fi periculoasa si nociva din punct de vedere ecologic. Din punct de vedere al asigurarii securitatii in interiorul conductei aceasta trebuie sa fie in permanenta umpluta cu lichid sau inertizata in conditiile prevenirii unei atmosfere inflamabile in interiorul conductei.
Masurile de precautie pentru exteriorul conductei sunt date mai jos.
Conducte neconductive aflate deasupra solului
In ariile periculoase conductele neconductive:
a) sa nu se foloseasca pentru trecerea lichidelor cu o conductivitate sub 50 ρS/m;
b) pot fi folosite pentru lichide cu conductivitate medie in circumstante sigure. Pot sa apara pericolele electrostatice si perforarea peretelui conductei, iar acest lucru cere asadar analize amanuntite de aplicare (viteza de curgere, tensiunea la care are loc strapungerea peretelui conductei, conductivitatea lichidului);
c) pot fi folosite pentru lichide cu conductivitate mare daca lichidul este in contact direct cu o componenta conducatoare cum ar fi o supapa sau recipient in capatul din amonte al conductei si daca viteza de curgere nu depaseste 1m/s. Aceste viteze de curgere joase se aplica in special lichidelor cum ar fi acetatele. Viteze de curgere ridicate pot fi acceptate dupa o analiza corecta a riscului.
Trebuie luate masuri pentru a se asigura ca peretele conductei sa nu poata fi incarcat periculos de catre surse din exterior cum ar fi lovirea de catre aburi sau frecarea. Este esential ca toate componentele conductive cum ar fi flansele sau valvale sa fie puse la pamant daca capacitatea lor electrica nu este mai mica decat 3 pF.
Conducte neconductive ingropate
Atunci cand o conducta neconductiva este ingropata, intreaga ei suprafata este in contact cu pamantul si nu este necesara punerea suplimentara la pamant a componentelor conductive sau disipative.
Conductele neconductive pot fi folosite pentru trecerea lichidelor cu o conductivitate ce depaseste 1000 ρS/m cu conditia ca:
a) lichidul sa fie intr-un anumit punct in contact cu un obiect metalic pus la pamant, de exemplu o valva si
b) este prevenita perforarea peretelui conductei prin descarcari (de exemplu tensiunea electrica de strapungere ridicata sau viteza de curgere scazuta) si
c) bornele prizelor de sudura electrica trebuie sa fie legate la pamant sau prizele lor inchise cu capace din plastic.
De asemenea pot fi folosite conducte neconductive pentru trecerea lichidelor cu o conductivitate mai mica decat 1000 ρS/m daca se aplica masurile de prevenire a perforarii peretelui conductei (de exemplu viteza de curgere scazuta, cresterea rezistentei dielectrice a materialului conductei).
Excavarea unei sectiuni a unei conducte poate expune componentele conductive sau disipative. Daca exista posibilitatea prezentei unei atmosfere explozive, acestea si toate obiectele conductive din apropiere care ar putea fi incarcate prin inductie electrostatica, trebuie puse la pamant. Este periculos totusi sa se faca o conexiune de pamantare intr-o atmosfera potential exploziva.
RECOMANDARI PRIVIND CERINTELE DE SECURITATE PENTRU FURTUNURI
Exista trei tipuri de furtunuri :
a) Furtunuri semiconductive.
Un furtun semiconductiv are o rezistenta intermediara care este suficient de joasa pentru a putea disipa sarcinile electrostatice, dar suficient de mare pentru a limita curentii vagabonzi la limite sigure. De obicei stratul exterior al furtunului este facut din materiale disipative si asigura rezistenta mica a furtunului atunci cand stratul este in contact cu armaturile terminale metalice. Rezistenta pe unitate de lungime a furtunului semiconductiv trebuie sa fie in domeniul 103 Wm-1 - 106 Wm-1.
Constructia furtunurilor semiconductive este adesea astfel incat continuitatea electrica sa nu poate fi pierduta pana cand furtunul ramane utilizabil. Aceasta continuitate electrica, inerenta pentru constructia furtunului, inseamna ca verificarile periodice ale continuitatii sunt inutile. Rezistenta furtunurilor care nu sunt construite astfel trebuie verificata periodic .
b) Furtunuri conductive.
Un furtun are elemente conducatoare si o rezistenta electrica pe unitate de lungime, determinata prin masuratori de rezistenta de la un capat la altul, de sub 103 Wm-1. Ele sunt proiectate pentru a preveni descarcarile in evantai din exterior. In mod normal, furtunurile conductive sunt facute din materiale neconductive iar continuitatea electrica este asigurata prin intarirea sau conectarea sarmelor care sunt conectate electric la armaturile terminale metalice. Acest tip de furtun are o rezistenta suficient de mica pentru a disipa sarcinile electrostatice, dar din cauza rezistentei sale mici, el poate conduce curenti vagabonzi care ar putea crea un risc de aprindere la intreruperea lor.
Daca nu exista curenti vagabonzi, furtunurile conductive bine intretinute si adecvat construite nu reprezinta un risc de aprindere electrostatica. Totusi daca sarmele de conectare se rup sau constructia este defectuoasa, este posibil ca una sau mai multe componente conductive ale furtunurilor (de exemplu cuplajele terminale, serpentinele de intarire si mansoanele) sa devina izolate din punct de vedere electric. Daca in aceste momente trece un lichid de joasa conductivitate prin furtun, aceste componente ar putea acumula sarcini electrostatice care sa duca la scantei incendive. De aceea, continuitatea electrica a furtunurilor trebuie verificata sistematic. Trebuie atentie ca sa se asigure ca toate insertiile metalice interioare sa fie conectate la cuplajul terminal.
c) Furtunuri neconductive.
Acest tip de furtun este facut din material neconductiv. Nu incorporeaza sarma sau toron conducator si nu poate disipa sarcini electrostatice. De aceea, sarcinile electrostatice se pot acumula pe materialul furtunului sau pe partile conductive izolate (de exemplu cuplajele metalice, petele umede de pe furtun) , putand duce la descarcari in evantai incendive sau chiar scantei .
La majoritatea aplicatiilor se prefera furtunurile semiconductive fata de cele conductive intrucat ele asigura protectie impotriva acumularii sarcinilor electrostatice pe furtun ca si impotriva scanteilor din cauza intreruperii curentilor vagabonzi.
Furtunurile conductive sunt de asemenea acceptabile, dar, in cazuri speciale, trebuie sa se introduca o flansa neconductiva pentru a asigura protectie impotriva scanteilor. In acest caz armaturile furtunului la ambele capete trebuie puse separat la pamant. In plus, furtunurile conductive necesita verificari de continuitate periodice.
Furtunurile neconductive nu sunt recomandate daca poate fi prezenta o atmosfera exploziva.
RECOMANDARI PRIVIND CERINTELE DE SECURITATE PENTRU CISTERNE
Cisterne metalice de depozitare mari
Cisterne cu acoperis fix
In general operatiile care dau nastere la pericole electrostatice in interiorul unei cisterne includ umplerea, circularea lichidului, agitarea, amestecarea, calibrarea (masurarea) si curatarea. In situatiile in care poate sa existe o atmosfera inflamabila in interiorul unei cisterne atunci cand se executa aceste operatii trebuie luate in considerare masurile de precautie de mai jos.
Indiferent de conductivitatea lichidului trebuie sa se ia urmatoarele masuri generale de precautie:
a) se leaga la pamant cisterna si toate structurile asociate cum ar fi : conductele, pompele, carcasele filtrelor, etc.;
b) se asigura ca persoanele sa nu se incarce ;
c) sa se evite umplerea prin stropire folosindu-se orificii de intrare aflate la fundul cisternei sau folosindu-se un tub de umplere care sa ajunga aproape de fundul cisternei;
d) se inspecteaza cisterna regulat ca sa nu fie obiecte metalice libere, de exemplu bidoane, care ar putea actiona ca conductoare izolate plutitoare .
Pentru lichide de conductivitate joasa sunt necesare urmatoarele precautii suplimentare :
i) orificiul de intrare trebuie sa fie astfel proiectat incat sa reduca la minim turbulenta si agitarea lichidelor imiscibile mai grele sau sedimentelor de pe fundul cisternei. Acest lucru se poate realiza prin, de exemplu: folosirea unei conducte de intrare cu o sectiune transversala in crestere progresiva pentru a se reduce viteza la intrarea in cisterna. Evitarea turbulentelor mari are avantajul suplimentar ca lichidul incarcat puternic, care intra, este tinut in special la fundul cisternei si se impiedica ajungerea lui la suprafata lichidului ;
ii) nu trebuie sa se incarce un lichid de densitate joasa intr-o cisterna care contine un lichid cu o densitate substantial mai mare, intrucat efectul de turbulenta care rezulta ar purta lichidul care intra foarte incarcat la suprafata lichidului, ducand la un potential mai mare in ulajul cisternei. Din aceleasi motive trebuie evitata antrenarea aerului sau a altor gaze in lichidul care intra;
iii) daca in conducta de alimentare a cisternei exista elemente de generare de sarcini mari cum ar fi microfiltrele, trebuie sa se prevada un timp de rezidenta adecvat intre elementele de generare a sarcinilor si orificiul de intrare in cisterna, pentru a permite ca sarcinile sa se relaxeze inainte de a intra in cisterna.
Pe langa recomandarile deja date sunt necesare anumite limitari ale vitezei de umplere pentru ca operatiunea de umplere sa fie sigura. Limita vitezei de umplere depinde daca lichidul este contaminat sau daca acesta este curat. In acest context lichidul este considerat curat daca contine sub 0,5 % volum de apa in stare libera sau alt lichid in stare imiscibila si sub 10 mg/l de solide in suspensie.
Din cauza generarii de sarcini mari la curgerea in doua faze, viteza de umplere a lichidului contaminat trebuie limitata la 1 m/s in timpul intregii perioade de umplere. In cazul unui lichid curat viteza de umplere trebuie sa fie limitata la 1 m/s numai pentru o perioada initiala de umplere. Perioada initiala de umplere dureaza pana cand:
a) conducta de umplere si alte structuri aflate la baza cisternei s-au scufundat la de doua ori diametrul conductei de umplere;
b) apa colectata in sistemul de conducte s-a curatat.
Cisterne cu acoperisuri plutitoare sau capace interioare plutitoare
In cazul cisternelor cu un acoperis plutitor sau cu un capac interior plutitor atmosfera inflamabila este ecranata de potentialele care se dezvolta in timpul umplerii de catre acoperisul sau capacul plutitor. Avand in vedere acest lucru dupa o perioada initiala de umplere, cand acoperisul sau capacul sunt in plutire pe lichid, nu este necesara limitarea vitezei de umplere, cu mentiunea ca in timpul acelei perioade initiale de umplere viteza trebuie sa fie limitata la 1 m/s.
Pentru a asigura efectul de ecranare dorit este necesar ca acoperisul sau capacul interior, plutitoare pe suprafata lichidului, sa fie realizate din materiale conductive si sa fie legate la pamant in mod adecvat.
Uneori in recipiente se folosesc sfere sau mingi plutitoare pentru a reduce evaporarea lichidului. Aceste sfere sau mingi plutitoare nu trebuie insa folosite in cazul lichidelor cu conductivitatea mai mica de 50 pS/m, deoarece o minge sau un grup de mingi ar putea deveni izolate fata de pamant, creandu-se posibilitatea producerii de scantei. Este esential ca mingile sau sferele sa fie realizate din materiale conductive sau disipative.
Tabelul 2: Masuri de precautie pentru umplerea recipientelor mari de metal cu lichide de joasa conductivitate (conductivitate < 50 pS/m).
|
Masuri de precautie |
Aplicabilitate la recipient |
|
|
Cu acoperis plutitor sau capac interior plutitor |
Cu acoperis fix, fara capac plutitor |
|
|
Se mentin viteze de curgere sub 1 m/s |
Esentiale pana cand acoperisul sau capacul plutesc |
Esentiale pe durata perioadei initiale de umplere sau la incarcarea unui lichid contaminat |
|
Se mentin viteze de curgere sub 7 m/s |
Nu sunt necesare cand capacul sau acoperisul plutesc |
Esentiale in toate cazurile in care nu se aplica limita de 1 m/s |
|
Masuri de precautie |
Aplicabilitate la recipient |
|
|
Cu acoperis plutitor sau capac interior plutitor |
Cu acoperis fix, fara capac plutitor |
|
|
Se asigura un timp de rezidenta adecvat intre generatoarele puternice de sarcini (filtre) si recipient |
Esentiale pana cand capacul sau acoperisul plutesc NOTA: timpul de rezidenta poate fi calculat folosindu-se o viteza de 1 m/s |
Esentiale |
|
Se evita tulburarea apei de la fundul recipientului cu produsele care intra |
Esentiale pana cand capacul sau acoperisul plutesc |
Esentiale |
|
Se evita incarcarea lichidelor de densitate mica in recipiente care contin lichide de densitate mare datorita efectelor de vartej |
Nu sunt necesare |
Recomandate |
Masuri de precautie generale pentru autocisterne si vagoane
Indiferent de conductivitatea lichidului, masurile de precautie generale date la punctele a), b) si d) trebuie luate impreuna cu urmatoarele :
- conductele si furtunurile trebuie sa fie din materiale disipative;
- sa se evite umplerea prin stropire folosindu-se orificii de intrare aflate la fundul cisternei cu o placa de deflectie pentru a evita un jet de lichid directionat in sus (umplere de la fund) sau folosindu-se o conducta de umplere care sa ajunga pana aproape de fundul cisternei (umplere de sus);
- sa se evite ca in lichidul care intra sa fie antrenat aer sau alte gaze, sa nu se curete conductele cu aer sau alte gaze la functionare aproape de vitezele de curgere maxim admisibile.
Limitarea vitezei de umplere
La lichide cu conductivitate joasa viteza de umplere trebuie sa fie limitata la o valoare sigura si aceasta depinde de dimensiunea si forma cisternei, de metoda de umplere (de sus sau de la fund), diametrul conductei care duce la cisterna si de conductivitatea lichidului. Cea mai critica dimensiune si forma de cisterna este cea a cisternei cubice (sferice) cu un volum de aproximativ 5 m3, adica aproximativ de dimensiunile si forma unui compartiment de autocisterna. Cisternele mai mari si mai mici si cele care nu au forma cubica, adica acelea la care una din dimensiunile cisternei este semnificativ mai mare decat celelalte dimensiuni sunt mai putin critice.
La incarcarea de sus conducta de umplere actioneaza ca un conductor central. Aceasta coboara potentialul maxim din recipient si se poate accepta o viteza de umplere mai ridicata. De aceea viteza de umplere trebuie sa fie cu 25% mai mica decat cea de la umplerea de sus daca un compartiment de autocisterna cu incarcare de jos nu are un conductor central. Pentru curgerea in doua faze sau daca apa de la fund poate fi agitata in recipient, viteza de umplere trebuie limitata la 1 m/s.
Viteza de umplere maxima pentru lichide de o faza, de exemplu lichide de hidrocarburi saturate care nu contin apa in stare libera este data de urmatoarele ecuatii:
v·d = 0,50·N m2/s - pentru incarcare de sus sau incarcare de jos cu un conductor central;
v·d = 0,38·N m2/s - pentru incarcare de jos fara conductor central.
unde:
v - este viteza de curgere liniara in conducta, in m/s];
d - diametrul in [m] al conductei cu diametrul mai mic in amonte de recipientul sau compartimentul care se umple;
N - este un factor care descrie dependenta de lungimea L a compartimentului care se incarca; (de exemplu pentru L < 2 m, N ; pentru lungimi de compartiment intre 2 m si 4,6 m N trebuie luat ca N = (L/2) , iar pentru L > 4,6 m, N trebuie luat ca 1,5).
Aceste limite superioare pentru viteza de umplere sunt considerate ca fiind sigure pentru intregul domeniu de conductivitati ale lichidelor care apar in practica. Avand in vedere experienta limitata care exista nu trebuie sa se depaseasca o viteza de umplere de 7 m/s chiar daca ecuatiile ar permite acest lucru. Totusi daca conductivitatea lichidului creste peste 50 ρS/m (de exemplu folosind aditivi disipativi) nu este nevoie sa se limiteze viteza de umplere sub limita generala de 7 m/s.
Autocisterne
In afara precautiunilor si recomandarilor date trebuie luate urmatoarele precautiuni :
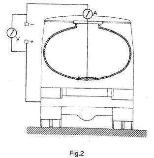
a) rezistenta de conectare intre sasiu, cisterna si conductele si garniturile asociate de pe camion trebuie sa fie < 106 W, (fig.2);

b) inainte de efectuarea vreunei operatiuni (de exemplu deschiderea capacelor de catre oameni, conectarea conductelor de umplere) trebuie sa se conecteze un alt cablu de pamantare la golire autocisterna. Acesta va asigura o rezistenta de conectare mai mica de 106 W intre cisterna si centura, si nu trebuie indepartat pana la incheierea tuturor operatiunilor. Se recomanda sa se asigure dispozitive de interblocare pentru a preveni incarcarea atunci cand cablul de pamantare nu este conectat;
c) daca in acelasi punct de incarcare urmeaza sa se incarce autocisterne cu lungimi de compartimente diferite, atunci pentru evitarea confuziilor , trebuie sa se foloseasca viteza de umplere relevanta pentru cea mai mica lungime de compartiment (L = 2 m);
d) in cazul in care se pot manipula lichide de joasa conductivitate, viteza de umplere v trebuie limitata la :
v d = 0,5 m2/s - pentru incarcare de sus sau incarcare de jos cu un conductor central; sau
v d = 0,38 m2/s - pentru incarcare de jos fara conductor central.
e) la incarcarea de sus bratul de incarcare trebuie introdus pana la fundul cisternei inainte de a incepe curgerea lichidului;
f) daca exista posibilitatea descarcarilor meteo-electrice, cisternele aflate sub cerul liber si nu sub baldachin sa nu se umple cu un lichid care ar putea da nastere unei atmosfere inflamabile.
Daca conductivitatea lichidului este mai mare de 50 pS/m viteza de umplere nu este limitata la sub limita generala de 7 m/s.
Cisterne de cale ferata
Pe langa precautiunile si recomandarile date trebuie luate urmatoarele precautiuni :
a) sinele de cale ferata trebuie conectate unele de altele si de centura cu o rezistenta de conectare mai mica de 106 W
b) rezistenta de conectare dintre roti, cisterna si restul vehiculului trebuie sa fie de 106 Ω. Nu este necesara conectarea independenta a vehiculului cisternei de calea ferata deoarece aceasta este asigurata de sine;
c) se poate instala o flansa neconductiva in linia de umplere pentru a preveni curentii vagabonzi. In acest caz ajutajul de umplere trebuie conectat cu vehiculul de cale ferata inainte de inceperea umplerii;
d) linia de garare folosita pentru umplerea vehiculului cisterna trebuie sa fie izolata de restul sinei de cale ferata pentru evitarea curentilor vagabonzi.
Aceasta izolatie nu trebuie sa fie scurt-circuitata de echipamentele de cale ferata sau vehiculele de cale ferata.
e) la incarcarea lichidelor de joasa conductivitate, indiferent de lungimea compartimentului, viteza de umplere trebuie sa satisfaca cerintele :
v·d = 0,75 m2/s - pentru incarcare de sus sau incarcare de jos cu un conductor central; sau
v·d = 0,56 m2/s - pentru incarcare de jos fara conductor central.
f) la incarcarea de sus bratul de incarcare trebuie introdus pana la fundul cisternei inainte ca lichidul sa inceapa sa curga;
g) daca conductivitatea lichidului creste peste 50 pS/m viteza de umplere nu trebuie limitata la sub limita generala de 7 m/s.
In tabelul 3 sunt date vitezele maxime de umplere pentru incarcarea lichidelor de joasa conductivitate altele decat produsele petroliere in cisterne de sosea.
|
Cisterna de sosea |
||||
|
Diametrul * |
Incarcare de sus |
Incarcare de jos |
||
|
conductei de umplere |
v·d = 0,50 m2/s |
v·d = 0,38 m2/s |
||
|
mm |
Viteza de umplere m/s |
Debitul de umplere m3/min |
Viteza de umplere m/s |
Debitul de umplere m3/min |
|
| ||||
In tabelul 4 sunt date vitezele de umplere si limitele acestor viteze pentru incarcarea lichidelor nepetroliere in cisterne de cale ferata.
|
Cisterna de cale ferata |
||||
|
Diametrul * |
Incarcare de sus |
Incarcare de jos |
||
|
conductei de umplere |
v·d = 0,75 m2/s |
v·d = 0,56 m2/s |
||
|
mm |
Viteza de umplere m/s |
Debitul de umplere m3/min |
Viteza de umplere m/s |
Debitul de umplere m3/min |
|
* - sau diametrul sectiunii critice a conductei liniei de alimentare |
||||
Cisterne realizate din materiale conductive sau disipative cu invelisuri interioare neconductive
La aceste cisterne pot sa apara pericole in plus cauzate de incarcarea invelisului interior prin frecare (de exemplu curatare) sau de contactul cu lichidul incarcat. Daca invelisul interior neconductiv are grosimea mai mica de 2 mm (de exemplu invelisuri de vopsea sau rasina epoxidica) nu exista riscuri suplimentare decat daca au loc umpleri rapide repetate.
In cazul unor umpleri rapide repetate se pot acumula densitati mari de sarcini pe acest invelis neconductiv care pot duce la descarcari in evantai propagatoare incendive. Acestea pot fi evitate daca puterea de strapungere a invelisului este sub 4 kV.
Trebuie luate urmatoarele masuri de precautie:
a) invelisul trebuie sa aiba un contact bun cu peretele principal al cisternei (adica fara separare sau delimitare);
b) chiar daca cisterna este umpluta sau nu cu un lichid conductiv sau neconductiv, trebuie sa existe un traseu conductiv intre lichid si pamant. Acesta poate fi un tub de imersare conductiv legat la pamant, robinet de fund sau placa metalica la baza cisternei.
c) la cisternele in care poate intra o persoana (de exemplu pentru curatare) trebuie luate masuri de precautie pentru a se preveni incarcarea persoanei.
Criterii pentru disiparea electricitatii statice
Consideratii de baza
Cea mai eficienta metoda de a evita pericolele datorate electricitatii statice este aceea de a lega toti conductorii (elemente conductoare) intre ei si apoi la pamant. Astfel se va evita problema cea mai frecvent intalnita si anume aceea de acumulare de sarcina pe un element conductor si apoi de eliberare a intregii sarcini stocate sub forma unei singure scantei la pamant sau catre un alt element conductor.
De asemenea rezistentele cailor electrice trebuie sa fie suficient de mici pentru a permite relaxarea sarcinilor si pentru a preveni incarcarea elementului conductor pana la un nivel periculos de potential. Daca notam acest potential cu V, valoarea maxima permisa a rezistentei R depinde de valoarea sarcinii elementului conductor, de exemplu de curentul de incarcare I.
Atat in cazul legarii la pamant cat si a elementelor componente intre ele, se aplica aceleasi criterii si in ambele cazuri rezistenta totala de legare la pamant nu trebuie sa depaseasca un maxim acceptabil dat de relatia: V = I R.
Spre exemplu o descarcare de tip incendiar are loc atunci cand sunt indeplinite doua conditii:
- rezistenta campului datorata potentialului elementului conductor depaseste rezistenta de strapungere a atmosferei; si
- energia eliberata sub forma de scanteie depaseste energia minima de aprindere a oricarui material inflamabil prezent.
Cu putine exceptii legarea la pamant ar trebui sa previna toate descarcarile de tip incendiar. Pentru a putea realiza acest lucru este necesar sa se asigure ca elementul conductor nu atinge potentialul necesar pentru a initia o descarcare de tip incendiar. Pentru operatiile industriale tipice acest potential este de 300 V. Utilizand insa valoarea de 100 V ca valoare limita pentru o disipare in conditii de siguranta a electricitatii statice, poate fi calculata valoarea lui R, rezistenta totala de legare la pamant.
Atunci cand se specifica cerintele de legare la pamant pentru fiecare situatie in parte, de exemplu fiecare valoare individuala a curentului de incarcare I, aceste cerinte trebuie luate in considerare. Deoarece se stie ca curentii de incarcare se situeaza pe o plaja cuprinsa intre 10-11 A si 10-4 A, valorile corespunzatoare ale lui R sunt cuprinse intre 1013 W si 106 W
Pentru o valoare maxima a lui I, o rezistenta de legare la pamant de 106 W va asigura o disipare in conditii sigure a electricitatii statice in toate conditiile. Totusi in majoritatea situatiilor I nu depaseste 10-6 A, o rezistenta de legare la pamant fiind adecvata, in special atunci cand capacitatea elementului conductor nu depaseste 100 pF.
Trebuie insa sa se faca o distinctie clara intre valoarea aleasa si valoarea de 106 W care reprezinta limita superioara a rezistentei de legare la pamant a unui element conductor in toate situatiile.
BIBLIOGRAFIE
1. XXX HG 752/14.05.2004 privind stabilirea conditiilor pentru introducerea pe piata a echipamentelor si sistemelor protectoare destinate utilizarii in atmosfere potential explozive - Anexa 2
2. XXX Performance specification for underground pipeworksystems at petrol filling stations - The Institute of petroleum. Nov.1995
3. XXX L'electricite statique. Risque -Mesures de prevention. ED 507 INRS.
4. SR EN 60079-10:2004 "Aparatura electrica pentru atmosfere explozive gazoase. Partea 10: Clasificarea ariilor periculoase".
5. S.A.Bobrovschi, Protectia impotriva electricitatii statice in industria petrolului.
E. I. lacovlev Moscova, NEDRA 1983
6. BS 5958:Part 1:1991 "Code of practice for Control of undesirabile static electricity General considerations
7. BS 5958:Part 2:1991 "Code of practice for Control of undesirabile static electricity Recommendations for particular industrial situations
8. SR EN 14125:2005 "Conducte din materiale termoplastice ingropate si conducte metalice flexibile pentru statiile de combustibil".
9. CENELEC TC 31 (sec)388, iunie 2003: CLC/TR 50404 Electrostatics. Code of Practice for the avoidance of hazards due to static electricity.
10. SR EN 13463-1:2003 "Echipamente neelectrice pentru atmosfere potential explozive Partea 1 : Metoda si cerinte de baza".
11. SR EN 1127-1:2003 "Atmosfere explozive. Prevenirea si protectia la explozii. Partea 1. Concepte fundamentale si metodologie".
12. SR EN 1360:2005 "Furtunuri si furtunuri cu racorduri la capete si materiale plastice pentru sistemele de dozare a carburantilor la distribuire. Specificatie".
Copyright © 2025 - Toate drepturile rezervate
| Instalatii | |||
|
|||
|
| |||
|
| |||
|
|
|||