![]()  |  Aeronautica | Comunicatii | Constructii | Electronica | Navigatie | Pompieri | 
| Tehnica mecanica | 
APARATE PENTRU REGLAREA DEBITULUI
1. ROLUL APARATAJULUI HIDRAULIC PENTRU REGLAREA DEBITULUI
1.1. Definitie si scop
Aparatele hidraulice pentru reglarea debitului- in sensul geneneral denumite si ventile sau supape de debit- se intrebuinteaza in circuitele hidraulice pentru a regla la o valoare fixa debitul dar si pentru a-l mentine la o valoare constanta indiferent de variatia fortei rezistente a unui motor hidraulic liniar ( cilindru ) sau rotativ. Variatia debitului se efectueaza prin modificarea sectiunii de curgere prin care trece uleiul hidraulic. In functie de constructia aparatului in cazul reglarii debitului se intalnesc urmatoarele cazuri:
¾ debit dependent de variatia presiunii si variatia viscozitatii;
¾ debit dependent de variatia presiunii si independent de variatia viscozitatii;
¾ debit independent de variatia presiunii si variatia viscozitatii;
¾ debit independent de variatia presiunii si dependent de variatia viscozitatii
1.2. Clasificare apatatelor de reglare al debitului din punct de vedere functional
Din punct de vedere al functiei aparatele de debit se clasifica in drosele si regulatoare de debit.
1.2.1. Drosele, descriere, functionare si simbolizare
1.2.1.1. Drosele fixe ( duze si diafragme )
In instalatiile hidraulice din categoria droselelor fixe cel mai des utilizate sunt duzele care sunt piese relativ simple cu diametrul gaurii mic si lungime relativ mare. Duza - figura 5.71. - se monteaza in corpul unui aparat hidraulic, in parti mobile ( supapa) etc.
| 
   
   
  |  
   Simbolul grafic Conform ISO 1219 
  | 
 
| 
   Figura 5.71. Duza - rezistenta fixa dependenta de variatia viscozitatii si a presiunii  | 
 |
Duza in instalatiile hidrauluice are urmatoarele scopuri:
¾ alimentarea cu un anumit debit un circuit hidraulic;
¾ franarea unui element in miscare;
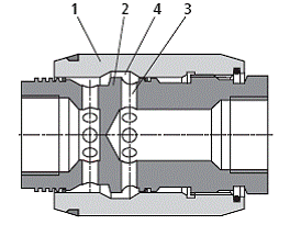
In figura 5.72 este prazentata o supapa de presiune pilotata in care se intalnesc ambele cazuri:
| 
   
  | 
 
| 
   Figura 5.72. Supapa de presiune pilotata  | 
 
Duza 3.1 are rolul de a limita la o valoare redusa debitul care este vehiculat de pilotul supapei. Acest debit trebuie sa aiba o valoare mica deoarece in timpul functionarii supapei acesta este deversat la bazin si in consecinta se pierde. Duza 3.3 are rolul de franare al supapei principale atat la deschidere cat si la inchiderea circuitului A - B. Rolul de franare este cauzat de curgere lichidului in ambele sensuri prin orificiul de dimensiuni mici ale duzei.
La unele tipuri de supape duza se afla montata in sertarul supapei principale ca in figura 5.73
| 
   
  | 
 
| 
   Figura 5.73. Amplasarea duzei in supapa principala  | 
 
Dezavantajul folosirii duzei intr-o instalatie consta in incalzirea uleiului ca urmare a frecarii lichidului cu pereti, determinand o cadere de presiune ridicata. Debitul este astfel dependent de vascozitate si temperatura.
1.2.1.2. Drosele ( rezistente hidraulice ) reglabile de traseu
Droselele de traseu, figura 5.74, sunt aparate simple, manevreabile care se monteaza pe tevi cu ajutorul racordurilor filetate si care regleaza debitul avand ca scop final reglarea vitezelor de deplasare ale organelor de executie - cilindri hidraulici si motoarelor rotative.
| 
   
  | 
 
| 
   Fig.5.74. Drosele de traseu Dn6Dn32 - firma Rexroth  | 
 
Acest tip de rezistente se caracterizeaza prin faptul ca suprafata de curgere se poate regla prin modificarea sectiunii de curgere, aceasta fiind marimea cea mai usor de controlat. Variatia sectiunii se realizeaza, de regula, prin deplasarea a doua elemente componente una in raport de cealalta figurile 5.75 si 5.76.
In figura 5.75 este prezentata constructia unui drosel simplu cu droselizare in ambele sensuri. Daca debitul intra prin racordul din dreapta, lichidul ajunge prin orificiile radiale 3 ale piesei fixe 2 in camera concentrica a mansonului 4, circula prin celelalte orificii radiale si apoi ajunge in racordul de iesire. Prin rotirea mansonului spre dreapta, sectiunea de curgere se micsoreaza si implicit debitul scade, rotind in sens invers debitul creste.
| 
   
  |  
   
   1- manson 2- cupla fixa 3- orificii radiale 4- suprafata de droselizare  |  
   Simbolul grafic Conform ISO 1219 
  | 
 
| 
   Fig. 5.75. Drosel de traseu tip MG - Rexroth  | 
 ||
In cazul cand este prevazut cu o supapa de sens ca in figura 5.76 droselizarea se face intr-un singur sens, in celalalt sens de curgere debitul curge liber, aparatul fiind cunoscut sub denumirea de drosel de cale.
| 
   
  |  
   
   1- manson 2- cupla fixa 3-orificii radiale 4- suprafata de droselizare 5-supapa de sens  |  
   Simbolul grafic Conform ISO 1219 
  | 
 
| 
   Fig. 5.76. Drosel de traseu cu supapa de sens (de cale), tip MK - Rexroth  | 
 ||
Parametri de lucru pentru aceste aparate sunt:
¾ diametrul nominal: 6102;
¾ debitul maxim: 3000 l/min;
¾ presiunea maxima: 315 bar;
In figura 5.77 este prezentata o schema hidraulica in care se observa rolul functional al droselului de traseu simplu sau cu supapa de sens. Aceste aparate se utilizeaza in aplicatiile unde fortele la tija cilindrului variaza putin ( sarcina constanta) sau este permisa o variatie a vitezei in functie de presiunea de la racordul de iesire al droselului. Cilindru din figura de mai jos ridica si coboara o greutate constanta iar variatia vitezei tijei cilindrului nu are niciun efect negativ.
| 
   
  |  
   Elementele schemei hidraulice PH - pompa hidraulica Ss - supapa de siguranta DR2T- drosel de traseu DE - distribuitor hidraulic cu actionare electrica CH - cilindru hidraulic Man - manometru G - greutate M -motor electric  | 
 
| 
   Fig.5.77. Utilizarea droselului de traseu  | 
 |
1.2.1.3. Drosele reglabile ( cartus ) pentru montaj in bloc
Aceasta constructie a fost conceputa pentru a fi montata in blocuri si din acest motiv nu are corp, figura 5.78. In bucsa prevazuta cu flansa de fixare se monteaza subansamblu drosel- supapa de sens- figura 5.79. care constituite sistemul de reglaj al debitului.
| 
   
  |  
   
  | 
 
| 
   Fig.5.78. Droselul de cale tip cartus  |  
   Fig.5.79. Sistem de reglaj debit  | 
 
Elementele componente ale droselului de cale pentru montaj in bloc sunt prezentate in figura 5.80. Directia de droselizare este de la A la B iar sensul de curgere liber este de la B la A prin supapa de sens. Sectiunea de droselizare este formata de boltul de strangulare 4 cu degajarea circulara 7 si bucsa 5.
La rotirea capului de reglare 3, boltul de strangulare 4 se deplaseaza vertical modificand sectiunea de curgere de la A la B. Bucsa 5 este apasata pe bucsa de montaj de diferenta de presiune intre A si B. Cand debitul curge de la B la A bucsa 5 se ridica iar debitul curge liber de la B la A.
| 
   
  |  
   
   1- bucsa de montaj 2- bucsa filetata 3- cap de reglare 4- bolt de stran gulare 5- bucsa - supapa de sens 6- arc de compresiune  |  
   Simbolul grafic Conform ISO 1219 B 
  | 
 
| 
   Fig. 5.80. Drosel cu supapa de sens pentru montaj in bloc - Rexroth  | 
 ||
Parametri de lucru pentru aceste aparate sunt:
¾ diametrul nominal: 10,20 si 30
¾ debitul maxim: 400 l/min;
¾ presiunea maxima: 315 bar;
1.2.1.4. Drosele de cale reglabile pentru montaj modular
Droselele de cale modulare, figurile 5.81 si 5.82 sunt aparatele realizate prin montarea simetric, in aceiasi placa, pe circuitele A si B a doua cartuse de strangularere si a unor supape de sens, cu scopul de a modifica sectiunea de curgere si implicit a debitului, avand ca urmare reglarea vitezei la cilindri hidraulici sau motoare rotative.
| 
   
  |  
   
  | 
 
| 
   Fig.5.81. Drosel de cale modular Dn 10  |  
   Fig.5.82. Drosel de cale modular Dn 25  | 
 
Droselele modulare se monteaza intre suprafetele de asezare a doua aparate hidraulice in montaj cunoscut si sub denumirea de ,,sandwich". Constructia droselelor modulare Dn 10 este similara cu cea a droselelor Dn 6. Aceste aparate mai au si rolul de a regla timpul de comutare al distribuitoarelor cu comanda electrohidraulica.
| 
   
  | 
 
| 
   Fig.5.83. Drosel de cale modular Dn 10 - cod Z2FS  | 
 
| 
   1 - suprafata de curgere reglata 2 - scaun drosel 3.1, 3.2 - piston drosel 4- surub de reglare 5- canal de echlibrare presiuni 6- suprafata pistonului - drosel 7 - arc  |  
   Simbolul grafic Suprafata de montaj a distribuitorului 
 Suprafata de montaj pe bloc  | 
 
Debitul intra in drosel prin orificiul A1 al droselului iar o cantitate foarte mica prin orificiul 5 in camera arcului astfel incat presiunea exercitata pe suprafata 6 si arcul apasa droselul spre dreapta intr-o pozitie fixa. In pozitia de reglaj 1 debitul curge strangulat prin suprafata delimitata de scaunul de asezare 1 si droselul piston 2. Debitul droselizat in sensul de curgere A1 - A2 intra in cilindru hidraulic iar cel evacuat intra in drosel prin gaura B2.
O cantitate mica de ulei sub presiune patrunde prin gaura inclinata exercita pe suprafata pistonului drosel 3.2, il deplaseaza contra arcului spre dreapta iar debitul circula spre distribuitor liber, nedroselizat pe circuitul B2-B1.
In figura 5.84 este prezentata constructia unui drosel de cale modular Dn 22 care este similara cu cea a droselului modular, functionarea fiind identica.
| 
   
 Fig.5.84. Drosel de cale modular Dn 25 - cod Z2FS22  | 
 |
| 
   
   1 - suprafata reglata a droselului 2 - canal de echlibrare presiuni 3 - camera arcului 4.1 si 4.2 drosel- piston 5- surub de reglare  |  
   Simbolul grafic Suprafata de montaj a distribuitorului 
 Suprafata de montaj pe bloc  | 
 
Aceiasi constructie de drosel modular se foloseste pentru ambele variante de droselizare - pe intrare sau pe iesire pentru dimensiunile Dn6 si Dn10:
- la marimea Dn 6 schimbarea modului de droselizare se face prin montarea aparatului rotit cu 180º in raport cu axa longitudinala;
- la marimea Dn 10 se face prin montarea aparatului rotit cu 180º in raport cu axa transversala;
Acest montaj este posibil deoarece inelele O nu sunt montate in corp, locasele lor fiind intr-o placa plana amovibila.
1.2.2. Regulatoare de debit, descriere, functionare si simbolizare
Asigurarea unui debit constant, concretizata prin asigurarea stabilitatii acceptabile a vitezei unui cilindru in cazul reglarii prin drosel este foarte importanta in cazul unui proces tehnologic. Pentru ca debitul reglat sa ramana constant trebuie ca diferenta dintre presiunea de intrare si cea de iesire sa nu se modifice indiferent de variatia sarcinii la motorul hidraulic.
Pentru asigurarea acestei conditii, droselul trebuie sa functioneze cuplat cu o supapa stabilizatoare rezultand astfel un nou aparat denumit regulator de debit, figura 5.85. Dupa numarul de orificii pe care regulatorul le utilizeaza se deosebesc regulatoare cu doua cai si regulatoare cu trei cai. La aceste aparate debitul este independent de variatia viscozitatii si variatia sarcinii (presiunii la consumator)

 
Fig.5.85. Regulatoare pentru debit Dn6, Dn10 petru montaj pe placa
1.2.2.1. Regulator debit cu doua cai
Mentinerea diferentei de presiune constanta intre orficiul de intrare A si cel de iesire B se realizeaza cu ajutorul pistonului de reglaj 4 denumit si balanta de presiune, ca loc de strangulare mobil - figura 5.86. Arcul 5 apasa pistonul in directia de deschidere si il mentine in pozitia initiala atat timp cat debitul nu circula prin regulator. In timpul functionarii aparatului, cand lichidul curge de la A la B pistonul se deplaseaza pana cand din punct de vedere al fortelor dezvoltate pe capetele acestuia ajunge in echilibru. Conditia de echilibru arata ca in zona de droselizare exista in permanenta o cadere de presiune corespunzatoare fortei arcului de compresiune. Deoarece la arc sageata variaza foarte putin, ca urmare a cursei mici de lucru a pistonului, forta arcului poate fi considerata constanta.
| 
   
  |  
   A- racordintrare B- racordde iesire 1- corpul regulatorului 2- drosel reglabil 3- bucsa de obturare 4- piston de reglaj 5- arc 6- supapa de sens 7- canal de echilibrare 8- priza de presiune iesire  |  
   
   
   Simbol grafic 
  | 
 
| 
   Fig.5.86. Regulator de debit cu doua cai Dn 10 pentru montaj pe placa  | 
 ||
Parametri de lucru pentru regulatoarele de debit cu doua cai pentru placa sunt:
¾ diametrul nominal: 6, 10, 16
¾ debitul maxim: 160 l/min;
¾ presiunea maxima: 315 bar;
Un exemplu de utilizare al regulatorului cu doua cai este prezentat in figura 5.87. Cilindru hidraulic CH actioneaza un cap de gaurit la care viteza de avans trebuie sa fie constanta pe durata fazei. La actionarea distribuitorului, cilindru CH avanseaza cu o viteza constanta indiferent de variatia rezistentei metalului deoarece debitul de la iesire este controlat de regulatorul de debit cu doua cai R2Q. La dezanclansarea electromagnetului debitul circula prin supapa de ocolire a regulatorului retragand cu viteza rapida capul de gaurit.
| 
   
   
  |  
   Elementele schemei hidraulice PH - pompa hidraulica Ss - supapa de siguranta R2Q- regulator de debit cu doua cai DE-distribuitor hidraulic cu actionare electrica CH - cilindru hidraulic Man - manometru M- motor electric  | 
 
| 
   Fig.5.87. Utilizarea regulatorului de debit cu doua cai  | 
 |
1.2.2.2. Regulator cu trei cai
Regulatorul cu trei cai are acelasi rol functional ca si cel cu doua cai, singura deosebire fiind existenta in plus a racordului de legatura cu rezervorul T. Pistonul de reglaj 1 este montat in asa fel incat o parte din debitul pompei care nu este necesar in instalatie, sa fie evacuat spre rezervor prin muchia de comanda 2, figura 5.88. Acest tip de aparat are avantajul ca pompa functioneaza numai pentru invingerea fortelor rezistente ale motoarelor hidraulice si a diferentei de presiune din regulator. Regulatorul cu trei cai se monteaza numai pe conducta de intrare in consumator, deoarece in cazul montarii pe conducta de iesire in unele cazuri se comporta ca o supapa normal-inchisa care comunica cu bazinul, miscarea devenind necontrolata pentru motorul hidraulic.
| 
   
  |  
   A- racord intrare B- racord de iesire T- racord conectare la bazin X - racord descarcare sarcina. 1- corpul regulatorului 2- muchie de comanda 3- supapa de suprapresiune  |  
   
   Simbolul grafic 
  | 
 
| 
   Fig.5.88. Regulator de debit trei cai Dn 10 pentru montaj pe placa  | 
 ||
Parametri de lucru pentru regulatoarele de debit cu trei cai pentru placa sunt:
¾ diametrul nominal: 10 si 16
¾ debitul maxim: 160 l/min;
¾ presiunea maxima: 315 bar;
In figura 5.89 este prezentata o schema in care este utilizat un regulator cu trei cai unde este inlocuit distribuitorul care comanda ridicarea si coborarea cilindrului hidraulic, CH. Pompa PH furnizeaza debitul necesar ridicarii sarcinii la o viteza reglata ,vr de regulatorul cu trei cai R3Q.
Debitul excedentar este evacuat prin orificiul T. Pentru coborare se actioneaza distribuitorul DE care leaga camera arcului cu rezervorul, avand ca efect descarcarea pompei. Viteza de coborare a cilindrului, vc este reglara de droselul DR.
| 
   
  |  
   Elementele schemei hidraulice PH - pompa hidraulica Ss - supapa de siguranta R3Q- regulator de debit cu trei cai DE-distribuitor hidraulic cu comanda electrica CH - cilindru hidraulic DR- drosel G - sarcina Man -manonetru M - motor electric  | 
 
| 
   Fig.5.89. Utilizarea regulatorului de debit cu trei cai  | 
 |
Ca urmare a limitelor de utilizare a regulatoarelor de debit cu trei cai aceste aparate au fost scoase din fabricatie de firmele specializate in domeniul hidraulic.
1.3. Montajul in instalatia hidraulica
Din punct de vedere al fixarii aparatelor de reglare in instalatii, in functie de constructie acestea se conecteza pe tevi prin racorduri filetate, pe placa cu suruburi, in alezaj executat in bloc (cartus) si modular - montaj intre un alt tip de aparat si bloc.
Din punct de vedere al circuitului pe care este montat in raport cu consumatorul, se deosebesc urmatoarele variante: pe intrare, pe iesire, in derivatie pe circuitul de bazin.
1.3.1. Montaj pe circuitul de intrare
La acest tip de montaj reglarea debitului se face pe intrarea in cosumator (motorul hidraulic) iar iesirea se va face liber sau prin supapa de sens. In figurile 5.90 si 5.91 sunt prezentate doua scheme de utilizare cu un drosel modular si de traseu la care droselizarea se face pe intrare.
| 
   
  |  
   
   Elementele schemei hidraulice CH - cilindru hidraulic DRIM - drosel de cale modular DE-distribuitor hidraulic cu comanda electrica  | 
 
| 
   Fig.5.90. Utilizarea droselului de cale, modular pe intrare  | 
 |
| 
   
  |  
   Elementele schemei hidraulice PH - pompa hidraulica Ss - supapa de siguranta DE-distribuitor hidraulic cu comanda electrica CH - cilindru hidraulic M - motor electric DR1T- drosel de traseu Man -manonetru  | 
 
| 
   Fig.5.91. Utilizarea droselului de traseu pe intrare  | 
 |
In schemele de mai sus se observa ca presiunea care intra in cilindru hidrauluic este diminuata ca urmare a caderii de presiune din drosel, rezultand o incalzire a mediului hidrauluic si implicit o modificare a viscozitatii. Un alt dezavantaj il constituie faptul ca pe circuitul de evacuare nu exista o contrapresiune, cauza care conduce la marirea gradului de neuniformitate al vitezei elementului de executie.
1.3.2. Montaj pe circuitul de iesire
Debitul intra in cilindru hidraulic prin supapa de sens iar la iesire se modifica sectiunea de curgere prin droselizare. In figura 5.92 este prezentat un drosel modular care se monteaza intre placa si distribuitor, o varianta des utilizata in instalatiile hidraulice.
| 
   
  |  
   
   Elementele schemei hidraulice CH - cilindru hidraulic DRIM - drosel de cale modular DE-distribuitor hidraulic cu comanda electric  | 
 
| 
   Fig.5.92. Utilizarea droselului de cale, modular pe iesire  | 
 |
O varianta de droselizare pe circuitul de iesire este prevazuta in schema hidraulica din figura 5.93 in care este prvazut un drosel de traseu.
| 
   
  |  
   Elementele schemei hidraulice PH - pompa hidraulica Ss - supapa de siguranta DE-distribuitor hidraulic cu comanda electrica CH - cilindru hidraulic M - motor electic DR1T- drosel de traseu Man - manonetru  | 
 
| 
   Fig.5.93. Utilizarea droselului de traseu pe iesire  | 
 |
Droselizarea pe circuitul de iesire este o solutie tehnica des utilzata in sistemele hidraulice deoarece are avantajul de a disipa spre rezervor caldura rezultata din strangulare. Un alt avantaj consta in aceea ca aceasta varianta de montaj ofera posibiltatea de a lucra cu sarcina negativa, fapt foarte important in unele procese tehnologice dar si in fenomenul de ameliorare a stabilitatii vitezei de lucru.
1.3.3. Montaj pe circuit in derivatie ( bazin)
Dezavantajul principal al schemelor din figurile 5.92 si 5.93 consta in randamentul scazut al acestora mai ales cand se foloseste la viteze mici iar diferenta dintre debitul pompei si debitul reglat de drosel este mare.
In cazul montajului in derivatie, figura 5.94, debitul refulat de pompa se ramifica spre motorul hidraulic si drosel. Cand droselul este inchis complet viteza elementului de executie este maxima, cand este deschis, viteza este redusa. Puterea consumata este in functie de reglajul droselului, solutia tehnica este economica, randamentul fiind mai mare. Schema se utilizeaza pentru viteze mici de deplasare.
| 
   
  |  
   Elementele schemei hidraulice PH - pompa hidraulica Ss - supapa de siguranta DE-distribuitor hidraulic cu comanda electrica CH - cilindru hidraulic Man - manometru DR2T- drosel de traseu M-motor electric  | 
 
| 
   Fig.5.94. Utilizarea droselului pe circuit in derivatie  | 
 |
Copyright © 2025 - Toate drepturile rezervate
| Instalatii | |||
  | 
      |||
| 
		 | |||
| 
	 | |||
| 
 | 
  |||