Home - Rasfoiesc.com
Educatie Sanatate Inginerie Business Familie Hobby Legal
Doar rabdarea si perseverenta in invatare aduce rezultate bune.stiinta, numere naturale, teoreme, multimi, calcule, ecuatii, sisteme




Biologie Chimie Didactica Fizica Geografie Informatica
Istorie Literatura Matematica Psihologie

Calculatoare


Index » educatie » » informatica » Calculatoare
» Sistemul de pregatire UV - Heidelberg


Sistemul de pregatire UV - Heidelberg


Sistemul de pregatire UV - Heidelberg

Componentele UV - indicatii de securitate



De respectat la toate lucrarile

Avertizare - pericol de explozie provocat de evaporarea solventilor!

La folosirea uscatoarelor, utilizati numai cerneluri si lacuri care nu pot forma prin incalzire un mediu cu capacitate de explozie in uscator. Acest lucru este indicat in fisa cu datele de securitate corespunzatoare. In cazul utilizarii solventilor la masina, asigurati-va ca acestia nu pot patrunde in zona uscatorului. Nu utilizati si nu depozitati solventi in zona uscatorului. In cazul utilizarii instalatiei automate de spalare, setati programul de spalare astfel incat asternuturile din cauciuc si cilindrii de presiune sa fie uscati inainte de continuarea productiei. Astfel se asigura ca solutiile de curatare sa nu ajunga in zona uscatorului.

Incalzirea masinii

Avertizare - suprafete fierbinti!

Asteptati dupa utilizarea uscatorului pana cand toate piesele accesibile s-au racit si sunt la temperatura mainii (aprox. 40 °C).

Alimentarea electrica

Avertizare - pericol de moarte provocat de tensiunea electrica

Uscatoarele lucreaza cu tensiuni de lucru foarte mari. Asigurati masina si uscatoarele impotriva pornirii, inainte de inceperea tuturor lucrarilor de intretinere curenta la uscator: Pozitionati comutatoarele principale pe 0/Off si blocati-le cu cate un lacat. Fixati o placuta indicatoare cu numele persoanei care este autorizata sa conecteze din nou comutatoarele principale. Nu atingeti si nu scoateti niciodata fisele conexiunilor electrice daca uscatorul este in functiune. Protejati fisele conexiunilor electrice impotriva umiditatii, murdariei si deteriorarilor. Conductorii de alimentare, fisele si izolatiile deteriorate vor fi reparate numai de catre personalul de specialitate, in conditiile utilizarii pieselor de schimb originale.

Masurile de protectie la masinile UV

Aparatorile de la masina

Fig.     Aparatoarea intermediara
 [GS.901.1603-000GRAUND_00] 

Aparatori intermediare

Aparatorile intermediare dintre grupurile de imprimare (fig.  /4) acopera fanta spre peretele lateral.

Capacul (fig.  /3) de deasupra degajarii uscatorului in aparatoarea intermediara trebuie folosit daca nu este montat niciun uscator.

Capacul din aparatoarea intermediara este asigurat electric. Daca capacul este scos, este posibil numai un regim de tatonare cu cursa limitata

Folia de teflon

Fanta (fig.  /2) dintre aparatoarea intermediara (fig.  si aparatoarea din fata instalatiei de spalare (fig.  /1) este acoperita cu o folie de teflon insurubata ferm.

Fig. Tabla de protectie impotriva radiatiilor
din canalul cilindrului
[GS.901.1605-000GRAUND_00]

Fig.     Tabla de protectie impotriva radiatiilor
deasupra cilindrului de transfer 2
 [GS.901.1606-000GRAUND_00] 

Tablele de protectie impotriva radiatiilor de la cilindrul de transfer 2

Pentru protectia impotriva radiatiei disperse s-a montat o tabla de protectie impotriva radiatiilor (fig.  /1) in canalele cilindrului de transfer 2.

Pentru a evita uscarea cernelii pe cilindrul de transfer 1 (fig.  si pe cilindrul de presiune datorita radiatiei uscatorului, a fost prevazuta deasupra cilindrului de transfer 2 (fig.  /2) o tabla de protectie demontabila impotriva radiatiilor (fig. 

Imbracamintea de protectie si de lucru

Evitati contactul direct al pielii cu cernelurile UV, lacurile UV, solutiile de spalare si solventi. Aceste substante pot fi nocive pentru sanatate. Purtati de aceea intotdeauna manusi de protectie. Purtati ochelari de protectie daca manevrati cu solutii de spalare UV si lacuri. Indepartati imediat orice murdarie de pe piele.

Cernelurile UV si lacurile UV se intaresc numai prin efectul luminii UV. Daca imbracamintea dumneavoastra de lucru este murdara, trebuie sa o schimbati si sa o spalati temeinic. In caz contrar, resturile de cerneluri UV si lacuri UV pot patrunde prin difuzie in haine si pot intra in contact cu pielea. Spalati intotdeauna separat hainele murdarite. Pastrati imbracamintea de lucru pentru cernelurile UV separat de celelalte obiecte de imbracaminte.

Posturile de lucru la masina

Fig. Caseta de conexiuni  [GS.901.1602-000GRAUND_00]

Pentru uscatoarele UV intermediare se afla pe suprafata de calcare la GI pe P.A. o caseta de conexiuni (fig.  /1). Accesul in aceasta caseta de conexiuni este interzis. Accesul este permis numai in zonele masinii care sunt construite ca suprafete de calcare (tabla striata

Solutiile de spalare

Fig. Cuva de depunere  [GS.901.1600-000GRAUND_00]

Utilizati numai solutiile de spalare speciale validate de societatea FOGRA pentru cerinte UV, cu o temperatura de aprindere mai mare de 55 °C.

Nu amestecati solutiile de spalare UV si solutiile de spalare normale.

La curatarea masinii purtati manusi de protectie si ochelari de protectie corespunzatori.

Nu utilizati solutiile de spalare UV in niciun caz pentru curatarea pieselor lacuite ale masinii sau a materialelor nerezistente UV (de ex. valturile de cerneala standard, asternuturile din cauciuc standard, instalatia de spalare pentru asternutul din cauciuc si pentru valturile de cerneala). Asezati lavetele si carpele numai in cuva de depunere (fig.  /1) la grupurile de imprimare pe P.A.

Dupa curatarea cu solutii de spalare UV: Pentru a evita deteriorarea suprafetelor metalice lustruite, nefinisate datorita solutiilor de spalare, utilizati numai o carpa umectata cu ulei sau unsoare pentru ingrijirea masinii.

Pentru a nu deteriora componentele din cauciuc (precum tampoane de cauciuc), evitati orice contact cu solutiile de spalare UV.

Nu utilizati solutii de spalare cu continut de clor la masinile UV.

Nu depozitati niciodata solutii de spalare cu continut de clor in apropierea masinii dumneavoastra UV.

Curatarea manuala in zona uscatorului UV

Deconectati uscatoarele UV in vederea curatarii.

Inainte de a incepe curatarea, lasati uscatorul UV sa se raceasca timp de 10 minute.

La curatarea in zona uscatorului UV se formeaza vapori care pot exploda. Dupa curatarea uscatorului, asteptati 10 minute inainte de a pune masina din nou in functiune. Vaporii trebuie sa se volatilizeze mai intai.

Componentele UV/modul mixt

Prin modul mixt se intelege faptul ca masina este utilizata conventional sau in regimul functional UV.

Pentru utilizarea in modul mixt se livreaza 2 raclete de spalare pentru grupul de cerneala, o racleta de spalare este marcata cu literele "UV".

Atentie - deteriorarea racletei de spalare!

Racleta de spalare nemarcata nu poate fi utilizata in regimul functional UV.

Este disponibila o instalatie de spalare pentru asternutul din cauciuc speciala pentru regimul functional UV sub forma de accesoriu special. Aceasta instalatie de spalare pentru asternutul din cauciuc este marcata prin literele "UV" pe peretele lateral P.O. Lama de cauciuc a sistemului de presare pentru asternutul de spalare este totodata fatetata unilateral.

Atentie - pericol de deteriorare a masinii!

Daca lucrati in modul mixt (cerneluri UV si cerneluri conventionale), inainte de trecerea pe alt regim, respectati urmatoarele: Utilizati numai solutii de curatare care sunt adecvate pentru modul de operare (UV sau conventional) respectiv. Inainte de schimbarea solutiilor de curatare, recipientul cu solutie de spalare si conductele de alimentare a instalatiilor de spalare trebuie sa fie golite complet. In caz de nerespectare se pot produce deteriorari asupra masinii, deoarece solutiile de curatare reactioneaza intre ele putand infunda conductele de alimentare, supapele si filtrele. Utilizati in regimul functional UV numai solutiile de curatare speciale adecvate pentru regimul functional UV sau modul mixt - instalatiile de spalare a valturilor de cerneala si de umezire pentru asternutul din cauciuc si valturile de cerneala

Daca operati masina in modul mixt, gasiti mai multe detalii la capitolul "Reechiparea masinii pentru prelucrarea cernelurilor UV si lacurilor UV".

Reechiparea masinii pentru prelucrarea cernelurilor UV si lacurilor UV

Indicatie de securitate

In acest capitol este descris procesul de reechipare a ansamblurilor constructive individuale (grup de imprimare, grup de cerneala, grup de umezire) pentru regimul functional conventional si regimul functional UV.

Conditie

Puteti opera masina in modul mixt numai daca masina a fost deja echipata din fabricatie cu asa numitul "sistem de pregatire UV".

La utilizarea cernelurilor UV, trebuie sa tineti cont de urmatoarele:

Atentie - deteriorarea instalatiilor de spalare!

Solutiile de spalare UV si solutiile de spalare conventionale reactioneaza impreuna si pot infunda alimentarea cu solutie de spalare. Inainte de schimbarea tipului de solutie de spalare, trebuie sa goliti complet recipientul cu solutie de spalare si conductele de alimentare ale instalatiilor de spalare.

Instalatiile de spalare:
Exist
a doua instalatii de spalare, una pentru solutii de spalare conventionale si una pentru solutii de spalare UV. Racleta de spalare si instalatia de spalare pentru asternutul din cauciuc pentru regimul functional UV sunt marcate cu caracterele "UV". Instalatia de spalare pentru asternutul din cauciuc pentru regimul functional UV este un accesoriu special

In caz de folosire a solutiilor de spalare UV, utilizati instalatiile de spalare UV adecvate. Instalatiile de spalare conventionale se deterioreaza la utilizarea solutiilor de spalare UV. Este necesara o adaptare exacta a programului de spalare la solutia de spalare UV.

Solutia de spalare:
Utiliza
ti numai solutiile de spalare speciale validate de societatea FOGRA pentru cerinte UV, cu o temperatura de aprindere mai mare de 55 °C. Detalii gasiti la pagina de internet a societatii FOGRA la www.fogra.de

In cazul in care doriti sa operati masina in regimul functional UV, trebuie sa montati obligatoriu instalatiile de protectie pentru regimul functional UV:

Tabla de protectie impotriva radiatiilor deasupra cilindrului de transfer 2.

Grupul de imprimare

Fig.     Tabla de acoperire din aparatoarea
intermediar
a  [GS.901.1601-000GRAUND_00] 

Fig.     Tabla de protectie impotriva radiatiilor
 [GS.901.1607-000GRAUND_00] 

Reechiparea pentru regimul functional conventional

In aparatoarea intermediara (fig.  /4) deasupra cilindrilor de transfer I se afla o degajare pentru uscatorul UV intermediar. Aceasta degajare trebuie sa fie acoperita cu tabla de acoperire (fig.  /1), atunci cand uscatorul nu este montat. Montarea tablei de acoperire/ uscatorului este monitorizata electric.

Indicatie

Montati sau demontati tabla de acoperire si uscatorul intotdeauna de pe P.A.!

Demontati uscatorul intermediar conform indicatiilor din manualul de utilizare al producatorului uscatorului.

Locasul de prindere a tablei de acoperire (fig.  /3) se afla intotdeauna pe P.A. Asezati tabla de acoperire (fig.  /1) pe degajarea din aparatoarea intermediara si impingeti-o pana la limita spre P.O.

Depuneti tabla de acoperire pe P.A. si blocati inchizatorul (fig. 

Daca doriti sa extrageti tabla de protectie impotriva radiatiilor (fig.  /3) deasupra cilindrului de transfer 2, deschideti aparatoarea intermediara (fig. 

Scoateti tabla de protectie impotriva radiatiilor (fig.  /3) de pe traversa (fig. 

Inchideti aparatoarea intermediara deasupra cilindrului de transfer 2.

Fig.     Tabla de acoperire din aparatoarea
intermediar
a  [GS.901.1601-000GRAUND_00] 

Fig.     Montarea tablei de protectie impotriva
radia
tiilor  [GS.901.1607-000GRAUND_00] 

Reechiparea pentru regimul functional UV

Indicatie

Montati sau demontati tabla de acoperire si uscatorul intotdeauna de pe P.A.!

Apasati butonul de blocare (fig.  /2) din tabla de acoperire spre locasul de prindere (fig. 

Ridicati tabla de acoperire (fig.  /1) pe P.A. si extrageti-o pe aparatoarea intermediara (fig.  /4) spre P.A.

Deschideti aparatoarea intermediara (fig. 

Montati tabla de protectie impotriva radiatiilor (fig.  /3) deasupra cilindrului de transfer 2. Degajarile tablei de protectie impotriva radiatiilor (fig.  /1) trebuie sa se blocheze pe tampoanele din cauciuc ale suporturilor pe P.A. si pe P.O. (fig. 

Inchideti aparatoarea intermediara deasupra cilindrului de transfer 2.

Montati uscatorul conform indicatiilor din manualul de utilizare al producatorului uscatorului.

Grupul de cerneala

La utilizarea cernelurilor UV, trebuie sa tineti cont de urmatoarele:

Valturile de cerneala

Utilizati numai valturile de cerneala care sunt adecvate pentru cernelurile UV. Valturile de cerneala conventionale se deterioreaza prin solutiile de spalare UV.

Folia jgheabului de cerneala

Cernelurile UV uzeaza mai puternic folia jgheabului de cerneala. Trebuie sa verificati si sa reintindeti mai des folia jgheabului de cerneala, respectiv sa inlocuiti folia jgheabului de cerneala. In cazul utilizarii cernelurilor UV, timpul de stationare se reduce la aprox. 20 ore de functionare in fiecare pozitie.

Accesorii speciale recomandate:

Sistemul de agitare a cernelii:

Este un accesoriu recomandat pentru masinile de tiparit cu cerneluri UV. Cernelurile UV au o viscozitate ridicata si se opresc din acest motiv in jgheabul de cerneala. Prin miscarea sistemului de amestecare a cernelii, cerneala UV ramane in stare de curgere.

Sistemul de aspirare a vaporilor de cerneala

Aspira vaporii de cerneala daunatori sanatatii, care pot lua nastere la viteze de tiparire ridicate.

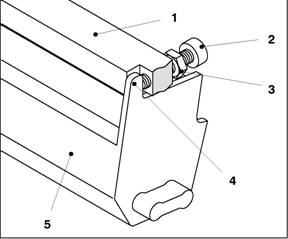
Fig. Suruburile de ajustare pentru racleta
de sp
alare  [GS.901.1613-000GRAUND_00] 

Fig. Surubul de ajustare pe P.O.
 [GS.901.1617-000GRAUND_00] 

Instalatia de spalare pentru valturile de cerneala

Daca operati masina in modul mixt, trebuie sa reajustati racleta de spalare fata de valtul frecator de cerneala la fiecare schimbare de la cerneluri conventionale la cerneluri UV si invers. Lama de cauciuc a racletei de spalare trebuie sa se aseze pe intreaga latime plan pe valtul frecator de cerneala pentru ca sa obtineti un rezultat de spalare corespunzator.

Montati racleta de spalare in modul uzual in masina

Aplicati racleta de spalare (fig.  /5) la valtul frecator de cerneala (fig. 

Controlati daca lama de cauciuc a racletei de spalare se aseaza pe intreaga latime pe valtul frecator de cerneala (fig.  /3). Daca nu, trebuie sa ajustati racleta de spalare fata de valtul frecator de cerneala

In degajarile traversei (fig.  /2) se afla pe partea alimentatorului cu hartie 2 suruburi cilindrice (fig.  /1). Cu aceste suruburi cilindrice puteti sa ajustati racleta de spalare fata de valtul frecator de cerneala

Desfaceti contrapiulita (fig.  /3) de la surubul de ajustare (fig.  /2), de ex. pe P.O.

Rotiti surubul cilindric (fig.  /2) pe P.O. pana cand racleta de spalare se aseaza corect la valtul frecator de cerneala

Reglati distanta dintre surubul cilindric (fig.  si cama (fig.  /4) la racleta de spalare pe valoarea de 0,10,2 mm.

Fixati reglajul surubului cilindric (fig.  /2) cu contrapiulita (fig. 

Ajustati racleta de spalare pe P.A. in acelasi mod.

Verificati pozitia plana a lamei de cauciuc la valtul frecator de cerneala si repetati procedeul de ajustare, daca este cazul.

La fiecare schimbare a racletei de spalare, trebuie sa verificati din nou ajustarea si, daca este cazul, sa o reglati din nou.

Indicatii pentru spalarea manuala a grupului de cerneala

Daca nu aveti o instalatie automata de spalare pentru valturile de cerneala, sunt necesare urmatoarele operatii

comutati grup de cerneala in Flux de cerneala scurt inainte de inceperea procesului de spalare pe Flux de cerneala standard, deoarece racleta de spalare este asezata la grupul de valturi detasate, si

stropiti solutia de spalare cu atentie si intr-o cantitate redusa pe valturi si verificati ca valtul frecator de cerneala A sa fie antrenat in rotatie.

Grupul de umezire

La utilizarea cernelurilor UV, trebuie sa tineti cont de urmatoarele:

Valtul ungator de umezire:

Utilizati numai valturi ungatoare de umezire care sunt adecvate pentru cernelurile UV. Valturile conventionale ungatoare de umezire sunt deteriorate de cernelurile UV.

Fusul valtului ungator de umezire pentru regimul functional UV este marcat cu verde pe P.O.

Solutia de umezire:

Exista aditivi pentru solutia de umezire pentru tiparul pe hartie si speciali pentru tiparul pe folie. La alegerea aditivului dorit, luati in considerare indicatiile producatorului.

Cilindrul de transfer 2

Cadrul de ghidare de deasupra cilindrului de transfer 2

Cadrul de ghidare de pe P.A. este asimetric la masinile cu sistem de pregatire UV. Utilizarea acestui cadru de ghidare este permisa numai pe P.A.

Recomandare

Daca utilizati cadrul de ghidare din nou, trebuie sa introduceti cadrul de ghidare asimetric ultimul.

Inversorul

In regimul functional UV, respectati obligatoriu indicatiile urmatoare:

Pierderea de coli/extragerea colilor de proba

La extragerea colilor pierdute, nu loviti cu coala in carcasa senzorului de langa deschiderea pentru extragerea colilor de proba. Puteti modifica in acest fel ajustarea senzorului.

Bara cu vacuum de la cilindrul de transfer 2:

Sub influenta radiatiei UV, discurile cu sorb de pe bara cu vacuum pot deveni poroase. Acest lucru impune o schimbare prematura a discurilor cu sorb.

Cilindrul de transfer 2:

Evitati orice contact intre solutiile de curatare si suprafetele cilindrului de transfer 2 si ale cilindrului inversor. Suprafetele pot suferi deteriorari sub influenta solutiilor de curatare.

Pericol de coroziune provocat de regimul functional UV

Din cauza regimului functional UV, apare un pericol major de coroziune; de aceea, respectati punctele urmatoare:

Dispozitivele de aspirare de la caseta de conexiune pe P.A. trebuie sa fie racordate corect. In cazul unui montaj incorect al dispozitivului de aspirare, in masina raman vapori care pot produce coroziune.

Inlaturati intotdeauna prompt impuritatile (cerneluri UV si lacuri UV) de pe masina. Resturile de cerneala si de lac de pe masina cauzeaza coroziune.

Piesele metalice fara strat acoperitor, a caror suprafata nu este finisata, vor fi protejate impotriva coroziunii dupa tratarea cu solutii de spalare UV. Tratati aceste suprafete cu o carpa umezita cu ulei sau unsoare.

Utilizati numai solutii de spalare UV recomandate de FOGRA. Alte solutii de spalare care au de exemplu continut de clor cauzeaza coroziuni la masina

Utilizati numai suporturi de imprimare care sunt adecvate pentru utilizarea de uscatoare UV.

Utilizati numai cerneluri, lacuri si alte substante auxiliare care sunt adecvate pentru utilizarea de uscatoare UV

Atentie - pericol major de coroziune in regimul functional UV!

Suporturile de imprimare din PVC reactioneaza sub influenta radiatiei UV a uscatorului. Se formeaza o cantitate mare de particule sau gaze agresive, care duc la intensificarea pericolului de coroziune.

Indicatii de tehnica a tiparirii la utilizarea cernelurilor si lacurilor UV

Termenele de valabilitate si depozitarea cernelurilor si lacurilor UV

Pentru a atinge o utilizabilitate optima a cernelurilor si lacurilor UV, trebuie sa respectati urmatoarele puncte.

Protejati cernelurile si lacurile UV impotriva luminii directe.

Depozitati cernelurile si lacurile UV in locuri racoroase, uscate si intunecoase.

Cernelurile UV au o durata de valabilitate de aprox. 6 luni, daca se depoziteaza la 20 °C.

Lacurile UV au o durata de valabilitate de 3 luni.

Cernelurile UV intarite nu mai pot fi utilizate.

Puterea necesara a uscatorului pentru uscarea cernelii

Puterea selectata a uscatorului trebuie adaptata la job-ul de tiparire. In acest sens, luati in considerare urmatorii parametrii decizionali:

Grosimea stratului de cerneala

Suportul de imprimare

Suprafata suportului de imprimare

Cerneala de tipar

Viteza de productie

Pentru toate domeniile de utilizare exista cerneluri corelate special.

Lacurile UV

Inainte de aplicarea lacului, pelicula de cerneala trebuie sa fie intarita, respectiv uscata. Cu alte cuvinte, trebuie efectuata intotdeauna o uscare intermediara inainte de aplicarea lacului.

Evacuarea deseurilor

Materialul imprimat pe care cerneala nu s-a uscat, lavetele, resturile de cerneala si de solutii de spalare, precum si materialele de filtrare utilizate reprezinta deseuri speciale! Trebuie sa evacuati aceste deseuri in conformitate cu prescriptiile de protectie a mediului si in conformitate cu prevederile legale.





Politica de confidentialitate





Copyright © 2025 - Toate drepturile rezervate

Calculatoare


Access
Adobe photoshop
Autocad
Baze de date
C
Calculatoare
Corel draw
Excel
Foxpro
Html
Internet
Java
Linux
Mathcad
Matlab
Outlook
Pascal
Php
Powerpoint
Retele calculatoare
Sql
Windows
Word






termeni
contact

adauga