|  | Biologie | Chimie | Didactica | Fizica | Geografie | Informatica | 
| Istorie | Literatura | Matematica | Psihologie | 
LABORATOR 5
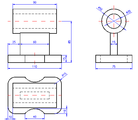
Sa se realizeze desenul piesei figura 1 (reprezentata in trei proiectii ortogonale - vedere din fata, vedere de sus si vedere laterala), folosind comenzile de desenare si editare AutoCAD, cu gruparea diferitele informatii grafice pe layere.
  
 
Fig. 1 - Modelul virtual al piesei pentru aplicatia rezolvata
Se incepe un desen nou selectind New, si la aparitia ferestrei Create New Drawing se opteaza pentru Use a Wizards cu varianta Quick Setup. Se va alege Decimal pentru unitatile de masura si dimensiunile corespunzatoare unui format A3 (420 x 297) pentru limitele desenului.
Folosind comanda Layer, diferitele elemente ale desenului vor fi grupate pe straturi, astfel:
 Command: layer (sau se actioneaza butonul
Command: layer (sau se actioneaza butonul     )
 )
Fig. 2 - Caseta de dialog pentru definirea layer-lor
Avind in vedere ca, AutoCAD-ul este o unealta de desenare flexibila, exista mai multe posibilitati, mai mult sau mai putin eficiente, de a realiza chiar si un simplu desen. Din acest motiv, exemplul propus in continuare isi propune sa prezinte o singura cale de realizare a desenului respectiv.
Astfel, stabilind stratul Contur ca strat curent, se traseaza dreptunghiurile minime de incadrare al celor trei proiectii, conform relatiilor existente intre acestea si avind dimensiunile de gabarit ale piesei (L = 110, l = 75, h = 110). Se va avea grija ca, intre dreptunghiuri, sa se lase spatiu suficient pentru inscrierea cotelor. Pentru a pastra corespondenta dintre proiectii, se vor folosi modurile Grid (F7) si Snap (F9).
 Command: rectangle
Command: rectangle 
Specify first corner point or [ . ]: (se indica primul colt a dreptunghiului pentru VF-P1)
Specify other corner point or [Dimensions]: @110,110 (coltul opus)
<Enter> (pentru a repeta comanda)
Specify first corner point or [ . ]: (se indica primul colt a dreptunghiului pentru VS-P1)
Specify other corner point or [Dimensions]: @110,-75 (coltul opus)
<Enter> (pentru a repeta comanda)
Specify first corner point or [ . ]: (se indica primul colt a dreptunghiului pentru VL-P1)
 Specify other corner point
or [Dimensions]: @75,110 (coltul opus)
Specify other corner point
or [Dimensions]: @75,110 (coltul opus)
Pentru a putea folosi aceste dreptunghiuri in continuare, la realizarea celor trei proiectii, este convenabil ca ele sa nu mai fie considerate o entitate complexa (polilinie). Pentru aceasta ele vor fi editate folosind comanda Explode, si descompuse in entitati geometrice simple (4 linii).
 Command: explode
Command: explode
Select objects: (cele trei dreptunghiuri trasate)
Pentru a desena proiectia principala (vederea din fata) este util ca, folosind comanda UCS si optiunea O(rigin), sa definim un nou UCS cu originea pe mijlocul laturii de jos a proiectiei.
Command: ucs
Enter an option [New/Move//?/World/] <World>: o
Specify new origin point <0, 0, 0>: (mijlocul laturii)
Pentru o mai buna vizualizare a zonei din desen la care se lucreaza, se poate folosi comanda Zoom, alegind prin optiunea Window o fereastra de afisare convenabila. In continuare, folosind comenzile Offset (fata de liniile existente) si comanda Trim se traseaza toate elementele ce definesc conturul exterior si interior al proiectiei.
 Command: offset
Command: offset
Specify offset distance or [Through]<1.000>:
Select object to offset or <exit>: (se selecteaza linia pe care este situata originea)
Specify point on side to offset: (se indica un punct deasupra liniei)
Select object to offset or <exit>: <Enter>
<Enter> (pentru a repeta comanda)

 (in acelasi mod se traseaza
celelalte paralele la distantele de  axa piesei     si
 (in acelasi mod se traseaza
celelalte paralele la distantele de  axa piesei     si   
Pentru a desena proiectia orizontala, se defineste un nou UCS cu originea in centrul dreptunghiului de incadrare al proiectiei respective. Avind in vedere ca, proiectia corpurilor geometrice de tip cilindru cu baza in planul lateral, este aceeasi pe celelalte doua proiectii, pentru reprezentarea lor pe vederea de sus se va folosi comanda Copy. In continuare, folosind comenzile Fillet Arc si Rectangle se completeaza muchiile vizibile si cele acoperite ale proiectiei.
 Command: copy
Command: copy
Select object: (cilindri exterior, interior precum si axa lor geometrica)
Select object: <Enter>
Specify base point or displacement or [Multiple]: (se indica mijlocul axei geometrice)
Specify second point of displacement or <>: (originea)
 Command: fillet
Command: fillet 
Select first object or [Polyline/Radius/Trim]: r
Specify fillet radius <0.000>:

 Select first object or
[Polyline/Radius/Trim]: (se selectaza toate colturile dreptunghiului)
Select first object or
[Polyline/Radius/Trim]: (se selectaza toate colturile dreptunghiului) 
In vederea desenarii proiectiei laterale, este util definirea unui nou UCS avind originea fixata pe mijlocul laturii de jos a dreptunghiului de incadrare. Urmeaza trasarea celor doua cercuri si folosind comenzile Offset si Trim celelalte elemente (muchii) ale proiectiei.
 Command: circle
Command: circle  
Specify center point for circle or [3P/2P/Ttr/ (tan tan radius)]:
Specify radius of circle or [Diameter]:
<Enter>
Specify center point for circle or [3P/2P/Ttr/ (tan tan radius)]:
Specify radius of circle or [Diameter]:
 Command: offset
Command: offset
Specify offset distance or [Through]<1.000>:
Select object to offset or <exit>: (se selecteaza linia pe care este situata originea)
Specify point on side to offset: (se indica un punct deasupra liniei)
Select object to offset or <exit>: <Enter>
<Enter> (pentru a repeta comanda)
in acelasi mod se traseaza celelalte paralele la distantele de axele piesei, si

 
 
In aceasta etapa, se vor trasa acele muchii ale piesei care necesita precizarea pozitiilor relativ la celelalte proiectii (se gasesc pe aceleasi linii de ordine), folosind pentru aceasta o serie de linii ajutatoare (Xline) conform figurii alaturate.
 
 
 
 
 
 
 
 
 
 

 
 
 
 
 
 
 Odata definit stilul de cotare (conform
laboratorului 4), se poate trece la inscrierea efectiva a cotelor,
operatie efectuata pe layer-ul curent 
 In final, dupa o verificare prealabila,
se obtine desenul complet al piesei.
  In final, dupa o verificare prealabila,
se obtine desenul complet al piesei.
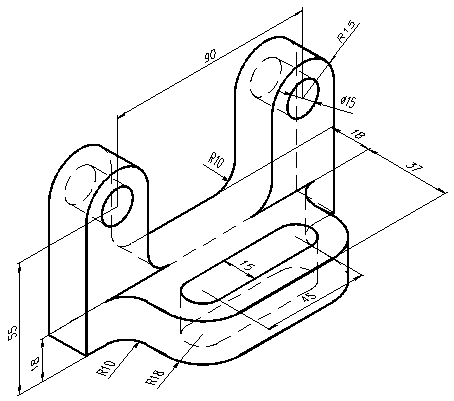
Aplicatii propuse
Sa se reprezinte piesele urmatoare in trei proiectii (vederi) ortogonale si sa se coteze.


Copyright © 2025 - Toate drepturile rezervate